Sears Table Saw Miter Gauge . Lately i've been wanting to cut some. It’s a metal bar with a movable end that serves as a guide fence and slides into a dedicated slot in the table saw. Find many great new & used options and get the best deals for sears craftsman table saw miter gauge 158592 very good at the best online. A table saw miter gauge is a valuable accessory for achieving precise and accurate angled cuts on a table saw. Unlock the full potential of your table saw's miter gauge with this comprehensive guide. With just one runner riding in the saw table and a pivoting fence that drags workpieces across the table, accuracy is tougher to achieve. Learn essential techniques and tips for precise. Compared to a crosscut sled, a miter gauge has a tough job. I bought an old craftsman 10 table saw (113.298762) many years ago for a song and a dance.
from ebay.co.uk
With just one runner riding in the saw table and a pivoting fence that drags workpieces across the table, accuracy is tougher to achieve. I bought an old craftsman 10 table saw (113.298762) many years ago for a song and a dance. It’s a metal bar with a movable end that serves as a guide fence and slides into a dedicated slot in the table saw. Find many great new & used options and get the best deals for sears craftsman table saw miter gauge 158592 very good at the best online. Learn essential techniques and tips for precise. Unlock the full potential of your table saw's miter gauge with this comprehensive guide. Compared to a crosscut sled, a miter gauge has a tough job. A table saw miter gauge is a valuable accessory for achieving precise and accurate angled cuts on a table saw. Lately i've been wanting to cut some.
Sears Craftsman 113.xxxxxx Table Saw Miter Gauge Ridgid Emerson Dewalt
Sears Table Saw Miter Gauge I bought an old craftsman 10 table saw (113.298762) many years ago for a song and a dance. Unlock the full potential of your table saw's miter gauge with this comprehensive guide. Learn essential techniques and tips for precise. I bought an old craftsman 10 table saw (113.298762) many years ago for a song and a dance. Lately i've been wanting to cut some. A table saw miter gauge is a valuable accessory for achieving precise and accurate angled cuts on a table saw. It’s a metal bar with a movable end that serves as a guide fence and slides into a dedicated slot in the table saw. Find many great new & used options and get the best deals for sears craftsman table saw miter gauge 158592 very good at the best online. With just one runner riding in the saw table and a pivoting fence that drags workpieces across the table, accuracy is tougher to achieve. Compared to a crosscut sled, a miter gauge has a tough job.
From www.sears.com
Ridgid Table Saw Replacement Miter Gauge Sears Marketplace Sears Table Saw Miter Gauge Find many great new & used options and get the best deals for sears craftsman table saw miter gauge 158592 very good at the best online. Unlock the full potential of your table saw's miter gauge with this comprehensive guide. Lately i've been wanting to cut some. Learn essential techniques and tips for precise. Compared to a crosscut sled, a. Sears Table Saw Miter Gauge.
From www.hummingbirdsplus.org
8 Best Miter Gauge For Table Saw 2023 Hummingbirds Plus Sears Table Saw Miter Gauge With just one runner riding in the saw table and a pivoting fence that drags workpieces across the table, accuracy is tougher to achieve. It’s a metal bar with a movable end that serves as a guide fence and slides into a dedicated slot in the table saw. Compared to a crosscut sled, a miter gauge has a tough job.. Sears Table Saw Miter Gauge.
From s3.amazonaws.com
Multi tool blades best price online, craftsman 10 inch table saw miter Sears Table Saw Miter Gauge Unlock the full potential of your table saw's miter gauge with this comprehensive guide. Lately i've been wanting to cut some. A table saw miter gauge is a valuable accessory for achieving precise and accurate angled cuts on a table saw. It’s a metal bar with a movable end that serves as a guide fence and slides into a dedicated. Sears Table Saw Miter Gauge.
From bestforconsumer.com
Best Miter Gauge For Table Saw Complete Guide 2022 Best For Consumer Sears Table Saw Miter Gauge It’s a metal bar with a movable end that serves as a guide fence and slides into a dedicated slot in the table saw. I bought an old craftsman 10 table saw (113.298762) many years ago for a song and a dance. Lately i've been wanting to cut some. With just one runner riding in the saw table and a. Sears Table Saw Miter Gauge.
From www.sears.com
Ryobi Table Saw Replacement Miter Gauge Sears Marketplace Sears Table Saw Miter Gauge Compared to a crosscut sled, a miter gauge has a tough job. A table saw miter gauge is a valuable accessory for achieving precise and accurate angled cuts on a table saw. Unlock the full potential of your table saw's miter gauge with this comprehensive guide. I bought an old craftsman 10 table saw (113.298762) many years ago for a. Sears Table Saw Miter Gauge.
From theedgecutter.com
10 Best Miter Gauges Reviews and Buying Guide Sears Table Saw Miter Gauge I bought an old craftsman 10 table saw (113.298762) many years ago for a song and a dance. A table saw miter gauge is a valuable accessory for achieving precise and accurate angled cuts on a table saw. Find many great new & used options and get the best deals for sears craftsman table saw miter gauge 158592 very good. Sears Table Saw Miter Gauge.
From toolsdoctor.com
Best Table Saw Miter Gauges Reviewed Top 5 Picks Sears Table Saw Miter Gauge Compared to a crosscut sled, a miter gauge has a tough job. Find many great new & used options and get the best deals for sears craftsman table saw miter gauge 158592 very good at the best online. Unlock the full potential of your table saw's miter gauge with this comprehensive guide. With just one runner riding in the saw. Sears Table Saw Miter Gauge.
From www.etsy.com
Sears Craftsman Miter Gauge Assembly No. 62704 for Table Saws Etsy Sears Table Saw Miter Gauge Find many great new & used options and get the best deals for sears craftsman table saw miter gauge 158592 very good at the best online. I bought an old craftsman 10 table saw (113.298762) many years ago for a song and a dance. With just one runner riding in the saw table and a pivoting fence that drags workpieces. Sears Table Saw Miter Gauge.
From s3.amazonaws.com
Sears table saw miter gauge 3000, crown molding on miter saw 2014 Sears Table Saw Miter Gauge I bought an old craftsman 10 table saw (113.298762) many years ago for a song and a dance. Compared to a crosscut sled, a miter gauge has a tough job. Find many great new & used options and get the best deals for sears craftsman table saw miter gauge 158592 very good at the best online. A table saw miter. Sears Table Saw Miter Gauge.
From handyman.guide
Best Table Saw Miter Gauge In 2023 (Unbiased Review & Guide) Sears Table Saw Miter Gauge I bought an old craftsman 10 table saw (113.298762) many years ago for a song and a dance. Unlock the full potential of your table saw's miter gauge with this comprehensive guide. A table saw miter gauge is a valuable accessory for achieving precise and accurate angled cuts on a table saw. With just one runner riding in the saw. Sears Table Saw Miter Gauge.
From www.etsy.com
Sears Craftsman / King Seeley table saw miter gauge assembly Sears Table Saw Miter Gauge It’s a metal bar with a movable end that serves as a guide fence and slides into a dedicated slot in the table saw. Lately i've been wanting to cut some. A table saw miter gauge is a valuable accessory for achieving precise and accurate angled cuts on a table saw. Compared to a crosscut sled, a miter gauge has. Sears Table Saw Miter Gauge.
From www.etsy.com
Sears Craftsman Miter Gauge Assembly No. 62704 for Table Saws Etsy Sears Table Saw Miter Gauge With just one runner riding in the saw table and a pivoting fence that drags workpieces across the table, accuracy is tougher to achieve. A table saw miter gauge is a valuable accessory for achieving precise and accurate angled cuts on a table saw. Lately i've been wanting to cut some. It’s a metal bar with a movable end that. Sears Table Saw Miter Gauge.
From www.walmart.com
Table Saw Miter Gauge, Miter Gauge System Aluminum Alloy Angle Sears Table Saw Miter Gauge Find many great new & used options and get the best deals for sears craftsman table saw miter gauge 158592 very good at the best online. Learn essential techniques and tips for precise. A table saw miter gauge is a valuable accessory for achieving precise and accurate angled cuts on a table saw. Unlock the full potential of your table. Sears Table Saw Miter Gauge.
From www.sears.com
Skil Miter Gauge Assembly Sears Marketplace Sears Table Saw Miter Gauge It’s a metal bar with a movable end that serves as a guide fence and slides into a dedicated slot in the table saw. I bought an old craftsman 10 table saw (113.298762) many years ago for a song and a dance. A table saw miter gauge is a valuable accessory for achieving precise and accurate angled cuts on a. Sears Table Saw Miter Gauge.
From ebay.co.uk
Sears Craftsman 113.xxxxxx Table Saw Miter Gauge Ridgid Emerson Dewalt Sears Table Saw Miter Gauge A table saw miter gauge is a valuable accessory for achieving precise and accurate angled cuts on a table saw. Unlock the full potential of your table saw's miter gauge with this comprehensive guide. It’s a metal bar with a movable end that serves as a guide fence and slides into a dedicated slot in the table saw. Learn essential. Sears Table Saw Miter Gauge.
From s3.amazonaws.com
Power tool vacuum youtube, sears table saw miter gauge clamp, cordless Sears Table Saw Miter Gauge Learn essential techniques and tips for precise. With just one runner riding in the saw table and a pivoting fence that drags workpieces across the table, accuracy is tougher to achieve. Unlock the full potential of your table saw's miter gauge with this comprehensive guide. Find many great new & used options and get the best deals for sears craftsman. Sears Table Saw Miter Gauge.
From ebay.com
Sears Craftsman 10" Table Saw, Miter Gauge with Hold Down for 3/4 x 3/8 Sears Table Saw Miter Gauge Unlock the full potential of your table saw's miter gauge with this comprehensive guide. Compared to a crosscut sled, a miter gauge has a tough job. Lately i've been wanting to cut some. With just one runner riding in the saw table and a pivoting fence that drags workpieces across the table, accuracy is tougher to achieve. A table saw. Sears Table Saw Miter Gauge.
From www.walmart.com
POWERTEC 71142 Universal Table Saw Miter Gauge Assembly/Miter Gauge Sears Table Saw Miter Gauge Learn essential techniques and tips for precise. I bought an old craftsman 10 table saw (113.298762) many years ago for a song and a dance. Compared to a crosscut sled, a miter gauge has a tough job. Unlock the full potential of your table saw's miter gauge with this comprehensive guide. Find many great new & used options and get. Sears Table Saw Miter Gauge.
From www.amazon.com
Precision Miter Gauge, ANYLION Table Saw Miter Gauge With Laser Marking Sears Table Saw Miter Gauge Lately i've been wanting to cut some. Unlock the full potential of your table saw's miter gauge with this comprehensive guide. I bought an old craftsman 10 table saw (113.298762) many years ago for a song and a dance. It’s a metal bar with a movable end that serves as a guide fence and slides into a dedicated slot in. Sears Table Saw Miter Gauge.
From woodworkingplansnow.com
8 Best Table Saw Miter Gauges (Review & Guide) WWPN Sears Table Saw Miter Gauge With just one runner riding in the saw table and a pivoting fence that drags workpieces across the table, accuracy is tougher to achieve. I bought an old craftsman 10 table saw (113.298762) many years ago for a song and a dance. Unlock the full potential of your table saw's miter gauge with this comprehensive guide. Find many great new. Sears Table Saw Miter Gauge.
From www.etsy.com
Sears Craftsman Miter Gauge Assembly No. 62704 for Table Saws Etsy Sears Table Saw Miter Gauge I bought an old craftsman 10 table saw (113.298762) many years ago for a song and a dance. Learn essential techniques and tips for precise. It’s a metal bar with a movable end that serves as a guide fence and slides into a dedicated slot in the table saw. Lately i've been wanting to cut some. Find many great new. Sears Table Saw Miter Gauge.
From www.etsy.com
Sears Craftsman / King Seeley table saw miter gauge assembly Etsy Sears Table Saw Miter Gauge Compared to a crosscut sled, a miter gauge has a tough job. Unlock the full potential of your table saw's miter gauge with this comprehensive guide. Learn essential techniques and tips for precise. It’s a metal bar with a movable end that serves as a guide fence and slides into a dedicated slot in the table saw. Lately i've been. Sears Table Saw Miter Gauge.
From www.pinterest.com
Vintage Sears Craftsman 113. Table Saw Miter Gauge 92760 for sale Sears Table Saw Miter Gauge I bought an old craftsman 10 table saw (113.298762) many years ago for a song and a dance. Find many great new & used options and get the best deals for sears craftsman table saw miter gauge 158592 very good at the best online. With just one runner riding in the saw table and a pivoting fence that drags workpieces. Sears Table Saw Miter Gauge.
From handyman.guide
What Is A Table Saw Miter Gauge? • HandyMan.Guide Sears Table Saw Miter Gauge Find many great new & used options and get the best deals for sears craftsman table saw miter gauge 158592 very good at the best online. Compared to a crosscut sled, a miter gauge has a tough job. With just one runner riding in the saw table and a pivoting fence that drags workpieces across the table, accuracy is tougher. Sears Table Saw Miter Gauge.
From s3.amazonaws.com
Sears table saw miter gauge assembly, multi cutting tool as seen on tv Sears Table Saw Miter Gauge Lately i've been wanting to cut some. Find many great new & used options and get the best deals for sears craftsman table saw miter gauge 158592 very good at the best online. Unlock the full potential of your table saw's miter gauge with this comprehensive guide. I bought an old craftsman 10 table saw (113.298762) many years ago for. Sears Table Saw Miter Gauge.
From www.searspartsdirect.com
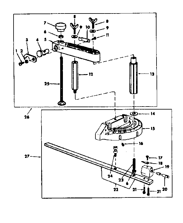
Table Saw Miter Gauge 514003278 parts Sears PartsDirect Sears Table Saw Miter Gauge With just one runner riding in the saw table and a pivoting fence that drags workpieces across the table, accuracy is tougher to achieve. I bought an old craftsman 10 table saw (113.298762) many years ago for a song and a dance. Compared to a crosscut sled, a miter gauge has a tough job. It’s a metal bar with a. Sears Table Saw Miter Gauge.
From www.etsy.com
Sears Craftsman Miter Gauge Assembly No. 62704 for Table Saws Etsy Sears Table Saw Miter Gauge It’s a metal bar with a movable end that serves as a guide fence and slides into a dedicated slot in the table saw. Compared to a crosscut sled, a miter gauge has a tough job. With just one runner riding in the saw table and a pivoting fence that drags workpieces across the table, accuracy is tougher to achieve.. Sears Table Saw Miter Gauge.
From www.thesprucecrafts.com
How to Use a Table Saw Miter Gauge Sears Table Saw Miter Gauge Find many great new & used options and get the best deals for sears craftsman table saw miter gauge 158592 very good at the best online. Lately i've been wanting to cut some. With just one runner riding in the saw table and a pivoting fence that drags workpieces across the table, accuracy is tougher to achieve. I bought an. Sears Table Saw Miter Gauge.
From www.nellisauction.com
VEVOR Precision Miter Gauge, 18" Aluminum Table Saw Miter Gauge w/ 60 Sears Table Saw Miter Gauge I bought an old craftsman 10 table saw (113.298762) many years ago for a song and a dance. Unlock the full potential of your table saw's miter gauge with this comprehensive guide. Find many great new & used options and get the best deals for sears craftsman table saw miter gauge 158592 very good at the best online. Learn essential. Sears Table Saw Miter Gauge.
From www.pinterest.com
Best Table Saw Miter Gauge Ultimate Reviews 2018 Table saw miter Sears Table Saw Miter Gauge Find many great new & used options and get the best deals for sears craftsman table saw miter gauge 158592 very good at the best online. Lately i've been wanting to cut some. Learn essential techniques and tips for precise. With just one runner riding in the saw table and a pivoting fence that drags workpieces across the table, accuracy. Sears Table Saw Miter Gauge.
From www.thetoolsquare.com
The 10 Best Table Saw Miter Gauges (A Complete Guide) Sears Table Saw Miter Gauge It’s a metal bar with a movable end that serves as a guide fence and slides into a dedicated slot in the table saw. Learn essential techniques and tips for precise. Lately i've been wanting to cut some. A table saw miter gauge is a valuable accessory for achieving precise and accurate angled cuts on a table saw. Unlock the. Sears Table Saw Miter Gauge.
From tooladvisor.net
Best Table Saw Miter Gauge Review and Buyer Guide 2020 Sears Table Saw Miter Gauge It’s a metal bar with a movable end that serves as a guide fence and slides into a dedicated slot in the table saw. Lately i've been wanting to cut some. Learn essential techniques and tips for precise. A table saw miter gauge is a valuable accessory for achieving precise and accurate angled cuts on a table saw. I bought. Sears Table Saw Miter Gauge.
From www.etsy.com
Sears Craftsman Miter Gauge Assembly No. 62704 for Table Saws Etsy Sears Table Saw Miter Gauge Find many great new & used options and get the best deals for sears craftsman table saw miter gauge 158592 very good at the best online. A table saw miter gauge is a valuable accessory for achieving precise and accurate angled cuts on a table saw. It’s a metal bar with a movable end that serves as a guide fence. Sears Table Saw Miter Gauge.
From woodsmithspirit.com
Table Saw Miter Gauge What is It and How Do You Use It? Sears Table Saw Miter Gauge Lately i've been wanting to cut some. It’s a metal bar with a movable end that serves as a guide fence and slides into a dedicated slot in the table saw. Unlock the full potential of your table saw's miter gauge with this comprehensive guide. With just one runner riding in the saw table and a pivoting fence that drags. Sears Table Saw Miter Gauge.