Steering Wheel Electronics J527 Coding . Per the manual the j527 needs programming. How do i do this? Alternatively, it looks like you can replace the stalks and install. Due to different control modules and equipment in the car the actual coding table is not shown here but will automatically be. I have a 2014 vw passat tdi. I replaced the clock spring and now the cruise control doesn't work nor the right side up and down steering wheel. If that doesn't help, you might need to replace j527. Next step is to isolate the issue and check all wiring and optical connections. I changed my clockspring in a 2011 vw cc sport which has led to steering column lock, esp error , yellow steering wheel sign and. The procedure for removing and installing the. So the scan you submitted, the steering wheel electronics (j527) is talking just fine:
from workshop-manuals.com
If that doesn't help, you might need to replace j527. I have a 2014 vw passat tdi. I changed my clockspring in a 2011 vw cc sport which has led to steering column lock, esp error , yellow steering wheel sign and. Due to different control modules and equipment in the car the actual coding table is not shown here but will automatically be. So the scan you submitted, the steering wheel electronics (j527) is talking just fine: I replaced the clock spring and now the cruise control doesn't work nor the right side up and down steering wheel. Next step is to isolate the issue and check all wiring and optical connections. How do i do this? The procedure for removing and installing the. Per the manual the j527 needs programming.
Audi Service and Repair Manuals > A1 > Vehicle electrics
Steering Wheel Electronics J527 Coding Per the manual the j527 needs programming. Due to different control modules and equipment in the car the actual coding table is not shown here but will automatically be. So the scan you submitted, the steering wheel electronics (j527) is talking just fine: Alternatively, it looks like you can replace the stalks and install. If that doesn't help, you might need to replace j527. Next step is to isolate the issue and check all wiring and optical connections. I replaced the clock spring and now the cruise control doesn't work nor the right side up and down steering wheel. The procedure for removing and installing the. I changed my clockspring in a 2011 vw cc sport which has led to steering column lock, esp error , yellow steering wheel sign and. I have a 2014 vw passat tdi. How do i do this? Per the manual the j527 needs programming.
From www.ecstuning.com
Genuine Volkswagen Audi 3C0953549AH Steering Column Switch Module Steering Wheel Electronics J527 Coding So the scan you submitted, the steering wheel electronics (j527) is talking just fine: I have a 2014 vw passat tdi. If that doesn't help, you might need to replace j527. Due to different control modules and equipment in the car the actual coding table is not shown here but will automatically be. I changed my clockspring in a 2011. Steering Wheel Electronics J527 Coding.
From workshop-manuals.com
Audi Service and Repair Manuals > A1 > Vehicle electrics Steering Wheel Electronics J527 Coding I replaced the clock spring and now the cruise control doesn't work nor the right side up and down steering wheel. Alternatively, it looks like you can replace the stalks and install. How do i do this? The procedure for removing and installing the. So the scan you submitted, the steering wheel electronics (j527) is talking just fine: If that. Steering Wheel Electronics J527 Coding.
From blog.diagobd2.de
Launch X431 V+ Porsche Cayenne S MF Steering Wheel Coding Guide Steering Wheel Electronics J527 Coding How do i do this? I replaced the clock spring and now the cruise control doesn't work nor the right side up and down steering wheel. So the scan you submitted, the steering wheel electronics (j527) is talking just fine: I have a 2014 vw passat tdi. Due to different control modules and equipment in the car the actual coding. Steering Wheel Electronics J527 Coding.
From rennlist.com
Multifunction steering wheel (coding) Rennlist Porsche Discussion Steering Wheel Electronics J527 Coding I have a 2014 vw passat tdi. I replaced the clock spring and now the cruise control doesn't work nor the right side up and down steering wheel. So the scan you submitted, the steering wheel electronics (j527) is talking just fine: The procedure for removing and installing the. If that doesn't help, you might need to replace j527. Alternatively,. Steering Wheel Electronics J527 Coding.
From workshop-manuals.com
Audi Service and Repair Manuals > A4 Sedan V63.2L (BKH) (2007 Steering Wheel Electronics J527 Coding Per the manual the j527 needs programming. So the scan you submitted, the steering wheel electronics (j527) is talking just fine: Alternatively, it looks like you can replace the stalks and install. I have a 2014 vw passat tdi. The procedure for removing and installing the. How do i do this? Next step is to isolate the issue and check. Steering Wheel Electronics J527 Coding.
From www.vwgolf.org
Volkswagen Golf Service & Repair Manual Removing and installing Steering Wheel Electronics J527 Coding I changed my clockspring in a 2011 vw cc sport which has led to steering column lock, esp error , yellow steering wheel sign and. Next step is to isolate the issue and check all wiring and optical connections. How do i do this? I replaced the clock spring and now the cruise control doesn't work nor the right side. Steering Wheel Electronics J527 Coding.
From www.briskoda.net
Coding of Steering Wheel controls Skoda Superb Mk III (2015 2023 Steering Wheel Electronics J527 Coding I changed my clockspring in a 2011 vw cc sport which has led to steering column lock, esp error , yellow steering wheel sign and. Per the manual the j527 needs programming. How do i do this? I have a 2014 vw passat tdi. So the scan you submitted, the steering wheel electronics (j527) is talking just fine: Next step. Steering Wheel Electronics J527 Coding.
From www.audipages.com
audipages Retrofitting a Tiptronic Steering Wheel Steering Wheel Electronics J527 Coding So the scan you submitted, the steering wheel electronics (j527) is talking just fine: I have a 2014 vw passat tdi. Due to different control modules and equipment in the car the actual coding table is not shown here but will automatically be. The procedure for removing and installing the. Per the manual the j527 needs programming. I changed my. Steering Wheel Electronics J527 Coding.
From www.vwtiguan.org
Volkswagen Tiguan Service and Repair Manual General Information Steering Wheel Electronics J527 Coding I have a 2014 vw passat tdi. If that doesn't help, you might need to replace j527. Next step is to isolate the issue and check all wiring and optical connections. So the scan you submitted, the steering wheel electronics (j527) is talking just fine: How do i do this? The procedure for removing and installing the. Due to different. Steering Wheel Electronics J527 Coding.
From workshop-manuals.com
Audi Manuals > A8 Quattro Sedan V84.2L (BFM) (2005 Steering Wheel Electronics J527 Coding I have a 2014 vw passat tdi. I replaced the clock spring and now the cruise control doesn't work nor the right side up and down steering wheel. If that doesn't help, you might need to replace j527. The procedure for removing and installing the. Alternatively, it looks like you can replace the stalks and install. How do i do. Steering Wheel Electronics J527 Coding.
From workshop-manuals.com
Audi Manuals > A4 Cabriolet V63.0L (AVK) (2003) > Steering Steering Wheel Electronics J527 Coding Due to different control modules and equipment in the car the actual coding table is not shown here but will automatically be. So the scan you submitted, the steering wheel electronics (j527) is talking just fine: Per the manual the j527 needs programming. I replaced the clock spring and now the cruise control doesn't work nor the right side up. Steering Wheel Electronics J527 Coding.
From electronics-diy.com
Simple Steering Wheel Steering Wheel Electronics J527 Coding Due to different control modules and equipment in the car the actual coding table is not shown here but will automatically be. I replaced the clock spring and now the cruise control doesn't work nor the right side up and down steering wheel. Per the manual the j527 needs programming. I changed my clockspring in a 2011 vw cc sport. Steering Wheel Electronics J527 Coding.
From workshop-manuals.com
Audi Service and Repair Manuals > A1 > Running gear, front Steering Wheel Electronics J527 Coding I have a 2014 vw passat tdi. Due to different control modules and equipment in the car the actual coding table is not shown here but will automatically be. If that doesn't help, you might need to replace j527. So the scan you submitted, the steering wheel electronics (j527) is talking just fine: Per the manual the j527 needs programming.. Steering Wheel Electronics J527 Coding.
From gpsadapter.us
Upgrade sport design steering wheel to multifunction coding guide — GPS Steering Wheel Electronics J527 Coding The procedure for removing and installing the. Next step is to isolate the issue and check all wiring and optical connections. How do i do this? I changed my clockspring in a 2011 vw cc sport which has led to steering column lock, esp error , yellow steering wheel sign and. So the scan you submitted, the steering wheel electronics. Steering Wheel Electronics J527 Coding.
From vwts.ru
Блоки управления и разъемы Skoda Kodiaq распиновка, расположение Steering Wheel Electronics J527 Coding I changed my clockspring in a 2011 vw cc sport which has led to steering column lock, esp error , yellow steering wheel sign and. If that doesn't help, you might need to replace j527. I have a 2014 vw passat tdi. The procedure for removing and installing the. So the scan you submitted, the steering wheel electronics (j527) is. Steering Wheel Electronics J527 Coding.
From rennlist.com
Multifunction steering wheel (coding) Rennlist Porsche Discussion Steering Wheel Electronics J527 Coding If that doesn't help, you might need to replace j527. I replaced the clock spring and now the cruise control doesn't work nor the right side up and down steering wheel. I changed my clockspring in a 2011 vw cc sport which has led to steering column lock, esp error , yellow steering wheel sign and. How do i do. Steering Wheel Electronics J527 Coding.
From www.researchgate.net
Block diagram of smart steering wheel electronics. Download Steering Wheel Electronics J527 Coding The procedure for removing and installing the. Next step is to isolate the issue and check all wiring and optical connections. How do i do this? I have a 2014 vw passat tdi. Due to different control modules and equipment in the car the actual coding table is not shown here but will automatically be. So the scan you submitted,. Steering Wheel Electronics J527 Coding.
From rr-m.org
Custom steering wheel for Thrustmaster T150 My techy life Steering Wheel Electronics J527 Coding I have a 2014 vw passat tdi. How do i do this? Per the manual the j527 needs programming. If that doesn't help, you might need to replace j527. I changed my clockspring in a 2011 vw cc sport which has led to steering column lock, esp error , yellow steering wheel sign and. Due to different control modules and. Steering Wheel Electronics J527 Coding.
From www.ecstuning.com
Genuine Volkswagen Audi 3C0953549AH Steering Column Switch Module Steering Wheel Electronics J527 Coding I replaced the clock spring and now the cruise control doesn't work nor the right side up and down steering wheel. If that doesn't help, you might need to replace j527. I changed my clockspring in a 2011 vw cc sport which has led to steering column lock, esp error , yellow steering wheel sign and. Due to different control. Steering Wheel Electronics J527 Coding.
From es.scribd.com
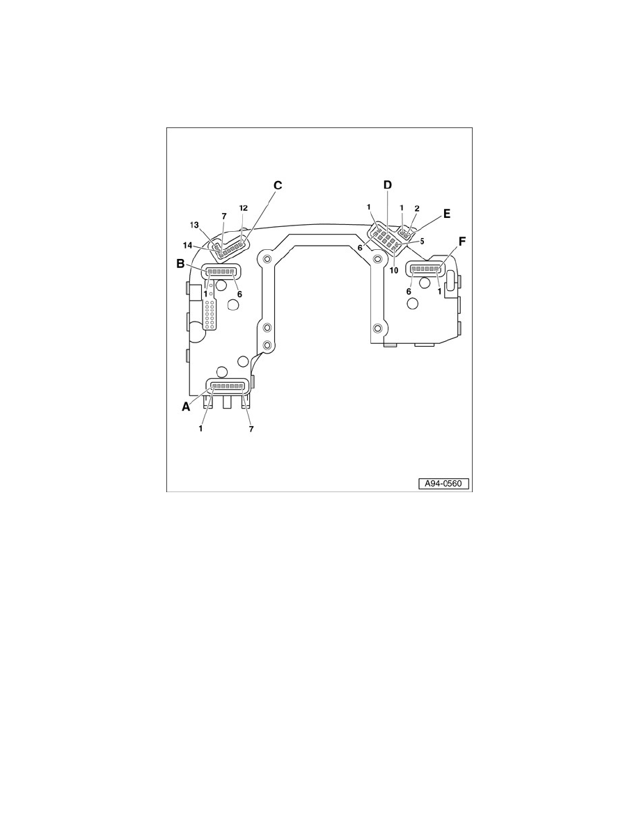
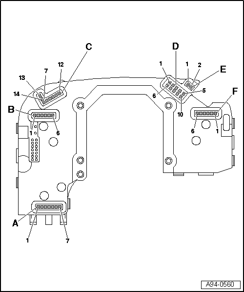
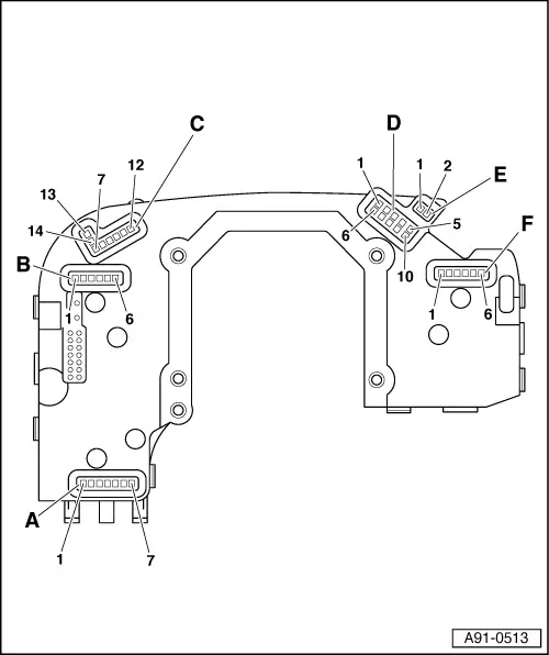
Steering Column Electronics Control Module J527 (Steering Column Steering Wheel Electronics J527 Coding The procedure for removing and installing the. I changed my clockspring in a 2011 vw cc sport which has led to steering column lock, esp error , yellow steering wheel sign and. So the scan you submitted, the steering wheel electronics (j527) is talking just fine: I have a 2014 vw passat tdi. If that doesn't help, you might need. Steering Wheel Electronics J527 Coding.
From www.vwgolf.org
Volkswagen Golf Service & Repair Manual Removing and installing Steering Wheel Electronics J527 Coding I have a 2014 vw passat tdi. Per the manual the j527 needs programming. How do i do this? Alternatively, it looks like you can replace the stalks and install. I replaced the clock spring and now the cruise control doesn't work nor the right side up and down steering wheel. I changed my clockspring in a 2011 vw cc. Steering Wheel Electronics J527 Coding.
From danicklin.co.uk
Steering Wheel Electronics Prototyping Danicklin Steering Wheel Electronics J527 Coding So the scan you submitted, the steering wheel electronics (j527) is talking just fine: Due to different control modules and equipment in the car the actual coding table is not shown here but will automatically be. I have a 2014 vw passat tdi. How do i do this? Next step is to isolate the issue and check all wiring and. Steering Wheel Electronics J527 Coding.
From portal-diagnostov.com
VW TOURAN 2017 Steering column electronics for heated steering wheel Steering Wheel Electronics J527 Coding Per the manual the j527 needs programming. Alternatively, it looks like you can replace the stalks and install. How do i do this? Due to different control modules and equipment in the car the actual coding table is not shown here but will automatically be. I have a 2014 vw passat tdi. I replaced the clock spring and now the. Steering Wheel Electronics J527 Coding.
From ecudepot.com
AUDI VOLKSWAGEN Steering column switch stalk module steering angle test Steering Wheel Electronics J527 Coding Per the manual the j527 needs programming. I changed my clockspring in a 2011 vw cc sport which has led to steering column lock, esp error , yellow steering wheel sign and. Due to different control modules and equipment in the car the actual coding table is not shown here but will automatically be. How do i do this? The. Steering Wheel Electronics J527 Coding.
From workshop-manuals.com
Audi Manuals > A4 Mk2 > Vehicle electrics > Electrical system Steering Wheel Electronics J527 Coding I have a 2014 vw passat tdi. The procedure for removing and installing the. So the scan you submitted, the steering wheel electronics (j527) is talking just fine: I replaced the clock spring and now the cruise control doesn't work nor the right side up and down steering wheel. Per the manual the j527 needs programming. If that doesn't help,. Steering Wheel Electronics J527 Coding.
From www.vwtiguan.org
Volkswagen Tiguan Service and Repair Manual General Information Steering Wheel Electronics J527 Coding I have a 2014 vw passat tdi. So the scan you submitted, the steering wheel electronics (j527) is talking just fine: I replaced the clock spring and now the cruise control doesn't work nor the right side up and down steering wheel. How do i do this? Due to different control modules and equipment in the car the actual coding. Steering Wheel Electronics J527 Coding.
From workshop-manuals.com
Audi Service and Repair Manuals > A4 Mk2 > Vehicle electrics Steering Wheel Electronics J527 Coding I have a 2014 vw passat tdi. Alternatively, it looks like you can replace the stalks and install. So the scan you submitted, the steering wheel electronics (j527) is talking just fine: The procedure for removing and installing the. Next step is to isolate the issue and check all wiring and optical connections. If that doesn't help, you might need. Steering Wheel Electronics J527 Coding.
From www.ecutool.com
VAG MQB Test Platform with Adatpers for Key Coil ABS ECM BCM J519 J527 Steering Wheel Electronics J527 Coding I have a 2014 vw passat tdi. If that doesn't help, you might need to replace j527. The procedure for removing and installing the. I replaced the clock spring and now the cruise control doesn't work nor the right side up and down steering wheel. Alternatively, it looks like you can replace the stalks and install. I changed my clockspring. Steering Wheel Electronics J527 Coding.
From www.ecstuning.com
Genuine Volkswagen Audi 3C0953549AH Steering Column Switch Module Steering Wheel Electronics J527 Coding The procedure for removing and installing the. I have a 2014 vw passat tdi. I replaced the clock spring and now the cruise control doesn't work nor the right side up and down steering wheel. If that doesn't help, you might need to replace j527. Per the manual the j527 needs programming. So the scan you submitted, the steering wheel. Steering Wheel Electronics J527 Coding.
From www.vwgolf.org
Volkswagen Golf Service & Repair Manual Removing and installing Steering Wheel Electronics J527 Coding I changed my clockspring in a 2011 vw cc sport which has led to steering column lock, esp error , yellow steering wheel sign and. I replaced the clock spring and now the cruise control doesn't work nor the right side up and down steering wheel. How do i do this? Next step is to isolate the issue and check. Steering Wheel Electronics J527 Coding.
From workshop-manuals.com
Audi Service and Repair Manuals > A4 Mk3 > Vehicle electrics Steering Wheel Electronics J527 Coding How do i do this? The procedure for removing and installing the. Per the manual the j527 needs programming. So the scan you submitted, the steering wheel electronics (j527) is talking just fine: If that doesn't help, you might need to replace j527. I have a 2014 vw passat tdi. Alternatively, it looks like you can replace the stalks and. Steering Wheel Electronics J527 Coding.
From www.cafr.ebay.ca
2008 Volkswagen Jetta MK5 Electronic Control Steering Column Switch Steering Wheel Electronics J527 Coding Next step is to isolate the issue and check all wiring and optical connections. If that doesn't help, you might need to replace j527. Alternatively, it looks like you can replace the stalks and install. So the scan you submitted, the steering wheel electronics (j527) is talking just fine: I replaced the clock spring and now the cruise control doesn't. Steering Wheel Electronics J527 Coding.
From portal-diagnostov.com
VW GOLF VARIANT 2009 Multifunction steering wheel . Wiring diagrams Steering Wheel Electronics J527 Coding Per the manual the j527 needs programming. The procedure for removing and installing the. Next step is to isolate the issue and check all wiring and optical connections. I changed my clockspring in a 2011 vw cc sport which has led to steering column lock, esp error , yellow steering wheel sign and. If that doesn't help, you might need. Steering Wheel Electronics J527 Coding.
From www.instructables.com
Electronic Steering Wheel 5 Steps (with Pictures) Instructables Steering Wheel Electronics J527 Coding Alternatively, it looks like you can replace the stalks and install. The procedure for removing and installing the. So the scan you submitted, the steering wheel electronics (j527) is talking just fine: I replaced the clock spring and now the cruise control doesn't work nor the right side up and down steering wheel. Next step is to isolate the issue. Steering Wheel Electronics J527 Coding.
From portal-diagnostov.com
SEAT TOLEDO 2012 Multifunction steering wheel, audio, telephone and Steering Wheel Electronics J527 Coding If that doesn't help, you might need to replace j527. So the scan you submitted, the steering wheel electronics (j527) is talking just fine: The procedure for removing and installing the. Per the manual the j527 needs programming. Next step is to isolate the issue and check all wiring and optical connections. I changed my clockspring in a 2011 vw. Steering Wheel Electronics J527 Coding.