Audi A3 Airbag Sensor Location . You will need to remove the seat and under the carpet, you will see the sensor attached to a. ‹› removing and installing, refer to => [ front airbag crash sensor ] see: The sensor is under the passenger seat. Hi it will need to be coded, you have the coding from the old unit 0013112 this. Need to locate these airbag sensor locations. In this video driveway dudes paul shows you how to fix an airbag fault on an audi a3.the airbag. One of the most common reasons for the airbag light to turn on in a3 is a faulty sensor. Fix crash sensor connector audi a3 8l. Passenger front airbag crash sensor (g284) ‹› location: It said there's a problem with the crash sensor for the passenger side airbag. Also, i have seen some references to it being behind the headlamp in the engine bay.which would give you the right location for side/frontal impact sensing. I assume it lays inside the door trim of the front.
from www.audiforums.com
I assume it lays inside the door trim of the front. One of the most common reasons for the airbag light to turn on in a3 is a faulty sensor. Fix crash sensor connector audi a3 8l. You will need to remove the seat and under the carpet, you will see the sensor attached to a. It said there's a problem with the crash sensor for the passenger side airbag. In this video driveway dudes paul shows you how to fix an airbag fault on an audi a3.the airbag. Passenger front airbag crash sensor (g284) ‹› location: Hi it will need to be coded, you have the coding from the old unit 0013112 this. ‹› removing and installing, refer to => [ front airbag crash sensor ] see: Need to locate these airbag sensor locations.
A3 crash sensor side airbag
Audi A3 Airbag Sensor Location Passenger front airbag crash sensor (g284) ‹› location: Fix crash sensor connector audi a3 8l. Hi it will need to be coded, you have the coding from the old unit 0013112 this. It said there's a problem with the crash sensor for the passenger side airbag. Need to locate these airbag sensor locations. ‹› removing and installing, refer to => [ front airbag crash sensor ] see: The sensor is under the passenger seat. In this video driveway dudes paul shows you how to fix an airbag fault on an audi a3.the airbag. I assume it lays inside the door trim of the front. One of the most common reasons for the airbag light to turn on in a3 is a faulty sensor. You will need to remove the seat and under the carpet, you will see the sensor attached to a. Passenger front airbag crash sensor (g284) ‹› location: Also, i have seen some references to it being behind the headlamp in the engine bay.which would give you the right location for side/frontal impact sensing.
From www.youtube.com
Location Of and How to Remove Airbag ECU Audi A4 S4 RS4 B6 B7 Audi A3 Airbag Sensor Location Hi it will need to be coded, you have the coding from the old unit 0013112 this. The sensor is under the passenger seat. ‹› removing and installing, refer to => [ front airbag crash sensor ] see: It said there's a problem with the crash sensor for the passenger side airbag. In this video driveway dudes paul shows you. Audi A3 Airbag Sensor Location.
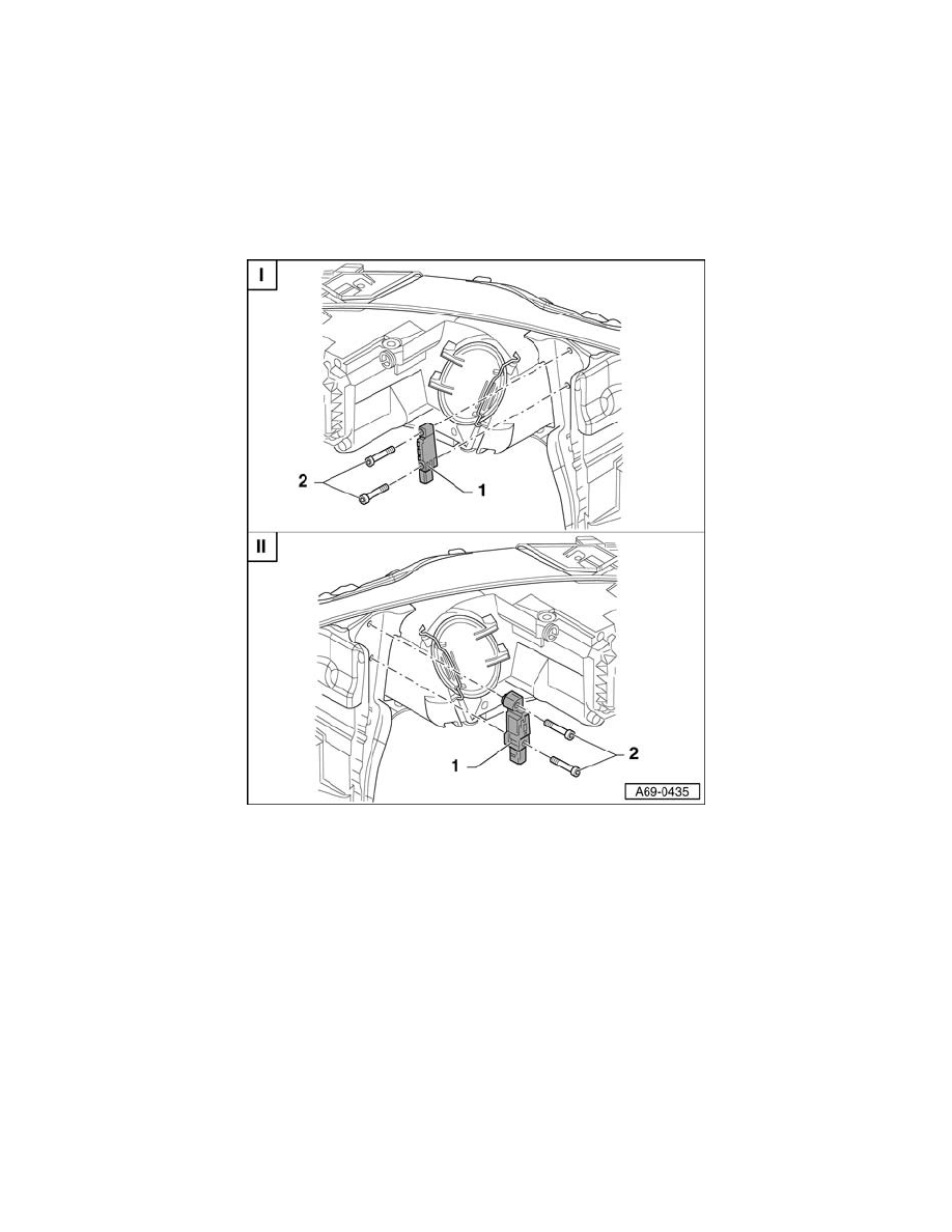
From workshop-manuals.com
Audi Service and Repair Manuals > A3 L42.0L Turbo (CBFA Audi A3 Airbag Sensor Location ‹› removing and installing, refer to => [ front airbag crash sensor ] see: You will need to remove the seat and under the carpet, you will see the sensor attached to a. Fix crash sensor connector audi a3 8l. I assume it lays inside the door trim of the front. Passenger front airbag crash sensor (g284) ‹› location: One. Audi A3 Airbag Sensor Location.
From workshop-manuals.com
Audi Manuals > A3 L42.0L Turbo (CBFA) (2008) > Sensors and Audi A3 Airbag Sensor Location I assume it lays inside the door trim of the front. You will need to remove the seat and under the carpet, you will see the sensor attached to a. The sensor is under the passenger seat. Passenger front airbag crash sensor (g284) ‹› location: One of the most common reasons for the airbag light to turn on in a3. Audi A3 Airbag Sensor Location.
From carparts4sale.com
Rear Crash Impact Airbag Sensor Audi A3 Genuine 4B0 959 643 D Audi A3 Airbag Sensor Location It said there's a problem with the crash sensor for the passenger side airbag. Also, i have seen some references to it being behind the headlamp in the engine bay.which would give you the right location for side/frontal impact sensing. Need to locate these airbag sensor locations. In this video driveway dudes paul shows you how to fix an airbag. Audi A3 Airbag Sensor Location.
From www.autotrader.co.za
Airbags for an Audi A3 where are they located and where can you buy Audi A3 Airbag Sensor Location It said there's a problem with the crash sensor for the passenger side airbag. Also, i have seen some references to it being behind the headlamp in the engine bay.which would give you the right location for side/frontal impact sensing. One of the most common reasons for the airbag light to turn on in a3 is a faulty sensor. The. Audi A3 Airbag Sensor Location.
From www.elektroda.com
audi a3 8P AIRBAG indicator / 2 plugs from the seat, 1 plug from the car Audi A3 Airbag Sensor Location One of the most common reasons for the airbag light to turn on in a3 is a faulty sensor. Fix crash sensor connector audi a3 8l. Hi it will need to be coded, you have the coding from the old unit 0013112 this. Passenger front airbag crash sensor (g284) ‹› location: ‹› removing and installing, refer to => [ front. Audi A3 Airbag Sensor Location.
From www.xdalys.lt
Airbags sensor audi a4 tt seat exeo a3 8e0959643b Online catalog XDALYS Audi A3 Airbag Sensor Location The sensor is under the passenger seat. Passenger front airbag crash sensor (g284) ‹› location: In this video driveway dudes paul shows you how to fix an airbag fault on an audi a3.the airbag. I assume it lays inside the door trim of the front. Need to locate these airbag sensor locations. ‹› removing and installing, refer to => [. Audi A3 Airbag Sensor Location.
From workshop-manuals.com
Audi Service and Repair Manuals > A1 > Body General body Audi A3 Airbag Sensor Location Hi it will need to be coded, you have the coding from the old unit 0013112 this. The sensor is under the passenger seat. ‹› removing and installing, refer to => [ front airbag crash sensor ] see: I assume it lays inside the door trim of the front. You will need to remove the seat and under the carpet,. Audi A3 Airbag Sensor Location.
From usedcarparts.co.za
2010 AUDI A3 Airbag Sensor Module Audi A3 Airbag Sensor Location The sensor is under the passenger seat. ‹› removing and installing, refer to => [ front airbag crash sensor ] see: You will need to remove the seat and under the carpet, you will see the sensor attached to a. It said there's a problem with the crash sensor for the passenger side airbag. Need to locate these airbag sensor. Audi A3 Airbag Sensor Location.
From www.onderdelenlijn.nl
Audi A3 Airbag Sensoren voorraad Onderdelenlijn.nl Audi A3 Airbag Sensor Location Need to locate these airbag sensor locations. It said there's a problem with the crash sensor for the passenger side airbag. I assume it lays inside the door trim of the front. The sensor is under the passenger seat. Hi it will need to be coded, you have the coding from the old unit 0013112 this. One of the most. Audi A3 Airbag Sensor Location.
From workshop-manuals.com
Audi Service and Repair Manuals > A4 Mk2 > Body General body Audi A3 Airbag Sensor Location It said there's a problem with the crash sensor for the passenger side airbag. Fix crash sensor connector audi a3 8l. I assume it lays inside the door trim of the front. Need to locate these airbag sensor locations. One of the most common reasons for the airbag light to turn on in a3 is a faulty sensor. In this. Audi A3 Airbag Sensor Location.
From www.onderdelenlijn.nl
Audi A3 Airbag Sensoren voorraad Onderdelenlijn.nl Audi A3 Airbag Sensor Location You will need to remove the seat and under the carpet, you will see the sensor attached to a. One of the most common reasons for the airbag light to turn on in a3 is a faulty sensor. The sensor is under the passenger seat. Fix crash sensor connector audi a3 8l. Hi it will need to be coded, you. Audi A3 Airbag Sensor Location.
From www.eteile.pl
Moduł Sensor Airbag Audi A3 8l 1.9 Tdi 8l0959655j Sklep Eteile.pl Audi A3 Airbag Sensor Location It said there's a problem with the crash sensor for the passenger side airbag. Need to locate these airbag sensor locations. The sensor is under the passenger seat. I assume it lays inside the door trim of the front. Passenger front airbag crash sensor (g284) ‹› location: ‹› removing and installing, refer to => [ front airbag crash sensor ]. Audi A3 Airbag Sensor Location.
From workshop-manuals.com
Audi Service and Repair Manuals > A3 L42.0L Turbo (CBFA Audi A3 Airbag Sensor Location In this video driveway dudes paul shows you how to fix an airbag fault on an audi a3.the airbag. I assume it lays inside the door trim of the front. You will need to remove the seat and under the carpet, you will see the sensor attached to a. Fix crash sensor connector audi a3 8l. The sensor is under. Audi A3 Airbag Sensor Location.
From www.youtube.com
Audi A3 8p Airbag Warning Light How To Turn It Off YouTube Audi A3 Airbag Sensor Location You will need to remove the seat and under the carpet, you will see the sensor attached to a. It said there's a problem with the crash sensor for the passenger side airbag. Also, i have seen some references to it being behind the headlamp in the engine bay.which would give you the right location for side/frontal impact sensing. In. Audi A3 Airbag Sensor Location.
From www.airbagshop.be
Airbag set Dashboard Audi A3 8V 2012today buy ? Airbag.eu Audi A3 Airbag Sensor Location ‹› removing and installing, refer to => [ front airbag crash sensor ] see: The sensor is under the passenger seat. It said there's a problem with the crash sensor for the passenger side airbag. Passenger front airbag crash sensor (g284) ‹› location: One of the most common reasons for the airbag light to turn on in a3 is a. Audi A3 Airbag Sensor Location.
From forum-diagnostic-voiture.diagauto.net
schéma airbags diagnostic audi a3 1.6 l localisation des composants Audi A3 Airbag Sensor Location Hi it will need to be coded, you have the coding from the old unit 0013112 this. Also, i have seen some references to it being behind the headlamp in the engine bay.which would give you the right location for side/frontal impact sensing. It said there's a problem with the crash sensor for the passenger side airbag. ‹› removing and. Audi A3 Airbag Sensor Location.
From www.elektroda.com
audi a3 8P AIRBAG indicator / 2 plugs from the seat, 1 plug from the car Audi A3 Airbag Sensor Location In this video driveway dudes paul shows you how to fix an airbag fault on an audi a3.the airbag. Also, i have seen some references to it being behind the headlamp in the engine bay.which would give you the right location for side/frontal impact sensing. It said there's a problem with the crash sensor for the passenger side airbag. ‹›. Audi A3 Airbag Sensor Location.
From www.onderdelenlijn.nl
Audi A3 Airbag Sensoren voorraad Onderdelenlijn.nl Audi A3 Airbag Sensor Location The sensor is under the passenger seat. One of the most common reasons for the airbag light to turn on in a3 is a faulty sensor. Fix crash sensor connector audi a3 8l. You will need to remove the seat and under the carpet, you will see the sensor attached to a. I assume it lays inside the door trim. Audi A3 Airbag Sensor Location.
From www.airbagshop.be
Airbag kit Cruscotto Audi A3 8Y (2020....) Airbag Shop Audi A3 Airbag Sensor Location Fix crash sensor connector audi a3 8l. Passenger front airbag crash sensor (g284) ‹› location: I assume it lays inside the door trim of the front. ‹› removing and installing, refer to => [ front airbag crash sensor ] see: In this video driveway dudes paul shows you how to fix an airbag fault on an audi a3.the airbag. You. Audi A3 Airbag Sensor Location.
From www.youtube.com
How to Turn Off Passenger Airbag Audi Cars YouTube Audi A3 Airbag Sensor Location Fix crash sensor connector audi a3 8l. Need to locate these airbag sensor locations. It said there's a problem with the crash sensor for the passenger side airbag. I assume it lays inside the door trim of the front. Also, i have seen some references to it being behind the headlamp in the engine bay.which would give you the right. Audi A3 Airbag Sensor Location.
From www.onderdelenlijn.nl
Audi A3 Airbag Sensoren voorraad Onderdelenlijn.nl Audi A3 Airbag Sensor Location In this video driveway dudes paul shows you how to fix an airbag fault on an audi a3.the airbag. One of the most common reasons for the airbag light to turn on in a3 is a faulty sensor. ‹› removing and installing, refer to => [ front airbag crash sensor ] see: Also, i have seen some references to it. Audi A3 Airbag Sensor Location.
From www.airbagshop.be
Airbag set Dashboard Audi A3 8P 20032012 buy ? Airbag.eu Audi A3 Airbag Sensor Location In this video driveway dudes paul shows you how to fix an airbag fault on an audi a3.the airbag. I assume it lays inside the door trim of the front. Passenger front airbag crash sensor (g284) ‹› location: You will need to remove the seat and under the carpet, you will see the sensor attached to a. It said there's. Audi A3 Airbag Sensor Location.
From www.youtube.com
How to Audi A3 Airbag Removing ऑडी A3 एयरबैग कैसे निकालें YouTube Audi A3 Airbag Sensor Location Also, i have seen some references to it being behind the headlamp in the engine bay.which would give you the right location for side/frontal impact sensing. ‹› removing and installing, refer to => [ front airbag crash sensor ] see: One of the most common reasons for the airbag light to turn on in a3 is a faulty sensor. In. Audi A3 Airbag Sensor Location.
From usedcarparts.co.za
2010 AUDI A3 Airbag Sensor Module Audi A3 Airbag Sensor Location In this video driveway dudes paul shows you how to fix an airbag fault on an audi a3.the airbag. ‹› removing and installing, refer to => [ front airbag crash sensor ] see: Passenger front airbag crash sensor (g284) ‹› location: Fix crash sensor connector audi a3 8l. I assume it lays inside the door trim of the front. It. Audi A3 Airbag Sensor Location.
From www.youtube.com
AUDI A3 8V 2013 Remove/Install Airbag YouTube Audi A3 Airbag Sensor Location It said there's a problem with the crash sensor for the passenger side airbag. In this video driveway dudes paul shows you how to fix an airbag fault on an audi a3.the airbag. You will need to remove the seat and under the carpet, you will see the sensor attached to a. ‹› removing and installing, refer to => [. Audi A3 Airbag Sensor Location.
From shop.euroimpex.lt
8l0959655g 0285001352 Airbag crash sensors module Audi A3 1999 1.9L Audi A3 Airbag Sensor Location I assume it lays inside the door trim of the front. The sensor is under the passenger seat. You will need to remove the seat and under the carpet, you will see the sensor attached to a. ‹› removing and installing, refer to => [ front airbag crash sensor ] see: Hi it will need to be coded, you have. Audi A3 Airbag Sensor Location.
From www.audiforums.com
A3 crash sensor side airbag Audi A3 Airbag Sensor Location Hi it will need to be coded, you have the coding from the old unit 0013112 this. It said there's a problem with the crash sensor for the passenger side airbag. Passenger front airbag crash sensor (g284) ‹› location: Also, i have seen some references to it being behind the headlamp in the engine bay.which would give you the right. Audi A3 Airbag Sensor Location.
From carparts4sale.com
Front Air Bag Crash Sensor 0613 Audi A3 0508 A4 B7 8E0 959 651 A Audi A3 Airbag Sensor Location Need to locate these airbag sensor locations. One of the most common reasons for the airbag light to turn on in a3 is a faulty sensor. ‹› removing and installing, refer to => [ front airbag crash sensor ] see: Fix crash sensor connector audi a3 8l. Hi it will need to be coded, you have the coding from the. Audi A3 Airbag Sensor Location.
From getdall.com
Where's the Airbag Sensor in the Passenger Seat A Comprehensive Guide Audi A3 Airbag Sensor Location Hi it will need to be coded, you have the coding from the old unit 0013112 this. I assume it lays inside the door trim of the front. In this video driveway dudes paul shows you how to fix an airbag fault on an audi a3.the airbag. You will need to remove the seat and under the carpet, you will. Audi A3 Airbag Sensor Location.
From workshop-manuals.com
Audi Service and Repair Manuals > A3 L42.0L Turbo (CBFA Audi A3 Airbag Sensor Location Need to locate these airbag sensor locations. One of the most common reasons for the airbag light to turn on in a3 is a faulty sensor. Hi it will need to be coded, you have the coding from the old unit 0013112 this. It said there's a problem with the crash sensor for the passenger side airbag. The sensor is. Audi A3 Airbag Sensor Location.
From www.cardumps.com
Audi A3 2005 airbag 95640 8P0 959 655 H Bosch 0 285 001 857 Audi A3 Airbag Sensor Location It said there's a problem with the crash sensor for the passenger side airbag. Need to locate these airbag sensor locations. Passenger front airbag crash sensor (g284) ‹› location: I assume it lays inside the door trim of the front. In this video driveway dudes paul shows you how to fix an airbag fault on an audi a3.the airbag. One. Audi A3 Airbag Sensor Location.
From www.onderdelenlijn.nl
Airbag Sensor Audi A3 5Q0959354 AP Autos Onderdelenlijn.nl Audi A3 Airbag Sensor Location In this video driveway dudes paul shows you how to fix an airbag fault on an audi a3.the airbag. I assume it lays inside the door trim of the front. You will need to remove the seat and under the carpet, you will see the sensor attached to a. It said there's a problem with the crash sensor for the. Audi A3 Airbag Sensor Location.
From www.a3forum.fr
Driver's Front Airbag Crash Sensor Problèmes Electrique ou Audi A3 Airbag Sensor Location Hi it will need to be coded, you have the coding from the old unit 0013112 this. Also, i have seen some references to it being behind the headlamp in the engine bay.which would give you the right location for side/frontal impact sensing. It said there's a problem with the crash sensor for the passenger side airbag. One of the. Audi A3 Airbag Sensor Location.
From workshop-manuals.com
Audi Service and Repair Manuals > A3 L42.0L Turbo (CBFA Audi A3 Airbag Sensor Location Fix crash sensor connector audi a3 8l. You will need to remove the seat and under the carpet, you will see the sensor attached to a. Hi it will need to be coded, you have the coding from the old unit 0013112 this. Need to locate these airbag sensor locations. I assume it lays inside the door trim of the. Audi A3 Airbag Sensor Location.