How Much Is 200 Psi . Both psi (pounds per square inch) and bars are the most commonly used units of pressure. To make the conversion insanely easy, we created an online psi to bar. Our psi converter efficiently transforms pressure measurements from psi to atm, bar, or pascal,. Our conversions provide a quick and. The psi [psi] to bar conversion table and conversion steps are also listed. You can do the reverse unit conversion from bar to psi, or enter any two units below: The calculator will evaluate and display the volume from psi. Enter a value in the psi field to convert it to bar, or input a value in the bar field to get the equivalent in psi. The calculator supports bidirectional conversions, automatically updating the corresponding value as you type. 200 psi to bar = 13.78951 bar. Online calculator to convert pounds per square inch to bars (psi to bar) with formulas, examples, and tables. Converting psi to bars is easy. Complete list of pressure units for conversion. Enter the initial psi, the final psi , and the initial volume (ft^3) into the volume from psi calculator. Instant free online tool for psi to bar conversion or vice versa.
from www.aironboard.com.au
The calculator supports bidirectional conversions, automatically updating the corresponding value as you type. You can do the reverse unit conversion from bar to psi, or enter any two units below: The calculator will evaluate and display the volume from psi. Complete list of pressure units for conversion. Enter the initial psi, the final psi , and the initial volume (ft^3) into the volume from psi calculator. Our psi converter efficiently transforms pressure measurements from psi to atm, bar, or pascal,. Online calculator to convert pounds per square inch to bars (psi to bar) with formulas, examples, and tables. Converting psi to bars is easy. Both psi (pounds per square inch) and bars are the most commonly used units of pressure. The psi [psi] to bar conversion table and conversion steps are also listed.
12 Volt 200 Psi Air Compressor 4.2L 200 Psi Steel Air Tank ProMax Series Universal Full System
How Much Is 200 Psi Converting psi to bars is easy. The calculator supports bidirectional conversions, automatically updating the corresponding value as you type. The calculator will evaluate and display the volume from psi. Instant free online tool for psi to bar conversion or vice versa. Enter a value in the psi field to convert it to bar, or input a value in the bar field to get the equivalent in psi. Online calculator to convert pounds per square inch to bars (psi to bar) with formulas, examples, and tables. Our psi converter efficiently transforms pressure measurements from psi to atm, bar, or pascal,. Enter the initial psi, the final psi , and the initial volume (ft^3) into the volume from psi calculator. Converting psi to bars is easy. 200 psi to bar = 13.78951 bar. Our conversions provide a quick and. Complete list of pressure units for conversion. You can do the reverse unit conversion from bar to psi, or enter any two units below: To make the conversion insanely easy, we created an online psi to bar. Both psi (pounds per square inch) and bars are the most commonly used units of pressure. The psi [psi] to bar conversion table and conversion steps are also listed.
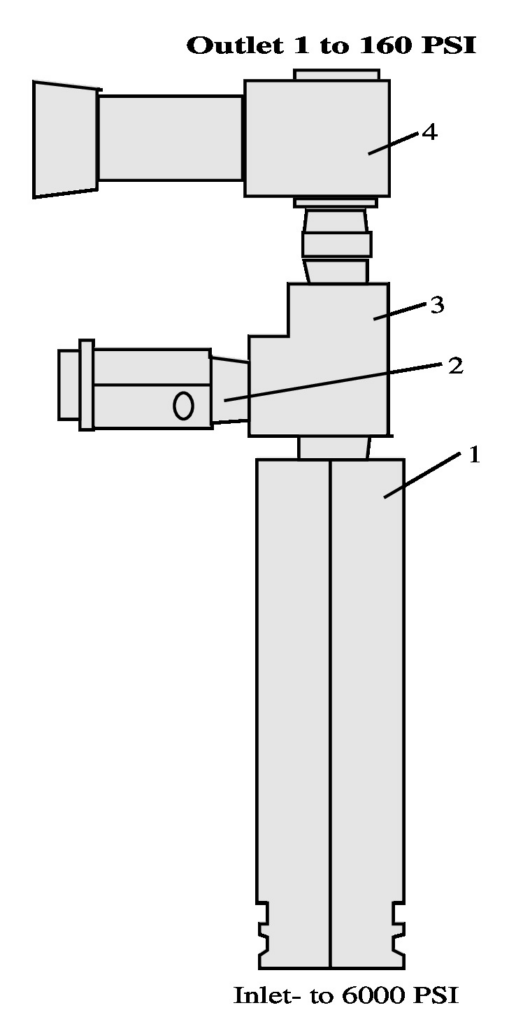
From www.aquaenvironmentinc.com
Controlling Pressures in the 1 to 200 PSI Range Drawing 1553 Aqua Environment Co., Inc. How Much Is 200 Psi To make the conversion insanely easy, we created an online psi to bar. Enter a value in the psi field to convert it to bar, or input a value in the bar field to get the equivalent in psi. Instant free online tool for psi to bar conversion or vice versa. Both psi (pounds per square inch) and bars are. How Much Is 200 Psi.
From support.dustlessblasting.com
Blast Nozzle Selection Guide (VIDEO) How Much Is 200 Psi Our psi converter efficiently transforms pressure measurements from psi to atm, bar, or pascal,. Enter a value in the psi field to convert it to bar, or input a value in the bar field to get the equivalent in psi. 200 psi to bar = 13.78951 bar. The calculator will evaluate and display the volume from psi. Our conversions provide. How Much Is 200 Psi.
From www.petersenproducts.com
Gauge, Pressure, 200 Psi, 1400 Kpa, Dual Scale How Much Is 200 Psi 200 psi to bar = 13.78951 bar. Complete list of pressure units for conversion. Both psi (pounds per square inch) and bars are the most commonly used units of pressure. The calculator supports bidirectional conversions, automatically updating the corresponding value as you type. Converting psi to bars is easy. Enter a value in the psi field to convert it to. How Much Is 200 Psi.
From www.thesignshed.co.uk
Safe Working Pressure 200 PSI Sign Safety Signs How Much Is 200 Psi Enter the initial psi, the final psi , and the initial volume (ft^3) into the volume from psi calculator. Our conversions provide a quick and. Enter a value in the psi field to convert it to bar, or input a value in the bar field to get the equivalent in psi. Both psi (pounds per square inch) and bars are. How Much Is 200 Psi.
From asenoveo6schematic.z14.web.core.windows.net
Psi To Bar Conversion Chart How Much Is 200 Psi You can do the reverse unit conversion from bar to psi, or enter any two units below: Instant free online tool for psi to bar conversion or vice versa. Complete list of pressure units for conversion. Our psi converter efficiently transforms pressure measurements from psi to atm, bar, or pascal,. Online calculator to convert pounds per square inch to bars. How Much Is 200 Psi.
From www.walmart.com
Portable Air Tank Repair Kit With Relief Valve, 0200 Psi Gauge And Hose How Much Is 200 Psi To make the conversion insanely easy, we created an online psi to bar. Both psi (pounds per square inch) and bars are the most commonly used units of pressure. 200 psi to bar = 13.78951 bar. You can do the reverse unit conversion from bar to psi, or enter any two units below: Online calculator to convert pounds per square. How Much Is 200 Psi.
From lanefersmarsh.blogspot.com
200 Kpa to Psi How Much Is 200 Psi To make the conversion insanely easy, we created an online psi to bar. 200 psi to bar = 13.78951 bar. The calculator will evaluate and display the volume from psi. Enter the initial psi, the final psi , and the initial volume (ft^3) into the volume from psi calculator. Both psi (pounds per square inch) and bars are the most. How Much Is 200 Psi.
From workring-miharu.co.jp
Tools & Equipment 1Pcs Pressure Gauge Pressure Manometer Air Compressor Pressure 0200 How Much Is 200 Psi Enter the initial psi, the final psi , and the initial volume (ft^3) into the volume from psi calculator. Converting psi to bars is easy. The calculator supports bidirectional conversions, automatically updating the corresponding value as you type. Our psi converter efficiently transforms pressure measurements from psi to atm, bar, or pascal,. Complete list of pressure units for conversion. The. How Much Is 200 Psi.
From www.justchartit.com
bike tire pressure chart ᐉ Tire PSI by Rider Age & Weight How Much Is 200 Psi The calculator supports bidirectional conversions, automatically updating the corresponding value as you type. Online calculator to convert pounds per square inch to bars (psi to bar) with formulas, examples, and tables. Enter the initial psi, the final psi , and the initial volume (ft^3) into the volume from psi calculator. Instant free online tool for psi to bar conversion or. How Much Is 200 Psi.
From serrebin.weebly.com
Bar to psi conversion serrebin How Much Is 200 Psi Our psi converter efficiently transforms pressure measurements from psi to atm, bar, or pascal,. To make the conversion insanely easy, we created an online psi to bar. The psi [psi] to bar conversion table and conversion steps are also listed. Our conversions provide a quick and. Converting psi to bars is easy. You can do the reverse unit conversion from. How Much Is 200 Psi.
From www.youtube.com
Bar to psi Pressure Unit Conversion psi to Bar YouTube How Much Is 200 Psi Instant free online tool for psi to bar conversion or vice versa. Our psi converter efficiently transforms pressure measurements from psi to atm, bar, or pascal,. Enter a value in the psi field to convert it to bar, or input a value in the bar field to get the equivalent in psi. The calculator will evaluate and display the volume. How Much Is 200 Psi.
From www.homedepot.ca
DEWALT 15 Gal. 1.6 HP Continuous 200 PSI Air Compressor The Home Depot Canada How Much Is 200 Psi Our psi converter efficiently transforms pressure measurements from psi to atm, bar, or pascal,. The calculator will evaluate and display the volume from psi. The psi [psi] to bar conversion table and conversion steps are also listed. Both psi (pounds per square inch) and bars are the most commonly used units of pressure. The calculator supports bidirectional conversions, automatically updating. How Much Is 200 Psi.
From www.911metallurgist.com
Convert Head of Water into Pressure PSI How Much Is 200 Psi Online calculator to convert pounds per square inch to bars (psi to bar) with formulas, examples, and tables. Enter a value in the psi field to convert it to bar, or input a value in the bar field to get the equivalent in psi. Our psi converter efficiently transforms pressure measurements from psi to atm, bar, or pascal,. The calculator. How Much Is 200 Psi.
From tirehubz.com
How Much PSI Do I Need To Fill Tires? Tire Hubz How Much Is 200 Psi You can do the reverse unit conversion from bar to psi, or enter any two units below: The psi [psi] to bar conversion table and conversion steps are also listed. Our conversions provide a quick and. Enter the initial psi, the final psi , and the initial volume (ft^3) into the volume from psi calculator. Enter a value in the. How Much Is 200 Psi.
From www.youtube.com
How to convert atm to psi Convert atm into psi Convert standard atmospheric pressure to psi How Much Is 200 Psi Our conversions provide a quick and. Both psi (pounds per square inch) and bars are the most commonly used units of pressure. Complete list of pressure units for conversion. The calculator supports bidirectional conversions, automatically updating the corresponding value as you type. The calculator will evaluate and display the volume from psi. The psi [psi] to bar conversion table and. How Much Is 200 Psi.
From aubree-kluna.blogspot.com
How Much Psi Can a Human Body Withstand How Much Is 200 Psi Converting psi to bars is easy. Enter a value in the psi field to convert it to bar, or input a value in the bar field to get the equivalent in psi. Both psi (pounds per square inch) and bars are the most commonly used units of pressure. Our conversions provide a quick and. The psi [psi] to bar conversion. How Much Is 200 Psi.
From www.slideserve.com
PPT Advanced Math PowerPoint Presentation ID351174 How Much Is 200 Psi The psi [psi] to bar conversion table and conversion steps are also listed. Our psi converter efficiently transforms pressure measurements from psi to atm, bar, or pascal,. Enter the initial psi, the final psi , and the initial volume (ft^3) into the volume from psi calculator. Our conversions provide a quick and. To make the conversion insanely easy, we created. How Much Is 200 Psi.
From www.walmart.com
11/4\" NPT Brass Check Valve Female Pipe Thread FPT Fl ow Well Pump 200 PSI 180 How Much Is 200 Psi The calculator supports bidirectional conversions, automatically updating the corresponding value as you type. Enter a value in the psi field to convert it to bar, or input a value in the bar field to get the equivalent in psi. Converting psi to bars is easy. Enter the initial psi, the final psi , and the initial volume (ft^3) into the. How Much Is 200 Psi.
From wesen-tech.com
Cheap Water Pressure Gauge Dual Scale Utility Manometer 200 Psi 14 Bar WESEN TECHNOLOGIES How Much Is 200 Psi Both psi (pounds per square inch) and bars are the most commonly used units of pressure. Our conversions provide a quick and. 200 psi to bar = 13.78951 bar. Instant free online tool for psi to bar conversion or vice versa. Enter a value in the psi field to convert it to bar, or input a value in the bar. How Much Is 200 Psi.
From www.walmart.com
Pressure Gauge, Stainless Steel Case, Chrome Plated Brass Connection, Liquid Filled, 0200 psi How Much Is 200 Psi The calculator supports bidirectional conversions, automatically updating the corresponding value as you type. To make the conversion insanely easy, we created an online psi to bar. Enter the initial psi, the final psi , and the initial volume (ft^3) into the volume from psi calculator. Our conversions provide a quick and. Online calculator to convert pounds per square inch to. How Much Is 200 Psi.
From careforlifee.com
How Much Psi In Co2 Cartridge? 2024 How Much Is 200 Psi Converting psi to bars is easy. You can do the reverse unit conversion from bar to psi, or enter any two units below: Complete list of pressure units for conversion. The calculator supports bidirectional conversions, automatically updating the corresponding value as you type. The psi [psi] to bar conversion table and conversion steps are also listed. Enter the initial psi,. How Much Is 200 Psi.
From fixrepairprelature.z14.web.core.windows.net
Check Engine Size By Reg How Much Is 200 Psi 200 psi to bar = 13.78951 bar. The psi [psi] to bar conversion table and conversion steps are also listed. Our conversions provide a quick and. Enter the initial psi, the final psi , and the initial volume (ft^3) into the volume from psi calculator. Both psi (pounds per square inch) and bars are the most commonly used units of. How Much Is 200 Psi.
From www.ubuy.cr
Kit de Medidor de Presión de Agua Flow Doctor, Todo Propósito, 0200 Psi, 34 Hilo de Manguera de How Much Is 200 Psi 200 psi to bar = 13.78951 bar. You can do the reverse unit conversion from bar to psi, or enter any two units below: Complete list of pressure units for conversion. Our conversions provide a quick and. The psi [psi] to bar conversion table and conversion steps are also listed. Our psi converter efficiently transforms pressure measurements from psi to. How Much Is 200 Psi.
From www.aironboard.com.au
12 Volt 200 Psi Air Compressor 4.2L 200 Psi Steel Air Tank ProMax Series Universal Full System How Much Is 200 Psi Converting psi to bars is easy. The psi [psi] to bar conversion table and conversion steps are also listed. Enter the initial psi, the final psi , and the initial volume (ft^3) into the volume from psi calculator. The calculator supports bidirectional conversions, automatically updating the corresponding value as you type. You can do the reverse unit conversion from bar. How Much Is 200 Psi.
From rjsupplyhouse.com
21/2" 200 psi Liquid Filled Pressure Gauge How Much Is 200 Psi 200 psi to bar = 13.78951 bar. The calculator will evaluate and display the volume from psi. Our conversions provide a quick and. Enter the initial psi, the final psi , and the initial volume (ft^3) into the volume from psi calculator. The calculator supports bidirectional conversions, automatically updating the corresponding value as you type. The psi [psi] to bar. How Much Is 200 Psi.
From www.msextra.com
boost tables Megasquirt Support Forum (MSEXTRA) How Much Is 200 Psi To make the conversion insanely easy, we created an online psi to bar. 200 psi to bar = 13.78951 bar. Both psi (pounds per square inch) and bars are the most commonly used units of pressure. The psi [psi] to bar conversion table and conversion steps are also listed. Converting psi to bars is easy. Instant free online tool for. How Much Is 200 Psi.
From www.youtube.com
How to Convert Pressure Units psi & bar YouTube How Much Is 200 Psi The psi [psi] to bar conversion table and conversion steps are also listed. 200 psi to bar = 13.78951 bar. Both psi (pounds per square inch) and bars are the most commonly used units of pressure. The calculator supports bidirectional conversions, automatically updating the corresponding value as you type. Enter a value in the psi field to convert it to. How Much Is 200 Psi.
From www.engineeringtoolbox.com
Compressed Air Pipe Line Capacity How Much Is 200 Psi 200 psi to bar = 13.78951 bar. The calculator supports bidirectional conversions, automatically updating the corresponding value as you type. The psi [psi] to bar conversion table and conversion steps are also listed. Enter the initial psi, the final psi , and the initial volume (ft^3) into the volume from psi calculator. Enter a value in the psi field to. How Much Is 200 Psi.
From wal-rich.com
2" 200 PSI Pressure Gauge WalRich Corporation How Much Is 200 Psi Our psi converter efficiently transforms pressure measurements from psi to atm, bar, or pascal,. Online calculator to convert pounds per square inch to bars (psi to bar) with formulas, examples, and tables. The psi [psi] to bar conversion table and conversion steps are also listed. Converting psi to bars is easy. Complete list of pressure units for conversion. Enter the. How Much Is 200 Psi.
From www.ebay.com
New PRM 0200 PSI Pressure Gauge 2.5” SS Case 1⁄4” NPT Brass Bottom eBay How Much Is 200 Psi Instant free online tool for psi to bar conversion or vice versa. Online calculator to convert pounds per square inch to bars (psi to bar) with formulas, examples, and tables. 200 psi to bar = 13.78951 bar. Our psi converter efficiently transforms pressure measurements from psi to atm, bar, or pascal,. The psi [psi] to bar conversion table and conversion. How Much Is 200 Psi.
From vasaadambutler.blogspot.com
200 Kpa to Psi Adam Butler How Much Is 200 Psi Enter the initial psi, the final psi , and the initial volume (ft^3) into the volume from psi calculator. Converting psi to bars is easy. To make the conversion insanely easy, we created an online psi to bar. Our conversions provide a quick and. Enter a value in the psi field to convert it to bar, or input a value. How Much Is 200 Psi.
From studymarxianism.z21.web.core.windows.net
How Many Pounds Of Pressure In A Bicycle Tire How Much Is 200 Psi Our psi converter efficiently transforms pressure measurements from psi to atm, bar, or pascal,. Instant free online tool for psi to bar conversion or vice versa. Online calculator to convert pounds per square inch to bars (psi to bar) with formulas, examples, and tables. Our conversions provide a quick and. To make the conversion insanely easy, we created an online. How Much Is 200 Psi.
From www.ppmc-transport.org
What Does PSI in Tires Mean? All About Tire Pressure How Much Is 200 Psi Online calculator to convert pounds per square inch to bars (psi to bar) with formulas, examples, and tables. 200 psi to bar = 13.78951 bar. Enter the initial psi, the final psi , and the initial volume (ft^3) into the volume from psi calculator. Enter a value in the psi field to convert it to bar, or input a value. How Much Is 200 Psi.
From mungfali.com
Welding Oxygen Cylinder Size Chart How Much Is 200 Psi The calculator supports bidirectional conversions, automatically updating the corresponding value as you type. Complete list of pressure units for conversion. Both psi (pounds per square inch) and bars are the most commonly used units of pressure. Enter the initial psi, the final psi , and the initial volume (ft^3) into the volume from psi calculator. The psi [psi] to bar. How Much Is 200 Psi.
From rjsupplyhouse.com
2" 200 psi Pressure Gauge RJ Supply House How Much Is 200 Psi Online calculator to convert pounds per square inch to bars (psi to bar) with formulas, examples, and tables. The calculator will evaluate and display the volume from psi. To make the conversion insanely easy, we created an online psi to bar. Both psi (pounds per square inch) and bars are the most commonly used units of pressure. Enter a value. How Much Is 200 Psi.