Sensor Optocoupler Circuit . In this article we'll look at how they are used to control circuits, how they work and also how to design some simple optocoupler circuits to show the. Current transfer ratio or just ctr is the. An optocoupler or optoelectronic coupler is an electronic component that basically acts as an interface between the two separate circuits with different voltage levels. Once you know what a ctr is and learn how to use it, then optocoupler circuit design is that easy.
from electronics.stackexchange.com
Current transfer ratio or just ctr is the. An optocoupler or optoelectronic coupler is an electronic component that basically acts as an interface between the two separate circuits with different voltage levels. Once you know what a ctr is and learn how to use it, then optocoupler circuit design is that easy. In this article we'll look at how they are used to control circuits, how they work and also how to design some simple optocoupler circuits to show the.
Isolated digital input to microcontroller using optocoupler
Sensor Optocoupler Circuit Current transfer ratio or just ctr is the. An optocoupler or optoelectronic coupler is an electronic component that basically acts as an interface between the two separate circuits with different voltage levels. Once you know what a ctr is and learn how to use it, then optocoupler circuit design is that easy. Current transfer ratio or just ctr is the. In this article we'll look at how they are used to control circuits, how they work and also how to design some simple optocoupler circuits to show the.
From www.ti.com
SSZT391 Technical article Sensor Optocoupler Circuit Once you know what a ctr is and learn how to use it, then optocoupler circuit design is that easy. In this article we'll look at how they are used to control circuits, how they work and also how to design some simple optocoupler circuits to show the. Current transfer ratio or just ctr is the. An optocoupler or optoelectronic. Sensor Optocoupler Circuit.
From www.next.gr
Optoisolator And Optocoupler Interface circuits under Light Sensing Sensor Optocoupler Circuit Once you know what a ctr is and learn how to use it, then optocoupler circuit design is that easy. Current transfer ratio or just ctr is the. In this article we'll look at how they are used to control circuits, how they work and also how to design some simple optocoupler circuits to show the. An optocoupler or optoelectronic. Sensor Optocoupler Circuit.
From www.bitfoic.com
PC817 Optocoupler IC Pinout,Circuits,Datasheet,Features and Applications Sensor Optocoupler Circuit Once you know what a ctr is and learn how to use it, then optocoupler circuit design is that easy. Current transfer ratio or just ctr is the. An optocoupler or optoelectronic coupler is an electronic component that basically acts as an interface between the two separate circuits with different voltage levels. In this article we'll look at how they. Sensor Optocoupler Circuit.
From www.researchgate.net
16 Linear Optocoupler Application Circuit [17]. Download Scientific Sensor Optocoupler Circuit Once you know what a ctr is and learn how to use it, then optocoupler circuit design is that easy. In this article we'll look at how they are used to control circuits, how they work and also how to design some simple optocoupler circuits to show the. An optocoupler or optoelectronic coupler is an electronic component that basically acts. Sensor Optocoupler Circuit.
From electronics.stackexchange.com
opto isolator Indicator LED on Optocoupler Circuit Electrical Sensor Optocoupler Circuit In this article we'll look at how they are used to control circuits, how they work and also how to design some simple optocoupler circuits to show the. Once you know what a ctr is and learn how to use it, then optocoupler circuit design is that easy. An optocoupler or optoelectronic coupler is an electronic component that basically acts. Sensor Optocoupler Circuit.
From www.edn.com
Optocoupler simplifies powerline monitoring EDN Sensor Optocoupler Circuit Current transfer ratio or just ctr is the. In this article we'll look at how they are used to control circuits, how they work and also how to design some simple optocoupler circuits to show the. Once you know what a ctr is and learn how to use it, then optocoupler circuit design is that easy. An optocoupler or optoelectronic. Sensor Optocoupler Circuit.
From circuitspedia.com
What Is Optocoupler Optocoupler Working And Application Sensor Optocoupler Circuit In this article we'll look at how they are used to control circuits, how they work and also how to design some simple optocoupler circuits to show the. An optocoupler or optoelectronic coupler is an electronic component that basically acts as an interface between the two separate circuits with different voltage levels. Once you know what a ctr is and. Sensor Optocoupler Circuit.
From www.youtube.com
How Optocouplers work optoisolator solid state relays Sensor Optocoupler Circuit Once you know what a ctr is and learn how to use it, then optocoupler circuit design is that easy. In this article we'll look at how they are used to control circuits, how they work and also how to design some simple optocoupler circuits to show the. Current transfer ratio or just ctr is the. An optocoupler or optoelectronic. Sensor Optocoupler Circuit.
From brookeaddknapp.blogspot.com
Circuit Diagram of Optocoupler BrookeaddKnapp Sensor Optocoupler Circuit In this article we'll look at how they are used to control circuits, how they work and also how to design some simple optocoupler circuits to show the. Once you know what a ctr is and learn how to use it, then optocoupler circuit design is that easy. Current transfer ratio or just ctr is the. An optocoupler or optoelectronic. Sensor Optocoupler Circuit.
From exofdtoht.blob.core.windows.net
Ac Voltage Detection Using Optocoupler at Daniel Mcpherson blog Sensor Optocoupler Circuit Once you know what a ctr is and learn how to use it, then optocoupler circuit design is that easy. An optocoupler or optoelectronic coupler is an electronic component that basically acts as an interface between the two separate circuits with different voltage levels. Current transfer ratio or just ctr is the. In this article we'll look at how they. Sensor Optocoupler Circuit.
From exyskbvnn.blob.core.windows.net
Logic Circuit Of Optocoupler at Stephanie Turner blog Sensor Optocoupler Circuit Once you know what a ctr is and learn how to use it, then optocoupler circuit design is that easy. Current transfer ratio or just ctr is the. An optocoupler or optoelectronic coupler is an electronic component that basically acts as an interface between the two separate circuits with different voltage levels. In this article we'll look at how they. Sensor Optocoupler Circuit.
From mungfali.com
PC817 Optocoupler Circuit Sensor Optocoupler Circuit Once you know what a ctr is and learn how to use it, then optocoupler circuit design is that easy. In this article we'll look at how they are used to control circuits, how they work and also how to design some simple optocoupler circuits to show the. Current transfer ratio or just ctr is the. An optocoupler or optoelectronic. Sensor Optocoupler Circuit.
From schematiciroknivs.z4.web.core.windows.net
Ac Line Voltage Detector Circuit Sensor Optocoupler Circuit An optocoupler or optoelectronic coupler is an electronic component that basically acts as an interface between the two separate circuits with different voltage levels. Once you know what a ctr is and learn how to use it, then optocoupler circuit design is that easy. Current transfer ratio or just ctr is the. In this article we'll look at how they. Sensor Optocoupler Circuit.
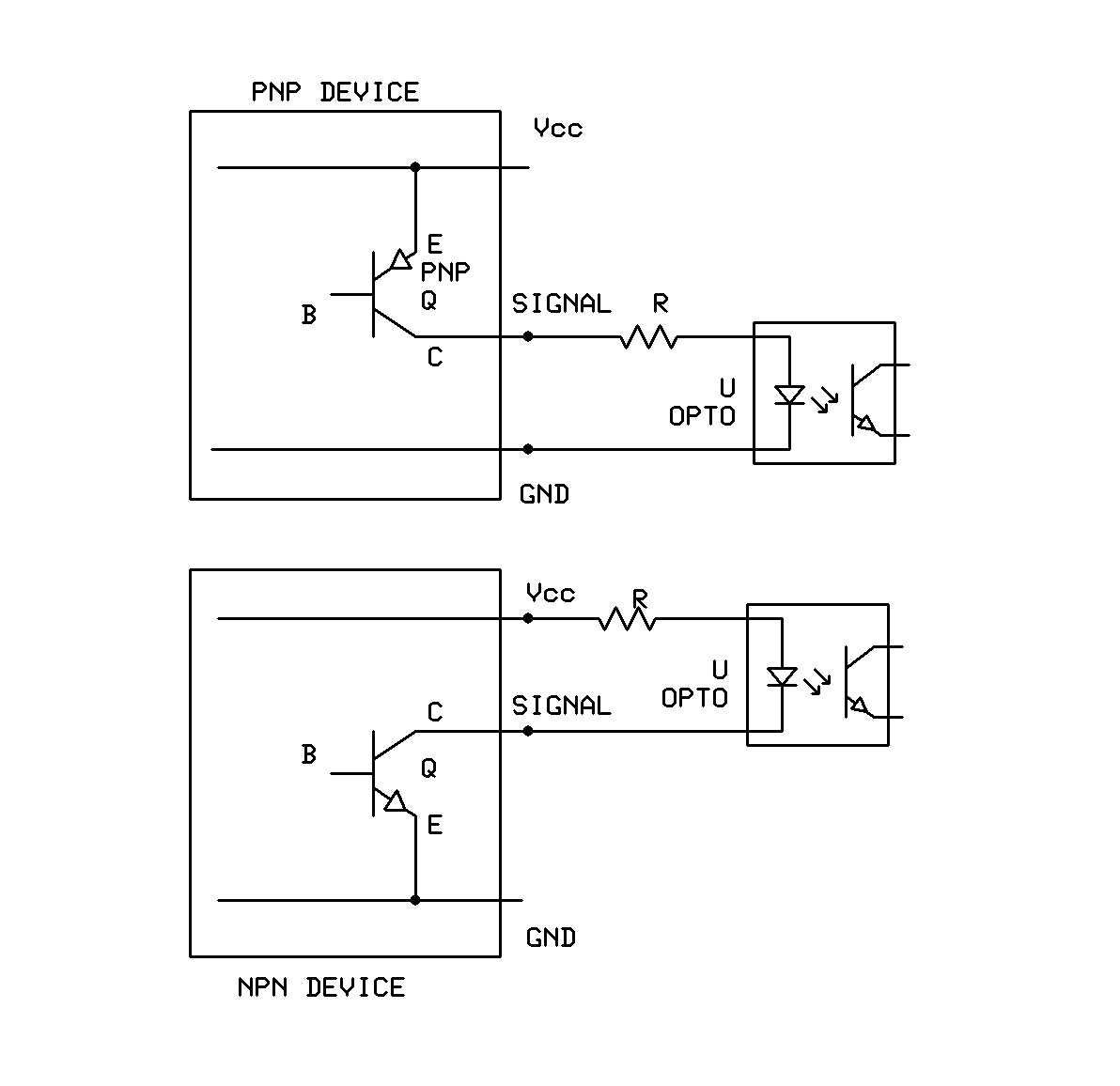
From forum.arduino.cc
Use a bidirectional optocoupler for attached any PNP & NPN sensor type Sensor Optocoupler Circuit Current transfer ratio or just ctr is the. In this article we'll look at how they are used to control circuits, how they work and also how to design some simple optocoupler circuits to show the. Once you know what a ctr is and learn how to use it, then optocoupler circuit design is that easy. An optocoupler or optoelectronic. Sensor Optocoupler Circuit.
From www.circuits-diy.com
PC817 Optocoupler Tester Circuit Sensor Optocoupler Circuit In this article we'll look at how they are used to control circuits, how they work and also how to design some simple optocoupler circuits to show the. Current transfer ratio or just ctr is the. An optocoupler or optoelectronic coupler is an electronic component that basically acts as an interface between the two separate circuits with different voltage levels.. Sensor Optocoupler Circuit.
From www.homemade-circuits.com
How to Drive a Relay through an OptoCoupler Circuit Sensor Optocoupler Circuit Current transfer ratio or just ctr is the. Once you know what a ctr is and learn how to use it, then optocoupler circuit design is that easy. In this article we'll look at how they are used to control circuits, how they work and also how to design some simple optocoupler circuits to show the. An optocoupler or optoelectronic. Sensor Optocoupler Circuit.
From mikroavr.com
Fungsi Optocoupler Sebagai Switch,Cara kerja dan Contoh Aplikasi nya Sensor Optocoupler Circuit Once you know what a ctr is and learn how to use it, then optocoupler circuit design is that easy. An optocoupler or optoelectronic coupler is an electronic component that basically acts as an interface between the two separate circuits with different voltage levels. In this article we'll look at how they are used to control circuits, how they work. Sensor Optocoupler Circuit.
From askelectronics.co.ke
Photoelectric Beam Speed Sensor Module 3.3V5V SlotType Optocoupler Sensor Optocoupler Circuit An optocoupler or optoelectronic coupler is an electronic component that basically acts as an interface between the two separate circuits with different voltage levels. Once you know what a ctr is and learn how to use it, then optocoupler circuit design is that easy. In this article we'll look at how they are used to control circuits, how they work. Sensor Optocoupler Circuit.
From loevtgqkk.blob.core.windows.net
Circuit Diagram Optocoupler at Donald Abbott blog Sensor Optocoupler Circuit An optocoupler or optoelectronic coupler is an electronic component that basically acts as an interface between the two separate circuits with different voltage levels. In this article we'll look at how they are used to control circuits, how they work and also how to design some simple optocoupler circuits to show the. Current transfer ratio or just ctr is the.. Sensor Optocoupler Circuit.
From electronics.stackexchange.com
Isolated digital input to microcontroller using optocoupler Sensor Optocoupler Circuit An optocoupler or optoelectronic coupler is an electronic component that basically acts as an interface between the two separate circuits with different voltage levels. Current transfer ratio or just ctr is the. Once you know what a ctr is and learn how to use it, then optocoupler circuit design is that easy. In this article we'll look at how they. Sensor Optocoupler Circuit.
From learn.edwinrobotics.com
230v/110v AC Mains Detection Module Hookup Guide Learn with Edwin Sensor Optocoupler Circuit An optocoupler or optoelectronic coupler is an electronic component that basically acts as an interface between the two separate circuits with different voltage levels. In this article we'll look at how they are used to control circuits, how they work and also how to design some simple optocoupler circuits to show the. Once you know what a ctr is and. Sensor Optocoupler Circuit.
From www.slideserve.com
PPT Optocoupler Isolation Circuits for Industrial Application Sensor Optocoupler Circuit An optocoupler or optoelectronic coupler is an electronic component that basically acts as an interface between the two separate circuits with different voltage levels. Current transfer ratio or just ctr is the. Once you know what a ctr is and learn how to use it, then optocoupler circuit design is that easy. In this article we'll look at how they. Sensor Optocoupler Circuit.
From loevtgqkk.blob.core.windows.net
Circuit Diagram Optocoupler at Donald Abbott blog Sensor Optocoupler Circuit An optocoupler or optoelectronic coupler is an electronic component that basically acts as an interface between the two separate circuits with different voltage levels. In this article we'll look at how they are used to control circuits, how they work and also how to design some simple optocoupler circuits to show the. Once you know what a ctr is and. Sensor Optocoupler Circuit.
From www.diymore.cc
Slot Type IR Optocoupler Speed Sensor Module LM393 for Arduino diymore Sensor Optocoupler Circuit In this article we'll look at how they are used to control circuits, how they work and also how to design some simple optocoupler circuits to show the. An optocoupler or optoelectronic coupler is an electronic component that basically acts as an interface between the two separate circuits with different voltage levels. Once you know what a ctr is and. Sensor Optocoupler Circuit.
From electronics.stackexchange.com
opto isolator Optocoupler to switch 24V using Arduino Electrical Sensor Optocoupler Circuit Once you know what a ctr is and learn how to use it, then optocoupler circuit design is that easy. Current transfer ratio or just ctr is the. In this article we'll look at how they are used to control circuits, how they work and also how to design some simple optocoupler circuits to show the. An optocoupler or optoelectronic. Sensor Optocoupler Circuit.
From shopee.co.id
Jual Sensor optocoupler Speed Kecepatan Module IR Motor Count Counter Sensor Optocoupler Circuit Once you know what a ctr is and learn how to use it, then optocoupler circuit design is that easy. An optocoupler or optoelectronic coupler is an electronic component that basically acts as an interface between the two separate circuits with different voltage levels. Current transfer ratio or just ctr is the. In this article we'll look at how they. Sensor Optocoupler Circuit.
From shopee.co.id
Jual Sensor kecepatan optocoupler for arduino raspberry Shopee Indonesia Sensor Optocoupler Circuit Once you know what a ctr is and learn how to use it, then optocoupler circuit design is that easy. In this article we'll look at how they are used to control circuits, how they work and also how to design some simple optocoupler circuits to show the. An optocoupler or optoelectronic coupler is an electronic component that basically acts. Sensor Optocoupler Circuit.
From electronics.stackexchange.com
power supply 24V optocoupler with 12V? Electrical Engineering Stack Sensor Optocoupler Circuit Current transfer ratio or just ctr is the. An optocoupler or optoelectronic coupler is an electronic component that basically acts as an interface between the two separate circuits with different voltage levels. In this article we'll look at how they are used to control circuits, how they work and also how to design some simple optocoupler circuits to show the.. Sensor Optocoupler Circuit.
From electronics.stackexchange.com
ac Why does this optocoupler circuit work without getting destroyed Sensor Optocoupler Circuit An optocoupler or optoelectronic coupler is an electronic component that basically acts as an interface between the two separate circuits with different voltage levels. Once you know what a ctr is and learn how to use it, then optocoupler circuit design is that easy. Current transfer ratio or just ctr is the. In this article we'll look at how they. Sensor Optocoupler Circuit.
From circuits-diy.com
How To Make an Optocoupler Tester Circuit At Home Sensor Optocoupler Circuit Current transfer ratio or just ctr is the. An optocoupler or optoelectronic coupler is an electronic component that basically acts as an interface between the two separate circuits with different voltage levels. In this article we'll look at how they are used to control circuits, how they work and also how to design some simple optocoupler circuits to show the.. Sensor Optocoupler Circuit.
From www.eevblog.com
circuit for detecting a 220v AC signal Page 1 Sensor Optocoupler Circuit Once you know what a ctr is and learn how to use it, then optocoupler circuit design is that easy. In this article we'll look at how they are used to control circuits, how they work and also how to design some simple optocoupler circuits to show the. An optocoupler or optoelectronic coupler is an electronic component that basically acts. Sensor Optocoupler Circuit.
From www.pinterest.com
Sensor Optocoupler Circuit Current transfer ratio or just ctr is the. An optocoupler or optoelectronic coupler is an electronic component that basically acts as an interface between the two separate circuits with different voltage levels. Once you know what a ctr is and learn how to use it, then optocoupler circuit design is that easy. In this article we'll look at how they. Sensor Optocoupler Circuit.
From www.electricaltechnology.org
What is an Optocoupler A.K.A Optoisolator or Photocoupler? Sensor Optocoupler Circuit In this article we'll look at how they are used to control circuits, how they work and also how to design some simple optocoupler circuits to show the. Current transfer ratio or just ctr is the. An optocoupler or optoelectronic coupler is an electronic component that basically acts as an interface between the two separate circuits with different voltage levels.. Sensor Optocoupler Circuit.
From www.hackatronic.com
What Are Optoisolators And Optocouplers, How They Work? » Hackatronic Sensor Optocoupler Circuit An optocoupler or optoelectronic coupler is an electronic component that basically acts as an interface between the two separate circuits with different voltage levels. In this article we'll look at how they are used to control circuits, how they work and also how to design some simple optocoupler circuits to show the. Once you know what a ctr is and. Sensor Optocoupler Circuit.
From www.easybom.com
PC817 Optocoupler Datasheet, Pinout, Circuits, Arduino Examples Easybom Sensor Optocoupler Circuit Current transfer ratio or just ctr is the. An optocoupler or optoelectronic coupler is an electronic component that basically acts as an interface between the two separate circuits with different voltage levels. Once you know what a ctr is and learn how to use it, then optocoupler circuit design is that easy. In this article we'll look at how they. Sensor Optocoupler Circuit.