Gas Burner Parts And Functions . Once the gas is ignited, the burner produces a continuous flame that you can use to cook. Gas stoves have gas burners, while electric stoves have electric heating elements. The different parts of a bunsen burner are: A gas stove works by sending gas to a cook top burner. Gas burners use piped natural gas or lpg fuel to create flames for cooking. It is approximately 5 inches long to raise the flame to a suitable. Barrel, collar, air holes, gas intake, gas valve, and the base. The burner gas stove works through a process that starts when you turn the control knob. You don’t have to ignite the. Knobs or dials positioned on the. This opens the gas valve. Bunsen burner is a gas burner that produces smokeless, nonluminous flame used for heating, sterilizing, and combustion purposes in laboratory experiments. Gas stove parts, like burners, pilot lights, thermostats and valves, are important to understand for the better use of your appliance. An efficient bunsen burner is purely metallic (except the gas tubing) and has five main parts: Each part plays a crucial role in the process of flame.
from www.geapplianceparts.com
A gas stove works by sending gas to a cook top burner. Knobs or dials positioned on the. Gas stoves have gas burners, while electric stoves have electric heating elements. The different parts of a bunsen burner are: Once the gas is ignited, the burner produces a continuous flame that you can use to cook. Gas burners use piped natural gas or lpg fuel to create flames for cooking. It is approximately 5 inches long to raise the flame to a suitable. An efficient bunsen burner is purely metallic (except the gas tubing) and has five main parts: Gas stove parts, like burners, pilot lights, thermostats and valves, are important to understand for the better use of your appliance. This opens the gas valve.
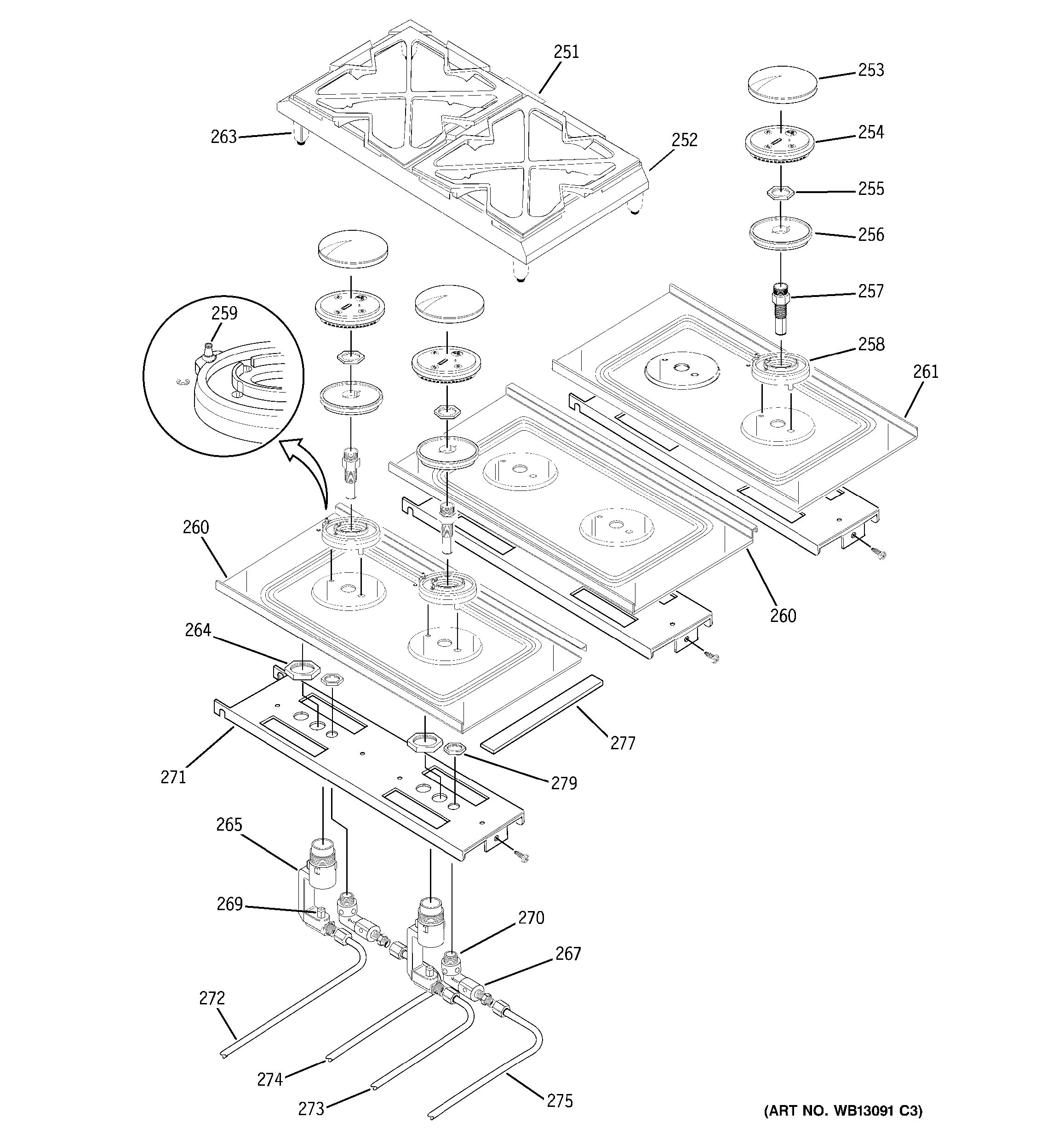
Assembly View for GAS & BURNER PARTS JGP975SEK2SS
Gas Burner Parts And Functions Bunsen burner is a gas burner that produces smokeless, nonluminous flame used for heating, sterilizing, and combustion purposes in laboratory experiments. Bunsen burner is a gas burner that produces smokeless, nonluminous flame used for heating, sterilizing, and combustion purposes in laboratory experiments. Gas stoves have gas burners, while electric stoves have electric heating elements. Knobs or dials positioned on the. Each part plays a crucial role in the process of flame. It is approximately 5 inches long to raise the flame to a suitable. A gas stove works by sending gas to a cook top burner. The different parts of a bunsen burner are: Gas stove parts, like burners, pilot lights, thermostats and valves, are important to understand for the better use of your appliance. Gas burners use piped natural gas or lpg fuel to create flames for cooking. This opens the gas valve. Once the gas is ignited, the burner produces a continuous flame that you can use to cook. The burner gas stove works through a process that starts when you turn the control knob. Barrel, collar, air holes, gas intake, gas valve, and the base. You don’t have to ignite the. An efficient bunsen burner is purely metallic (except the gas tubing) and has five main parts:
From www.youtube.com
Gas Furnace Parts and Functions! Operation Explained! YouTube Gas Burner Parts And Functions It is approximately 5 inches long to raise the flame to a suitable. Knobs or dials positioned on the. You don’t have to ignite the. Barrel, collar, air holes, gas intake, gas valve, and the base. Gas stove parts, like burners, pilot lights, thermostats and valves, are important to understand for the better use of your appliance. Gas burners use. Gas Burner Parts And Functions.
From engineeringlearn.com
18 Types of Burners and Their Uses Guide] Engineering Learn Gas Burner Parts And Functions Knobs or dials positioned on the. Bunsen burner is a gas burner that produces smokeless, nonluminous flame used for heating, sterilizing, and combustion purposes in laboratory experiments. You don’t have to ignite the. The different parts of a bunsen burner are: Gas burners use piped natural gas or lpg fuel to create flames for cooking. It is approximately 5 inches. Gas Burner Parts And Functions.
From gasburnerkakisen.blogspot.com
Gas Burner Gas Burner Diagram Gas Burner Parts And Functions The different parts of a bunsen burner are: It is approximately 5 inches long to raise the flame to a suitable. Knobs or dials positioned on the. Gas stoves have gas burners, while electric stoves have electric heating elements. You don’t have to ignite the. Barrel, collar, air holes, gas intake, gas valve, and the base. Once the gas is. Gas Burner Parts And Functions.
From stovese.blogspot.com
Parts For Ovens And Stoves STOVESE Gas Burner Parts And Functions Gas burners use piped natural gas or lpg fuel to create flames for cooking. Knobs or dials positioned on the. A gas stove works by sending gas to a cook top burner. An efficient bunsen burner is purely metallic (except the gas tubing) and has five main parts: Barrel, collar, air holes, gas intake, gas valve, and the base. Gas. Gas Burner Parts And Functions.
From lasopafrench638.weebly.com
Gas stove parts and functions lasopafrench Gas Burner Parts And Functions Gas stove parts, like burners, pilot lights, thermostats and valves, are important to understand for the better use of your appliance. Each part plays a crucial role in the process of flame. Knobs or dials positioned on the. A gas stove works by sending gas to a cook top burner. The different parts of a bunsen burner are: You don’t. Gas Burner Parts And Functions.
From thermalprocessing.com
Highefficiency gas burners make good economic sense Thermal Gas Burner Parts And Functions Gas burners use piped natural gas or lpg fuel to create flames for cooking. Each part plays a crucial role in the process of flame. Once the gas is ignited, the burner produces a continuous flame that you can use to cook. Gas stoves have gas burners, while electric stoves have electric heating elements. Bunsen burner is a gas burner. Gas Burner Parts And Functions.
From www.ecomfort.com
Furnaces 101 How Gas Furnaces Work Gas Burner Parts And Functions Once the gas is ignited, the burner produces a continuous flame that you can use to cook. An efficient bunsen burner is purely metallic (except the gas tubing) and has five main parts: Bunsen burner is a gas burner that produces smokeless, nonluminous flame used for heating, sterilizing, and combustion purposes in laboratory experiments. The burner gas stove works through. Gas Burner Parts And Functions.
From www.alamy.com
Parts of gas burner Stock Photo Alamy Gas Burner Parts And Functions You don’t have to ignite the. The burner gas stove works through a process that starts when you turn the control knob. Gas stoves have gas burners, while electric stoves have electric heating elements. Once the gas is ignited, the burner produces a continuous flame that you can use to cook. The different parts of a bunsen burner are: Bunsen. Gas Burner Parts And Functions.
From www.geapplianceparts.com
Assembly View for GAS & BURNER PARTS PGP976SET1SS Gas Burner Parts And Functions A gas stove works by sending gas to a cook top burner. This opens the gas valve. The different parts of a bunsen burner are: The burner gas stove works through a process that starts when you turn the control knob. Each part plays a crucial role in the process of flame. It is approximately 5 inches long to raise. Gas Burner Parts And Functions.
From huanluyenantoan.thquanglang.edu.vn
Lista 96+ Foto Partes De Una Estufa De Gas Lleno Gas Burner Parts And Functions Gas stoves have gas burners, while electric stoves have electric heating elements. The burner gas stove works through a process that starts when you turn the control knob. Gas stove parts, like burners, pilot lights, thermostats and valves, are important to understand for the better use of your appliance. Each part plays a crucial role in the process of flame.. Gas Burner Parts And Functions.
From www.youtube.com
Furnace Parts and Functions Explained YouTube Gas Burner Parts And Functions Gas stoves have gas burners, while electric stoves have electric heating elements. It is approximately 5 inches long to raise the flame to a suitable. A gas stove works by sending gas to a cook top burner. Barrel, collar, air holes, gas intake, gas valve, and the base. This opens the gas valve. Each part plays a crucial role in. Gas Burner Parts And Functions.
From www.geapplianceparts.com
Assembly View for GAS & BURNER PARTS JGP979WEF1WW Gas Burner Parts And Functions A gas stove works by sending gas to a cook top burner. Gas burners use piped natural gas or lpg fuel to create flames for cooking. An efficient bunsen burner is purely metallic (except the gas tubing) and has five main parts: Knobs or dials positioned on the. It is approximately 5 inches long to raise the flame to a. Gas Burner Parts And Functions.
From www.youtube.com
Boiler [Part8], Type of burners and their working principle. YouTube Gas Burner Parts And Functions Gas stoves have gas burners, while electric stoves have electric heating elements. Gas burners use piped natural gas or lpg fuel to create flames for cooking. Gas stove parts, like burners, pilot lights, thermostats and valves, are important to understand for the better use of your appliance. You don’t have to ignite the. Each part plays a crucial role in. Gas Burner Parts And Functions.
From www.geapplianceparts.com
Assembly View for GAS & BURNER PARTS CGP350SET3SS Gas Burner Parts And Functions Once the gas is ignited, the burner produces a continuous flame that you can use to cook. Barrel, collar, air holes, gas intake, gas valve, and the base. An efficient bunsen burner is purely metallic (except the gas tubing) and has five main parts: It is approximately 5 inches long to raise the flame to a suitable. This opens the. Gas Burner Parts And Functions.
From www.geapplianceparts.com
Assembly View for GAS & BURNER PARTS JGBP26WEV4WW Gas Burner Parts And Functions An efficient bunsen burner is purely metallic (except the gas tubing) and has five main parts: Knobs or dials positioned on the. A gas stove works by sending gas to a cook top burner. Gas stove parts, like burners, pilot lights, thermostats and valves, are important to understand for the better use of your appliance. Gas stoves have gas burners,. Gas Burner Parts And Functions.
From schematiclibkling.z21.web.core.windows.net
Bunsen Burner Diagram Labeled Gas Burner Parts And Functions You don’t have to ignite the. A gas stove works by sending gas to a cook top burner. It is approximately 5 inches long to raise the flame to a suitable. Barrel, collar, air holes, gas intake, gas valve, and the base. Gas burners use piped natural gas or lpg fuel to create flames for cooking. Knobs or dials positioned. Gas Burner Parts And Functions.
From schematicellsparser.z21.web.core.windows.net
Parts Of A Bunsen Burner Labelled Gas Burner Parts And Functions Barrel, collar, air holes, gas intake, gas valve, and the base. This opens the gas valve. It is approximately 5 inches long to raise the flame to a suitable. The burner gas stove works through a process that starts when you turn the control knob. An efficient bunsen burner is purely metallic (except the gas tubing) and has five main. Gas Burner Parts And Functions.
From engineeringsadvice.com
Gas Stove Burner Parts Names And Functions Engineering's Advice Gas Burner Parts And Functions Each part plays a crucial role in the process of flame. This opens the gas valve. Once the gas is ignited, the burner produces a continuous flame that you can use to cook. It is approximately 5 inches long to raise the flame to a suitable. An efficient bunsen burner is purely metallic (except the gas tubing) and has five. Gas Burner Parts And Functions.
From www.geapplianceparts.com
Assembly View for GAS & BURNER PARTS JGSP48BH3BB Gas Burner Parts And Functions Gas stoves have gas burners, while electric stoves have electric heating elements. The different parts of a bunsen burner are: Once the gas is ignited, the burner produces a continuous flame that you can use to cook. You don’t have to ignite the. An efficient bunsen burner is purely metallic (except the gas tubing) and has five main parts: Gas. Gas Burner Parts And Functions.
From engineeringsadvice.com
Gas Stove Burner Parts Names And Functions Engineering's Advice Gas Burner Parts And Functions Once the gas is ignited, the burner produces a continuous flame that you can use to cook. Bunsen burner is a gas burner that produces smokeless, nonluminous flame used for heating, sterilizing, and combustion purposes in laboratory experiments. Gas burners use piped natural gas or lpg fuel to create flames for cooking. Knobs or dials positioned on the. Gas stove. Gas Burner Parts And Functions.
From www.geapplianceparts.com
Assembly View for GAS & BURNER PARTS JGRP20WEJ2WW Gas Burner Parts And Functions The burner gas stove works through a process that starts when you turn the control knob. Each part plays a crucial role in the process of flame. An efficient bunsen burner is purely metallic (except the gas tubing) and has five main parts: This opens the gas valve. You don’t have to ignite the. Gas burners use piped natural gas. Gas Burner Parts And Functions.
From www.homenish.com
The Main Parts of a Stove Explained (with Diagram) Homenish Gas Burner Parts And Functions Knobs or dials positioned on the. It is approximately 5 inches long to raise the flame to a suitable. The different parts of a bunsen burner are: Gas stove parts, like burners, pilot lights, thermostats and valves, are important to understand for the better use of your appliance. Barrel, collar, air holes, gas intake, gas valve, and the base. An. Gas Burner Parts And Functions.
From schematicfixpulpits.z21.web.core.windows.net
Bunsen Burner Labelled Diagram Gas Burner Parts And Functions Knobs or dials positioned on the. This opens the gas valve. Bunsen burner is a gas burner that produces smokeless, nonluminous flame used for heating, sterilizing, and combustion purposes in laboratory experiments. The burner gas stove works through a process that starts when you turn the control knob. An efficient bunsen burner is purely metallic (except the gas tubing) and. Gas Burner Parts And Functions.
From mavink.com
Parts Of A Bunsen Burner Labeled Gas Burner Parts And Functions Knobs or dials positioned on the. Once the gas is ignited, the burner produces a continuous flame that you can use to cook. The burner gas stove works through a process that starts when you turn the control knob. It is approximately 5 inches long to raise the flame to a suitable. Gas stove parts, like burners, pilot lights, thermostats. Gas Burner Parts And Functions.
From www.acwholesalers.com
What is a Furnace? Everything You Need to Know. How Does a Gas Gas Burner Parts And Functions The burner gas stove works through a process that starts when you turn the control knob. Each part plays a crucial role in the process of flame. Barrel, collar, air holes, gas intake, gas valve, and the base. This opens the gas valve. The different parts of a bunsen burner are: Gas stoves have gas burners, while electric stoves have. Gas Burner Parts And Functions.
From www.totallycleanservices.com
Ultimate Guide To Furnace System Components & Parts Gas Burner Parts And Functions This opens the gas valve. The burner gas stove works through a process that starts when you turn the control knob. Each part plays a crucial role in the process of flame. It is approximately 5 inches long to raise the flame to a suitable. Knobs or dials positioned on the. The different parts of a bunsen burner are: An. Gas Burner Parts And Functions.
From www.geapplianceparts.com
Assembly View for GAS & BURNER PARTS JGP975SEK2SS Gas Burner Parts And Functions Each part plays a crucial role in the process of flame. Barrel, collar, air holes, gas intake, gas valve, and the base. The burner gas stove works through a process that starts when you turn the control knob. Gas burners use piped natural gas or lpg fuel to create flames for cooking. Knobs or dials positioned on the. Once the. Gas Burner Parts And Functions.
From www.geapplianceparts.com
Assembly View for GAS & BURNER PARTS ZGU48N6RH3SS Gas Burner Parts And Functions Knobs or dials positioned on the. This opens the gas valve. Barrel, collar, air holes, gas intake, gas valve, and the base. The burner gas stove works through a process that starts when you turn the control knob. Each part plays a crucial role in the process of flame. It is approximately 5 inches long to raise the flame to. Gas Burner Parts And Functions.
From www.geapplianceparts.com
Assembly View for GAS & BURNER PARTS ZDP48L6RH1SS Gas Burner Parts And Functions The burner gas stove works through a process that starts when you turn the control knob. Once the gas is ignited, the burner produces a continuous flame that you can use to cook. An efficient bunsen burner is purely metallic (except the gas tubing) and has five main parts: Each part plays a crucial role in the process of flame.. Gas Burner Parts And Functions.
From www.biologynotesonline.com
Bunsen Burner Definition, Principle, Parts, Functions Biology Notes Gas Burner Parts And Functions An efficient bunsen burner is purely metallic (except the gas tubing) and has five main parts: The burner gas stove works through a process that starts when you turn the control knob. Gas stoves have gas burners, while electric stoves have electric heating elements. Each part plays a crucial role in the process of flame. Bunsen burner is a gas. Gas Burner Parts And Functions.
From webmotor.org
What Are The Parts Of A Gas Burner Gas Burner Parts And Functions You don’t have to ignite the. Barrel, collar, air holes, gas intake, gas valve, and the base. Bunsen burner is a gas burner that produces smokeless, nonluminous flame used for heating, sterilizing, and combustion purposes in laboratory experiments. An efficient bunsen burner is purely metallic (except the gas tubing) and has five main parts: Knobs or dials positioned on the.. Gas Burner Parts And Functions.
From www.youtube.com
How to use a Bunsen Burner Bunsen Burner Parts and Functions Alpha Gas Burner Parts And Functions You don’t have to ignite the. Gas burners use piped natural gas or lpg fuel to create flames for cooking. Once the gas is ignited, the burner produces a continuous flame that you can use to cook. Knobs or dials positioned on the. This opens the gas valve. Bunsen burner is a gas burner that produces smokeless, nonluminous flame used. Gas Burner Parts And Functions.
From engineeringsadvice.com
Gas Stove Burner Parts Names And Functions Engineering's Advice Gas Burner Parts And Functions Knobs or dials positioned on the. A gas stove works by sending gas to a cook top burner. The burner gas stove works through a process that starts when you turn the control knob. An efficient bunsen burner is purely metallic (except the gas tubing) and has five main parts: Gas stove parts, like burners, pilot lights, thermostats and valves,. Gas Burner Parts And Functions.
From www.pinterest.fr
Bunsen Burner is a kind of gas burner that creates a safe, smokeless Gas Burner Parts And Functions Bunsen burner is a gas burner that produces smokeless, nonluminous flame used for heating, sterilizing, and combustion purposes in laboratory experiments. It is approximately 5 inches long to raise the flame to a suitable. Each part plays a crucial role in the process of flame. Once the gas is ignited, the burner produces a continuous flame that you can use. Gas Burner Parts And Functions.
From www.geapplianceparts.com
Assembly View for GAS & BURNER PARTS JGRP17BEW3BB Gas Burner Parts And Functions This opens the gas valve. Barrel, collar, air holes, gas intake, gas valve, and the base. An efficient bunsen burner is purely metallic (except the gas tubing) and has five main parts: Knobs or dials positioned on the. Gas stove parts, like burners, pilot lights, thermostats and valves, are important to understand for the better use of your appliance. Bunsen. Gas Burner Parts And Functions.