Invention Of Toilet Seat Cover . Dykstra’s 1922 patent for a disposable toilet seat cover will look more familiar. In ancient times, a toilet seat was a luxury. The modern toilet seat was invented by thomas crapper in the late 1800s. The invention includes a “flap adapted to extend down into the toiletbowl and to. Thomasa invented and patented the first model of the toilet seat cover in 1942. What was surprising was that seat covers, which were invented in l.a. The flush toilet was invented in 1596 but didn’t become widespread until 1851. Why was a toilet seat invented? Prior to the flush toilet, the renaissance era saw toilets that consisted of a box with a seat and a lid covering a porcelain or. The toilet seat dates back 2,000 years to the han dynasty in china, when it was simply made of stone. The toilet seat was invented to provide a more comfortable. Who invented toilet seat covers? The seat covers comprise of a single sheet of paper of a. Before that, the “toilet” was a motley collection. In the '30s, are mainly a west coast thing.
from eureka.patsnap.com
Why was a toilet seat invented? Who invented toilet seat covers? Thomasa invented and patented the first model of the toilet seat cover in 1942. The seat covers comprise of a single sheet of paper of a. Prior to the flush toilet, the renaissance era saw toilets that consisted of a box with a seat and a lid covering a porcelain or. Dykstra’s 1922 patent for a disposable toilet seat cover will look more familiar. What was surprising was that seat covers, which were invented in l.a. Before that, the “toilet” was a motley collection. In the '30s, are mainly a west coast thing. The modern toilet seat was invented by thomas crapper in the late 1800s.
Toilet seat cover with foldable side flaps Eureka Patsnap
Invention Of Toilet Seat Cover In ancient times, a toilet seat was a luxury. Thomasa invented and patented the first model of the toilet seat cover in 1942. Dykstra’s 1922 patent for a disposable toilet seat cover will look more familiar. What was surprising was that seat covers, which were invented in l.a. Before that, the “toilet” was a motley collection. The invention includes a “flap adapted to extend down into the toiletbowl and to. Why was a toilet seat invented? The modern toilet seat was invented by thomas crapper in the late 1800s. The seat covers comprise of a single sheet of paper of a. Who invented toilet seat covers? In ancient times, a toilet seat was a luxury. The flush toilet was invented in 1596 but didn’t become widespread until 1851. Prior to the flush toilet, the renaissance era saw toilets that consisted of a box with a seat and a lid covering a porcelain or. The toilet seat dates back 2,000 years to the han dynasty in china, when it was simply made of stone. In the '30s, are mainly a west coast thing. The toilet seat was invented to provide a more comfortable.
From www.google.com
Patent US4050105 Disposable toilet seat cover Google Patents Invention Of Toilet Seat Cover The toilet seat was invented to provide a more comfortable. The invention includes a “flap adapted to extend down into the toiletbowl and to. In the '30s, are mainly a west coast thing. Before that, the “toilet” was a motley collection. The modern toilet seat was invented by thomas crapper in the late 1800s. What was surprising was that seat. Invention Of Toilet Seat Cover.
From www.aliexpress.com
SmartHeatedToiletSeatInstantHotTypeWCSitzIntelligentAutomaticToiletLidCover Invention Of Toilet Seat Cover Dykstra’s 1922 patent for a disposable toilet seat cover will look more familiar. The modern toilet seat was invented by thomas crapper in the late 1800s. Prior to the flush toilet, the renaissance era saw toilets that consisted of a box with a seat and a lid covering a porcelain or. Why was a toilet seat invented? The toilet seat. Invention Of Toilet Seat Cover.
From casanacare.com
The man who invented a smart toilet seat Invention Of Toilet Seat Cover The toilet seat dates back 2,000 years to the han dynasty in china, when it was simply made of stone. Who invented toilet seat covers? The seat covers comprise of a single sheet of paper of a. Prior to the flush toilet, the renaissance era saw toilets that consisted of a box with a seat and a lid covering a. Invention Of Toilet Seat Cover.
From www.google.com
Patent US3348243 Sanitary singleuse toilet seat covers Google Patents Invention Of Toilet Seat Cover The modern toilet seat was invented by thomas crapper in the late 1800s. The toilet seat was invented to provide a more comfortable. Who invented toilet seat covers? Why was a toilet seat invented? The toilet seat dates back 2,000 years to the han dynasty in china, when it was simply made of stone. Prior to the flush toilet, the. Invention Of Toilet Seat Cover.
From historycooperative.org
Who Invented the Toilet? The History of Flush Toilets History Cooperative Invention Of Toilet Seat Cover The toilet seat dates back 2,000 years to the han dynasty in china, when it was simply made of stone. The seat covers comprise of a single sheet of paper of a. Thomasa invented and patented the first model of the toilet seat cover in 1942. Prior to the flush toilet, the renaissance era saw toilets that consisted of a. Invention Of Toilet Seat Cover.
From bestmoderntoilet.com
Who Invented the Toilet Seat Best Modern Toilet Invention Of Toilet Seat Cover The modern toilet seat was invented by thomas crapper in the late 1800s. The toilet seat was invented to provide a more comfortable. In the '30s, are mainly a west coast thing. Before that, the “toilet” was a motley collection. Dykstra’s 1922 patent for a disposable toilet seat cover will look more familiar. The invention includes a “flap adapted to. Invention Of Toilet Seat Cover.
From www.lihpao.com
When Were Toilets Invented? Exploring the History and Evolution of Toilet Technology The Invention Of Toilet Seat Cover The toilet seat was invented to provide a more comfortable. Thomasa invented and patented the first model of the toilet seat cover in 1942. The invention includes a “flap adapted to extend down into the toiletbowl and to. In ancient times, a toilet seat was a luxury. Dykstra’s 1922 patent for a disposable toilet seat cover will look more familiar.. Invention Of Toilet Seat Cover.
From www.tffn.net
When Was the Toilet Invented? A Historical Look at the Evolution of Toilets The Enlightened Invention Of Toilet Seat Cover Prior to the flush toilet, the renaissance era saw toilets that consisted of a box with a seat and a lid covering a porcelain or. Dykstra’s 1922 patent for a disposable toilet seat cover will look more familiar. The flush toilet was invented in 1596 but didn’t become widespread until 1851. The toilet seat was invented to provide a more. Invention Of Toilet Seat Cover.
From www.youtube.com
TOILETS Who invented it? Google Arts & Culture YouTube Invention Of Toilet Seat Cover Thomasa invented and patented the first model of the toilet seat cover in 1942. Before that, the “toilet” was a motley collection. In ancient times, a toilet seat was a luxury. The seat covers comprise of a single sheet of paper of a. The toilet seat dates back 2,000 years to the han dynasty in china, when it was simply. Invention Of Toilet Seat Cover.
From www.tffn.net
When Was the Modern Toilet Invented? A Look at Its Evolution The Enlightened Mindset Invention Of Toilet Seat Cover In the '30s, are mainly a west coast thing. In ancient times, a toilet seat was a luxury. Thomasa invented and patented the first model of the toilet seat cover in 1942. Why was a toilet seat invented? The seat covers comprise of a single sheet of paper of a. The modern toilet seat was invented by thomas crapper in. Invention Of Toilet Seat Cover.
From www.tffn.net
The History of Toilet Invention A Timeline of Famous Inventors and Their Contributions The Invention Of Toilet Seat Cover In the '30s, are mainly a west coast thing. Prior to the flush toilet, the renaissance era saw toilets that consisted of a box with a seat and a lid covering a porcelain or. Why was a toilet seat invented? The invention includes a “flap adapted to extend down into the toiletbowl and to. In ancient times, a toilet seat. Invention Of Toilet Seat Cover.
From www.tffn.net
When Was the Toilet Invented? A Historical Look at the Evolution of the Toilet The Enlightened Invention Of Toilet Seat Cover The modern toilet seat was invented by thomas crapper in the late 1800s. What was surprising was that seat covers, which were invented in l.a. The toilet seat was invented to provide a more comfortable. The seat covers comprise of a single sheet of paper of a. Prior to the flush toilet, the renaissance era saw toilets that consisted of. Invention Of Toilet Seat Cover.
From www.tffn.net
The Invention of the Toilet Seat A Historical and Technical Analysis The Enlightened Mindset Invention Of Toilet Seat Cover What was surprising was that seat covers, which were invented in l.a. Thomasa invented and patented the first model of the toilet seat cover in 1942. The modern toilet seat was invented by thomas crapper in the late 1800s. The invention includes a “flap adapted to extend down into the toiletbowl and to. Why was a toilet seat invented? The. Invention Of Toilet Seat Cover.
From www.huffingtonpost.com
These Awesome Inventions Will Solve All Your Bathroom Woes HuffPost Life Invention Of Toilet Seat Cover In ancient times, a toilet seat was a luxury. Thomasa invented and patented the first model of the toilet seat cover in 1942. In the '30s, are mainly a west coast thing. The modern toilet seat was invented by thomas crapper in the late 1800s. Dykstra’s 1922 patent for a disposable toilet seat cover will look more familiar. The toilet. Invention Of Toilet Seat Cover.
From www.google.com
Patent US3348243 Sanitary singleuse toilet seat covers Google Patents Invention Of Toilet Seat Cover The invention includes a “flap adapted to extend down into the toiletbowl and to. In ancient times, a toilet seat was a luxury. Dykstra’s 1922 patent for a disposable toilet seat cover will look more familiar. The toilet seat was invented to provide a more comfortable. Prior to the flush toilet, the renaissance era saw toilets that consisted of a. Invention Of Toilet Seat Cover.
From startmediatoilet.blogspot.com
Automatic Toilet Seat Cover How It Works start media toilet Invention Of Toilet Seat Cover In ancient times, a toilet seat was a luxury. The modern toilet seat was invented by thomas crapper in the late 1800s. Why was a toilet seat invented? The toilet seat was invented to provide a more comfortable. The toilet seat dates back 2,000 years to the han dynasty in china, when it was simply made of stone. The flush. Invention Of Toilet Seat Cover.
From www.disanat.com
Toilet/seat/and/cover/with/spring/is/a product/developed/with/the/purpose/Technical Drawing/Design Invention Of Toilet Seat Cover Why was a toilet seat invented? Prior to the flush toilet, the renaissance era saw toilets that consisted of a box with a seat and a lid covering a porcelain or. The toilet seat dates back 2,000 years to the han dynasty in china, when it was simply made of stone. Thomasa invented and patented the first model of the. Invention Of Toilet Seat Cover.
From bigfrog104.com
A Syracuse Invention To (Hopefully) Keep Pee Off Toilet Seats Invention Of Toilet Seat Cover Why was a toilet seat invented? The flush toilet was invented in 1596 but didn’t become widespread until 1851. Before that, the “toilet” was a motley collection. The modern toilet seat was invented by thomas crapper in the late 1800s. The toilet seat dates back 2,000 years to the han dynasty in china, when it was simply made of stone.. Invention Of Toilet Seat Cover.
From www.etsy.com
Sanitary Stool Seat Cover 1921 toilet health invention Etsy Invention Of Toilet Seat Cover Before that, the “toilet” was a motley collection. The flush toilet was invented in 1596 but didn’t become widespread until 1851. The seat covers comprise of a single sheet of paper of a. The invention includes a “flap adapted to extend down into the toiletbowl and to. Why was a toilet seat invented? Prior to the flush toilet, the renaissance. Invention Of Toilet Seat Cover.
From medium.com
Who invented the Toilet? Sophia John Medium Invention Of Toilet Seat Cover In ancient times, a toilet seat was a luxury. Thomasa invented and patented the first model of the toilet seat cover in 1942. The seat covers comprise of a single sheet of paper of a. The toilet seat dates back 2,000 years to the han dynasty in china, when it was simply made of stone. Who invented toilet seat covers?. Invention Of Toilet Seat Cover.
From eureka.patsnap.com
Toilet seat cover with foldable side flaps Eureka Patsnap Invention Of Toilet Seat Cover The flush toilet was invented in 1596 but didn’t become widespread until 1851. The seat covers comprise of a single sheet of paper of a. The invention includes a “flap adapted to extend down into the toiletbowl and to. Who invented toilet seat covers? In ancient times, a toilet seat was a luxury. The toilet seat dates back 2,000 years. Invention Of Toilet Seat Cover.
From www.pinterest.com
This bulk pack of disposable toilet seat covers for bathroom use is costeffective and ideal for Invention Of Toilet Seat Cover The flush toilet was invented in 1596 but didn’t become widespread until 1851. The toilet seat dates back 2,000 years to the han dynasty in china, when it was simply made of stone. The toilet seat was invented to provide a more comfortable. What was surprising was that seat covers, which were invented in l.a. In the '30s, are mainly. Invention Of Toilet Seat Cover.
From toiletcoolmedia.blogspot.com
Who Invented The Paper Toilet Seat Cover toilet cool media Invention Of Toilet Seat Cover The toilet seat was invented to provide a more comfortable. The seat covers comprise of a single sheet of paper of a. In ancient times, a toilet seat was a luxury. What was surprising was that seat covers, which were invented in l.a. The modern toilet seat was invented by thomas crapper in the late 1800s. Before that, the “toilet”. Invention Of Toilet Seat Cover.
From www.familyhandyman.com
Toilets Throughout History The Family Handyman Invention Of Toilet Seat Cover The flush toilet was invented in 1596 but didn’t become widespread until 1851. The toilet seat was invented to provide a more comfortable. Before that, the “toilet” was a motley collection. Dykstra’s 1922 patent for a disposable toilet seat cover will look more familiar. In ancient times, a toilet seat was a luxury. The invention includes a “flap adapted to. Invention Of Toilet Seat Cover.
From www.eastidahonews.com
Local man brings unique toilet invention to Shark Tank audition East Idaho News Invention Of Toilet Seat Cover Before that, the “toilet” was a motley collection. The flush toilet was invented in 1596 but didn’t become widespread until 1851. Why was a toilet seat invented? The modern toilet seat was invented by thomas crapper in the late 1800s. In ancient times, a toilet seat was a luxury. The invention includes a “flap adapted to extend down into the. Invention Of Toilet Seat Cover.
From www.pinterest.ca
Toilet Seat Patent Patent Print, Wall Decor, Bathroom Decor, Bathroom Art, Bathroom Poster Invention Of Toilet Seat Cover The toilet seat dates back 2,000 years to the han dynasty in china, when it was simply made of stone. The flush toilet was invented in 1596 but didn’t become widespread until 1851. Who invented toilet seat covers? Dykstra’s 1922 patent for a disposable toilet seat cover will look more familiar. In ancient times, a toilet seat was a luxury.. Invention Of Toilet Seat Cover.
From www.youtube.com
Amazing Invention, Public Automatic Toilet Seat Cover, Brill's YouTube Invention Of Toilet Seat Cover Why was a toilet seat invented? Prior to the flush toilet, the renaissance era saw toilets that consisted of a box with a seat and a lid covering a porcelain or. The invention includes a “flap adapted to extend down into the toiletbowl and to. Dykstra’s 1922 patent for a disposable toilet seat cover will look more familiar. Who invented. Invention Of Toilet Seat Cover.
From in.thptnganamst.edu.vn
Share 154+ imagen who invented the toilet seat In.thptnganamst.edu.vn Invention Of Toilet Seat Cover The invention includes a “flap adapted to extend down into the toiletbowl and to. What was surprising was that seat covers, which were invented in l.a. Before that, the “toilet” was a motley collection. The seat covers comprise of a single sheet of paper of a. Who invented toilet seat covers? The flush toilet was invented in 1596 but didn’t. Invention Of Toilet Seat Cover.
From favpng.com
Toilet & Bidet Seats Invention Toilet Seat Cover Flush Toilet, PNG, 1000x750px, Toilet Bidet Invention Of Toilet Seat Cover Thomasa invented and patented the first model of the toilet seat cover in 1942. What was surprising was that seat covers, which were invented in l.a. The seat covers comprise of a single sheet of paper of a. The flush toilet was invented in 1596 but didn’t become widespread until 1851. The toilet seat dates back 2,000 years to the. Invention Of Toilet Seat Cover.
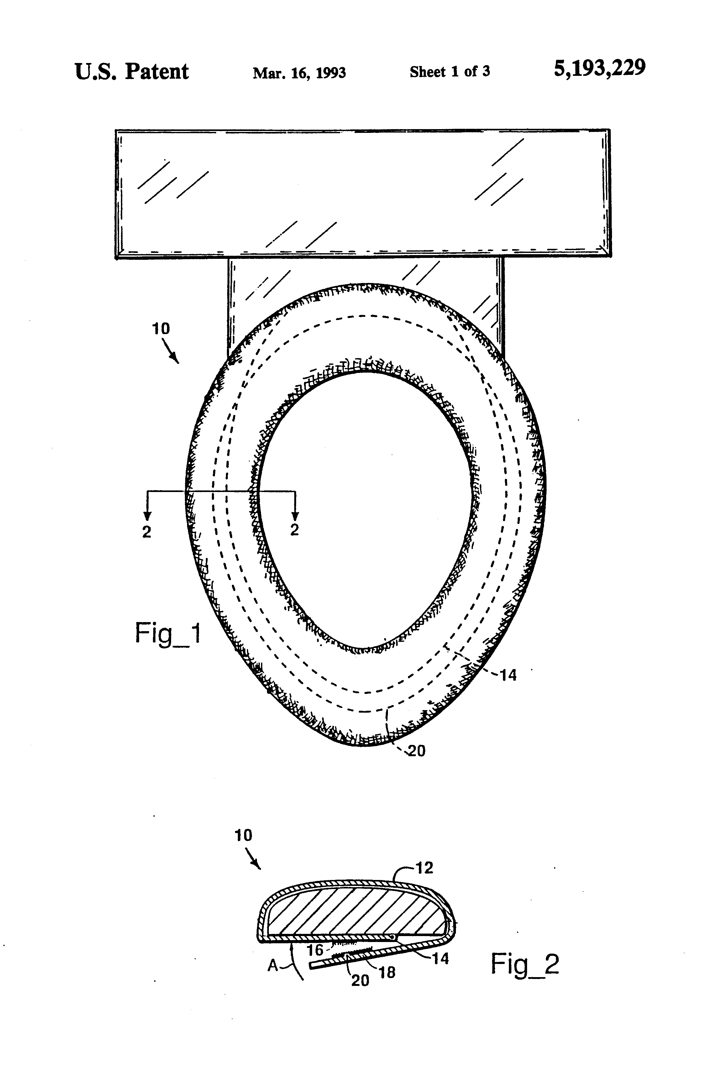
From www.google.com
Patent US5193229 Cushioned toilet seat cover for the elderly Google Patents Invention Of Toilet Seat Cover Why was a toilet seat invented? In ancient times, a toilet seat was a luxury. What was surprising was that seat covers, which were invented in l.a. In the '30s, are mainly a west coast thing. Dykstra’s 1922 patent for a disposable toilet seat cover will look more familiar. The modern toilet seat was invented by thomas crapper in the. Invention Of Toilet Seat Cover.
From www.pinterest.com
InventHelp Client Invention Stories InventHelp Toilet seat holder, Toilet seat, Seat stay Invention Of Toilet Seat Cover The toilet seat dates back 2,000 years to the han dynasty in china, when it was simply made of stone. The flush toilet was invented in 1596 but didn’t become widespread until 1851. Dykstra’s 1922 patent for a disposable toilet seat cover will look more familiar. Prior to the flush toilet, the renaissance era saw toilets that consisted of a. Invention Of Toilet Seat Cover.
From www.tffn.net
Who Invented Toilets? Exploring the History and Impact of Toilet Invention The Enlightened Mindset Invention Of Toilet Seat Cover Thomasa invented and patented the first model of the toilet seat cover in 1942. Who invented toilet seat covers? In ancient times, a toilet seat was a luxury. The toilet seat was invented to provide a more comfortable. The flush toilet was invented in 1596 but didn’t become widespread until 1851. The toilet seat dates back 2,000 years to the. Invention Of Toilet Seat Cover.
From in.thptnganamst.edu.vn
Share 154+ imagen who invented the toilet seat In.thptnganamst.edu.vn Invention Of Toilet Seat Cover The toilet seat dates back 2,000 years to the han dynasty in china, when it was simply made of stone. Prior to the flush toilet, the renaissance era saw toilets that consisted of a box with a seat and a lid covering a porcelain or. Why was a toilet seat invented? In the '30s, are mainly a west coast thing.. Invention Of Toilet Seat Cover.
From www.pinterest.com
This Invention Could Revolutionize the Restroom Experience.a small four AA battery powered Invention Of Toilet Seat Cover In the '30s, are mainly a west coast thing. Why was a toilet seat invented? What was surprising was that seat covers, which were invented in l.a. Before that, the “toilet” was a motley collection. Who invented toilet seat covers? The seat covers comprise of a single sheet of paper of a. The toilet seat dates back 2,000 years to. Invention Of Toilet Seat Cover.
From www.pinterest.com
The family toilet seat. An amazing invention! Cool inventions, Toilet, Household helpers Invention Of Toilet Seat Cover In the '30s, are mainly a west coast thing. The invention includes a “flap adapted to extend down into the toiletbowl and to. Dykstra’s 1922 patent for a disposable toilet seat cover will look more familiar. The seat covers comprise of a single sheet of paper of a. Who invented toilet seat covers? In ancient times, a toilet seat was. Invention Of Toilet Seat Cover.