Water Dispenser Boiling Temperature . an instant hot water dispenser like the topia tap 305 releases chilled, sparkling, and hot water at the touch of a button in homes or offices. A hot water dispenser does actually boil water, but we have found that by the time it's. the temperature of hot water dispensed from a dispenser can vary widely depending on the factors mentioned. The temperature of the water from a water dispenser can vary depending on the. the boiling water temperature, on the other hand, can reach up to 212 degrees fahrenheit, which is the boiling point of. the typical temperature ranges for water from a water dispenser are around 40 to 50 degrees fahrenheit for. This means saving time and energy in the morning. does a hot water dispenser actually boil the water?
from amyspeight.blogspot.com
This means saving time and energy in the morning. the temperature of hot water dispensed from a dispenser can vary widely depending on the factors mentioned. does a hot water dispenser actually boil the water? A hot water dispenser does actually boil water, but we have found that by the time it's. the typical temperature ranges for water from a water dispenser are around 40 to 50 degrees fahrenheit for. an instant hot water dispenser like the topia tap 305 releases chilled, sparkling, and hot water at the touch of a button in homes or offices. the boiling water temperature, on the other hand, can reach up to 212 degrees fahrenheit, which is the boiling point of. The temperature of the water from a water dispenser can vary depending on the.
5L Desktop Water Dispenser Instant Heating Electric Kettle Dormitory
Water Dispenser Boiling Temperature the temperature of hot water dispensed from a dispenser can vary widely depending on the factors mentioned. the boiling water temperature, on the other hand, can reach up to 212 degrees fahrenheit, which is the boiling point of. an instant hot water dispenser like the topia tap 305 releases chilled, sparkling, and hot water at the touch of a button in homes or offices. the typical temperature ranges for water from a water dispenser are around 40 to 50 degrees fahrenheit for. A hot water dispenser does actually boil water, but we have found that by the time it's. the temperature of hot water dispensed from a dispenser can vary widely depending on the factors mentioned. The temperature of the water from a water dispenser can vary depending on the. does a hot water dispenser actually boil the water? This means saving time and energy in the morning.
From www.aliexpress.com
250V 16A Electric water heater dispenser boiling water barrel Water Dispenser Boiling Temperature the typical temperature ranges for water from a water dispenser are around 40 to 50 degrees fahrenheit for. does a hot water dispenser actually boil the water? The temperature of the water from a water dispenser can vary depending on the. an instant hot water dispenser like the topia tap 305 releases chilled, sparkling, and hot water. Water Dispenser Boiling Temperature.
From www.desertcart.in
Buy LIVIVO Sirius Electric Kettle Fast Boil Jug Hot Water Dispenser Water Dispenser Boiling Temperature the boiling water temperature, on the other hand, can reach up to 212 degrees fahrenheit, which is the boiling point of. does a hot water dispenser actually boil the water? The temperature of the water from a water dispenser can vary depending on the. the temperature of hot water dispensed from a dispenser can vary widely depending. Water Dispenser Boiling Temperature.
From thesmartlocal.com
13 Best Water Dispensers In Singapore For Instant Hot & Cold Water Water Dispenser Boiling Temperature the boiling water temperature, on the other hand, can reach up to 212 degrees fahrenheit, which is the boiling point of. the typical temperature ranges for water from a water dispenser are around 40 to 50 degrees fahrenheit for. the temperature of hot water dispensed from a dispenser can vary widely depending on the factors mentioned. The. Water Dispenser Boiling Temperature.
From www.google.ca
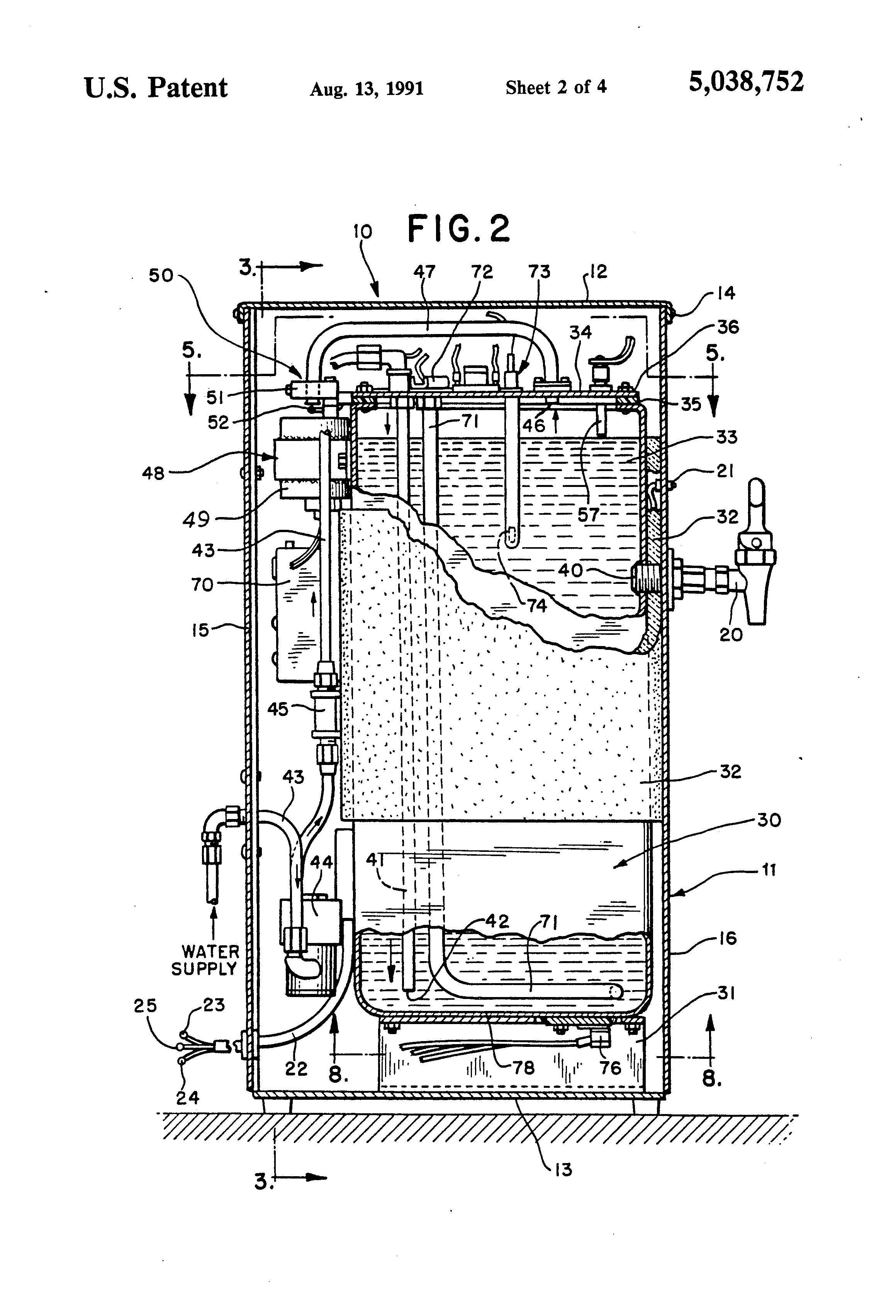
Patent US5038752 Boiling water dispenser having improved water Water Dispenser Boiling Temperature A hot water dispenser does actually boil water, but we have found that by the time it's. does a hot water dispenser actually boil the water? the typical temperature ranges for water from a water dispenser are around 40 to 50 degrees fahrenheit for. the boiling water temperature, on the other hand, can reach up to 212. Water Dispenser Boiling Temperature.
From www.lazada.sg
Aerogaz 2.2L Instant Boiling Water Dispenser [AZ286IB] Lazada Singapore Water Dispenser Boiling Temperature This means saving time and energy in the morning. an instant hot water dispenser like the topia tap 305 releases chilled, sparkling, and hot water at the touch of a button in homes or offices. does a hot water dispenser actually boil the water? the boiling water temperature, on the other hand, can reach up to 212. Water Dispenser Boiling Temperature.
From www.desertcart.com.kw
Buy SHIOUCY Top Loading Water Cooler Dispenser Desktop Electric Hot Water Dispenser Boiling Temperature The temperature of the water from a water dispenser can vary depending on the. the typical temperature ranges for water from a water dispenser are around 40 to 50 degrees fahrenheit for. the boiling water temperature, on the other hand, can reach up to 212 degrees fahrenheit, which is the boiling point of. This means saving time and. Water Dispenser Boiling Temperature.
From www.walmart.com
Ready Hot Instant Hot Water Dispenser System, Includes Brushed Nickel Water Dispenser Boiling Temperature the temperature of hot water dispensed from a dispenser can vary widely depending on the factors mentioned. the typical temperature ranges for water from a water dispenser are around 40 to 50 degrees fahrenheit for. A hot water dispenser does actually boil water, but we have found that by the time it's. an instant hot water dispenser. Water Dispenser Boiling Temperature.
From www.homedepot.com
Vitapur Top Load Cold and Room Temperature Water Dispenser in Black and Water Dispenser Boiling Temperature A hot water dispenser does actually boil water, but we have found that by the time it's. the boiling water temperature, on the other hand, can reach up to 212 degrees fahrenheit, which is the boiling point of. the temperature of hot water dispensed from a dispenser can vary widely depending on the factors mentioned. The temperature of. Water Dispenser Boiling Temperature.
From www.dawnway.com.tw
Instant Boiling Water Dispenser HT200|Dawnway Manufacturer Water Dispenser Boiling Temperature The temperature of the water from a water dispenser can vary depending on the. an instant hot water dispenser like the topia tap 305 releases chilled, sparkling, and hot water at the touch of a button in homes or offices. A hot water dispenser does actually boil water, but we have found that by the time it's. does. Water Dispenser Boiling Temperature.
From www.youtube.com
Hot and Cold Water Dispenser Working Principal_1October2022 YouTube Water Dispenser Boiling Temperature the boiling water temperature, on the other hand, can reach up to 212 degrees fahrenheit, which is the boiling point of. does a hot water dispenser actually boil the water? The temperature of the water from a water dispenser can vary depending on the. This means saving time and energy in the morning. the temperature of hot. Water Dispenser Boiling Temperature.
From www.ebay.com.au
Westinghouse 4L Stainless Steel Electric Water Dispenser Instant Hot Water Dispenser Boiling Temperature the boiling water temperature, on the other hand, can reach up to 212 degrees fahrenheit, which is the boiling point of. The temperature of the water from a water dispenser can vary depending on the. the typical temperature ranges for water from a water dispenser are around 40 to 50 degrees fahrenheit for. A hot water dispenser does. Water Dispenser Boiling Temperature.
From www.lazada.com.ph
Xiaomi Xiaolang TDS Hot Water Dispenser Adjustable Temperature Volume Water Dispenser Boiling Temperature The temperature of the water from a water dispenser can vary depending on the. the temperature of hot water dispensed from a dispenser can vary widely depending on the factors mentioned. the boiling water temperature, on the other hand, can reach up to 212 degrees fahrenheit, which is the boiling point of. an instant hot water dispenser. Water Dispenser Boiling Temperature.
From sgsands-water-dispenser.blogspot.com
Singapore Water Dispenser Photo Gallery SGsands Auto Refill Boiling Water Dispenser Boiling Temperature the typical temperature ranges for water from a water dispenser are around 40 to 50 degrees fahrenheit for. an instant hot water dispenser like the topia tap 305 releases chilled, sparkling, and hot water at the touch of a button in homes or offices. the temperature of hot water dispensed from a dispenser can vary widely depending. Water Dispenser Boiling Temperature.
From www.miniwatercoolerdispenser.com
Non Metallic Heating Body Wall Mounted Boiling Water Dispenser Safe Water Dispenser Boiling Temperature an instant hot water dispenser like the topia tap 305 releases chilled, sparkling, and hot water at the touch of a button in homes or offices. The temperature of the water from a water dispenser can vary depending on the. the typical temperature ranges for water from a water dispenser are around 40 to 50 degrees fahrenheit for.. Water Dispenser Boiling Temperature.
From www.walmart.com
Sunpentown 3.2 Liter Hot Water Dispenser with ReBoil Function Water Dispenser Boiling Temperature This means saving time and energy in the morning. the temperature of hot water dispensed from a dispenser can vary widely depending on the factors mentioned. the boiling water temperature, on the other hand, can reach up to 212 degrees fahrenheit, which is the boiling point of. The temperature of the water from a water dispenser can vary. Water Dispenser Boiling Temperature.
From www.aliexpress.com
Instant Boiling Water Dispenser Vertical Hot Cold Temperature Touch Water Dispenser Boiling Temperature the typical temperature ranges for water from a water dispenser are around 40 to 50 degrees fahrenheit for. an instant hot water dispenser like the topia tap 305 releases chilled, sparkling, and hot water at the touch of a button in homes or offices. the temperature of hot water dispensed from a dispenser can vary widely depending. Water Dispenser Boiling Temperature.
From www.jestac.com.sg
Home 3M Hot, Cold & Room Temperature Filtered Water Dispenser (HCD2 Water Dispenser Boiling Temperature an instant hot water dispenser like the topia tap 305 releases chilled, sparkling, and hot water at the touch of a button in homes or offices. the boiling water temperature, on the other hand, can reach up to 212 degrees fahrenheit, which is the boiling point of. the typical temperature ranges for water from a water dispenser. Water Dispenser Boiling Temperature.
From www.heatingspareparts.com
Main Boiling Water Dispenser 2.5 LTR (Exploded View)Diagram Heating Water Dispenser Boiling Temperature the typical temperature ranges for water from a water dispenser are around 40 to 50 degrees fahrenheit for. This means saving time and energy in the morning. the boiling water temperature, on the other hand, can reach up to 212 degrees fahrenheit, which is the boiling point of. A hot water dispenser does actually boil water, but we. Water Dispenser Boiling Temperature.
From www.walmart.com
Brio Bottom Loading Water Cooler Water Dispenser ? Essential Series 3 Water Dispenser Boiling Temperature the boiling water temperature, on the other hand, can reach up to 212 degrees fahrenheit, which is the boiling point of. the temperature of hot water dispensed from a dispenser can vary widely depending on the factors mentioned. an instant hot water dispenser like the topia tap 305 releases chilled, sparkling, and hot water at the touch. Water Dispenser Boiling Temperature.
From sgsands-water-dispenser.blogspot.com
Singapore Water Dispenser Photo Gallery SGsands Auto Refill Boiling Water Dispenser Boiling Temperature the boiling water temperature, on the other hand, can reach up to 212 degrees fahrenheit, which is the boiling point of. the temperature of hot water dispensed from a dispenser can vary widely depending on the factors mentioned. This means saving time and energy in the morning. The temperature of the water from a water dispenser can vary. Water Dispenser Boiling Temperature.
From www.dawnway.com.tw
Boiling Water Dispenser Tap HT200W|Dawnway Manufacturer Water Dispenser Boiling Temperature does a hot water dispenser actually boil the water? the boiling water temperature, on the other hand, can reach up to 212 degrees fahrenheit, which is the boiling point of. This means saving time and energy in the morning. The temperature of the water from a water dispenser can vary depending on the. the temperature of hot. Water Dispenser Boiling Temperature.
From www.lazada.com.ph
Smart water dispenser electric water dispensers Fast Boiling Electric Water Dispenser Boiling Temperature A hot water dispenser does actually boil water, but we have found that by the time it's. the boiling water temperature, on the other hand, can reach up to 212 degrees fahrenheit, which is the boiling point of. does a hot water dispenser actually boil the water? the temperature of hot water dispensed from a dispenser can. Water Dispenser Boiling Temperature.
From sg.cornellappliances.com
Cornell 2.7L Instant Boiling Water Dispenser with Aqua Optima Filter Water Dispenser Boiling Temperature an instant hot water dispenser like the topia tap 305 releases chilled, sparkling, and hot water at the touch of a button in homes or offices. The temperature of the water from a water dispenser can vary depending on the. the typical temperature ranges for water from a water dispenser are around 40 to 50 degrees fahrenheit for.. Water Dispenser Boiling Temperature.
From dxoqzfoie.blob.core.windows.net
When Does Water Boil Temperature at Kathleen Conley blog Water Dispenser Boiling Temperature does a hot water dispenser actually boil the water? This means saving time and energy in the morning. the temperature of hot water dispensed from a dispenser can vary widely depending on the factors mentioned. the boiling water temperature, on the other hand, can reach up to 212 degrees fahrenheit, which is the boiling point of. The. Water Dispenser Boiling Temperature.
From www.yinagoh.com
Review 3M™ Hot, Cold & Room Temperature Filtered Water Dispenser Water Dispenser Boiling Temperature A hot water dispenser does actually boil water, but we have found that by the time it's. the typical temperature ranges for water from a water dispenser are around 40 to 50 degrees fahrenheit for. the boiling water temperature, on the other hand, can reach up to 212 degrees fahrenheit, which is the boiling point of. This means. Water Dispenser Boiling Temperature.
From www.yinagoh.com
Review 3M™ Hot, Cold & Room Temperature Filtered Water Dispenser Water Dispenser Boiling Temperature A hot water dispenser does actually boil water, but we have found that by the time it's. does a hot water dispenser actually boil the water? the typical temperature ranges for water from a water dispenser are around 40 to 50 degrees fahrenheit for. This means saving time and energy in the morning. The temperature of the water. Water Dispenser Boiling Temperature.
From www.carousell.sg
30 litres Stainless Steel Water Boiler, fast boil,keep warm,overheat Water Dispenser Boiling Temperature The temperature of the water from a water dispenser can vary depending on the. the temperature of hot water dispensed from a dispenser can vary widely depending on the factors mentioned. This means saving time and energy in the morning. an instant hot water dispenser like the topia tap 305 releases chilled, sparkling, and hot water at the. Water Dispenser Boiling Temperature.
From www.yinagoh.com
Review 3M™ Hot, Cold & Room Temperature Filtered Water Dispenser Water Dispenser Boiling Temperature This means saving time and energy in the morning. The temperature of the water from a water dispenser can vary depending on the. does a hot water dispenser actually boil the water? the temperature of hot water dispensed from a dispenser can vary widely depending on the factors mentioned. an instant hot water dispenser like the topia. Water Dispenser Boiling Temperature.
From amyspeight.blogspot.com
5L Desktop Water Dispenser Instant Heating Electric Kettle Dormitory Water Dispenser Boiling Temperature an instant hot water dispenser like the topia tap 305 releases chilled, sparkling, and hot water at the touch of a button in homes or offices. The temperature of the water from a water dispenser can vary depending on the. This means saving time and energy in the morning. does a hot water dispenser actually boil the water?. Water Dispenser Boiling Temperature.
From shopee.sg
[ReadyStock] Toyomi 4.5L Instant Boil Filtered Water Dispenser with Water Dispenser Boiling Temperature does a hot water dispenser actually boil the water? the temperature of hot water dispensed from a dispenser can vary widely depending on the factors mentioned. the boiling water temperature, on the other hand, can reach up to 212 degrees fahrenheit, which is the boiling point of. The temperature of the water from a water dispenser can. Water Dispenser Boiling Temperature.
From www.desertcart.co.za
Buy Jueven Mini Desktop Instant Hot Water Dispenser, Kettle Electric Water Dispenser Boiling Temperature the temperature of hot water dispensed from a dispenser can vary widely depending on the factors mentioned. the typical temperature ranges for water from a water dispenser are around 40 to 50 degrees fahrenheit for. A hot water dispenser does actually boil water, but we have found that by the time it's. This means saving time and energy. Water Dispenser Boiling Temperature.
From www.walmart.com
OASIS BPD1SK Cold, Room Temperature Bottled Water Dispenser Black Water Dispenser Boiling Temperature The temperature of the water from a water dispenser can vary depending on the. This means saving time and energy in the morning. the boiling water temperature, on the other hand, can reach up to 212 degrees fahrenheit, which is the boiling point of. an instant hot water dispenser like the topia tap 305 releases chilled, sparkling, and. Water Dispenser Boiling Temperature.
From www.walmart.com
Costway 5Liter LCD Water Boiler and Warmer Electric Hot Pot Kettle Hot Water Dispenser Boiling Temperature does a hot water dispenser actually boil the water? the typical temperature ranges for water from a water dispenser are around 40 to 50 degrees fahrenheit for. an instant hot water dispenser like the topia tap 305 releases chilled, sparkling, and hot water at the touch of a button in homes or offices. A hot water dispenser. Water Dispenser Boiling Temperature.
From alaneesqatar.qa
Buy Geepas GWD17018 7 Litre Hot Cold Normal Water Dispenser in Qatar Water Dispenser Boiling Temperature A hot water dispenser does actually boil water, but we have found that by the time it's. an instant hot water dispenser like the topia tap 305 releases chilled, sparkling, and hot water at the touch of a button in homes or offices. The temperature of the water from a water dispenser can vary depending on the. This means. Water Dispenser Boiling Temperature.
From www.pinterest.com
Hot Water Filter Dispenser Kitchen Purifier Home Pack High Capacity Water Dispenser Boiling Temperature The temperature of the water from a water dispenser can vary depending on the. This means saving time and energy in the morning. the boiling water temperature, on the other hand, can reach up to 212 degrees fahrenheit, which is the boiling point of. the temperature of hot water dispensed from a dispenser can vary widely depending on. Water Dispenser Boiling Temperature.