Sterling Neo Angle Shower Door Parts . For service parts information, visit sterlingplumbing.com/parts. Use a squeegee following each shower to eliminate water spots. For best results, keep the following in mind when caring for your sterling product: 8pcs shower door rollers replacement, 19mm shower door replacement parts, brass rv shower door wheels, sterling shower door parts Do not cut the top track the same length as the bottom track.
from www.homedepot.com
For best results, keep the following in mind when caring for your sterling product: Do not cut the top track the same length as the bottom track. Use a squeegee following each shower to eliminate water spots. 8pcs shower door rollers replacement, 19mm shower door replacement parts, brass rv shower door wheels, sterling shower door parts For service parts information, visit sterlingplumbing.com/parts.
STERLING Intrigue 279/16 in. x 72 in. Framed NeoAngle Shower Door in
Sterling Neo Angle Shower Door Parts 8pcs shower door rollers replacement, 19mm shower door replacement parts, brass rv shower door wheels, sterling shower door parts 8pcs shower door rollers replacement, 19mm shower door replacement parts, brass rv shower door wheels, sterling shower door parts Do not cut the top track the same length as the bottom track. For service parts information, visit sterlingplumbing.com/parts. For best results, keep the following in mind when caring for your sterling product: Use a squeegee following each shower to eliminate water spots.
From www.ussupply.com
Sterling 720401000, 39" Shower Wall Set and Base, NeoAngle, White Sterling Neo Angle Shower Door Parts Do not cut the top track the same length as the bottom track. For best results, keep the following in mind when caring for your sterling product: 8pcs shower door rollers replacement, 19mm shower door replacement parts, brass rv shower door wheels, sterling shower door parts Use a squeegee following each shower to eliminate water spots. For service parts information,. Sterling Neo Angle Shower Door Parts.
From reviewmotors.co
Parts For Sterling Shower Doors Reviewmotors.co Sterling Neo Angle Shower Door Parts For best results, keep the following in mind when caring for your sterling product: For service parts information, visit sterlingplumbing.com/parts. Do not cut the top track the same length as the bottom track. Use a squeegee following each shower to eliminate water spots. 8pcs shower door rollers replacement, 19mm shower door replacement parts, brass rv shower door wheels, sterling shower. Sterling Neo Angle Shower Door Parts.
From www.lowes.com
Sterling Intrigue 39in L x 39in W White Vikrell NeoAngle Corner Sterling Neo Angle Shower Door Parts Do not cut the top track the same length as the bottom track. 8pcs shower door rollers replacement, 19mm shower door replacement parts, brass rv shower door wheels, sterling shower door parts Use a squeegee following each shower to eliminate water spots. For service parts information, visit sterlingplumbing.com/parts. For best results, keep the following in mind when caring for your. Sterling Neo Angle Shower Door Parts.
From pixy.org
Neo Angle Shower Door Parts free image download Sterling Neo Angle Shower Door Parts Do not cut the top track the same length as the bottom track. For service parts information, visit sterlingplumbing.com/parts. 8pcs shower door rollers replacement, 19mm shower door replacement parts, brass rv shower door wheels, sterling shower door parts Use a squeegee following each shower to eliminate water spots. For best results, keep the following in mind when caring for your. Sterling Neo Angle Shower Door Parts.
From www.homedepot.com
STERLING Solitaire Economy 42 in. x 297/16 in. x 781/4 in. NeoAngle Sterling Neo Angle Shower Door Parts Do not cut the top track the same length as the bottom track. For service parts information, visit sterlingplumbing.com/parts. Use a squeegee following each shower to eliminate water spots. For best results, keep the following in mind when caring for your sterling product: 8pcs shower door rollers replacement, 19mm shower door replacement parts, brass rv shower door wheels, sterling shower. Sterling Neo Angle Shower Door Parts.
From www.homedepot.com
STERLING Intrigue 279/16 in. x 72 in. NeoAngle Shower Door in Nickel Sterling Neo Angle Shower Door Parts 8pcs shower door rollers replacement, 19mm shower door replacement parts, brass rv shower door wheels, sterling shower door parts Do not cut the top track the same length as the bottom track. For service parts information, visit sterlingplumbing.com/parts. Use a squeegee following each shower to eliminate water spots. For best results, keep the following in mind when caring for your. Sterling Neo Angle Shower Door Parts.
From parts.sears.com
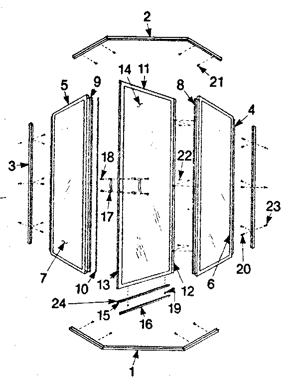
SEARS NEOANGLE SHOWER DOOR Parts Model 392682220 Sears PartsDirect Sterling Neo Angle Shower Door Parts For best results, keep the following in mind when caring for your sterling product: For service parts information, visit sterlingplumbing.com/parts. Use a squeegee following each shower to eliminate water spots. Do not cut the top track the same length as the bottom track. 8pcs shower door rollers replacement, 19mm shower door replacement parts, brass rv shower door wheels, sterling shower. Sterling Neo Angle Shower Door Parts.
From www.lowes.com
Sterling Silver NeoAngle Shower Door at Sterling Neo Angle Shower Door Parts Do not cut the top track the same length as the bottom track. Use a squeegee following each shower to eliminate water spots. 8pcs shower door rollers replacement, 19mm shower door replacement parts, brass rv shower door wheels, sterling shower door parts For best results, keep the following in mind when caring for your sterling product: For service parts information,. Sterling Neo Angle Shower Door Parts.
From www.lowes.com
Shop Sterling Solitaire 36.125in W x 72in H Brushed Nickel NeoAngle Sterling Neo Angle Shower Door Parts For best results, keep the following in mind when caring for your sterling product: For service parts information, visit sterlingplumbing.com/parts. Do not cut the top track the same length as the bottom track. Use a squeegee following each shower to eliminate water spots. 8pcs shower door rollers replacement, 19mm shower door replacement parts, brass rv shower door wheels, sterling shower. Sterling Neo Angle Shower Door Parts.
From gioxrtjcr.blob.core.windows.net
Neo Angle Shower Door Black at Evelyn Blue blog Sterling Neo Angle Shower Door Parts Use a squeegee following each shower to eliminate water spots. For best results, keep the following in mind when caring for your sterling product: Do not cut the top track the same length as the bottom track. 8pcs shower door rollers replacement, 19mm shower door replacement parts, brass rv shower door wheels, sterling shower door parts For service parts information,. Sterling Neo Angle Shower Door Parts.
From www.lowes.com
Mansfield Warren White 38in x 38in x 77in Base/Wall/Door Neoangle Sterling Neo Angle Shower Door Parts For best results, keep the following in mind when caring for your sterling product: Do not cut the top track the same length as the bottom track. Use a squeegee following each shower to eliminate water spots. For service parts information, visit sterlingplumbing.com/parts. 8pcs shower door rollers replacement, 19mm shower door replacement parts, brass rv shower door wheels, sterling shower. Sterling Neo Angle Shower Door Parts.
From www.affordablefaucets.com
Sterling SP2276A38N Intrigue Nickel with Rain Glass Texture Neoangle Sterling Neo Angle Shower Door Parts Do not cut the top track the same length as the bottom track. For service parts information, visit sterlingplumbing.com/parts. 8pcs shower door rollers replacement, 19mm shower door replacement parts, brass rv shower door wheels, sterling shower door parts Use a squeegee following each shower to eliminate water spots. For best results, keep the following in mind when caring for your. Sterling Neo Angle Shower Door Parts.
From www.pinterest.com
STERLING Intrigue 279/16 in. x 72 in. NeoAngle Shower Door in Deep Sterling Neo Angle Shower Door Parts For service parts information, visit sterlingplumbing.com/parts. Use a squeegee following each shower to eliminate water spots. Do not cut the top track the same length as the bottom track. 8pcs shower door rollers replacement, 19mm shower door replacement parts, brass rv shower door wheels, sterling shower door parts For best results, keep the following in mind when caring for your. Sterling Neo Angle Shower Door Parts.
From www.amazon.com
STERLING 2200A36S Shower Door Neoangle 171/16" x 243/8" x 171/16" x Sterling Neo Angle Shower Door Parts For best results, keep the following in mind when caring for your sterling product: 8pcs shower door rollers replacement, 19mm shower door replacement parts, brass rv shower door wheels, sterling shower door parts Do not cut the top track the same length as the bottom track. Use a squeegee following each shower to eliminate water spots. For service parts information,. Sterling Neo Angle Shower Door Parts.
From www.homedepot.com
STERLING Intrigue 279/16 in. x 72 in. Framed NeoAngle Shower Door in Sterling Neo Angle Shower Door Parts Use a squeegee following each shower to eliminate water spots. Do not cut the top track the same length as the bottom track. For best results, keep the following in mind when caring for your sterling product: For service parts information, visit sterlingplumbing.com/parts. 8pcs shower door rollers replacement, 19mm shower door replacement parts, brass rv shower door wheels, sterling shower. Sterling Neo Angle Shower Door Parts.
From www.bta-mall.com
Sterling NeoAngle Shower Door Parts RPK2200ANA Hardware Plumbing Sterling Neo Angle Shower Door Parts For best results, keep the following in mind when caring for your sterling product: Do not cut the top track the same length as the bottom track. Use a squeegee following each shower to eliminate water spots. For service parts information, visit sterlingplumbing.com/parts. 8pcs shower door rollers replacement, 19mm shower door replacement parts, brass rv shower door wheels, sterling shower. Sterling Neo Angle Shower Door Parts.
From www.homedepot.com
Aston Neoscape GS 40 in. x 40 in. 72 in. Frameless NeoAngle Hinged Sterling Neo Angle Shower Door Parts Use a squeegee following each shower to eliminate water spots. 8pcs shower door rollers replacement, 19mm shower door replacement parts, brass rv shower door wheels, sterling shower door parts For best results, keep the following in mind when caring for your sterling product: For service parts information, visit sterlingplumbing.com/parts. Do not cut the top track the same length as the. Sterling Neo Angle Shower Door Parts.
From www.lowes.com
Sterling Dark Bronze NeoAngle Shower Door at Sterling Neo Angle Shower Door Parts For service parts information, visit sterlingplumbing.com/parts. For best results, keep the following in mind when caring for your sterling product: Use a squeegee following each shower to eliminate water spots. Do not cut the top track the same length as the bottom track. 8pcs shower door rollers replacement, 19mm shower door replacement parts, brass rv shower door wheels, sterling shower. Sterling Neo Angle Shower Door Parts.
From www.homedepot.com
STERLING Intrigue 361/8 in. x 72 in. NeoAngle Shower Door in Deep Sterling Neo Angle Shower Door Parts For service parts information, visit sterlingplumbing.com/parts. Do not cut the top track the same length as the bottom track. Use a squeegee following each shower to eliminate water spots. For best results, keep the following in mind when caring for your sterling product: 8pcs shower door rollers replacement, 19mm shower door replacement parts, brass rv shower door wheels, sterling shower. Sterling Neo Angle Shower Door Parts.
From www.homedepot.com
Sterling Intrigue 279/16 in. x 72 in. Framed NeoAngle Shower Door in Sterling Neo Angle Shower Door Parts 8pcs shower door rollers replacement, 19mm shower door replacement parts, brass rv shower door wheels, sterling shower door parts Do not cut the top track the same length as the bottom track. For service parts information, visit sterlingplumbing.com/parts. For best results, keep the following in mind when caring for your sterling product: Use a squeegee following each shower to eliminate. Sterling Neo Angle Shower Door Parts.
From maax.ca
Silhouette Neoangle 36 x 36 x 70 in. Pivot Shower Door for Corner Sterling Neo Angle Shower Door Parts 8pcs shower door rollers replacement, 19mm shower door replacement parts, brass rv shower door wheels, sterling shower door parts Use a squeegee following each shower to eliminate water spots. For service parts information, visit sterlingplumbing.com/parts. Do not cut the top track the same length as the bottom track. For best results, keep the following in mind when caring for your. Sterling Neo Angle Shower Door Parts.
From mavink.com
Parts Of A Shower Sterling Neo Angle Shower Door Parts For best results, keep the following in mind when caring for your sterling product: For service parts information, visit sterlingplumbing.com/parts. 8pcs shower door rollers replacement, 19mm shower door replacement parts, brass rv shower door wheels, sterling shower door parts Do not cut the top track the same length as the bottom track. Use a squeegee following each shower to eliminate. Sterling Neo Angle Shower Door Parts.
From www.lowes.com
Sterling Polished Brass Frame NeoAngle Shower Door at Sterling Neo Angle Shower Door Parts Use a squeegee following each shower to eliminate water spots. For service parts information, visit sterlingplumbing.com/parts. For best results, keep the following in mind when caring for your sterling product: 8pcs shower door rollers replacement, 19mm shower door replacement parts, brass rv shower door wheels, sterling shower door parts Do not cut the top track the same length as the. Sterling Neo Angle Shower Door Parts.
From www.homedepot.com
STERLING Solitare 297/16 in. x 721/4 in. NeoAngle Shower Door in Sterling Neo Angle Shower Door Parts Do not cut the top track the same length as the bottom track. For service parts information, visit sterlingplumbing.com/parts. 8pcs shower door rollers replacement, 19mm shower door replacement parts, brass rv shower door wheels, sterling shower door parts Use a squeegee following each shower to eliminate water spots. For best results, keep the following in mind when caring for your. Sterling Neo Angle Shower Door Parts.
From reviewmotors.co
Parts For Sterling Shower Doors Reviewmotors.co Sterling Neo Angle Shower Door Parts Do not cut the top track the same length as the bottom track. 8pcs shower door rollers replacement, 19mm shower door replacement parts, brass rv shower door wheels, sterling shower door parts For service parts information, visit sterlingplumbing.com/parts. For best results, keep the following in mind when caring for your sterling product: Use a squeegee following each shower to eliminate. Sterling Neo Angle Shower Door Parts.
From www.homedepot.com
STERLING Intrigue 279/16 in. x 72 in. NeoAngle Shower Door in Silver Sterling Neo Angle Shower Door Parts 8pcs shower door rollers replacement, 19mm shower door replacement parts, brass rv shower door wheels, sterling shower door parts For best results, keep the following in mind when caring for your sterling product: Do not cut the top track the same length as the bottom track. For service parts information, visit sterlingplumbing.com/parts. Use a squeegee following each shower to eliminate. Sterling Neo Angle Shower Door Parts.
From reviewmotors.co
Parts For Sterling Shower Doors Reviewmotors.co Sterling Neo Angle Shower Door Parts For service parts information, visit sterlingplumbing.com/parts. For best results, keep the following in mind when caring for your sterling product: Use a squeegee following each shower to eliminate water spots. 8pcs shower door rollers replacement, 19mm shower door replacement parts, brass rv shower door wheels, sterling shower door parts Do not cut the top track the same length as the. Sterling Neo Angle Shower Door Parts.
From reviewmotors.co
Parts For Sterling Shower Doors Reviewmotors.co Sterling Neo Angle Shower Door Parts For service parts information, visit sterlingplumbing.com/parts. 8pcs shower door rollers replacement, 19mm shower door replacement parts, brass rv shower door wheels, sterling shower door parts For best results, keep the following in mind when caring for your sterling product: Do not cut the top track the same length as the bottom track. Use a squeegee following each shower to eliminate. Sterling Neo Angle Shower Door Parts.
From www.affordablefaucets.com
Sterling 2200A36S Silver with Pebbled Glass Texture Deluxe Neoangle Sterling Neo Angle Shower Door Parts Do not cut the top track the same length as the bottom track. For best results, keep the following in mind when caring for your sterling product: 8pcs shower door rollers replacement, 19mm shower door replacement parts, brass rv shower door wheels, sterling shower door parts For service parts information, visit sterlingplumbing.com/parts. Use a squeegee following each shower to eliminate. Sterling Neo Angle Shower Door Parts.
From www.pinterest.com
Sterling Intrigue 72in H Framed Sliding Dark Bronze Neoangle Shower Sterling Neo Angle Shower Door Parts Use a squeegee following each shower to eliminate water spots. Do not cut the top track the same length as the bottom track. For best results, keep the following in mind when caring for your sterling product: For service parts information, visit sterlingplumbing.com/parts. 8pcs shower door rollers replacement, 19mm shower door replacement parts, brass rv shower door wheels, sterling shower. Sterling Neo Angle Shower Door Parts.
From reviewmotors.co
Parts For Sterling Shower Doors Reviewmotors.co Sterling Neo Angle Shower Door Parts For service parts information, visit sterlingplumbing.com/parts. For best results, keep the following in mind when caring for your sterling product: Do not cut the top track the same length as the bottom track. Use a squeegee following each shower to eliminate water spots. 8pcs shower door rollers replacement, 19mm shower door replacement parts, brass rv shower door wheels, sterling shower. Sterling Neo Angle Shower Door Parts.
From www.homedepot.com
Sterling Intrigue 27.5625 in. x 72 in. Framed NeoAngle Hinged Shower Sterling Neo Angle Shower Door Parts Use a squeegee following each shower to eliminate water spots. Do not cut the top track the same length as the bottom track. 8pcs shower door rollers replacement, 19mm shower door replacement parts, brass rv shower door wheels, sterling shower door parts For best results, keep the following in mind when caring for your sterling product: For service parts information,. Sterling Neo Angle Shower Door Parts.
From www.homedepot.com
STERLING Intrigue 361/8 in. x 72 in. NeoAngle Shower Door in Silver Sterling Neo Angle Shower Door Parts Use a squeegee following each shower to eliminate water spots. For best results, keep the following in mind when caring for your sterling product: For service parts information, visit sterlingplumbing.com/parts. Do not cut the top track the same length as the bottom track. 8pcs shower door rollers replacement, 19mm shower door replacement parts, brass rv shower door wheels, sterling shower. Sterling Neo Angle Shower Door Parts.
From www.manualslib.com
STERLING PLUMBING NEOANGLE SHOWER DOOR 2200A36 OWNER'S MANUAL Pdf Sterling Neo Angle Shower Door Parts Use a squeegee following each shower to eliminate water spots. Do not cut the top track the same length as the bottom track. For service parts information, visit sterlingplumbing.com/parts. 8pcs shower door rollers replacement, 19mm shower door replacement parts, brass rv shower door wheels, sterling shower door parts For best results, keep the following in mind when caring for your. Sterling Neo Angle Shower Door Parts.
From reviewmotors.co
Parts For Sterling Shower Doors Reviewmotors.co Sterling Neo Angle Shower Door Parts For best results, keep the following in mind when caring for your sterling product: 8pcs shower door rollers replacement, 19mm shower door replacement parts, brass rv shower door wheels, sterling shower door parts Use a squeegee following each shower to eliminate water spots. For service parts information, visit sterlingplumbing.com/parts. Do not cut the top track the same length as the. Sterling Neo Angle Shower Door Parts.