Pump Assy Fuel . What is a fuel pump. Pulling out the fuel pump assembly (fig 1,2,3 & 4). Outline of the replacement procedure. Whenever the fuel pump motor. If the fuel pump isn't working properly, the car's core temperature may go up and down.
from www.hh-autopart.com
Whenever the fuel pump motor. Outline of the replacement procedure. Pulling out the fuel pump assembly (fig 1,2,3 & 4). What is a fuel pump. If the fuel pump isn't working properly, the car's core temperature may go up and down.
HHAutoParts Fuel Injection Pump Assy Fuel Pump Assembly For BMW E90
Pump Assy Fuel Pulling out the fuel pump assembly (fig 1,2,3 & 4). What is a fuel pump. Whenever the fuel pump motor. If the fuel pump isn't working properly, the car's core temperature may go up and down. Outline of the replacement procedure. Pulling out the fuel pump assembly (fig 1,2,3 & 4).
From www.lazada.com.ph
FUEL PUMP ASSEMBLY MITSUBISHI STRADA/ TRITON / MONTERO 20062015 GTX PN Pump Assy Fuel If the fuel pump isn't working properly, the car's core temperature may go up and down. Outline of the replacement procedure. What is a fuel pump. Pulling out the fuel pump assembly (fig 1,2,3 & 4). Whenever the fuel pump motor. Pump Assy Fuel.
From www.sinocmpinjector.com
8922A293G Fuel Injection Pump Assy Fits Perkins T1954 Engine Pump Assy Fuel What is a fuel pump. If the fuel pump isn't working properly, the car's core temperature may go up and down. Outline of the replacement procedure. Pulling out the fuel pump assembly (fig 1,2,3 & 4). Whenever the fuel pump motor. Pump Assy Fuel.
From www.hondacengkareng.com
Pompa Bensin, Unit Assy Fuel Pump Honda Revo FI & Supra X 125 FI Pump Assy Fuel Whenever the fuel pump motor. If the fuel pump isn't working properly, the car's core temperature may go up and down. Outline of the replacement procedure. What is a fuel pump. Pulling out the fuel pump assembly (fig 1,2,3 & 4). Pump Assy Fuel.
From www.crosssky-autopart.com
FUEL PUMP ASSY Pump Assy Fuel Pulling out the fuel pump assembly (fig 1,2,3 & 4). Whenever the fuel pump motor. Outline of the replacement procedure. If the fuel pump isn't working properly, the car's core temperature may go up and down. What is a fuel pump. Pump Assy Fuel.
From technicsautoltd.com
Fuel Pump Assy Technics Auto Ltd. Pump Assy Fuel What is a fuel pump. Outline of the replacement procedure. If the fuel pump isn't working properly, the car's core temperature may go up and down. Whenever the fuel pump motor. Pulling out the fuel pump assembly (fig 1,2,3 & 4). Pump Assy Fuel.
From www.carid.com
TYC® 150284 Fuel Pump Module Assembly Pump Assy Fuel Whenever the fuel pump motor. What is a fuel pump. If the fuel pump isn't working properly, the car's core temperature may go up and down. Outline of the replacement procedure. Pulling out the fuel pump assembly (fig 1,2,3 & 4). Pump Assy Fuel.
From www.nfmautoparts.com.my
Masuta Toyota Avanza Fuel Pump Assy Pump Assy Fuel Pulling out the fuel pump assembly (fig 1,2,3 & 4). Outline of the replacement procedure. Whenever the fuel pump motor. What is a fuel pump. If the fuel pump isn't working properly, the car's core temperature may go up and down. Pump Assy Fuel.
From www.cmsnl.com
16700ZJ1003 Pump Assy,fuel Honda buy the 16700ZJ1003 at CMSNL Pump Assy Fuel Pulling out the fuel pump assembly (fig 1,2,3 & 4). Whenever the fuel pump motor. If the fuel pump isn't working properly, the car's core temperature may go up and down. What is a fuel pump. Outline of the replacement procedure. Pump Assy Fuel.
From www.cmsnl.com
16710MM8005 Pump Assy.,fuel Honda 16710MM8005 Pump Assy Fuel Pulling out the fuel pump assembly (fig 1,2,3 & 4). Outline of the replacement procedure. If the fuel pump isn't working properly, the car's core temperature may go up and down. Whenever the fuel pump motor. What is a fuel pump. Pump Assy Fuel.
From www.jimellishyundaiparts.com
Hyundai Sonata Electric Fuel Pump. FUEL PUMP. Fuel pump assy. Fuel Pump Pump Assy Fuel Whenever the fuel pump motor. What is a fuel pump. Pulling out the fuel pump assembly (fig 1,2,3 & 4). Outline of the replacement procedure. If the fuel pump isn't working properly, the car's core temperature may go up and down. Pump Assy Fuel.
From mechdeals.com
Pump Assy_ Fuel15100M74L01Maruti Suzuki Pump Assy Fuel What is a fuel pump. Whenever the fuel pump motor. If the fuel pump isn't working properly, the car's core temperature may go up and down. Pulling out the fuel pump assembly (fig 1,2,3 & 4). Outline of the replacement procedure. Pump Assy Fuel.
From smallfordspares.co.uk
105E9350B fuel pump assy Fuel System Classic Ford Parts Small Pump Assy Fuel Whenever the fuel pump motor. Pulling out the fuel pump assembly (fig 1,2,3 & 4). If the fuel pump isn't working properly, the car's core temperature may go up and down. What is a fuel pump. Outline of the replacement procedure. Pump Assy Fuel.
From www.diesel-injectorpumps.com
Denso Common Rail Fuel Pump Assy 2940001680 2940001681 2940001682 Pump Assy Fuel If the fuel pump isn't working properly, the car's core temperature may go up and down. Outline of the replacement procedure. Pulling out the fuel pump assembly (fig 1,2,3 & 4). What is a fuel pump. Whenever the fuel pump motor. Pump Assy Fuel.
From shopee.com.my
Fuel pump Assy For Toyota Vios ncp42 (Year 05++) Shopee Malaysia Pump Assy Fuel Pulling out the fuel pump assembly (fig 1,2,3 & 4). If the fuel pump isn't working properly, the car's core temperature may go up and down. Outline of the replacement procedure. What is a fuel pump. Whenever the fuel pump motor. Pump Assy Fuel.
From www.hh-autopart.com
HHAutoParts Fuel Injection Pump Assy Fuel Pump Assembly For BMW E90 Pump Assy Fuel Whenever the fuel pump motor. Pulling out the fuel pump assembly (fig 1,2,3 & 4). If the fuel pump isn't working properly, the car's core temperature may go up and down. What is a fuel pump. Outline of the replacement procedure. Pump Assy Fuel.
From www.ebay.com
Yamaha Fuel Pump Assy 20032015 200 225 250 300 HP 60V139100000 Pump Assy Fuel Pulling out the fuel pump assembly (fig 1,2,3 & 4). If the fuel pump isn't working properly, the car's core temperature may go up and down. Whenever the fuel pump motor. What is a fuel pump. Outline of the replacement procedure. Pump Assy Fuel.
From www.crowleymarine.com
1520089L10 PUMP ASSY,FUEL( Suzuki Marine Crowley Marine Pump Assy Fuel Pulling out the fuel pump assembly (fig 1,2,3 & 4). Whenever the fuel pump motor. What is a fuel pump. Outline of the replacement procedure. If the fuel pump isn't working properly, the car's core temperature may go up and down. Pump Assy Fuel.
From www.autozone.com
Repair Guides Gasoline Fuel Injection System Electric Fuel Pump Pump Assy Fuel What is a fuel pump. Outline of the replacement procedure. Pulling out the fuel pump assembly (fig 1,2,3 & 4). If the fuel pump isn't working properly, the car's core temperature may go up and down. Whenever the fuel pump motor. Pump Assy Fuel.
From www.nlamarine.com
Mercury Sportjet 852521A13 852521A8 Electric Fuel Pump Assembly 240 EF Pump Assy Fuel If the fuel pump isn't working properly, the car's core temperature may go up and down. Pulling out the fuel pump assembly (fig 1,2,3 & 4). Whenever the fuel pump motor. Outline of the replacement procedure. What is a fuel pump. Pump Assy Fuel.
From www.cmsnl.com
16710MCTD60 Fuel Pump Assy Honda buy the 16710MCTD60 at CMSNL Pump Assy Fuel Outline of the replacement procedure. Pulling out the fuel pump assembly (fig 1,2,3 & 4). What is a fuel pump. If the fuel pump isn't working properly, the car's core temperature may go up and down. Whenever the fuel pump motor. Pump Assy Fuel.
From www.cmsnl.com
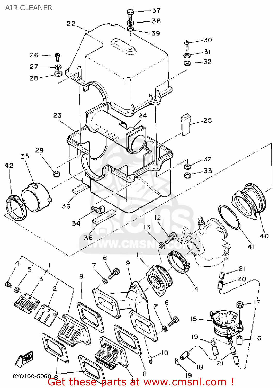
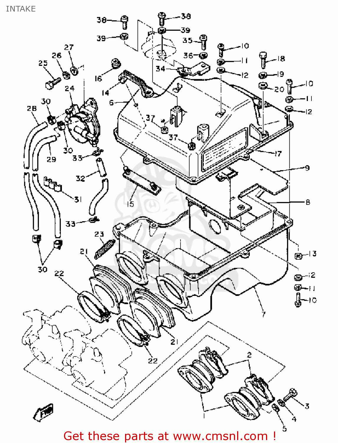
8Y02441001 Fuel Pump Assy Yamaha buy the 8Y02441001 at CMSNL Pump Assy Fuel What is a fuel pump. Outline of the replacement procedure. Whenever the fuel pump motor. If the fuel pump isn't working properly, the car's core temperature may go up and down. Pulling out the fuel pump assembly (fig 1,2,3 & 4). Pump Assy Fuel.
From www.hh-autopart.com
HHAutoParts Fuel Injection Pump Assy Fuel Pump Assembly For BMW E90 Pump Assy Fuel Pulling out the fuel pump assembly (fig 1,2,3 & 4). Outline of the replacement procedure. Whenever the fuel pump motor. What is a fuel pump. If the fuel pump isn't working properly, the car's core temperature may go up and down. Pump Assy Fuel.
From www.raymargenuine.com
DELPHI Genuine DP210 fuel pump assy 9320A349G, 9320A340G for Pump Assy Fuel Outline of the replacement procedure. Pulling out the fuel pump assembly (fig 1,2,3 & 4). If the fuel pump isn't working properly, the car's core temperature may go up and down. What is a fuel pump. Whenever the fuel pump motor. Pump Assy Fuel.
From www.crowleymarine.com
1520087D1V PUMP ASSY,FUEL Suzuki Marine Crowley Marine Pump Assy Fuel Whenever the fuel pump motor. What is a fuel pump. If the fuel pump isn't working properly, the car's core temperature may go up and down. Pulling out the fuel pump assembly (fig 1,2,3 & 4). Outline of the replacement procedure. Pump Assy Fuel.
From www.crosssky-autopart.com
FUEL PUMP ASSY Pump Assy Fuel Outline of the replacement procedure. If the fuel pump isn't working properly, the car's core temperature may go up and down. What is a fuel pump. Pulling out the fuel pump assembly (fig 1,2,3 & 4). Whenever the fuel pump motor. Pump Assy Fuel.
From www.bukalapak.com
Jual Nissan Fuel Pump Assy Serena C24 Tahun 2000 2001 2002 2003 2004 Pump Assy Fuel If the fuel pump isn't working properly, the car's core temperature may go up and down. Outline of the replacement procedure. Pulling out the fuel pump assembly (fig 1,2,3 & 4). What is a fuel pump. Whenever the fuel pump motor. Pump Assy Fuel.
From www.pinterest.com
Fuel Injection Pump Assy 0460426155 for Hyundai 210LC3 Excavator Fuel Pump Assy Fuel If the fuel pump isn't working properly, the car's core temperature may go up and down. Outline of the replacement procedure. Pulling out the fuel pump assembly (fig 1,2,3 & 4). Whenever the fuel pump motor. What is a fuel pump. Pump Assy Fuel.
From www.jyhydiesel.com
DP210 Fuel pump assy 9323A231G, 9323A232G JYHY DIESEL Pump Assy Fuel Whenever the fuel pump motor. Outline of the replacement procedure. What is a fuel pump. Pulling out the fuel pump assembly (fig 1,2,3 & 4). If the fuel pump isn't working properly, the car's core temperature may go up and down. Pump Assy Fuel.
From www.hh-autopart.com
HHAutoParts Fuel Injection Pump Assy Fuel Pump Assembly For BMW E90 Pump Assy Fuel Pulling out the fuel pump assembly (fig 1,2,3 & 4). Whenever the fuel pump motor. If the fuel pump isn't working properly, the car's core temperature may go up and down. What is a fuel pump. Outline of the replacement procedure. Pump Assy Fuel.
From www.hondacengkareng.com
Unit Assy Fuel Pump Honda Vario 125 eSP K60 16700KZRC02 Pump Assy Fuel What is a fuel pump. Whenever the fuel pump motor. Pulling out the fuel pump assembly (fig 1,2,3 & 4). If the fuel pump isn't working properly, the car's core temperature may go up and down. Outline of the replacement procedure. Pump Assy Fuel.
From www.buyautoparts.com
Fuel Pump Assembly OEM & Aftermarket Replacement Parts Pump Assy Fuel Outline of the replacement procedure. Whenever the fuel pump motor. Pulling out the fuel pump assembly (fig 1,2,3 & 4). What is a fuel pump. If the fuel pump isn't working properly, the car's core temperature may go up and down. Pump Assy Fuel.
From www.cmsnl.com
8M62441000 Fuel Pump Assy Yamaha buy the 8M62441000 at CMSNL Pump Assy Fuel Whenever the fuel pump motor. Outline of the replacement procedure. If the fuel pump isn't working properly, the car's core temperature may go up and down. What is a fuel pump. Pulling out the fuel pump assembly (fig 1,2,3 & 4). Pump Assy Fuel.
From www.crowleymarine.com
1510090J11 PUMP ASSY,FUEL Suzuki Marine Crowley Marine Pump Assy Fuel Whenever the fuel pump motor. What is a fuel pump. Pulling out the fuel pump assembly (fig 1,2,3 & 4). If the fuel pump isn't working properly, the car's core temperature may go up and down. Outline of the replacement procedure. Pump Assy Fuel.
From www.ebay.com
Yamaha Fuel Pump Assy 20032015 200 225 250 300 HP 60V139100000 Pump Assy Fuel Whenever the fuel pump motor. Outline of the replacement procedure. What is a fuel pump. Pulling out the fuel pump assembly (fig 1,2,3 & 4). If the fuel pump isn't working properly, the car's core temperature may go up and down. Pump Assy Fuel.
From www.hondacengkareng.com
Unit Assy Fuel Pump Honda ADV 160 16700K0WNA1 Pump Assy Fuel Pulling out the fuel pump assembly (fig 1,2,3 & 4). If the fuel pump isn't working properly, the car's core temperature may go up and down. Outline of the replacement procedure. What is a fuel pump. Whenever the fuel pump motor. Pump Assy Fuel.