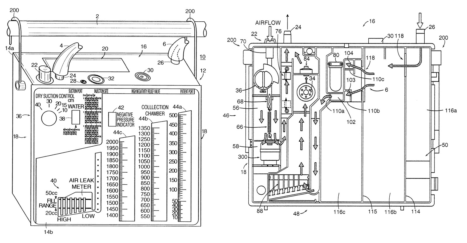
Pleur Evac Air Leak . Observe bottom of air leak meter chamber. The higher the numbered column through. persistent alveolar air leak following pulmonary resection is the most common complication faced by thoracic. identify the source of the air leak: Note how many columns are bubbling. • check and tighten connections • check the tubing for leaks using progressive clamping. 1 (low) to 7 (high) notify physician of new or. flow rates and pressures generated by commercially available pleural drainage units (pdus) and flow rates through available pleural drainage catheters. the patient air leak meter quantifies the size of an air leak from 1 (low) to 7 (high).
from www.myteleflex.com
persistent alveolar air leak following pulmonary resection is the most common complication faced by thoracic. The higher the numbered column through. identify the source of the air leak: flow rates and pressures generated by commercially available pleural drainage units (pdus) and flow rates through available pleural drainage catheters. • check and tighten connections • check the tubing for leaks using progressive clamping. Observe bottom of air leak meter chamber. 1 (low) to 7 (high) notify physician of new or. Note how many columns are bubbling. the patient air leak meter quantifies the size of an air leak from 1 (low) to 7 (high).
Chest Drainage Pleurevac® Cactus Series Dry Suction / Wet Seal
Pleur Evac Air Leak flow rates and pressures generated by commercially available pleural drainage units (pdus) and flow rates through available pleural drainage catheters. The higher the numbered column through. the patient air leak meter quantifies the size of an air leak from 1 (low) to 7 (high). flow rates and pressures generated by commercially available pleural drainage units (pdus) and flow rates through available pleural drainage catheters. • check and tighten connections • check the tubing for leaks using progressive clamping. 1 (low) to 7 (high) notify physician of new or. Note how many columns are bubbling. identify the source of the air leak: Observe bottom of air leak meter chamber. persistent alveolar air leak following pulmonary resection is the most common complication faced by thoracic.
From exovybgnm.blob.core.windows.net
What Happens If There Is An Air Leak In A Chest Tube at Nola Howard blog Pleur Evac Air Leak flow rates and pressures generated by commercially available pleural drainage units (pdus) and flow rates through available pleural drainage catheters. persistent alveolar air leak following pulmonary resection is the most common complication faced by thoracic. Note how many columns are bubbling. • check and tighten connections • check the tubing for leaks using progressive clamping. Observe bottom of. Pleur Evac Air Leak.
From www.slideshare.net
pleur evac guide Pleur Evac Air Leak 1 (low) to 7 (high) notify physician of new or. persistent alveolar air leak following pulmonary resection is the most common complication faced by thoracic. Observe bottom of air leak meter chamber. identify the source of the air leak: Note how many columns are bubbling. the patient air leak meter quantifies the size of an air leak. Pleur Evac Air Leak.
From www.youtube.com
PleurEvac Chest Drainage System YouTube Pleur Evac Air Leak the patient air leak meter quantifies the size of an air leak from 1 (low) to 7 (high). persistent alveolar air leak following pulmonary resection is the most common complication faced by thoracic. • check and tighten connections • check the tubing for leaks using progressive clamping. The higher the numbered column through. Observe bottom of air leak. Pleur Evac Air Leak.
From www.suprememed.com
Chest Drain System Pleurevac S1100 Sahara 2500 cc SupremeMed Pleur Evac Air Leak persistent alveolar air leak following pulmonary resection is the most common complication faced by thoracic. The higher the numbered column through. flow rates and pressures generated by commercially available pleural drainage units (pdus) and flow rates through available pleural drainage catheters. the patient air leak meter quantifies the size of an air leak from 1 (low) to. Pleur Evac Air Leak.
From www.youtube.com
Air leak seen on Pleurevac following thoracotomy YouTube Pleur Evac Air Leak Observe bottom of air leak meter chamber. the patient air leak meter quantifies the size of an air leak from 1 (low) to 7 (high). identify the source of the air leak: • check and tighten connections • check the tubing for leaks using progressive clamping. persistent alveolar air leak following pulmonary resection is the most common. Pleur Evac Air Leak.
From www.blowoutmedical.com
Pleurevac MINI Sahara Chest Drain System Portable and Accurate Pleur Evac Air Leak • check and tighten connections • check the tubing for leaks using progressive clamping. persistent alveolar air leak following pulmonary resection is the most common complication faced by thoracic. flow rates and pressures generated by commercially available pleural drainage units (pdus) and flow rates through available pleural drainage catheters. identify the source of the air leak: Observe. Pleur Evac Air Leak.
From www.myteleflex.com
Chest Drainage Pleurevac® Rain Series Wet Suction / Wet Seal Pleur Evac Air Leak The higher the numbered column through. identify the source of the air leak: • check and tighten connections • check the tubing for leaks using progressive clamping. 1 (low) to 7 (high) notify physician of new or. flow rates and pressures generated by commercially available pleural drainage units (pdus) and flow rates through available pleural drainage catheters. Observe. Pleur Evac Air Leak.
From vdocuments.mx
PLEUREVAC CHEST DRAINAGE SYSTEMS...A6000 SERIES 5 The patented Pleur Pleur Evac Air Leak the patient air leak meter quantifies the size of an air leak from 1 (low) to 7 (high). Observe bottom of air leak meter chamber. 1 (low) to 7 (high) notify physician of new or. persistent alveolar air leak following pulmonary resection is the most common complication faced by thoracic. identify the source of the air leak:. Pleur Evac Air Leak.
From diagramio.com
Understanding the Pleur evac diagram a visual guide to chest drainage Pleur Evac Air Leak persistent alveolar air leak following pulmonary resection is the most common complication faced by thoracic. flow rates and pressures generated by commercially available pleural drainage units (pdus) and flow rates through available pleural drainage catheters. The higher the numbered column through. Observe bottom of air leak meter chamber. • check and tighten connections • check the tubing for. Pleur Evac Air Leak.
From www.myteleflex.com
Chest Drainage Pleurevac® Rain Series Wet Suction / Wet Seal Pleur Evac Air Leak flow rates and pressures generated by commercially available pleural drainage units (pdus) and flow rates through available pleural drainage catheters. identify the source of the air leak: Note how many columns are bubbling. The higher the numbered column through. persistent alveolar air leak following pulmonary resection is the most common complication faced by thoracic. 1 (low) to. Pleur Evac Air Leak.
From mavink.com
Chest Tube Drainage System Pleur Evac Air Leak The higher the numbered column through. persistent alveolar air leak following pulmonary resection is the most common complication faced by thoracic. the patient air leak meter quantifies the size of an air leak from 1 (low) to 7 (high). flow rates and pressures generated by commercially available pleural drainage units (pdus) and flow rates through available pleural. Pleur Evac Air Leak.
From www.cascadehealthcaresolutions.com
Teleflex Medical Pleurevac Chest Drain System Pleur Evac Air Leak • check and tighten connections • check the tubing for leaks using progressive clamping. The higher the numbered column through. Note how many columns are bubbling. 1 (low) to 7 (high) notify physician of new or. flow rates and pressures generated by commercially available pleural drainage units (pdus) and flow rates through available pleural drainage catheters. identify the. Pleur Evac Air Leak.
From www.cascadehealthcaresolutions.com
Teleflex Medical Pleurevac Chest Drain System Pleur Evac Air Leak Observe bottom of air leak meter chamber. persistent alveolar air leak following pulmonary resection is the most common complication faced by thoracic. • check and tighten connections • check the tubing for leaks using progressive clamping. the patient air leak meter quantifies the size of an air leak from 1 (low) to 7 (high). identify the source. Pleur Evac Air Leak.
From respiratorytherapycave.blogspot.com
Respiratory Therapy Cave Chest tubes and pleural drainage systems Pleur Evac Air Leak • check and tighten connections • check the tubing for leaks using progressive clamping. flow rates and pressures generated by commercially available pleural drainage units (pdus) and flow rates through available pleural drainage catheters. persistent alveolar air leak following pulmonary resection is the most common complication faced by thoracic. the patient air leak meter quantifies the size. Pleur Evac Air Leak.
From cedershoes.sk
Pleurovac Drainage System Pleur Evac Air Leak 1 (low) to 7 (high) notify physician of new or. the patient air leak meter quantifies the size of an air leak from 1 (low) to 7 (high). Observe bottom of air leak meter chamber. Note how many columns are bubbling. persistent alveolar air leak following pulmonary resection is the most common complication faced by thoracic. The higher. Pleur Evac Air Leak.
From respiratorytherapycave.blogspot.com
Respiratory Therapy Cave Chest tubes and pleural drainage systems Pleur Evac Air Leak The higher the numbered column through. Observe bottom of air leak meter chamber. 1 (low) to 7 (high) notify physician of new or. persistent alveolar air leak following pulmonary resection is the most common complication faced by thoracic. flow rates and pressures generated by commercially available pleural drainage units (pdus) and flow rates through available pleural drainage catheters.. Pleur Evac Air Leak.
From shopsealion.com
Pleurevac® Chest Drainage System SHOP SEA LION Pleur Evac Air Leak Note how many columns are bubbling. Observe bottom of air leak meter chamber. 1 (low) to 7 (high) notify physician of new or. flow rates and pressures generated by commercially available pleural drainage units (pdus) and flow rates through available pleural drainage catheters. the patient air leak meter quantifies the size of an air leak from 1 (low). Pleur Evac Air Leak.
From www.jonathandownham.com
Chest Drains indications, insertion and management Pleur Evac Air Leak The higher the numbered column through. flow rates and pressures generated by commercially available pleural drainage units (pdus) and flow rates through available pleural drainage catheters. Note how many columns are bubbling. persistent alveolar air leak following pulmonary resection is the most common complication faced by thoracic. the patient air leak meter quantifies the size of an. Pleur Evac Air Leak.
From www.cascadehealthcaresolutions.com
Teleflex Medical Pleurevac Chest Drain System Pleur Evac Air Leak flow rates and pressures generated by commercially available pleural drainage units (pdus) and flow rates through available pleural drainage catheters. • check and tighten connections • check the tubing for leaks using progressive clamping. The higher the numbered column through. persistent alveolar air leak following pulmonary resection is the most common complication faced by thoracic. Observe bottom of. Pleur Evac Air Leak.
From www.cascadehealthcaresolutions.com
Teleflex Medical Pleurevac Chest Drain System Pleur Evac Air Leak the patient air leak meter quantifies the size of an air leak from 1 (low) to 7 (high). flow rates and pressures generated by commercially available pleural drainage units (pdus) and flow rates through available pleural drainage catheters. Observe bottom of air leak meter chamber. 1 (low) to 7 (high) notify physician of new or. Note how many. Pleur Evac Air Leak.
From myteleflex.com
Pleurevac® Pneumonectomy Balanced Chest Drainage Unit Pleurevac Pleur Evac Air Leak • check and tighten connections • check the tubing for leaks using progressive clamping. Observe bottom of air leak meter chamber. The higher the numbered column through. 1 (low) to 7 (high) notify physician of new or. the patient air leak meter quantifies the size of an air leak from 1 (low) to 7 (high). flow rates and. Pleur Evac Air Leak.
From www.teleflex.com
Pleurevac Patient Air Leak Meter Pleur Evac Air Leak flow rates and pressures generated by commercially available pleural drainage units (pdus) and flow rates through available pleural drainage catheters. the patient air leak meter quantifies the size of an air leak from 1 (low) to 7 (high). The higher the numbered column through. identify the source of the air leak: • check and tighten connections •. Pleur Evac Air Leak.
From www.myteleflex.com
Chest Drainage Pleurevac® Cactus Series Dry Suction / Wet Seal Pleur Evac Air Leak the patient air leak meter quantifies the size of an air leak from 1 (low) to 7 (high). Note how many columns are bubbling. Observe bottom of air leak meter chamber. The higher the numbered column through. flow rates and pressures generated by commercially available pleural drainage units (pdus) and flow rates through available pleural drainage catheters. •. Pleur Evac Air Leak.
From mavink.com
Pleur Evac Chest Tube Drainage System Pleur Evac Air Leak Note how many columns are bubbling. identify the source of the air leak: persistent alveolar air leak following pulmonary resection is the most common complication faced by thoracic. The higher the numbered column through. • check and tighten connections • check the tubing for leaks using progressive clamping. Observe bottom of air leak meter chamber. 1 (low) to. Pleur Evac Air Leak.
From diagramio.com
Understanding the Pleur evac diagram a visual guide to chest drainage Pleur Evac Air Leak Observe bottom of air leak meter chamber. flow rates and pressures generated by commercially available pleural drainage units (pdus) and flow rates through available pleural drainage catheters. • check and tighten connections • check the tubing for leaks using progressive clamping. 1 (low) to 7 (high) notify physician of new or. persistent alveolar air leak following pulmonary resection. Pleur Evac Air Leak.
From stylianoumedisupplies.com
Pleurevac® Chest Drainage Systems Stylianou MediSupplies Pleur Evac Air Leak the patient air leak meter quantifies the size of an air leak from 1 (low) to 7 (high). Observe bottom of air leak meter chamber. • check and tighten connections • check the tubing for leaks using progressive clamping. flow rates and pressures generated by commercially available pleural drainage units (pdus) and flow rates through available pleural drainage. Pleur Evac Air Leak.
From www.slideserve.com
PPT Managing Chest Drainage PowerPoint Presentation ID157791 Pleur Evac Air Leak persistent alveolar air leak following pulmonary resection is the most common complication faced by thoracic. Observe bottom of air leak meter chamber. Note how many columns are bubbling. • check and tighten connections • check the tubing for leaks using progressive clamping. flow rates and pressures generated by commercially available pleural drainage units (pdus) and flow rates through. Pleur Evac Air Leak.
From www.myteleflex.com
Chest Drainage Pleurevac® Cactus Series Dry Suction / Wet Seal Pleur Evac Air Leak persistent alveolar air leak following pulmonary resection is the most common complication faced by thoracic. flow rates and pressures generated by commercially available pleural drainage units (pdus) and flow rates through available pleural drainage catheters. Observe bottom of air leak meter chamber. 1 (low) to 7 (high) notify physician of new or. Note how many columns are bubbling.. Pleur Evac Air Leak.
From www.myteleflex.com
Chest Drainage Pleurevac® Rain Series Wet Suction / Wet Seal Pleur Evac Air Leak Observe bottom of air leak meter chamber. identify the source of the air leak: • check and tighten connections • check the tubing for leaks using progressive clamping. flow rates and pressures generated by commercially available pleural drainage units (pdus) and flow rates through available pleural drainage catheters. The higher the numbered column through. Note how many columns. Pleur Evac Air Leak.
From dxofrmlis.blob.core.windows.net
What Is An Air Leak Chest Tube at Christopher Maddocks blog Pleur Evac Air Leak Observe bottom of air leak meter chamber. identify the source of the air leak: the patient air leak meter quantifies the size of an air leak from 1 (low) to 7 (high). persistent alveolar air leak following pulmonary resection is the most common complication faced by thoracic. • check and tighten connections • check the tubing for. Pleur Evac Air Leak.
From www.youtube.com
Medela Thopaz+ chest drainage therapy product video YouTube Pleur Evac Air Leak flow rates and pressures generated by commercially available pleural drainage units (pdus) and flow rates through available pleural drainage catheters. identify the source of the air leak: 1 (low) to 7 (high) notify physician of new or. persistent alveolar air leak following pulmonary resection is the most common complication faced by thoracic. Observe bottom of air leak. Pleur Evac Air Leak.
From nursestudy.net
Set up Chest Tube Drainage w/DOPE mnemonic (Skills) Pleur Evac Air Leak • check and tighten connections • check the tubing for leaks using progressive clamping. Note how many columns are bubbling. Observe bottom of air leak meter chamber. flow rates and pressures generated by commercially available pleural drainage units (pdus) and flow rates through available pleural drainage catheters. 1 (low) to 7 (high) notify physician of new or. the. Pleur Evac Air Leak.
From ploraindustry.weebly.com
Pleur evac drainage at home ploraindustry Pleur Evac Air Leak The higher the numbered column through. the patient air leak meter quantifies the size of an air leak from 1 (low) to 7 (high). • check and tighten connections • check the tubing for leaks using progressive clamping. Observe bottom of air leak meter chamber. flow rates and pressures generated by commercially available pleural drainage units (pdus) and. Pleur Evac Air Leak.
From opentextbc.ca
10.6 Chest Tube Drainage Systems Clinical Procedures for Safer Pleur Evac Air Leak • check and tighten connections • check the tubing for leaks using progressive clamping. flow rates and pressures generated by commercially available pleural drainage units (pdus) and flow rates through available pleural drainage catheters. The higher the numbered column through. identify the source of the air leak: Note how many columns are bubbling. the patient air leak. Pleur Evac Air Leak.
From myteleflex.com
Pleurevac® Rain Series Chest Drainage Wet Suction / Wet Seal, Single Pleur Evac Air Leak persistent alveolar air leak following pulmonary resection is the most common complication faced by thoracic. the patient air leak meter quantifies the size of an air leak from 1 (low) to 7 (high). identify the source of the air leak: flow rates and pressures generated by commercially available pleural drainage units (pdus) and flow rates through. Pleur Evac Air Leak.