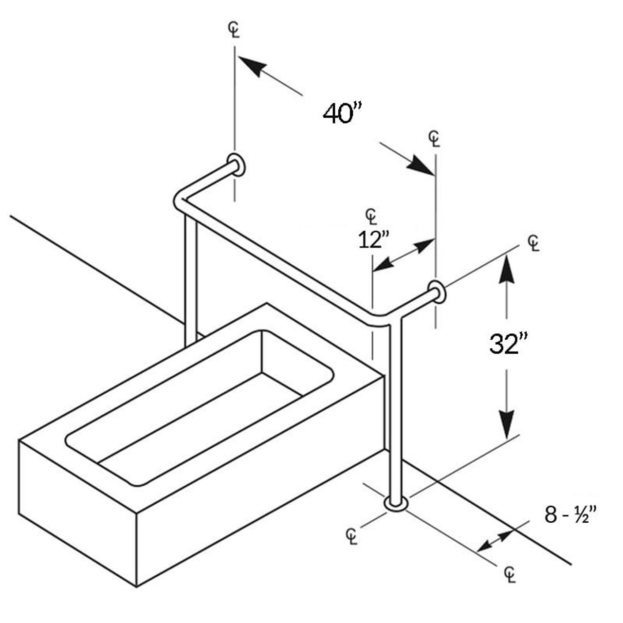
Bath Tub Grab Bar Height . The other shall be 33 to 36 inches (840 mm to 915 mm) above the bathroom floor. (quantity, shape, length, wall location, and placement height). Ultimate guide to buying, placing, and installing bathtub grab bars. Which bathtub grab bars do i need and where should i place them to be ada compliant? One grab bar on the back wall shall be located 9 inches (230 mm) above the rim of the tub. Bathtubs without permanent seats back wall. These handrails give an added boost to people getting into and out of the tub or shower. In bathrooms, grab bars should be installed at a height between 33 and 36 inches from the floor. Choose one 24 to 26 inches long, and install it at a natural height for grabbing. For showers and bathtubs, grab bars should be placed between 33 and 36 inches above the floor, running horizontally along the wall. A grab bar 24 inches (610 mm) long minimum shall be installed on the control end wall at the front edge of the bathtub. View recommended bathtub grab bar wall placement, shapes, and quantities. Grab bars must be installed on the back wall and should be 24 inches (610 mm) minimum in length, placed 12 inches (305 mm) maximum from the control end wall, and the top of the grab bar should be 33 to 36 inches (840 to 915 mm) above the bathtub floor.
from www.agingcare.com
In bathrooms, grab bars should be installed at a height between 33 and 36 inches from the floor. The other shall be 33 to 36 inches (840 mm to 915 mm) above the bathroom floor. Choose one 24 to 26 inches long, and install it at a natural height for grabbing. Ultimate guide to buying, placing, and installing bathtub grab bars. One grab bar on the back wall shall be located 9 inches (230 mm) above the rim of the tub. Grab bars must be installed on the back wall and should be 24 inches (610 mm) minimum in length, placed 12 inches (305 mm) maximum from the control end wall, and the top of the grab bar should be 33 to 36 inches (840 to 915 mm) above the bathtub floor. Which bathtub grab bars do i need and where should i place them to be ada compliant? For showers and bathtubs, grab bars should be placed between 33 and 36 inches above the floor, running horizontally along the wall. These handrails give an added boost to people getting into and out of the tub or shower. Bathtubs without permanent seats back wall.
What Is the Best Height for Bathroom Grab Bars?
Bath Tub Grab Bar Height One grab bar on the back wall shall be located 9 inches (230 mm) above the rim of the tub. Choose one 24 to 26 inches long, and install it at a natural height for grabbing. Ultimate guide to buying, placing, and installing bathtub grab bars. In bathrooms, grab bars should be installed at a height between 33 and 36 inches from the floor. View recommended bathtub grab bar wall placement, shapes, and quantities. Bathtubs without permanent seats back wall. (quantity, shape, length, wall location, and placement height). Which bathtub grab bars do i need and where should i place them to be ada compliant? These handrails give an added boost to people getting into and out of the tub or shower. The other shall be 33 to 36 inches (840 mm to 915 mm) above the bathroom floor. Grab bars must be installed on the back wall and should be 24 inches (610 mm) minimum in length, placed 12 inches (305 mm) maximum from the control end wall, and the top of the grab bar should be 33 to 36 inches (840 to 915 mm) above the bathtub floor. One grab bar on the back wall shall be located 9 inches (230 mm) above the rim of the tub. A grab bar 24 inches (610 mm) long minimum shall be installed on the control end wall at the front edge of the bathtub. For showers and bathtubs, grab bars should be placed between 33 and 36 inches above the floor, running horizontally along the wall.
From www.edmchicago.com
6 Best Places to Install Grab Bars in Your Bath or Shower EDM Chicago Bath Tub Grab Bar Height The other shall be 33 to 36 inches (840 mm to 915 mm) above the bathroom floor. Bathtubs without permanent seats back wall. Choose one 24 to 26 inches long, and install it at a natural height for grabbing. Grab bars must be installed on the back wall and should be 24 inches (610 mm) minimum in length, placed 12. Bath Tub Grab Bar Height.
From www.suncoastmedicalsupply.com
Grab Bars Suncoast Medical Supply Bath Tub Grab Bar Height (quantity, shape, length, wall location, and placement height). Which bathtub grab bars do i need and where should i place them to be ada compliant? For showers and bathtubs, grab bars should be placed between 33 and 36 inches above the floor, running horizontally along the wall. Ultimate guide to buying, placing, and installing bathtub grab bars. Bathtubs without permanent. Bath Tub Grab Bar Height.
From www.hunker.com
Grab Bar Installation Hunker Bath Tub Grab Bar Height (quantity, shape, length, wall location, and placement height). The other shall be 33 to 36 inches (840 mm to 915 mm) above the bathroom floor. Bathtubs without permanent seats back wall. These handrails give an added boost to people getting into and out of the tub or shower. In bathrooms, grab bars should be installed at a height between 33. Bath Tub Grab Bar Height.
From www.gosupps.com
DMI Grab Bar Tub and Shower Handle, Bathtub Grab Bar, Safety Rail, For Bath Tub Grab Bar Height Which bathtub grab bars do i need and where should i place them to be ada compliant? Choose one 24 to 26 inches long, and install it at a natural height for grabbing. For showers and bathtubs, grab bars should be placed between 33 and 36 inches above the floor, running horizontally along the wall. One grab bar on the. Bath Tub Grab Bar Height.
From www.cpaprus.net
Drive Medical Adjustable Height Bathtub Grab Bar Safety Rail, White Bath Tub Grab Bar Height View recommended bathtub grab bar wall placement, shapes, and quantities. For showers and bathtubs, grab bars should be placed between 33 and 36 inches above the floor, running horizontally along the wall. A grab bar 24 inches (610 mm) long minimum shall be installed on the control end wall at the front edge of the bathtub. One grab bar on. Bath Tub Grab Bar Height.
From www.pinterest.com
How to Install a Grab Bar Grab bars, Installation, In the bathtub Bath Tub Grab Bar Height One grab bar on the back wall shall be located 9 inches (230 mm) above the rim of the tub. In bathrooms, grab bars should be installed at a height between 33 and 36 inches from the floor. Ultimate guide to buying, placing, and installing bathtub grab bars. View recommended bathtub grab bar wall placement, shapes, and quantities. Which bathtub. Bath Tub Grab Bar Height.
From www.improveitusa.com
Proper Shower Grab Bar Placement Keeps Your Family Safe Improveit! Bath Tub Grab Bar Height These handrails give an added boost to people getting into and out of the tub or shower. For showers and bathtubs, grab bars should be placed between 33 and 36 inches above the floor, running horizontally along the wall. In bathrooms, grab bars should be installed at a height between 33 and 36 inches from the floor. Choose one 24. Bath Tub Grab Bar Height.
From www.harborcitysupply.com
Grab Bars In All Accessible Bathing Facilities ADA Guidelines Bath Tub Grab Bar Height Bathtubs without permanent seats back wall. Grab bars must be installed on the back wall and should be 24 inches (610 mm) minimum in length, placed 12 inches (305 mm) maximum from the control end wall, and the top of the grab bar should be 33 to 36 inches (840 to 915 mm) above the bathtub floor. Choose one 24. Bath Tub Grab Bar Height.
From www.walgreens.com
Drive Medical Adjustable Height Bathtub Grab Bar Safety Rail Walgreens Bath Tub Grab Bar Height View recommended bathtub grab bar wall placement, shapes, and quantities. In bathrooms, grab bars should be installed at a height between 33 and 36 inches from the floor. Grab bars must be installed on the back wall and should be 24 inches (610 mm) minimum in length, placed 12 inches (305 mm) maximum from the control end wall, and the. Bath Tub Grab Bar Height.
From bestreviews.com
5 Best Bathroom Grab Bars Dec. 2020 BestReviews Bath Tub Grab Bar Height For showers and bathtubs, grab bars should be placed between 33 and 36 inches above the floor, running horizontally along the wall. (quantity, shape, length, wall location, and placement height). Which bathtub grab bars do i need and where should i place them to be ada compliant? Bathtubs without permanent seats back wall. A grab bar 24 inches (610 mm). Bath Tub Grab Bar Height.
From www.access-board.gov
Chapter 6 Bathing Rooms Bath Tub Grab Bar Height In bathrooms, grab bars should be installed at a height between 33 and 36 inches from the floor. A grab bar 24 inches (610 mm) long minimum shall be installed on the control end wall at the front edge of the bathtub. These handrails give an added boost to people getting into and out of the tub or shower. One. Bath Tub Grab Bar Height.
From hikeallthenationalparks.com
Proper Placement Of Bathtub Grab Bars • Bathtub Ideas Bath Tub Grab Bar Height For showers and bathtubs, grab bars should be placed between 33 and 36 inches above the floor, running horizontally along the wall. Choose one 24 to 26 inches long, and install it at a natural height for grabbing. Ultimate guide to buying, placing, and installing bathtub grab bars. One grab bar on the back wall shall be located 9 inches. Bath Tub Grab Bar Height.
From edu.svet.gob.gt
Installing Grab Bars In Your Bathroom A Complete Guide Bath Tub Grab Bar Height The other shall be 33 to 36 inches (840 mm to 915 mm) above the bathroom floor. A grab bar 24 inches (610 mm) long minimum shall be installed on the control end wall at the front edge of the bathtub. (quantity, shape, length, wall location, and placement height). Choose one 24 to 26 inches long, and install it at. Bath Tub Grab Bar Height.
From www.pinterest.co.kr
Where to Install Grab Bars Handicap bathroom, Grab bars in bathroom Bath Tub Grab Bar Height Bathtubs without permanent seats back wall. These handrails give an added boost to people getting into and out of the tub or shower. View recommended bathtub grab bar wall placement, shapes, and quantities. Grab bars must be installed on the back wall and should be 24 inches (610 mm) minimum in length, placed 12 inches (305 mm) maximum from the. Bath Tub Grab Bar Height.
From inspectapedia.com
ADA Grab Rail Design Specifications for Seniors & Others of Limited Bath Tub Grab Bar Height A grab bar 24 inches (610 mm) long minimum shall be installed on the control end wall at the front edge of the bathtub. For showers and bathtubs, grab bars should be placed between 33 and 36 inches above the floor, running horizontally along the wall. The other shall be 33 to 36 inches (840 mm to 915 mm) above. Bath Tub Grab Bar Height.
From industrystandarddesign.com
The Importance of Installing Bathroom Grab Bars Bath Tub Grab Bar Height For showers and bathtubs, grab bars should be placed between 33 and 36 inches above the floor, running horizontally along the wall. A grab bar 24 inches (610 mm) long minimum shall be installed on the control end wall at the front edge of the bathtub. Which bathtub grab bars do i need and where should i place them to. Bath Tub Grab Bar Height.
From matrixgc.com
Installing Grab Bars in Your Bathroom A Complete Guide Bath Tub Grab Bar Height Grab bars must be installed on the back wall and should be 24 inches (610 mm) minimum in length, placed 12 inches (305 mm) maximum from the control end wall, and the top of the grab bar should be 33 to 36 inches (840 to 915 mm) above the bathtub floor. Which bathtub grab bars do i need and where. Bath Tub Grab Bar Height.
From www.harborcitysupply.com
Stainless Steel Straight Bathtub Grab Bar with Outriggers T024 Bath Tub Grab Bar Height Bathtubs without permanent seats back wall. Ultimate guide to buying, placing, and installing bathtub grab bars. These handrails give an added boost to people getting into and out of the tub or shower. View recommended bathtub grab bar wall placement, shapes, and quantities. For showers and bathtubs, grab bars should be placed between 33 and 36 inches above the floor,. Bath Tub Grab Bar Height.
From hikeallthenationalparks.com
Bathtub Grab Bars Placement • Bathtub Ideas Bath Tub Grab Bar Height A grab bar 24 inches (610 mm) long minimum shall be installed on the control end wall at the front edge of the bathtub. Which bathtub grab bars do i need and where should i place them to be ada compliant? View recommended bathtub grab bar wall placement, shapes, and quantities. In bathrooms, grab bars should be installed at a. Bath Tub Grab Bar Height.
From www.mobilitypitstop.com
Bath Tub Grab Bar Grab Bar & Rails from Mobility Pitstop Bath Tub Grab Bar Height These handrails give an added boost to people getting into and out of the tub or shower. The other shall be 33 to 36 inches (840 mm to 915 mm) above the bathroom floor. A grab bar 24 inches (610 mm) long minimum shall be installed on the control end wall at the front edge of the bathtub. For showers. Bath Tub Grab Bar Height.
From edu.svet.gob.gt
Installing Grab Bars In Your Bathroom A Complete Guide Bath Tub Grab Bar Height Which bathtub grab bars do i need and where should i place them to be ada compliant? For showers and bathtubs, grab bars should be placed between 33 and 36 inches above the floor, running horizontally along the wall. View recommended bathtub grab bar wall placement, shapes, and quantities. These handrails give an added boost to people getting into and. Bath Tub Grab Bar Height.
From www.easycomforts.com
Adjustable Tub Grab Bar Handle Safety Bar for Bathtub Bath Tub Grab Bar Height A grab bar 24 inches (610 mm) long minimum shall be installed on the control end wall at the front edge of the bathtub. Ultimate guide to buying, placing, and installing bathtub grab bars. Choose one 24 to 26 inches long, and install it at a natural height for grabbing. These handrails give an added boost to people getting into. Bath Tub Grab Bar Height.
From br.pinterest.com
ADA Compliant Handicap Accessibility Grab Bars / Hand Rails Etsy in Bath Tub Grab Bar Height Which bathtub grab bars do i need and where should i place them to be ada compliant? Bathtubs without permanent seats back wall. Grab bars must be installed on the back wall and should be 24 inches (610 mm) minimum in length, placed 12 inches (305 mm) maximum from the control end wall, and the top of the grab bar. Bath Tub Grab Bar Height.
From www.pinterest.com
Installing Grab Bars for a Safer Bathroom Bath Tub Grab Bar Height One grab bar on the back wall shall be located 9 inches (230 mm) above the rim of the tub. View recommended bathtub grab bar wall placement, shapes, and quantities. (quantity, shape, length, wall location, and placement height). Which bathtub grab bars do i need and where should i place them to be ada compliant? The other shall be 33. Bath Tub Grab Bar Height.
From www.rehabmart.com
Medline Guardian Signature White Adjustable BathTub Grab Bar Bath Tub Grab Bar Height (quantity, shape, length, wall location, and placement height). View recommended bathtub grab bar wall placement, shapes, and quantities. One grab bar on the back wall shall be located 9 inches (230 mm) above the rim of the tub. A grab bar 24 inches (610 mm) long minimum shall be installed on the control end wall at the front edge of. Bath Tub Grab Bar Height.
From www.pinterest.com
Ada grab bar dimensions for a bath tub with the seat in the tub Tub Bath Tub Grab Bar Height Choose one 24 to 26 inches long, and install it at a natural height for grabbing. Grab bars must be installed on the back wall and should be 24 inches (610 mm) minimum in length, placed 12 inches (305 mm) maximum from the control end wall, and the top of the grab bar should be 33 to 36 inches (840. Bath Tub Grab Bar Height.
From www.walmart.com
Adjustable Bathtub Safety Rail Tub Grab Bar Support Easy In And Out Of Bath Tub Grab Bar Height The other shall be 33 to 36 inches (840 mm to 915 mm) above the bathroom floor. Ultimate guide to buying, placing, and installing bathtub grab bars. These handrails give an added boost to people getting into and out of the tub or shower. For showers and bathtubs, grab bars should be placed between 33 and 36 inches above the. Bath Tub Grab Bar Height.
From kamarmandibersama.blogspot.com
Bathtub Grab Bar Placement Bathtube Insight Bath Tub Grab Bar Height Bathtubs without permanent seats back wall. Choose one 24 to 26 inches long, and install it at a natural height for grabbing. These handrails give an added boost to people getting into and out of the tub or shower. (quantity, shape, length, wall location, and placement height). Which bathtub grab bars do i need and where should i place them. Bath Tub Grab Bar Height.
From www.desertcart.ae
Sammons Preston 53286 Floor to Tub Bath Rail, Curved Grab Bar with 200 Bath Tub Grab Bar Height One grab bar on the back wall shall be located 9 inches (230 mm) above the rim of the tub. Choose one 24 to 26 inches long, and install it at a natural height for grabbing. The other shall be 33 to 36 inches (840 mm to 915 mm) above the bathroom floor. A grab bar 24 inches (610 mm). Bath Tub Grab Bar Height.
From www.harborcitysupply.com
Stainless Steel Bathtub Grab Bar Wall to Floor, 4 Flange T021 Bath Tub Grab Bar Height Bathtubs without permanent seats back wall. (quantity, shape, length, wall location, and placement height). Choose one 24 to 26 inches long, and install it at a natural height for grabbing. For showers and bathtubs, grab bars should be placed between 33 and 36 inches above the floor, running horizontally along the wall. A grab bar 24 inches (610 mm) long. Bath Tub Grab Bar Height.
From www.agingcare.com
What Is the Best Height for Bathroom Grab Bars? Bath Tub Grab Bar Height Choose one 24 to 26 inches long, and install it at a natural height for grabbing. Grab bars must be installed on the back wall and should be 24 inches (610 mm) minimum in length, placed 12 inches (305 mm) maximum from the control end wall, and the top of the grab bar should be 33 to 36 inches (840. Bath Tub Grab Bar Height.
From grabbarguy.ca
Grab bar installation reviews Grab Bar Guy Professional Grab Bar Bath Tub Grab Bar Height The other shall be 33 to 36 inches (840 mm to 915 mm) above the bathroom floor. Bathtubs without permanent seats back wall. View recommended bathtub grab bar wall placement, shapes, and quantities. Grab bars must be installed on the back wall and should be 24 inches (610 mm) minimum in length, placed 12 inches (305 mm) maximum from the. Bath Tub Grab Bar Height.
From www7.mississauga.ca
City of Mississauga Facility Accessibility Design Standards Bath Tub Grab Bar Height Bathtubs without permanent seats back wall. Which bathtub grab bars do i need and where should i place them to be ada compliant? View recommended bathtub grab bar wall placement, shapes, and quantities. The other shall be 33 to 36 inches (840 mm to 915 mm) above the bathroom floor. One grab bar on the back wall shall be located. Bath Tub Grab Bar Height.
From kamarmandibersama.blogspot.com
Ada Bathtub Grab Bars Bathtube Insight Bath Tub Grab Bar Height For showers and bathtubs, grab bars should be placed between 33 and 36 inches above the floor, running horizontally along the wall. Which bathtub grab bars do i need and where should i place them to be ada compliant? Ultimate guide to buying, placing, and installing bathtub grab bars. One grab bar on the back wall shall be located 9. Bath Tub Grab Bar Height.
From www.performancehealth.com
Homecraft Sturdy Bath Tub Grab Bar Performance Health Bath Tub Grab Bar Height For showers and bathtubs, grab bars should be placed between 33 and 36 inches above the floor, running horizontally along the wall. Ultimate guide to buying, placing, and installing bathtub grab bars. Which bathtub grab bars do i need and where should i place them to be ada compliant? View recommended bathtub grab bar wall placement, shapes, and quantities. These. Bath Tub Grab Bar Height.