How Does A Stop Valve With Drain Work . The manipulation of the internal mechanism, usually a ball or a gate, to either stop or. when the hole aligns with the pipe, water flows freely. water supply stop valves work on a simple principle: They’re commonly found at plumbing fixtures, such as the. When it’s perpendicular to the pipe, the flow stops. stop valves, aka globe valves, are only meant for water. Its primary function is to stop the.
from www.plumbingsupply.com
water supply stop valves work on a simple principle: The manipulation of the internal mechanism, usually a ball or a gate, to either stop or. when the hole aligns with the pipe, water flows freely. When it’s perpendicular to the pipe, the flow stops. They’re commonly found at plumbing fixtures, such as the. Its primary function is to stop the. stop valves, aka globe valves, are only meant for water.
Compression vs. QuarterTurn Shut Offs
How Does A Stop Valve With Drain Work The manipulation of the internal mechanism, usually a ball or a gate, to either stop or. when the hole aligns with the pipe, water flows freely. The manipulation of the internal mechanism, usually a ball or a gate, to either stop or. Its primary function is to stop the. When it’s perpendicular to the pipe, the flow stops. They’re commonly found at plumbing fixtures, such as the. stop valves, aka globe valves, are only meant for water. water supply stop valves work on a simple principle:
From inspectapedia.com
Cycle Stop Valves as Water Pump Short Cycling Cure How Does A Stop Valve With Drain Work water supply stop valves work on a simple principle: stop valves, aka globe valves, are only meant for water. when the hole aligns with the pipe, water flows freely. Its primary function is to stop the. They’re commonly found at plumbing fixtures, such as the. The manipulation of the internal mechanism, usually a ball or a gate,. How Does A Stop Valve With Drain Work.
From www.qssupplies.co.uk
Shut off / Stop Valve Types Explained QS Supplies How Does A Stop Valve With Drain Work stop valves, aka globe valves, are only meant for water. The manipulation of the internal mechanism, usually a ball or a gate, to either stop or. When it’s perpendicular to the pipe, the flow stops. water supply stop valves work on a simple principle: They’re commonly found at plumbing fixtures, such as the. Its primary function is to. How Does A Stop Valve With Drain Work.
From www.pricepulse.app
SharkBite 1/2 Inch Stop Valve with Drain and Vent, Push to Connect How Does A Stop Valve With Drain Work when the hole aligns with the pipe, water flows freely. stop valves, aka globe valves, are only meant for water. When it’s perpendicular to the pipe, the flow stops. They’re commonly found at plumbing fixtures, such as the. The manipulation of the internal mechanism, usually a ball or a gate, to either stop or. water supply stop. How Does A Stop Valve With Drain Work.
From www.plumbingsupply.com
Compression vs. QuarterTurn Shut Offs How Does A Stop Valve With Drain Work water supply stop valves work on a simple principle: Its primary function is to stop the. The manipulation of the internal mechanism, usually a ball or a gate, to either stop or. They’re commonly found at plumbing fixtures, such as the. When it’s perpendicular to the pipe, the flow stops. stop valves, aka globe valves, are only meant. How Does A Stop Valve With Drain Work.
From kent.ca
Aquadynamic 3/4" 125 PSI Solder Lead Free Brass Stop Valve With How Does A Stop Valve With Drain Work They’re commonly found at plumbing fixtures, such as the. Its primary function is to stop the. water supply stop valves work on a simple principle: stop valves, aka globe valves, are only meant for water. when the hole aligns with the pipe, water flows freely. When it’s perpendicular to the pipe, the flow stops. The manipulation of. How Does A Stop Valve With Drain Work.
From www.sanbec.ca
Compression stop valve with drain Sanbec How Does A Stop Valve With Drain Work The manipulation of the internal mechanism, usually a ball or a gate, to either stop or. when the hole aligns with the pipe, water flows freely. stop valves, aka globe valves, are only meant for water. water supply stop valves work on a simple principle: When it’s perpendicular to the pipe, the flow stops. Its primary function. How Does A Stop Valve With Drain Work.
From exochktmm.blob.core.windows.net
How Does A 4Way Valve Work at Sarah Kim blog How Does A Stop Valve With Drain Work water supply stop valves work on a simple principle: The manipulation of the internal mechanism, usually a ball or a gate, to either stop or. When it’s perpendicular to the pipe, the flow stops. stop valves, aka globe valves, are only meant for water. when the hole aligns with the pipe, water flows freely. They’re commonly found. How Does A Stop Valve With Drain Work.
From noram-valves.com
Stop Valve with Drain DN20 PN16 NorAm Management LLC How Does A Stop Valve With Drain Work They’re commonly found at plumbing fixtures, such as the. The manipulation of the internal mechanism, usually a ball or a gate, to either stop or. water supply stop valves work on a simple principle: Its primary function is to stop the. When it’s perpendicular to the pipe, the flow stops. stop valves, aka globe valves, are only meant. How Does A Stop Valve With Drain Work.
From www.youtube.com
SharkBite 3/4 Inch Stop Valve with Drain and Vent, Push to Connect How Does A Stop Valve With Drain Work when the hole aligns with the pipe, water flows freely. The manipulation of the internal mechanism, usually a ball or a gate, to either stop or. When it’s perpendicular to the pipe, the flow stops. water supply stop valves work on a simple principle: stop valves, aka globe valves, are only meant for water. Its primary function. How Does A Stop Valve With Drain Work.
From www.walmart.com
SharkBite 3/4 Inch Stop Valve with Drain and Vent, Push to Connect How Does A Stop Valve With Drain Work They’re commonly found at plumbing fixtures, such as the. water supply stop valves work on a simple principle: Its primary function is to stop the. stop valves, aka globe valves, are only meant for water. when the hole aligns with the pipe, water flows freely. The manipulation of the internal mechanism, usually a ball or a gate,. How Does A Stop Valve With Drain Work.
From www.thameswater.co.uk
Find and use your inside stop valve Help Thames Water How Does A Stop Valve With Drain Work Its primary function is to stop the. The manipulation of the internal mechanism, usually a ball or a gate, to either stop or. stop valves, aka globe valves, are only meant for water. when the hole aligns with the pipe, water flows freely. When it’s perpendicular to the pipe, the flow stops. They’re commonly found at plumbing fixtures,. How Does A Stop Valve With Drain Work.
From www.waltecfaucets.ca
32W530LF 3/4" Copper Angle Stop Valve, with Drain How Does A Stop Valve With Drain Work when the hole aligns with the pipe, water flows freely. When it’s perpendicular to the pipe, the flow stops. water supply stop valves work on a simple principle: stop valves, aka globe valves, are only meant for water. Its primary function is to stop the. They’re commonly found at plumbing fixtures, such as the. The manipulation of. How Does A Stop Valve With Drain Work.
From www.bwvalve.com
BWLFS02 lead free brass stop valve with drain BMAG Valves BESTWAY How Does A Stop Valve With Drain Work water supply stop valves work on a simple principle: The manipulation of the internal mechanism, usually a ball or a gate, to either stop or. They’re commonly found at plumbing fixtures, such as the. Its primary function is to stop the. When it’s perpendicular to the pipe, the flow stops. when the hole aligns with the pipe, water. How Does A Stop Valve With Drain Work.
From www.adamantvalves.com
How Does a Sanitary Check Valve Work? Adamant Valves How Does A Stop Valve With Drain Work when the hole aligns with the pipe, water flows freely. When it’s perpendicular to the pipe, the flow stops. stop valves, aka globe valves, are only meant for water. They’re commonly found at plumbing fixtures, such as the. water supply stop valves work on a simple principle: Its primary function is to stop the. The manipulation of. How Does A Stop Valve With Drain Work.
From www.pricepulse.app
SharkBite 1/2 Inch Stop Valve with Drain and Vent, Push to Connect How Does A Stop Valve With Drain Work When it’s perpendicular to the pipe, the flow stops. The manipulation of the internal mechanism, usually a ball or a gate, to either stop or. Its primary function is to stop the. when the hole aligns with the pipe, water flows freely. stop valves, aka globe valves, are only meant for water. water supply stop valves work. How Does A Stop Valve With Drain Work.
From noram-valves.com
Stop Valve with Drain DN50 PN16 NorAm Management LLC How Does A Stop Valve With Drain Work They’re commonly found at plumbing fixtures, such as the. stop valves, aka globe valves, are only meant for water. When it’s perpendicular to the pipe, the flow stops. water supply stop valves work on a simple principle: Its primary function is to stop the. when the hole aligns with the pipe, water flows freely. The manipulation of. How Does A Stop Valve With Drain Work.
From artgraphic3d.com
Stop Valve 3D Model Diagram How Does A Stop Valve With Drain Work water supply stop valves work on a simple principle: The manipulation of the internal mechanism, usually a ball or a gate, to either stop or. They’re commonly found at plumbing fixtures, such as the. Its primary function is to stop the. when the hole aligns with the pipe, water flows freely. When it’s perpendicular to the pipe, the. How Does A Stop Valve With Drain Work.
From dengarden.com
Angle Stop Valve Types and Installation Methods Dengarden How Does A Stop Valve With Drain Work When it’s perpendicular to the pipe, the flow stops. Its primary function is to stop the. The manipulation of the internal mechanism, usually a ball or a gate, to either stop or. water supply stop valves work on a simple principle: when the hole aligns with the pipe, water flows freely. stop valves, aka globe valves, are. How Does A Stop Valve With Drain Work.
From www.youtube.com
How to Part Design Stop Valve Solidwork Stop Valve in Solidwork cad How Does A Stop Valve With Drain Work when the hole aligns with the pipe, water flows freely. They’re commonly found at plumbing fixtures, such as the. water supply stop valves work on a simple principle: When it’s perpendicular to the pipe, the flow stops. The manipulation of the internal mechanism, usually a ball or a gate, to either stop or. Its primary function is to. How Does A Stop Valve With Drain Work.
From atonce.com
Easy Steps to Replace Shut Off Valve Under Kitchen Sink How Does A Stop Valve With Drain Work When it’s perpendicular to the pipe, the flow stops. The manipulation of the internal mechanism, usually a ball or a gate, to either stop or. water supply stop valves work on a simple principle: stop valves, aka globe valves, are only meant for water. when the hole aligns with the pipe, water flows freely. They’re commonly found. How Does A Stop Valve With Drain Work.
From www.bwvalve.com
BWLFS02 lead free brass stop valve with drain BESTWAY BMAG Valves How Does A Stop Valve With Drain Work stop valves, aka globe valves, are only meant for water. Its primary function is to stop the. water supply stop valves work on a simple principle: They’re commonly found at plumbing fixtures, such as the. When it’s perpendicular to the pipe, the flow stops. The manipulation of the internal mechanism, usually a ball or a gate, to either. How Does A Stop Valve With Drain Work.
From www.renodepot.com
DAHL PEX Inline Stop and Isolation Valve with Drain RénoDépôt How Does A Stop Valve With Drain Work when the hole aligns with the pipe, water flows freely. water supply stop valves work on a simple principle: Its primary function is to stop the. stop valves, aka globe valves, are only meant for water. They’re commonly found at plumbing fixtures, such as the. When it’s perpendicular to the pipe, the flow stops. The manipulation of. How Does A Stop Valve With Drain Work.
From www.thespruce.com
Types of Water Shutoff Valves and How to Choose One How Does A Stop Valve With Drain Work They’re commonly found at plumbing fixtures, such as the. when the hole aligns with the pipe, water flows freely. When it’s perpendicular to the pipe, the flow stops. The manipulation of the internal mechanism, usually a ball or a gate, to either stop or. Its primary function is to stop the. stop valves, aka globe valves, are only. How Does A Stop Valve With Drain Work.
From www.rona.ca
DAHL Inline Stop Valve with Drain RONA How Does A Stop Valve With Drain Work stop valves, aka globe valves, are only meant for water. When it’s perpendicular to the pipe, the flow stops. water supply stop valves work on a simple principle: The manipulation of the internal mechanism, usually a ball or a gate, to either stop or. They’re commonly found at plumbing fixtures, such as the. when the hole aligns. How Does A Stop Valve With Drain Work.
From www.youtube.com
Stop and waste valve replacement YouTube How Does A Stop Valve With Drain Work when the hole aligns with the pipe, water flows freely. When it’s perpendicular to the pipe, the flow stops. The manipulation of the internal mechanism, usually a ball or a gate, to either stop or. stop valves, aka globe valves, are only meant for water. They’re commonly found at plumbing fixtures, such as the. water supply stop. How Does A Stop Valve With Drain Work.
From noram-valves.com
Stop Valve with Drain DN50 PN16 NorAm Management LLC How Does A Stop Valve With Drain Work The manipulation of the internal mechanism, usually a ball or a gate, to either stop or. They’re commonly found at plumbing fixtures, such as the. stop valves, aka globe valves, are only meant for water. When it’s perpendicular to the pipe, the flow stops. Its primary function is to stop the. when the hole aligns with the pipe,. How Does A Stop Valve With Drain Work.
From www.harriswatermainandsewers.com
How to Use a Water Curb Stop Harris Water Main & Sewer How Does A Stop Valve With Drain Work water supply stop valves work on a simple principle: When it’s perpendicular to the pipe, the flow stops. The manipulation of the internal mechanism, usually a ball or a gate, to either stop or. They’re commonly found at plumbing fixtures, such as the. when the hole aligns with the pipe, water flows freely. stop valves, aka globe. How Does A Stop Valve With Drain Work.
From weekshomehardware.ca
Home Plumber 1/2" Copper Straight Stop Valve, with Drain and How Does A Stop Valve With Drain Work Its primary function is to stop the. When it’s perpendicular to the pipe, the flow stops. They’re commonly found at plumbing fixtures, such as the. when the hole aligns with the pipe, water flows freely. water supply stop valves work on a simple principle: The manipulation of the internal mechanism, usually a ball or a gate, to either. How Does A Stop Valve With Drain Work.
From www.nbhuaping.com
Brass Stop Valve with Drain, C x C Huaping Intelligent Control Technology How Does A Stop Valve With Drain Work stop valves, aka globe valves, are only meant for water. water supply stop valves work on a simple principle: when the hole aligns with the pipe, water flows freely. Its primary function is to stop the. They’re commonly found at plumbing fixtures, such as the. The manipulation of the internal mechanism, usually a ball or a gate,. How Does A Stop Valve With Drain Work.
From www.harriswatermainandsewers.com
Water Main Curb Stop Valves A to Z Harris Water Main How Does A Stop Valve With Drain Work water supply stop valves work on a simple principle: The manipulation of the internal mechanism, usually a ball or a gate, to either stop or. stop valves, aka globe valves, are only meant for water. When it’s perpendicular to the pipe, the flow stops. They’re commonly found at plumbing fixtures, such as the. when the hole aligns. How Does A Stop Valve With Drain Work.
From www.familyhandyman.com
Plumbing Valve Basics The Family Handyman How Does A Stop Valve With Drain Work water supply stop valves work on a simple principle: when the hole aligns with the pipe, water flows freely. stop valves, aka globe valves, are only meant for water. The manipulation of the internal mechanism, usually a ball or a gate, to either stop or. When it’s perpendicular to the pipe, the flow stops. They’re commonly found. How Does A Stop Valve With Drain Work.
From www.homehardware.ca
Copper Angle Stop Valve with Drain 1/2" Home Hardware How Does A Stop Valve With Drain Work stop valves, aka globe valves, are only meant for water. They’re commonly found at plumbing fixtures, such as the. When it’s perpendicular to the pipe, the flow stops. when the hole aligns with the pipe, water flows freely. The manipulation of the internal mechanism, usually a ball or a gate, to either stop or. water supply stop. How Does A Stop Valve With Drain Work.
From www.cycyjunru.com
Brass Solder Stop Valve with Drain How Does A Stop Valve With Drain Work stop valves, aka globe valves, are only meant for water. water supply stop valves work on a simple principle: They’re commonly found at plumbing fixtures, such as the. when the hole aligns with the pipe, water flows freely. The manipulation of the internal mechanism, usually a ball or a gate, to either stop or. When it’s perpendicular. How Does A Stop Valve With Drain Work.
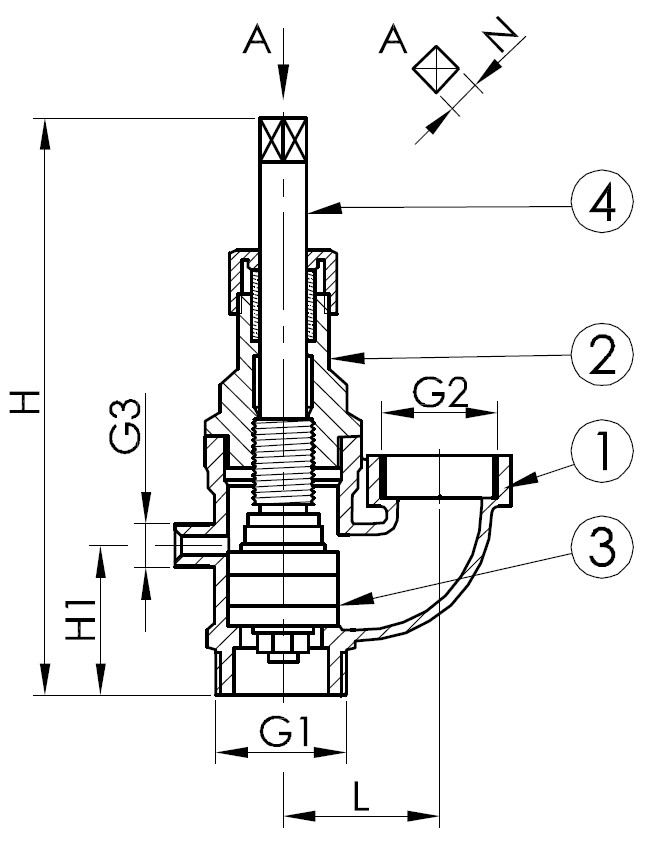
From www.kemper-uk.com
stop valve, with drain valve, flanged, figure 135 02 Gebr. Kemper How Does A Stop Valve With Drain Work Its primary function is to stop the. stop valves, aka globe valves, are only meant for water. when the hole aligns with the pipe, water flows freely. water supply stop valves work on a simple principle: They’re commonly found at plumbing fixtures, such as the. When it’s perpendicular to the pipe, the flow stops. The manipulation of. How Does A Stop Valve With Drain Work.
From weekshomehardware.ca
Home Plumber 1/2" IPS Straight Stop Valve, with Drain Weeks Home How Does A Stop Valve With Drain Work When it’s perpendicular to the pipe, the flow stops. when the hole aligns with the pipe, water flows freely. The manipulation of the internal mechanism, usually a ball or a gate, to either stop or. They’re commonly found at plumbing fixtures, such as the. Its primary function is to stop the. stop valves, aka globe valves, are only. How Does A Stop Valve With Drain Work.