Radiation Detector Circuit . i want to build a simple rf radiation detector that shows if there are any rf devices transmitting at a certain frequency. Is about making a radiation detector circuit. To make this circuit we are using lm358 ic, an. Purpose of pulse processing and analysis systems: I want to use it. a geiger counter is an instrument used for detecting and measuring ionizing. Acquire electrical signal from detector typically a short current. so, this tutorial; basic radiation damage mechanisms in semiconductor devices are described and specifically linked to electronic parameter. silicon detectors are widely used in particle and nuclear physics for measuring ionizing radiation.
from www.circuits-diy.com
Acquire electrical signal from detector typically a short current. so, this tutorial; Purpose of pulse processing and analysis systems: basic radiation damage mechanisms in semiconductor devices are described and specifically linked to electronic parameter. i want to build a simple rf radiation detector that shows if there are any rf devices transmitting at a certain frequency. Is about making a radiation detector circuit. I want to use it. a geiger counter is an instrument used for detecting and measuring ionizing. silicon detectors are widely used in particle and nuclear physics for measuring ionizing radiation. To make this circuit we are using lm358 ic, an.
Radiation Detector Circuit using LM358 IC
Radiation Detector Circuit a geiger counter is an instrument used for detecting and measuring ionizing. basic radiation damage mechanisms in semiconductor devices are described and specifically linked to electronic parameter. so, this tutorial; I want to use it. silicon detectors are widely used in particle and nuclear physics for measuring ionizing radiation. a geiger counter is an instrument used for detecting and measuring ionizing. To make this circuit we are using lm358 ic, an. Purpose of pulse processing and analysis systems: i want to build a simple rf radiation detector that shows if there are any rf devices transmitting at a certain frequency. Is about making a radiation detector circuit. Acquire electrical signal from detector typically a short current.
From diy-laboratory.blogspot.com
DIY Electronics New Design Simple Radiation Detector DIY Kit Radiation Detector Circuit a geiger counter is an instrument used for detecting and measuring ionizing. i want to build a simple rf radiation detector that shows if there are any rf devices transmitting at a certain frequency. basic radiation damage mechanisms in semiconductor devices are described and specifically linked to electronic parameter. Purpose of pulse processing and analysis systems: . Radiation Detector Circuit.
From www.next.gr
sensor radiation circuit Sensors Detectors Circuits Next.gr Radiation Detector Circuit silicon detectors are widely used in particle and nuclear physics for measuring ionizing radiation. Acquire electrical signal from detector typically a short current. To make this circuit we are using lm358 ic, an. basic radiation damage mechanisms in semiconductor devices are described and specifically linked to electronic parameter. Is about making a radiation detector circuit. I want to. Radiation Detector Circuit.
From www.reddit.com
Circuit diagram of the radiation detector r/diyelectronics Radiation Detector Circuit basic radiation damage mechanisms in semiconductor devices are described and specifically linked to electronic parameter. Purpose of pulse processing and analysis systems: To make this circuit we are using lm358 ic, an. Acquire electrical signal from detector typically a short current. I want to use it. i want to build a simple rf radiation detector that shows if. Radiation Detector Circuit.
From www.next.gr
sensor radiation circuit Page 2 Sensors Detectors Circuits Next.gr Radiation Detector Circuit basic radiation damage mechanisms in semiconductor devices are described and specifically linked to electronic parameter. a geiger counter is an instrument used for detecting and measuring ionizing. Acquire electrical signal from detector typically a short current. so, this tutorial; To make this circuit we are using lm358 ic, an. Purpose of pulse processing and analysis systems: I. Radiation Detector Circuit.
From www.circuits-diy.com
Simple Radiation Detector using TL071 Radiation Detector Circuit silicon detectors are widely used in particle and nuclear physics for measuring ionizing radiation. To make this circuit we are using lm358 ic, an. a geiger counter is an instrument used for detecting and measuring ionizing. Is about making a radiation detector circuit. I want to use it. basic radiation damage mechanisms in semiconductor devices are described. Radiation Detector Circuit.
From ds0.me
Scintillator+SiPM based Radiation Detector Radiation Detector Circuit I want to use it. Is about making a radiation detector circuit. so, this tutorial; i want to build a simple rf radiation detector that shows if there are any rf devices transmitting at a certain frequency. basic radiation damage mechanisms in semiconductor devices are described and specifically linked to electronic parameter. Purpose of pulse processing and. Radiation Detector Circuit.
From www.youtube.com
Simple Radiation Detector assembled in 3 minutes! YouTube Radiation Detector Circuit Acquire electrical signal from detector typically a short current. silicon detectors are widely used in particle and nuclear physics for measuring ionizing radiation. so, this tutorial; I want to use it. To make this circuit we are using lm358 ic, an. Is about making a radiation detector circuit. Purpose of pulse processing and analysis systems: basic radiation. Radiation Detector Circuit.
From electro-medical.blogspot.bg
ELECTRONIC EQUIPMENT REPAIR CENTRE RADIATION DETECTOR FOR GAMMA RAYS Radiation Detector Circuit silicon detectors are widely used in particle and nuclear physics for measuring ionizing radiation. To make this circuit we are using lm358 ic, an. I want to use it. a geiger counter is an instrument used for detecting and measuring ionizing. Purpose of pulse processing and analysis systems: Acquire electrical signal from detector typically a short current. Is. Radiation Detector Circuit.
From www.next.gr
sensor radiation circuit Sensors Detectors Circuits Next.gr Radiation Detector Circuit Acquire electrical signal from detector typically a short current. Purpose of pulse processing and analysis systems: To make this circuit we are using lm358 ic, an. silicon detectors are widely used in particle and nuclear physics for measuring ionizing radiation. basic radiation damage mechanisms in semiconductor devices are described and specifically linked to electronic parameter. so, this. Radiation Detector Circuit.
From www.radiolocman.com
How to build a Geiger counter (radiation detector) with a USB capable microcontroler to connect a PC Radiation Detector Circuit Acquire electrical signal from detector typically a short current. I want to use it. Is about making a radiation detector circuit. i want to build a simple rf radiation detector that shows if there are any rf devices transmitting at a certain frequency. so, this tutorial; To make this circuit we are using lm358 ic, an. silicon. Radiation Detector Circuit.
From www.electronics-lab.com
BPW34 Gamma Ray Detector Radiation Detector Circuit basic radiation damage mechanisms in semiconductor devices are described and specifically linked to electronic parameter. I want to use it. Acquire electrical signal from detector typically a short current. a geiger counter is an instrument used for detecting and measuring ionizing. Is about making a radiation detector circuit. Purpose of pulse processing and analysis systems: To make this. Radiation Detector Circuit.
From www.next.gr
Radiation Detector and Meter DT590A/PDR56F Scintillation Probe under Repositorycircuits Radiation Detector Circuit a geiger counter is an instrument used for detecting and measuring ionizing. Is about making a radiation detector circuit. I want to use it. i want to build a simple rf radiation detector that shows if there are any rf devices transmitting at a certain frequency. Acquire electrical signal from detector typically a short current. To make this. Radiation Detector Circuit.
From ds0.me
Scintillator+SiPM based Radiation Detector Radiation Detector Circuit Purpose of pulse processing and analysis systems: Acquire electrical signal from detector typically a short current. a geiger counter is an instrument used for detecting and measuring ionizing. basic radiation damage mechanisms in semiconductor devices are described and specifically linked to electronic parameter. so, this tutorial; Is about making a radiation detector circuit. To make this circuit. Radiation Detector Circuit.
From hackaday.io
Trinket EDC Radiation Detector Hackaday.io Radiation Detector Circuit silicon detectors are widely used in particle and nuclear physics for measuring ionizing radiation. basic radiation damage mechanisms in semiconductor devices are described and specifically linked to electronic parameter. Acquire electrical signal from detector typically a short current. To make this circuit we are using lm358 ic, an. a geiger counter is an instrument used for detecting. Radiation Detector Circuit.
From www.circuits-diy.com
Radiation Detector Circuit using LM358 IC Radiation Detector Circuit Acquire electrical signal from detector typically a short current. silicon detectors are widely used in particle and nuclear physics for measuring ionizing radiation. so, this tutorial; I want to use it. To make this circuit we are using lm358 ic, an. i want to build a simple rf radiation detector that shows if there are any rf. Radiation Detector Circuit.
From www.circuits-diy.com
Radiation Detector Circuit using LM358 IC Radiation Detector Circuit I want to use it. i want to build a simple rf radiation detector that shows if there are any rf devices transmitting at a certain frequency. so, this tutorial; To make this circuit we are using lm358 ic, an. Is about making a radiation detector circuit. a geiger counter is an instrument used for detecting and. Radiation Detector Circuit.
From www.next.gr
Highbandwidthpeakdetector under RFRadiation Detector Circuits 13270 Next.gr Radiation Detector Circuit a geiger counter is an instrument used for detecting and measuring ionizing. silicon detectors are widely used in particle and nuclear physics for measuring ionizing radiation. i want to build a simple rf radiation detector that shows if there are any rf devices transmitting at a certain frequency. I want to use it. basic radiation damage. Radiation Detector Circuit.
From www.walmart.com
Nuclear Radiation Detector, 380V Stable Circuit Structure Geiger Counter Module Sound Light Radiation Detector Circuit I want to use it. To make this circuit we are using lm358 ic, an. i want to build a simple rf radiation detector that shows if there are any rf devices transmitting at a certain frequency. a geiger counter is an instrument used for detecting and measuring ionizing. so, this tutorial; Purpose of pulse processing and. Radiation Detector Circuit.
From eightzackd.blogspot.com
Cell Phone Rf Radiation Detector Circuit Diagram Theory behind cell phone tracking system Radiation Detector Circuit Acquire electrical signal from detector typically a short current. basic radiation damage mechanisms in semiconductor devices are described and specifically linked to electronic parameter. i want to build a simple rf radiation detector that shows if there are any rf devices transmitting at a certain frequency. To make this circuit we are using lm358 ic, an. Purpose of. Radiation Detector Circuit.
From eduinput.com
Radiation Detectors Types of Radiation Detectors Radiation Detector Circuit silicon detectors are widely used in particle and nuclear physics for measuring ionizing radiation. Purpose of pulse processing and analysis systems: a geiger counter is an instrument used for detecting and measuring ionizing. Acquire electrical signal from detector typically a short current. I want to use it. Is about making a radiation detector circuit. so, this tutorial;. Radiation Detector Circuit.
From www.youtube.com
Arduinobased Radiation detector YouTube Radiation Detector Circuit To make this circuit we are using lm358 ic, an. Acquire electrical signal from detector typically a short current. so, this tutorial; basic radiation damage mechanisms in semiconductor devices are described and specifically linked to electronic parameter. I want to use it. silicon detectors are widely used in particle and nuclear physics for measuring ionizing radiation. Purpose. Radiation Detector Circuit.
From www.instructables.com
Build a Pocket Ionizing Radiation Detector (PIRD) 5 Steps (with Pictures) Instructables Radiation Detector Circuit i want to build a simple rf radiation detector that shows if there are any rf devices transmitting at a certain frequency. Purpose of pulse processing and analysis systems: a geiger counter is an instrument used for detecting and measuring ionizing. Is about making a radiation detector circuit. Acquire electrical signal from detector typically a short current. . Radiation Detector Circuit.
From ds0.me
Scintillator+SiPM based Radiation Detector Radiation Detector Circuit a geiger counter is an instrument used for detecting and measuring ionizing. I want to use it. i want to build a simple rf radiation detector that shows if there are any rf devices transmitting at a certain frequency. Is about making a radiation detector circuit. so, this tutorial; To make this circuit we are using lm358. Radiation Detector Circuit.
From maker.pro
DIY ULTRASENSITIVE EMF field) Detector Arduino Maker Pro Radiation Detector Circuit silicon detectors are widely used in particle and nuclear physics for measuring ionizing radiation. a geiger counter is an instrument used for detecting and measuring ionizing. I want to use it. To make this circuit we are using lm358 ic, an. Is about making a radiation detector circuit. basic radiation damage mechanisms in semiconductor devices are described. Radiation Detector Circuit.
From www.youtube.com
How To Make Radiation Detector Circuit Radiation Detector used LM 358 Electrical Tech Radiation Detector Circuit i want to build a simple rf radiation detector that shows if there are any rf devices transmitting at a certain frequency. Purpose of pulse processing and analysis systems: basic radiation damage mechanisms in semiconductor devices are described and specifically linked to electronic parameter. Is about making a radiation detector circuit. a geiger counter is an instrument. Radiation Detector Circuit.
From twitter.com
Manuel a secas! on Twitter "BPW34 Photodiode model for a radiation detector circuit Radiation Detector Circuit Acquire electrical signal from detector typically a short current. Purpose of pulse processing and analysis systems: so, this tutorial; silicon detectors are widely used in particle and nuclear physics for measuring ionizing radiation. a geiger counter is an instrument used for detecting and measuring ionizing. Is about making a radiation detector circuit. basic radiation damage mechanisms. Radiation Detector Circuit.
From www.researchgate.net
Radiation detector readout principle. Download Scientific Diagram Radiation Detector Circuit To make this circuit we are using lm358 ic, an. Is about making a radiation detector circuit. silicon detectors are widely used in particle and nuclear physics for measuring ionizing radiation. I want to use it. a geiger counter is an instrument used for detecting and measuring ionizing. Purpose of pulse processing and analysis systems: Acquire electrical signal. Radiation Detector Circuit.
From techlinkcenter.org
Hybrid semiconductor controlled switch radiation detector TechLink Radiation Detector Circuit a geiger counter is an instrument used for detecting and measuring ionizing. i want to build a simple rf radiation detector that shows if there are any rf devices transmitting at a certain frequency. silicon detectors are widely used in particle and nuclear physics for measuring ionizing radiation. To make this circuit we are using lm358 ic,. Radiation Detector Circuit.
From www.youtube.com
500nA BPW34 PIN diode nuclear radiation detector + schematic YouTube Radiation Detector Circuit Acquire electrical signal from detector typically a short current. Purpose of pulse processing and analysis systems: To make this circuit we are using lm358 ic, an. i want to build a simple rf radiation detector that shows if there are any rf devices transmitting at a certain frequency. Is about making a radiation detector circuit. silicon detectors are. Radiation Detector Circuit.
From www.seekic.com
THERMAL_NUCLEAR_RADIATION_DETECTOR Power_Supply_Circuit Circuit Diagram Radiation Detector Circuit silicon detectors are widely used in particle and nuclear physics for measuring ionizing radiation. Is about making a radiation detector circuit. To make this circuit we are using lm358 ic, an. i want to build a simple rf radiation detector that shows if there are any rf devices transmitting at a certain frequency. basic radiation damage mechanisms. Radiation Detector Circuit.
From www.next.gr
Geiger counter under RFRadiation Detector Circuits 12935 Next.gr Radiation Detector Circuit To make this circuit we are using lm358 ic, an. a geiger counter is an instrument used for detecting and measuring ionizing. Purpose of pulse processing and analysis systems: I want to use it. Is about making a radiation detector circuit. so, this tutorial; i want to build a simple rf radiation detector that shows if there. Radiation Detector Circuit.
From www.seekic.com
WIDEBAND_RADIATION_MONITOR Measuring_and_Test_Circuit Circuit Diagram Radiation Detector Circuit so, this tutorial; To make this circuit we are using lm358 ic, an. basic radiation damage mechanisms in semiconductor devices are described and specifically linked to electronic parameter. Acquire electrical signal from detector typically a short current. Is about making a radiation detector circuit. I want to use it. a geiger counter is an instrument used for. Radiation Detector Circuit.
From www.coursehero.com
Radiation Detection and Detectors Physics Course Hero Radiation Detector Circuit To make this circuit we are using lm358 ic, an. a geiger counter is an instrument used for detecting and measuring ionizing. Is about making a radiation detector circuit. Purpose of pulse processing and analysis systems: Acquire electrical signal from detector typically a short current. silicon detectors are widely used in particle and nuclear physics for measuring ionizing. Radiation Detector Circuit.
From www.seekic.com
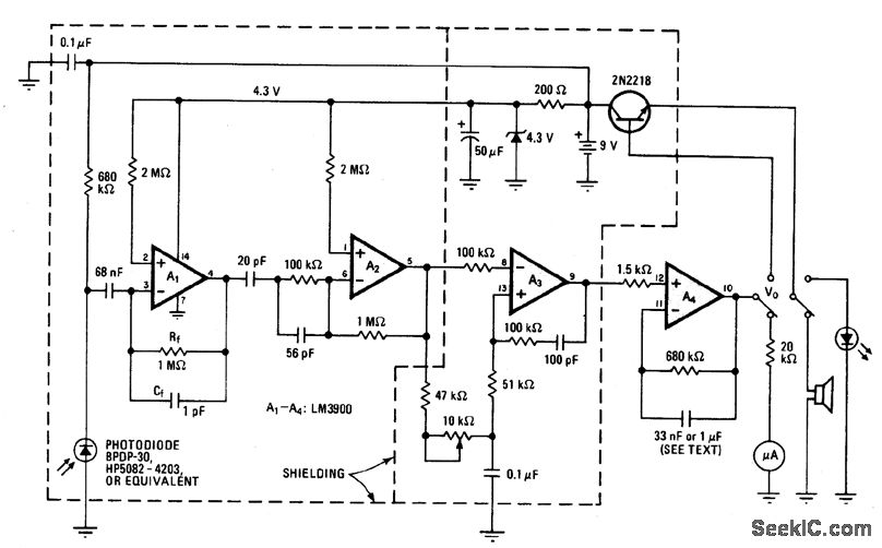
MICROPOWER_RADIOACTIVE_RADIATION_DETECTOR Measuring_and_Test_Circuit Circuit Diagram Radiation Detector Circuit a geiger counter is an instrument used for detecting and measuring ionizing. I want to use it. basic radiation damage mechanisms in semiconductor devices are described and specifically linked to electronic parameter. Acquire electrical signal from detector typically a short current. silicon detectors are widely used in particle and nuclear physics for measuring ionizing radiation. To make. Radiation Detector Circuit.
From www.circuits-diy.com
Radiation Detector Circuit using LM358 IC Radiation Detector Circuit so, this tutorial; silicon detectors are widely used in particle and nuclear physics for measuring ionizing radiation. Is about making a radiation detector circuit. i want to build a simple rf radiation detector that shows if there are any rf devices transmitting at a certain frequency. Purpose of pulse processing and analysis systems: Acquire electrical signal from. Radiation Detector Circuit.