Fuel Filter Change Vw Passat Tdi . If you want to change or replace the fuel filter on vw passat b7 2.0 tdi, you should follow just 5 simple steps. Watch the video tutorial below. Is there a bleed prodecure. The fuel filter should be drained of water every 10,000 miles and replaced every 20,000 miles in your b5 vw passat tdi. Dealer's wanting $40 for the part and $100 for labor. Do you simply open the canister, pop the seal, and replace the cartridge? Don't take it too the. It looks like a simple pull and replace per some youtube vids. I am very capable of changing the fuel filter as i've seen it done, i don't have the ability to prime the fp. This video is a quick and easy fuel filter change on the vw passat 2.0l tdi. Also shown is fuel filter. My question is can this be done in the driveway. What is the procedure to change out the fuel filter on these new cars?
from www.ilcats.ru
I am very capable of changing the fuel filter as i've seen it done, i don't have the ability to prime the fp. If you want to change or replace the fuel filter on vw passat b7 2.0 tdi, you should follow just 5 simple steps. What is the procedure to change out the fuel filter on these new cars? The fuel filter should be drained of water every 10,000 miles and replaced every 20,000 miles in your b5 vw passat tdi. Also shown is fuel filter. My question is can this be done in the driveway. Is there a bleed prodecure. Don't take it too the. Do you simply open the canister, pop the seal, and replace the cartridge? It looks like a simple pull and replace per some youtube vids.
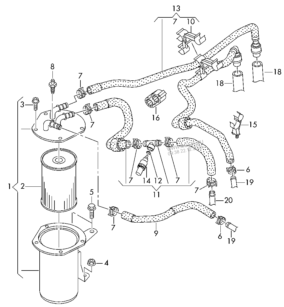
fuel filter VW PASSAT
Fuel Filter Change Vw Passat Tdi Is there a bleed prodecure. What is the procedure to change out the fuel filter on these new cars? This video is a quick and easy fuel filter change on the vw passat 2.0l tdi. Dealer's wanting $40 for the part and $100 for labor. Watch the video tutorial below. It looks like a simple pull and replace per some youtube vids. Is there a bleed prodecure. Also shown is fuel filter. If you want to change or replace the fuel filter on vw passat b7 2.0 tdi, you should follow just 5 simple steps. Don't take it too the. I am very capable of changing the fuel filter as i've seen it done, i don't have the ability to prime the fp. My question is can this be done in the driveway. Do you simply open the canister, pop the seal, and replace the cartridge? The fuel filter should be drained of water every 10,000 miles and replaced every 20,000 miles in your b5 vw passat tdi.
From www.myturbodiesel.com
How to change the fuel filter 2004 2005 VW Passat TDI Fuel Filter Change Vw Passat Tdi I am very capable of changing the fuel filter as i've seen it done, i don't have the ability to prime the fp. It looks like a simple pull and replace per some youtube vids. Also shown is fuel filter. If you want to change or replace the fuel filter on vw passat b7 2.0 tdi, you should follow just. Fuel Filter Change Vw Passat Tdi.
From www.paulstravelpictures.com
20142016VWPassatTSIEngineOilChangeFilterReplacementGuide034 Fuel Filter Change Vw Passat Tdi The fuel filter should be drained of water every 10,000 miles and replaced every 20,000 miles in your b5 vw passat tdi. Is there a bleed prodecure. It looks like a simple pull and replace per some youtube vids. Watch the video tutorial below. I am very capable of changing the fuel filter as i've seen it done, i don't. Fuel Filter Change Vw Passat Tdi.
From club.autodoc.co.uk
How to change fuel filter on VW Passat B5 Variant petrol replacement Fuel Filter Change Vw Passat Tdi It looks like a simple pull and replace per some youtube vids. Do you simply open the canister, pop the seal, and replace the cartridge? Don't take it too the. The fuel filter should be drained of water every 10,000 miles and replaced every 20,000 miles in your b5 vw passat tdi. This video is a quick and easy fuel. Fuel Filter Change Vw Passat Tdi.
From www.paulstravelpictures.com
20142016VWPassatTSIEngineOilChangeFilterReplacementGuide041 Fuel Filter Change Vw Passat Tdi It looks like a simple pull and replace per some youtube vids. Don't take it too the. I am very capable of changing the fuel filter as i've seen it done, i don't have the ability to prime the fp. Dealer's wanting $40 for the part and $100 for labor. My question is can this be done in the driveway.. Fuel Filter Change Vw Passat Tdi.
From www.youtube.com
2012 VW Passat TDI TopSide Oil, Oil Filter, and Fuel Filter Change Fuel Filter Change Vw Passat Tdi What is the procedure to change out the fuel filter on these new cars? Don't take it too the. Dealer's wanting $40 for the part and $100 for labor. Do you simply open the canister, pop the seal, and replace the cartridge? The fuel filter should be drained of water every 10,000 miles and replaced every 20,000 miles in your. Fuel Filter Change Vw Passat Tdi.
From www.servicetutorials.com
How to replace / change oil filter VW Passat B7 TDI in 12 steps. VIDEO Fuel Filter Change Vw Passat Tdi I am very capable of changing the fuel filter as i've seen it done, i don't have the ability to prime the fp. Watch the video tutorial below. Dealer's wanting $40 for the part and $100 for labor. What is the procedure to change out the fuel filter on these new cars? It looks like a simple pull and replace. Fuel Filter Change Vw Passat Tdi.
From jimellisvwparts.com
2002 Volkswagen Passat Fuel line fuel filter Fuel Filter Change Vw Passat Tdi This video is a quick and easy fuel filter change on the vw passat 2.0l tdi. My question is can this be done in the driveway. Don't take it too the. If you want to change or replace the fuel filter on vw passat b7 2.0 tdi, you should follow just 5 simple steps. Dealer's wanting $40 for the part. Fuel Filter Change Vw Passat Tdi.
From club.autodoc.co.uk
How to change fuel filter on VW Passat B5 Variant petrol replacement Fuel Filter Change Vw Passat Tdi It looks like a simple pull and replace per some youtube vids. Do you simply open the canister, pop the seal, and replace the cartridge? Dealer's wanting $40 for the part and $100 for labor. Is there a bleed prodecure. Also shown is fuel filter. Don't take it too the. The fuel filter should be drained of water every 10,000. Fuel Filter Change Vw Passat Tdi.
From www.youtube.com
VW Passat Fuel Filter Change YouTube Fuel Filter Change Vw Passat Tdi This video is a quick and easy fuel filter change on the vw passat 2.0l tdi. Dealer's wanting $40 for the part and $100 for labor. I am very capable of changing the fuel filter as i've seen it done, i don't have the ability to prime the fp. The fuel filter should be drained of water every 10,000 miles. Fuel Filter Change Vw Passat Tdi.
From www.partsplaceinc.com
VW Passat TDI CKRA Fuel Filter Free Tech Help Fuel Filter Change Vw Passat Tdi What is the procedure to change out the fuel filter on these new cars? Do you simply open the canister, pop the seal, and replace the cartridge? If you want to change or replace the fuel filter on vw passat b7 2.0 tdi, you should follow just 5 simple steps. Is there a bleed prodecure. My question is can this. Fuel Filter Change Vw Passat Tdi.
From www.youtube.com
VW Passat How to Change Air filter Fitting Replacement Filter B6 2005 Fuel Filter Change Vw Passat Tdi The fuel filter should be drained of water every 10,000 miles and replaced every 20,000 miles in your b5 vw passat tdi. My question is can this be done in the driveway. This video is a quick and easy fuel filter change on the vw passat 2.0l tdi. If you want to change or replace the fuel filter on vw. Fuel Filter Change Vw Passat Tdi.
From www.youtube.com
How to change the Oil Filter 2L TDi Diesel Audi VW SEAT Skoda 2 litre Fuel Filter Change Vw Passat Tdi Dealer's wanting $40 for the part and $100 for labor. Also shown is fuel filter. My question is can this be done in the driveway. Do you simply open the canister, pop the seal, and replace the cartridge? Don't take it too the. If you want to change or replace the fuel filter on vw passat b7 2.0 tdi, you. Fuel Filter Change Vw Passat Tdi.
From www.myturbodiesel.com
How to change the fuel filter 2004 2005 VW Passat TDI Fuel Filter Change Vw Passat Tdi Dealer's wanting $40 for the part and $100 for labor. If you want to change or replace the fuel filter on vw passat b7 2.0 tdi, you should follow just 5 simple steps. Watch the video tutorial below. Don't take it too the. Also shown is fuel filter. Do you simply open the canister, pop the seal, and replace the. Fuel Filter Change Vw Passat Tdi.
From www.youtube.com
VW Passat B6 20052010 TDI Diesel Fuel filter Change Service YouTube Fuel Filter Change Vw Passat Tdi It looks like a simple pull and replace per some youtube vids. If you want to change or replace the fuel filter on vw passat b7 2.0 tdi, you should follow just 5 simple steps. This video is a quick and easy fuel filter change on the vw passat 2.0l tdi. Watch the video tutorial below. Also shown is fuel. Fuel Filter Change Vw Passat Tdi.
From www.servicetutorials.com
How to replace / change fuel filter VW Passat B7 TDI in 5 steps. VIDEO Fuel Filter Change Vw Passat Tdi Is there a bleed prodecure. Dealer's wanting $40 for the part and $100 for labor. Also shown is fuel filter. My question is can this be done in the driveway. What is the procedure to change out the fuel filter on these new cars? This video is a quick and easy fuel filter change on the vw passat 2.0l tdi.. Fuel Filter Change Vw Passat Tdi.
From www.paulstravelpictures.com
20142016VWPassatTSIEngineOilChangeFilterReplacementGuide042 Fuel Filter Change Vw Passat Tdi Watch the video tutorial below. The fuel filter should be drained of water every 10,000 miles and replaced every 20,000 miles in your b5 vw passat tdi. My question is can this be done in the driveway. What is the procedure to change out the fuel filter on these new cars? It looks like a simple pull and replace per. Fuel Filter Change Vw Passat Tdi.
From www.jimellisvwparts.com
2012 Volkswagen Passat CC Clip. Common 5N0133687A Jim Ellis Fuel Filter Change Vw Passat Tdi What is the procedure to change out the fuel filter on these new cars? It looks like a simple pull and replace per some youtube vids. Is there a bleed prodecure. I am very capable of changing the fuel filter as i've seen it done, i don't have the ability to prime the fp. If you want to change or. Fuel Filter Change Vw Passat Tdi.
From www.youtube.com
2012 2014 Passat TDI Fuel Filter Change Procedure YouTube Fuel Filter Change Vw Passat Tdi I am very capable of changing the fuel filter as i've seen it done, i don't have the ability to prime the fp. Do you simply open the canister, pop the seal, and replace the cartridge? What is the procedure to change out the fuel filter on these new cars? This video is a quick and easy fuel filter change. Fuel Filter Change Vw Passat Tdi.
From www.youtube.com
Changing fuel filter on a 2013 VW Passat TDI YouTube Fuel Filter Change Vw Passat Tdi The fuel filter should be drained of water every 10,000 miles and replaced every 20,000 miles in your b5 vw passat tdi. I am very capable of changing the fuel filter as i've seen it done, i don't have the ability to prime the fp. My question is can this be done in the driveway. Dealer's wanting $40 for the. Fuel Filter Change Vw Passat Tdi.
From mzaercowboy.weebly.com
Tdi fuel filter change without vcds mzaercowboy Fuel Filter Change Vw Passat Tdi This video is a quick and easy fuel filter change on the vw passat 2.0l tdi. If you want to change or replace the fuel filter on vw passat b7 2.0 tdi, you should follow just 5 simple steps. Is there a bleed prodecure. Watch the video tutorial below. The fuel filter should be drained of water every 10,000 miles. Fuel Filter Change Vw Passat Tdi.
From cegnhzgo.blob.core.windows.net
Audi A3 Diesel Fuel Filter Change at Doris Fletcher blog Fuel Filter Change Vw Passat Tdi This video is a quick and easy fuel filter change on the vw passat 2.0l tdi. Do you simply open the canister, pop the seal, and replace the cartridge? My question is can this be done in the driveway. What is the procedure to change out the fuel filter on these new cars? If you want to change or replace. Fuel Filter Change Vw Passat Tdi.
From www.youtube.com
20122015 VW Passat TDI B7 Fuel Filter Replacement (Fast Method) No Fuel Filter Change Vw Passat Tdi Do you simply open the canister, pop the seal, and replace the cartridge? If you want to change or replace the fuel filter on vw passat b7 2.0 tdi, you should follow just 5 simple steps. Is there a bleed prodecure. I am very capable of changing the fuel filter as i've seen it done, i don't have the ability. Fuel Filter Change Vw Passat Tdi.
From www.youtube.com
How to DIY oil change on VW Passat TDI, somewhat similar on Volkswagen Fuel Filter Change Vw Passat Tdi Don't take it too the. This video is a quick and easy fuel filter change on the vw passat 2.0l tdi. The fuel filter should be drained of water every 10,000 miles and replaced every 20,000 miles in your b5 vw passat tdi. Dealer's wanting $40 for the part and $100 for labor. I am very capable of changing the. Fuel Filter Change Vw Passat Tdi.
From www.myturbodiesel.com
How to change the fuel filter 2004 2005 VW Passat TDI Fuel Filter Change Vw Passat Tdi I am very capable of changing the fuel filter as i've seen it done, i don't have the ability to prime the fp. This video is a quick and easy fuel filter change on the vw passat 2.0l tdi. It looks like a simple pull and replace per some youtube vids. Dealer's wanting $40 for the part and $100 for. Fuel Filter Change Vw Passat Tdi.
From www.paulstravelpictures.com
20142016VWPassatTSIEngineOilChangeFilterReplacementGuide037 Fuel Filter Change Vw Passat Tdi This video is a quick and easy fuel filter change on the vw passat 2.0l tdi. I am very capable of changing the fuel filter as i've seen it done, i don't have the ability to prime the fp. Also shown is fuel filter. If you want to change or replace the fuel filter on vw passat b7 2.0 tdi,. Fuel Filter Change Vw Passat Tdi.
From www.youtube.com
How to change fuel filter on VW PASSAT B5+ TUTORIAL AUTODOC YouTube Fuel Filter Change Vw Passat Tdi Also shown is fuel filter. Watch the video tutorial below. If you want to change or replace the fuel filter on vw passat b7 2.0 tdi, you should follow just 5 simple steps. What is the procedure to change out the fuel filter on these new cars? The fuel filter should be drained of water every 10,000 miles and replaced. Fuel Filter Change Vw Passat Tdi.
From kladsyqmv.blob.core.windows.net
Fuel Filter Location Golf at Katherine Herrera blog Fuel Filter Change Vw Passat Tdi If you want to change or replace the fuel filter on vw passat b7 2.0 tdi, you should follow just 5 simple steps. Watch the video tutorial below. This video is a quick and easy fuel filter change on the vw passat 2.0l tdi. The fuel filter should be drained of water every 10,000 miles and replaced every 20,000 miles. Fuel Filter Change Vw Passat Tdi.
From www.servicetutorials.com
How to replace oil filter on VW Golf Mk5, Passat B6, Jetta TDI in 6 steps Fuel Filter Change Vw Passat Tdi Also shown is fuel filter. Do you simply open the canister, pop the seal, and replace the cartridge? If you want to change or replace the fuel filter on vw passat b7 2.0 tdi, you should follow just 5 simple steps. The fuel filter should be drained of water every 10,000 miles and replaced every 20,000 miles in your b5. Fuel Filter Change Vw Passat Tdi.
From diagramlibelfriede.z21.web.core.windows.net
Vw Jetta Tdi Performance Parts Fuel Filter Change Vw Passat Tdi Do you simply open the canister, pop the seal, and replace the cartridge? Is there a bleed prodecure. Also shown is fuel filter. Dealer's wanting $40 for the part and $100 for labor. Don't take it too the. I am very capable of changing the fuel filter as i've seen it done, i don't have the ability to prime the. Fuel Filter Change Vw Passat Tdi.
From www.paulstravelpictures.com
20142016VWPassatTSIEngineOilChangeFilterReplacementGuide032 Fuel Filter Change Vw Passat Tdi The fuel filter should be drained of water every 10,000 miles and replaced every 20,000 miles in your b5 vw passat tdi. Is there a bleed prodecure. I am very capable of changing the fuel filter as i've seen it done, i don't have the ability to prime the fp. Dealer's wanting $40 for the part and $100 for labor.. Fuel Filter Change Vw Passat Tdi.
From www.ilcats.ru
fuel filter VW PASSAT Fuel Filter Change Vw Passat Tdi Is there a bleed prodecure. Watch the video tutorial below. I am very capable of changing the fuel filter as i've seen it done, i don't have the ability to prime the fp. This video is a quick and easy fuel filter change on the vw passat 2.0l tdi. Do you simply open the canister, pop the seal, and replace. Fuel Filter Change Vw Passat Tdi.
From www.youtube.com
VW Passat Oil filter change for B6 TDI Diesel Engine Service 20052010 Fuel Filter Change Vw Passat Tdi What is the procedure to change out the fuel filter on these new cars? If you want to change or replace the fuel filter on vw passat b7 2.0 tdi, you should follow just 5 simple steps. Also shown is fuel filter. It looks like a simple pull and replace per some youtube vids. I am very capable of changing. Fuel Filter Change Vw Passat Tdi.
From www.youtube.com
2013 VW Passat TDI Fuel Filter Replacement YouTube Fuel Filter Change Vw Passat Tdi Is there a bleed prodecure. Don't take it too the. Watch the video tutorial below. Dealer's wanting $40 for the part and $100 for labor. This video is a quick and easy fuel filter change on the vw passat 2.0l tdi. Also shown is fuel filter. My question is can this be done in the driveway. Do you simply open. Fuel Filter Change Vw Passat Tdi.
From s265.photobucket.com
Change Fuel Filter Schimbare Filtru Motorina VW Passat Photo by avaly21 Fuel Filter Change Vw Passat Tdi This video is a quick and easy fuel filter change on the vw passat 2.0l tdi. My question is can this be done in the driveway. Also shown is fuel filter. It looks like a simple pull and replace per some youtube vids. Watch the video tutorial below. If you want to change or replace the fuel filter on vw. Fuel Filter Change Vw Passat Tdi.
From typefactory.co
FREE gifts & price promise High quality goods Fashion merchandise OEM Fuel Filter Change Vw Passat Tdi This video is a quick and easy fuel filter change on the vw passat 2.0l tdi. The fuel filter should be drained of water every 10,000 miles and replaced every 20,000 miles in your b5 vw passat tdi. Watch the video tutorial below. It looks like a simple pull and replace per some youtube vids. Also shown is fuel filter.. Fuel Filter Change Vw Passat Tdi.