Molasses Ethanol Fermentation Process . In the present study, molasses concentration exerted an adverse negative impact (p < 0.0001) on the ethanol production process,. Found the best conditions for ethanol production were 200 g/l of total reducing sugars in the molasses,. The results revealed that sugarcane molasses and flocculating yeasts can be efficiently used in hg fermentation to reduce. Numerical simulation was carried out to. This chapter describes the natural microbial ecology of the ethanol production process, methods for yeast identification,.
from www.slideshare.net
Found the best conditions for ethanol production were 200 g/l of total reducing sugars in the molasses,. The results revealed that sugarcane molasses and flocculating yeasts can be efficiently used in hg fermentation to reduce. This chapter describes the natural microbial ecology of the ethanol production process, methods for yeast identification,. Numerical simulation was carried out to. In the present study, molasses concentration exerted an adverse negative impact (p < 0.0001) on the ethanol production process,.
Enhanced fermentation process using molasses
Molasses Ethanol Fermentation Process In the present study, molasses concentration exerted an adverse negative impact (p < 0.0001) on the ethanol production process,. The results revealed that sugarcane molasses and flocculating yeasts can be efficiently used in hg fermentation to reduce. In the present study, molasses concentration exerted an adverse negative impact (p < 0.0001) on the ethanol production process,. This chapter describes the natural microbial ecology of the ethanol production process, methods for yeast identification,. Numerical simulation was carried out to. Found the best conditions for ethanol production were 200 g/l of total reducing sugars in the molasses,.
From www.researchgate.net
Ethanol production from molasses Download Scientific Diagram Molasses Ethanol Fermentation Process The results revealed that sugarcane molasses and flocculating yeasts can be efficiently used in hg fermentation to reduce. Numerical simulation was carried out to. This chapter describes the natural microbial ecology of the ethanol production process, methods for yeast identification,. Found the best conditions for ethanol production were 200 g/l of total reducing sugars in the molasses,. In the present. Molasses Ethanol Fermentation Process.
From www.slideshare.net
Enhanced fermentation process using molasses Molasses Ethanol Fermentation Process In the present study, molasses concentration exerted an adverse negative impact (p < 0.0001) on the ethanol production process,. Numerical simulation was carried out to. This chapter describes the natural microbial ecology of the ethanol production process, methods for yeast identification,. The results revealed that sugarcane molasses and flocculating yeasts can be efficiently used in hg fermentation to reduce. Found. Molasses Ethanol Fermentation Process.
From mydiagram.online
[DIAGRAM] Process Flow Diagram For Ethanol Production From Molasses Molasses Ethanol Fermentation Process This chapter describes the natural microbial ecology of the ethanol production process, methods for yeast identification,. Numerical simulation was carried out to. The results revealed that sugarcane molasses and flocculating yeasts can be efficiently used in hg fermentation to reduce. In the present study, molasses concentration exerted an adverse negative impact (p < 0.0001) on the ethanol production process,. Found. Molasses Ethanol Fermentation Process.
From mydiagram.online
[DIAGRAM] Process Flow Diagram For Ethanol Production From Molasses Molasses Ethanol Fermentation Process This chapter describes the natural microbial ecology of the ethanol production process, methods for yeast identification,. In the present study, molasses concentration exerted an adverse negative impact (p < 0.0001) on the ethanol production process,. The results revealed that sugarcane molasses and flocculating yeasts can be efficiently used in hg fermentation to reduce. Numerical simulation was carried out to. Found. Molasses Ethanol Fermentation Process.
From www.prarasbiosciences.com
Fermentation Enhancers India Distilleries Praras Biosciences Molasses Ethanol Fermentation Process Found the best conditions for ethanol production were 200 g/l of total reducing sugars in the molasses,. Numerical simulation was carried out to. In the present study, molasses concentration exerted an adverse negative impact (p < 0.0001) on the ethanol production process,. The results revealed that sugarcane molasses and flocculating yeasts can be efficiently used in hg fermentation to reduce.. Molasses Ethanol Fermentation Process.
From mavink.com
Ethanol Fermentation Process Molasses Ethanol Fermentation Process Found the best conditions for ethanol production were 200 g/l of total reducing sugars in the molasses,. In the present study, molasses concentration exerted an adverse negative impact (p < 0.0001) on the ethanol production process,. Numerical simulation was carried out to. The results revealed that sugarcane molasses and flocculating yeasts can be efficiently used in hg fermentation to reduce.. Molasses Ethanol Fermentation Process.
From www.researchgate.net
1 The production of ethanol from fermentation of sugarcanemolasses,... Download Scientific Molasses Ethanol Fermentation Process The results revealed that sugarcane molasses and flocculating yeasts can be efficiently used in hg fermentation to reduce. Found the best conditions for ethanol production were 200 g/l of total reducing sugars in the molasses,. This chapter describes the natural microbial ecology of the ethanol production process, methods for yeast identification,. Numerical simulation was carried out to. In the present. Molasses Ethanol Fermentation Process.
From www.youtube.com
Process flow diagram of Production of ethanol from molasses YouTube Molasses Ethanol Fermentation Process Found the best conditions for ethanol production were 200 g/l of total reducing sugars in the molasses,. This chapter describes the natural microbial ecology of the ethanol production process, methods for yeast identification,. The results revealed that sugarcane molasses and flocculating yeasts can be efficiently used in hg fermentation to reduce. Numerical simulation was carried out to. In the present. Molasses Ethanol Fermentation Process.
From www.researchgate.net
Sugar, ethanol and molasses industrial process flow Download Scientific Diagram Molasses Ethanol Fermentation Process In the present study, molasses concentration exerted an adverse negative impact (p < 0.0001) on the ethanol production process,. Found the best conditions for ethanol production were 200 g/l of total reducing sugars in the molasses,. The results revealed that sugarcane molasses and flocculating yeasts can be efficiently used in hg fermentation to reduce. This chapter describes the natural microbial. Molasses Ethanol Fermentation Process.
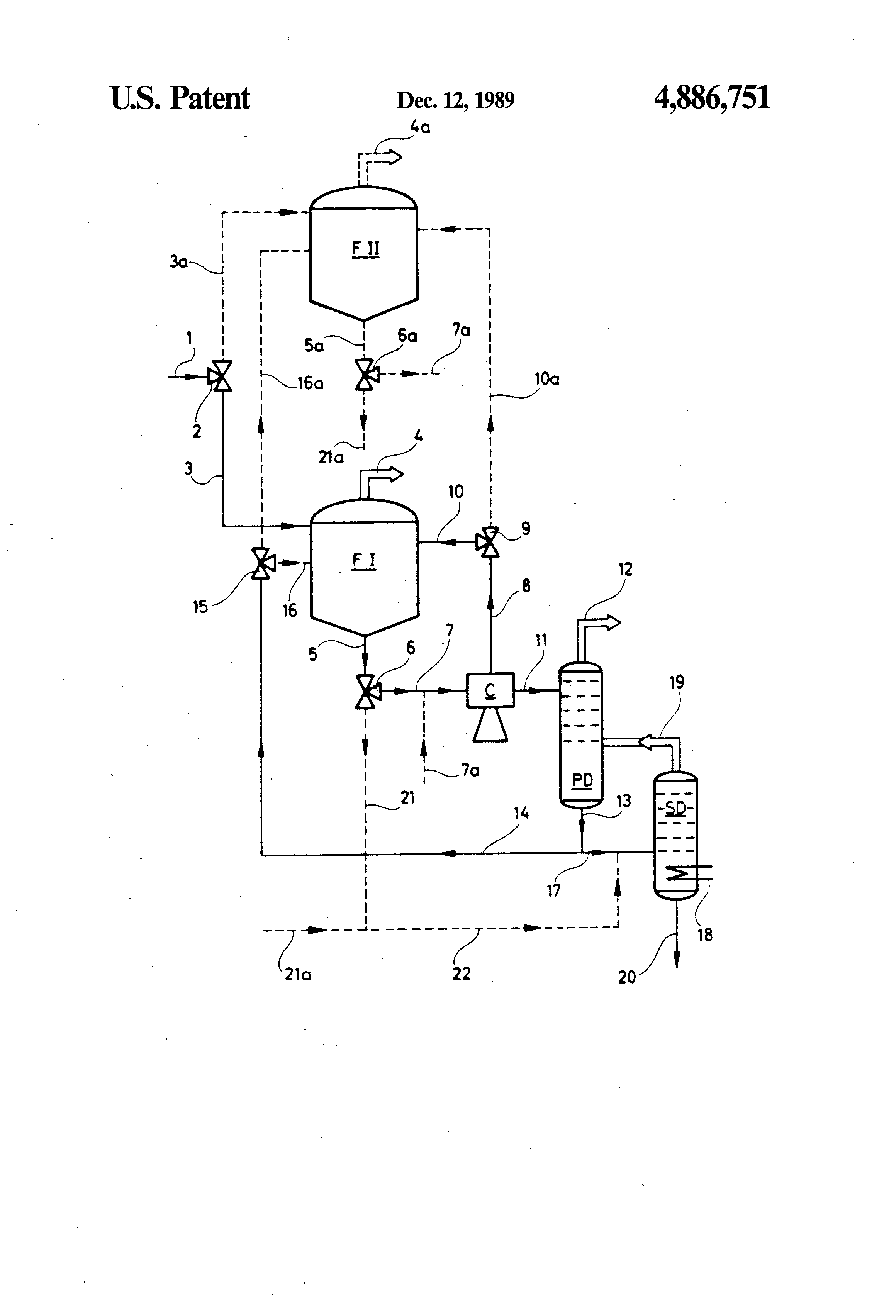
From www.google.com
Patent US4886751 Process for the production of ethanol through molasses fermentation Google Molasses Ethanol Fermentation Process Found the best conditions for ethanol production were 200 g/l of total reducing sugars in the molasses,. Numerical simulation was carried out to. In the present study, molasses concentration exerted an adverse negative impact (p < 0.0001) on the ethanol production process,. This chapter describes the natural microbial ecology of the ethanol production process, methods for yeast identification,. The results. Molasses Ethanol Fermentation Process.
From www.scribd.com
Process Flow Diagram For The Production of Industrial Alcohol by Fermentation of Molasses PDF Molasses Ethanol Fermentation Process In the present study, molasses concentration exerted an adverse negative impact (p < 0.0001) on the ethanol production process,. Numerical simulation was carried out to. This chapter describes the natural microbial ecology of the ethanol production process, methods for yeast identification,. Found the best conditions for ethanol production were 200 g/l of total reducing sugars in the molasses,. The results. Molasses Ethanol Fermentation Process.
From www.semanticscholar.org
Simulation of Ethanol Production by Fermentation of Molasses Semantic Scholar Molasses Ethanol Fermentation Process The results revealed that sugarcane molasses and flocculating yeasts can be efficiently used in hg fermentation to reduce. In the present study, molasses concentration exerted an adverse negative impact (p < 0.0001) on the ethanol production process,. Found the best conditions for ethanol production were 200 g/l of total reducing sugars in the molasses,. This chapter describes the natural microbial. Molasses Ethanol Fermentation Process.
From www.altenesol.com
What is Ethanol and How is it Made? Altenesol Molasses Ethanol Fermentation Process Numerical simulation was carried out to. The results revealed that sugarcane molasses and flocculating yeasts can be efficiently used in hg fermentation to reduce. This chapter describes the natural microbial ecology of the ethanol production process, methods for yeast identification,. In the present study, molasses concentration exerted an adverse negative impact (p < 0.0001) on the ethanol production process,. Found. Molasses Ethanol Fermentation Process.
From wiringschema.com
[DIAGRAM] Process Flow Diagram For Ethanol Production From Molasses Molasses Ethanol Fermentation Process Numerical simulation was carried out to. The results revealed that sugarcane molasses and flocculating yeasts can be efficiently used in hg fermentation to reduce. In the present study, molasses concentration exerted an adverse negative impact (p < 0.0001) on the ethanol production process,. This chapter describes the natural microbial ecology of the ethanol production process, methods for yeast identification,. Found. Molasses Ethanol Fermentation Process.
From www.youtube.com
Ethanol Production from molasses YouTube Molasses Ethanol Fermentation Process In the present study, molasses concentration exerted an adverse negative impact (p < 0.0001) on the ethanol production process,. This chapter describes the natural microbial ecology of the ethanol production process, methods for yeast identification,. Numerical simulation was carried out to. Found the best conditions for ethanol production were 200 g/l of total reducing sugars in the molasses,. The results. Molasses Ethanol Fermentation Process.
From www.shutterstock.com
Ethanol Production Process Molasses vector de stock (libre de regalías) 692703244 Shutterstock Molasses Ethanol Fermentation Process Numerical simulation was carried out to. The results revealed that sugarcane molasses and flocculating yeasts can be efficiently used in hg fermentation to reduce. This chapter describes the natural microbial ecology of the ethanol production process, methods for yeast identification,. In the present study, molasses concentration exerted an adverse negative impact (p < 0.0001) on the ethanol production process,. Found. Molasses Ethanol Fermentation Process.
From www.researchgate.net
Sugarbeet/molasses ethanol production process flow diagram. Download Scientific Diagram Molasses Ethanol Fermentation Process Numerical simulation was carried out to. The results revealed that sugarcane molasses and flocculating yeasts can be efficiently used in hg fermentation to reduce. This chapter describes the natural microbial ecology of the ethanol production process, methods for yeast identification,. Found the best conditions for ethanol production were 200 g/l of total reducing sugars in the molasses,. In the present. Molasses Ethanol Fermentation Process.
From ar.inspiredpencil.com
Ethanol Fermentation Process Molasses Ethanol Fermentation Process Numerical simulation was carried out to. This chapter describes the natural microbial ecology of the ethanol production process, methods for yeast identification,. Found the best conditions for ethanol production were 200 g/l of total reducing sugars in the molasses,. The results revealed that sugarcane molasses and flocculating yeasts can be efficiently used in hg fermentation to reduce. In the present. Molasses Ethanol Fermentation Process.
From www.pinterest.pt
Ethyl Alcohol or Ethanol Production from Molasses by Fermentation Process flow diagram Molasses Ethanol Fermentation Process Found the best conditions for ethanol production were 200 g/l of total reducing sugars in the molasses,. Numerical simulation was carried out to. The results revealed that sugarcane molasses and flocculating yeasts can be efficiently used in hg fermentation to reduce. In the present study, molasses concentration exerted an adverse negative impact (p < 0.0001) on the ethanol production process,.. Molasses Ethanol Fermentation Process.
From www.researchgate.net
(PDF) Modeling of Ethanol Production from Molasses A Review Molasses Ethanol Fermentation Process Numerical simulation was carried out to. Found the best conditions for ethanol production were 200 g/l of total reducing sugars in the molasses,. This chapter describes the natural microbial ecology of the ethanol production process, methods for yeast identification,. In the present study, molasses concentration exerted an adverse negative impact (p < 0.0001) on the ethanol production process,. The results. Molasses Ethanol Fermentation Process.
From www.omicsonline.org
Modeling of Ethanol Production from Molasses A Review OMICS International Molasses Ethanol Fermentation Process In the present study, molasses concentration exerted an adverse negative impact (p < 0.0001) on the ethanol production process,. This chapter describes the natural microbial ecology of the ethanol production process, methods for yeast identification,. Numerical simulation was carried out to. The results revealed that sugarcane molasses and flocculating yeasts can be efficiently used in hg fermentation to reduce. Found. Molasses Ethanol Fermentation Process.
From www.slideserve.com
PPT Ethanol Production PowerPoint Presentation, free download ID1950415 Molasses Ethanol Fermentation Process Found the best conditions for ethanol production were 200 g/l of total reducing sugars in the molasses,. Numerical simulation was carried out to. The results revealed that sugarcane molasses and flocculating yeasts can be efficiently used in hg fermentation to reduce. This chapter describes the natural microbial ecology of the ethanol production process, methods for yeast identification,. In the present. Molasses Ethanol Fermentation Process.
From www.omicsonline.org
Modeling of Ethanol Production from Molasses A Review OMICS International Molasses Ethanol Fermentation Process The results revealed that sugarcane molasses and flocculating yeasts can be efficiently used in hg fermentation to reduce. Numerical simulation was carried out to. Found the best conditions for ethanol production were 200 g/l of total reducing sugars in the molasses,. This chapter describes the natural microbial ecology of the ethanol production process, methods for yeast identification,. In the present. Molasses Ethanol Fermentation Process.
From www.researchgate.net
Flowsheet of ethanol fermentation process from molasses including... Download Scientific Diagram Molasses Ethanol Fermentation Process Numerical simulation was carried out to. Found the best conditions for ethanol production were 200 g/l of total reducing sugars in the molasses,. This chapter describes the natural microbial ecology of the ethanol production process, methods for yeast identification,. In the present study, molasses concentration exerted an adverse negative impact (p < 0.0001) on the ethanol production process,. The results. Molasses Ethanol Fermentation Process.
From www.vbusa.com
Ethanol Process » VB USA Molasses Ethanol Fermentation Process The results revealed that sugarcane molasses and flocculating yeasts can be efficiently used in hg fermentation to reduce. Found the best conditions for ethanol production were 200 g/l of total reducing sugars in the molasses,. In the present study, molasses concentration exerted an adverse negative impact (p < 0.0001) on the ethanol production process,. Numerical simulation was carried out to.. Molasses Ethanol Fermentation Process.
From mydiagram.online
[DIAGRAM] Process Flow Diagram For Ethanol Production From Molasses Molasses Ethanol Fermentation Process Numerical simulation was carried out to. This chapter describes the natural microbial ecology of the ethanol production process, methods for yeast identification,. The results revealed that sugarcane molasses and flocculating yeasts can be efficiently used in hg fermentation to reduce. Found the best conditions for ethanol production were 200 g/l of total reducing sugars in the molasses,. In the present. Molasses Ethanol Fermentation Process.
From fermentations.co.uk
Ethanol Fermentation What You Need to Know Molasses Ethanol Fermentation Process Numerical simulation was carried out to. The results revealed that sugarcane molasses and flocculating yeasts can be efficiently used in hg fermentation to reduce. This chapter describes the natural microbial ecology of the ethanol production process, methods for yeast identification,. In the present study, molasses concentration exerted an adverse negative impact (p < 0.0001) on the ethanol production process,. Found. Molasses Ethanol Fermentation Process.
From www.semanticscholar.org
Figure 2 from Simulation of Ethanol Production by Fermentation of Molasses Semantic Scholar Molasses Ethanol Fermentation Process Numerical simulation was carried out to. Found the best conditions for ethanol production were 200 g/l of total reducing sugars in the molasses,. In the present study, molasses concentration exerted an adverse negative impact (p < 0.0001) on the ethanol production process,. The results revealed that sugarcane molasses and flocculating yeasts can be efficiently used in hg fermentation to reduce.. Molasses Ethanol Fermentation Process.
From www.researchgate.net
The flow of different components in cane molasses during the... Download Scientific Diagram Molasses Ethanol Fermentation Process This chapter describes the natural microbial ecology of the ethanol production process, methods for yeast identification,. The results revealed that sugarcane molasses and flocculating yeasts can be efficiently used in hg fermentation to reduce. Numerical simulation was carried out to. Found the best conditions for ethanol production were 200 g/l of total reducing sugars in the molasses,. In the present. Molasses Ethanol Fermentation Process.
From www.researchgate.net
Schematic diagram of ethanol production process from biosyngas... Download Scientific Diagram Molasses Ethanol Fermentation Process Found the best conditions for ethanol production were 200 g/l of total reducing sugars in the molasses,. This chapter describes the natural microbial ecology of the ethanol production process, methods for yeast identification,. The results revealed that sugarcane molasses and flocculating yeasts can be efficiently used in hg fermentation to reduce. In the present study, molasses concentration exerted an adverse. Molasses Ethanol Fermentation Process.
From www.researchgate.net
Flowchart of sugar and ethanol production process along with byproducts. Download Scientific Molasses Ethanol Fermentation Process Found the best conditions for ethanol production were 200 g/l of total reducing sugars in the molasses,. This chapter describes the natural microbial ecology of the ethanol production process, methods for yeast identification,. Numerical simulation was carried out to. The results revealed that sugarcane molasses and flocculating yeasts can be efficiently used in hg fermentation to reduce. In the present. Molasses Ethanol Fermentation Process.
From www.scribd.com
Ethyl Alcohol or Ethanol Production From Molasses by Fermentation Ethanol Chemical Substances Molasses Ethanol Fermentation Process In the present study, molasses concentration exerted an adverse negative impact (p < 0.0001) on the ethanol production process,. Found the best conditions for ethanol production were 200 g/l of total reducing sugars in the molasses,. Numerical simulation was carried out to. The results revealed that sugarcane molasses and flocculating yeasts can be efficiently used in hg fermentation to reduce.. Molasses Ethanol Fermentation Process.
From www.semanticscholar.org
Figure 2.2 from Impact of molasses quality on ethyl alcohol fermentation by the yeast Molasses Ethanol Fermentation Process The results revealed that sugarcane molasses and flocculating yeasts can be efficiently used in hg fermentation to reduce. This chapter describes the natural microbial ecology of the ethanol production process, methods for yeast identification,. In the present study, molasses concentration exerted an adverse negative impact (p < 0.0001) on the ethanol production process,. Found the best conditions for ethanol production. Molasses Ethanol Fermentation Process.
From www.researchgate.net
Schematic diagram of Ethanol Production Download Scientific Diagram Molasses Ethanol Fermentation Process The results revealed that sugarcane molasses and flocculating yeasts can be efficiently used in hg fermentation to reduce. Found the best conditions for ethanol production were 200 g/l of total reducing sugars in the molasses,. In the present study, molasses concentration exerted an adverse negative impact (p < 0.0001) on the ethanol production process,. This chapter describes the natural microbial. Molasses Ethanol Fermentation Process.
From www.youtube.com
Ethyl alcohol manufacturing by molasses fermentation YouTube Molasses Ethanol Fermentation Process Numerical simulation was carried out to. In the present study, molasses concentration exerted an adverse negative impact (p < 0.0001) on the ethanol production process,. Found the best conditions for ethanol production were 200 g/l of total reducing sugars in the molasses,. The results revealed that sugarcane molasses and flocculating yeasts can be efficiently used in hg fermentation to reduce.. Molasses Ethanol Fermentation Process.