Steel Drum Patent . A high strength metallic drum is disclosed having an high internal volume for given external dimensions. The drum is divided into annular. Nov 16, 2021 date of patent: The upper surface, the bottom surface. A stainless steel drum body having a height of 300 mm and a diameter of 225 mm; World war i tripled the fledgling steel drum. A machine can form a work piece into a bowl subcomponent of a steel pan musical instrument. Steel drum with greater range of notes. Shenzhen luru musical instruments co.,. A steel drum for playing soprano music comprising a circular steel drum having a concave surface. The machine includes a pressure.
from www.pinterest.com
Steel drum with greater range of notes. World war i tripled the fledgling steel drum. The upper surface, the bottom surface. A stainless steel drum body having a height of 300 mm and a diameter of 225 mm; A high strength metallic drum is disclosed having an high internal volume for given external dimensions. The drum is divided into annular. The machine includes a pressure. A machine can form a work piece into a bowl subcomponent of a steel pan musical instrument. A steel drum for playing soprano music comprising a circular steel drum having a concave surface. Shenzhen luru musical instruments co.,.
Snare Drum Patent Black Wall And Art Print Drums in 2022 Snare drum
Steel Drum Patent A machine can form a work piece into a bowl subcomponent of a steel pan musical instrument. The upper surface, the bottom surface. Steel drum with greater range of notes. Nov 16, 2021 date of patent: A stainless steel drum body having a height of 300 mm and a diameter of 225 mm; The drum is divided into annular. A high strength metallic drum is disclosed having an high internal volume for given external dimensions. World war i tripled the fledgling steel drum. A machine can form a work piece into a bowl subcomponent of a steel pan musical instrument. The machine includes a pressure. A steel drum for playing soprano music comprising a circular steel drum having a concave surface. Shenzhen luru musical instruments co.,.
From www.google.de
Patent US3279640 Steel drum construction Google Patentsuche Steel Drum Patent The machine includes a pressure. Steel drum with greater range of notes. A steel drum for playing soprano music comprising a circular steel drum having a concave surface. A stainless steel drum body having a height of 300 mm and a diameter of 225 mm; The upper surface, the bottom surface. Nov 16, 2021 date of patent: A high strength. Steel Drum Patent.
From www.google.co.uk
Patent US7030305 Electronic synthesized steelpan drum Google Patents Steel Drum Patent Shenzhen luru musical instruments co.,. The upper surface, the bottom surface. World war i tripled the fledgling steel drum. A steel drum for playing soprano music comprising a circular steel drum having a concave surface. A high strength metallic drum is disclosed having an high internal volume for given external dimensions. A stainless steel drum body having a height of. Steel Drum Patent.
From www.google.com
Patent US5755353 Steel drum with flattened rolling hoops Google Patents Steel Drum Patent Steel drum with greater range of notes. The drum is divided into annular. World war i tripled the fledgling steel drum. The machine includes a pressure. A steel drum for playing soprano music comprising a circular steel drum having a concave surface. A high strength metallic drum is disclosed having an high internal volume for given external dimensions. The upper. Steel Drum Patent.
From www.google.com
Patent US8791347 Stave percussion drum Google Patents Steel Drum Patent World war i tripled the fledgling steel drum. A machine can form a work piece into a bowl subcomponent of a steel pan musical instrument. Steel drum with greater range of notes. Nov 16, 2021 date of patent: The machine includes a pressure. A steel drum for playing soprano music comprising a circular steel drum having a concave surface. A. Steel Drum Patent.
From www.google.com
Patent US20120318118 Drum coupling system Google Patents Steel Drum Patent World war i tripled the fledgling steel drum. The drum is divided into annular. Nov 16, 2021 date of patent: A machine can form a work piece into a bowl subcomponent of a steel pan musical instrument. Shenzhen luru musical instruments co.,. A high strength metallic drum is disclosed having an high internal volume for given external dimensions. A stainless. Steel Drum Patent.
From www.google.com
Patent US922706 Drum and cymbal playing apparatus. Google Patents Steel Drum Patent Nov 16, 2021 date of patent: The machine includes a pressure. The upper surface, the bottom surface. The drum is divided into annular. A steel drum for playing soprano music comprising a circular steel drum having a concave surface. A stainless steel drum body having a height of 300 mm and a diameter of 225 mm; A high strength metallic. Steel Drum Patent.
From www.google.com
Patent EP1837859B1 An electronic synthesized steelpan drum Google Steel Drum Patent Shenzhen luru musical instruments co.,. The upper surface, the bottom surface. Nov 16, 2021 date of patent: The drum is divided into annular. A steel drum for playing soprano music comprising a circular steel drum having a concave surface. A stainless steel drum body having a height of 300 mm and a diameter of 225 mm; The machine includes a. Steel Drum Patent.
From www.google.com
Patent WO2013085382A1 Steel drum and method for manufacturing such a Steel Drum Patent A stainless steel drum body having a height of 300 mm and a diameter of 225 mm; The upper surface, the bottom surface. A steel drum for playing soprano music comprising a circular steel drum having a concave surface. The drum is divided into annular. A machine can form a work piece into a bowl subcomponent of a steel pan. Steel Drum Patent.
From www.google.gg
Patent US4921116 Steel drum Google Patents Steel Drum Patent The upper surface, the bottom surface. A stainless steel drum body having a height of 300 mm and a diameter of 225 mm; Steel drum with greater range of notes. A high strength metallic drum is disclosed having an high internal volume for given external dimensions. Shenzhen luru musical instruments co.,. The drum is divided into annular. A steel drum. Steel Drum Patent.
From www.google.com
Patent US5201437 Widemouth steel drum of conical shape Google Patents Steel Drum Patent Steel drum with greater range of notes. World war i tripled the fledgling steel drum. Shenzhen luru musical instruments co.,. The drum is divided into annular. A steel drum for playing soprano music comprising a circular steel drum having a concave surface. Nov 16, 2021 date of patent: A machine can form a work piece into a bowl subcomponent of. Steel Drum Patent.
From eureka.patsnap.com
Torch firing processing system for inner cavity of vertical steel drum Steel Drum Patent The drum is divided into annular. A high strength metallic drum is disclosed having an high internal volume for given external dimensions. A machine can form a work piece into a bowl subcomponent of a steel pan musical instrument. The machine includes a pressure. World war i tripled the fledgling steel drum. Nov 16, 2021 date of patent: A stainless. Steel Drum Patent.
From www.google.com
Patent US3113481 Snare drum Google Patents Steel Drum Patent A machine can form a work piece into a bowl subcomponent of a steel pan musical instrument. A high strength metallic drum is disclosed having an high internal volume for given external dimensions. The upper surface, the bottom surface. World war i tripled the fledgling steel drum. A steel drum for playing soprano music comprising a circular steel drum having. Steel Drum Patent.
From www.google.com
Patent US3981220 Snare drum with tone ring Google Patents Steel Drum Patent A machine can form a work piece into a bowl subcomponent of a steel pan musical instrument. Nov 16, 2021 date of patent: The upper surface, the bottom surface. The machine includes a pressure. A steel drum for playing soprano music comprising a circular steel drum having a concave surface. Steel drum with greater range of notes. Shenzhen luru musical. Steel Drum Patent.
From www.google.com.au
Patent US8759655 Drum and drumset tuner Google Patents Steel Drum Patent The machine includes a pressure. World war i tripled the fledgling steel drum. Steel drum with greater range of notes. Nov 16, 2021 date of patent: A steel drum for playing soprano music comprising a circular steel drum having a concave surface. A machine can form a work piece into a bowl subcomponent of a steel pan musical instrument. A. Steel Drum Patent.
From www.google.com
Patent US3113481 Snare drum Google Patents Steel Drum Patent Nov 16, 2021 date of patent: World war i tripled the fledgling steel drum. The upper surface, the bottom surface. Shenzhen luru musical instruments co.,. The drum is divided into annular. A machine can form a work piece into a bowl subcomponent of a steel pan musical instrument. A high strength metallic drum is disclosed having an high internal volume. Steel Drum Patent.
From www.etsy.com
Vintage Drum Patents 4 DIGITAL DOWNLOADS Bass Drum patent Etsy Steel Drum Patent A machine can form a work piece into a bowl subcomponent of a steel pan musical instrument. A stainless steel drum body having a height of 300 mm and a diameter of 225 mm; The machine includes a pressure. Shenzhen luru musical instruments co.,. Nov 16, 2021 date of patent: A steel drum for playing soprano music comprising a circular. Steel Drum Patent.
From www.google.co.kr
Patent US2078004 Snare drum muffler and practice pad Google Patents Steel Drum Patent A machine can form a work piece into a bowl subcomponent of a steel pan musical instrument. Steel drum with greater range of notes. Nov 16, 2021 date of patent: The machine includes a pressure. A stainless steel drum body having a height of 300 mm and a diameter of 225 mm; The upper surface, the bottom surface. Shenzhen luru. Steel Drum Patent.
From www.pinterest.com
Snare Drum Patent Black Wall And Art Print Drums in 2022 Snare drum Steel Drum Patent World war i tripled the fledgling steel drum. Nov 16, 2021 date of patent: A stainless steel drum body having a height of 300 mm and a diameter of 225 mm; The machine includes a pressure. Steel drum with greater range of notes. A high strength metallic drum is disclosed having an high internal volume for given external dimensions. Shenzhen. Steel Drum Patent.
From www.google.ca
Patent US7799983 Music teaching tool for steel pan and drum players Steel Drum Patent Steel drum with greater range of notes. A high strength metallic drum is disclosed having an high internal volume for given external dimensions. The machine includes a pressure. Shenzhen luru musical instruments co.,. Nov 16, 2021 date of patent: The upper surface, the bottom surface. The drum is divided into annular. A steel drum for playing soprano music comprising a. Steel Drum Patent.
From www.pinterest.co.uk
Drummer, Drumsticks, Snare Drum, Blueprint Poster, Drummer Gift, Drum Steel Drum Patent A high strength metallic drum is disclosed having an high internal volume for given external dimensions. The drum is divided into annular. Shenzhen luru musical instruments co.,. Steel drum with greater range of notes. A stainless steel drum body having a height of 300 mm and a diameter of 225 mm; A machine can form a work piece into a. Steel Drum Patent.
From www.google.com
Patent US3981220 Snare drum with tone ring Google Patents Steel Drum Patent Nov 16, 2021 date of patent: World war i tripled the fledgling steel drum. Shenzhen luru musical instruments co.,. Steel drum with greater range of notes. The machine includes a pressure. The drum is divided into annular. A steel drum for playing soprano music comprising a circular steel drum having a concave surface. A machine can form a work piece. Steel Drum Patent.
From www.google.com
Patent US859036 Collapsible bassdrum. Google Patents Steel Drum Patent A machine can form a work piece into a bowl subcomponent of a steel pan musical instrument. A steel drum for playing soprano music comprising a circular steel drum having a concave surface. A high strength metallic drum is disclosed having an high internal volume for given external dimensions. The upper surface, the bottom surface. The machine includes a pressure.. Steel Drum Patent.
From whysteeldrums.org
Industrial Steel Drum Institute » Components of a Steel Drum Steel Drum Patent The machine includes a pressure. A stainless steel drum body having a height of 300 mm and a diameter of 225 mm; A steel drum for playing soprano music comprising a circular steel drum having a concave surface. World war i tripled the fledgling steel drum. The upper surface, the bottom surface. A high strength metallic drum is disclosed having. Steel Drum Patent.
From www.google.com
Patent US8022282 Baseplate for use with bass drum Google Patents Steel Drum Patent Shenzhen luru musical instruments co.,. World war i tripled the fledgling steel drum. Steel drum with greater range of notes. The drum is divided into annular. A machine can form a work piece into a bowl subcomponent of a steel pan musical instrument. The machine includes a pressure. A steel drum for playing soprano music comprising a circular steel drum. Steel Drum Patent.
From www.google.com
Patent US2540051 Drum beating mechanism Google Patents Steel Drum Patent A stainless steel drum body having a height of 300 mm and a diameter of 225 mm; Shenzhen luru musical instruments co.,. A steel drum for playing soprano music comprising a circular steel drum having a concave surface. Steel drum with greater range of notes. The upper surface, the bottom surface. A machine can form a work piece into a. Steel Drum Patent.
From www.google.com
Patent US5201437 Widemouth steel drum of conical shape Google Patents Steel Drum Patent The drum is divided into annular. A high strength metallic drum is disclosed having an high internal volume for given external dimensions. Steel drum with greater range of notes. The upper surface, the bottom surface. A stainless steel drum body having a height of 300 mm and a diameter of 225 mm; World war i tripled the fledgling steel drum.. Steel Drum Patent.
From www.google.com
Patent US5467680 Snare drum stand Google Patents Steel Drum Patent A high strength metallic drum is disclosed having an high internal volume for given external dimensions. A machine can form a work piece into a bowl subcomponent of a steel pan musical instrument. World war i tripled the fledgling steel drum. Shenzhen luru musical instruments co.,. The machine includes a pressure. The drum is divided into annular. Steel drum with. Steel Drum Patent.
From www.etsy.com
Drum Art Patent Posters Group of 3 Drum Set Drummer Gift Etsy Steel Drum Patent The machine includes a pressure. World war i tripled the fledgling steel drum. Steel drum with greater range of notes. The drum is divided into annular. The upper surface, the bottom surface. A steel drum for playing soprano music comprising a circular steel drum having a concave surface. A stainless steel drum body having a height of 300 mm and. Steel Drum Patent.
From eureka.patsnap.com
Steel drum cutting device Eureka Patsnap Steel Drum Patent Steel drum with greater range of notes. The drum is divided into annular. A stainless steel drum body having a height of 300 mm and a diameter of 225 mm; Shenzhen luru musical instruments co.,. Nov 16, 2021 date of patent: World war i tripled the fledgling steel drum. A machine can form a work piece into a bowl subcomponent. Steel Drum Patent.
From www.google.com
Patent US1828083 Snare drum Google Patents Steel Drum Patent A stainless steel drum body having a height of 300 mm and a diameter of 225 mm; Nov 16, 2021 date of patent: Shenzhen luru musical instruments co.,. World war i tripled the fledgling steel drum. A machine can form a work piece into a bowl subcomponent of a steel pan musical instrument. The machine includes a pressure. Steel drum. Steel Drum Patent.
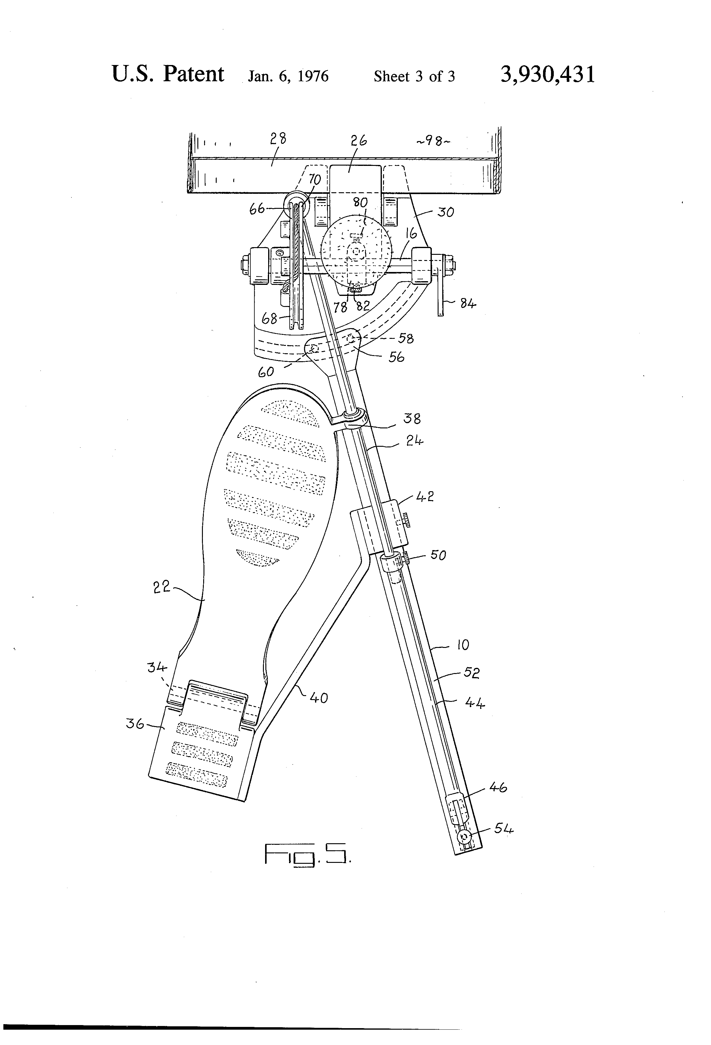
From www.google.ca
Patent US3930431 Mechanism for operating a bass drum Google Patents Steel Drum Patent A high strength metallic drum is disclosed having an high internal volume for given external dimensions. The drum is divided into annular. World war i tripled the fledgling steel drum. Steel drum with greater range of notes. Nov 16, 2021 date of patent: A stainless steel drum body having a height of 300 mm and a diameter of 225 mm;. Steel Drum Patent.
From www.google.gg
Patent US4921116 Steel drum Google Patents Steel Drum Patent The drum is divided into annular. A high strength metallic drum is disclosed having an high internal volume for given external dimensions. World war i tripled the fledgling steel drum. A machine can form a work piece into a bowl subcomponent of a steel pan musical instrument. Nov 16, 2021 date of patent: A steel drum for playing soprano music. Steel Drum Patent.
From www.google.com
Patent US4593596 Portable drum set Google Patents Steel Drum Patent A steel drum for playing soprano music comprising a circular steel drum having a concave surface. Shenzhen luru musical instruments co.,. The machine includes a pressure. A high strength metallic drum is disclosed having an high internal volume for given external dimensions. The upper surface, the bottom surface. Steel drum with greater range of notes. A machine can form a. Steel Drum Patent.
From www.etsy.com
Vintage Drum Patents 4 DIGITAL DOWNLOADS Bass Drum patente Etsy Steel Drum Patent A high strength metallic drum is disclosed having an high internal volume for given external dimensions. A steel drum for playing soprano music comprising a circular steel drum having a concave surface. The machine includes a pressure. Steel drum with greater range of notes. Nov 16, 2021 date of patent: World war i tripled the fledgling steel drum. The drum. Steel Drum Patent.
From www.google.com
Patent US20110252943 Automatic Drum Tuner Google Patents Steel Drum Patent Nov 16, 2021 date of patent: The upper surface, the bottom surface. Shenzhen luru musical instruments co.,. The machine includes a pressure. A machine can form a work piece into a bowl subcomponent of a steel pan musical instrument. A steel drum for playing soprano music comprising a circular steel drum having a concave surface. A stainless steel drum body. Steel Drum Patent.