What Is Vcc Used For . The positive supply voltage on the collector side of the npn bipolar transistor is v. Vcc, short for voltage common collector, is a term commonly used in electronics to refer to the power supply voltage in a circuit. Here are their meanings and differences. • vcc is used as the positive supply voltage for. The terms vcc, vee, vdd, and vss are used in relation to power supply voltages. Vcc is used as the positive supply voltage for circuits using a bipolar transistor (bjt). The double letter is usually related to the. Stands for voltage at the common collector and is typically the positive supply voltage for bipolar junction transistor. For digital circuits, vcc is the power supply voltage of the circuit, vdd is the working voltage of the chip (usually vcc>vdd), and vss is the ground point. In electronics, the full form of vcc is “voltage at the common collector.” it is a term commonly used to refer to the power supply.
from devsday.ru
For digital circuits, vcc is the power supply voltage of the circuit, vdd is the working voltage of the chip (usually vcc>vdd), and vss is the ground point. Stands for voltage at the common collector and is typically the positive supply voltage for bipolar junction transistor. The terms vcc, vee, vdd, and vss are used in relation to power supply voltages. The positive supply voltage on the collector side of the npn bipolar transistor is v. • vcc is used as the positive supply voltage for. The double letter is usually related to the. Vcc is used as the positive supply voltage for circuits using a bipolar transistor (bjt). Here are their meanings and differences. Vcc, short for voltage common collector, is a term commonly used in electronics to refer to the power supply voltage in a circuit. In electronics, the full form of vcc is “voltage at the common collector.” it is a term commonly used to refer to the power supply.
What does Vcc Stands for in Arduino DevsDay.ru
What Is Vcc Used For Here are their meanings and differences. In electronics, the full form of vcc is “voltage at the common collector.” it is a term commonly used to refer to the power supply. Vcc is used as the positive supply voltage for circuits using a bipolar transistor (bjt). The terms vcc, vee, vdd, and vss are used in relation to power supply voltages. The positive supply voltage on the collector side of the npn bipolar transistor is v. Here are their meanings and differences. For digital circuits, vcc is the power supply voltage of the circuit, vdd is the working voltage of the chip (usually vcc>vdd), and vss is the ground point. Vcc, short for voltage common collector, is a term commonly used in electronics to refer to the power supply voltage in a circuit. • vcc is used as the positive supply voltage for. The double letter is usually related to the. Stands for voltage at the common collector and is typically the positive supply voltage for bipolar junction transistor.
From www.the-diy-life.com
VCC and GND Connections To Raspberry Pi The DIY Life What Is Vcc Used For • vcc is used as the positive supply voltage for. Stands for voltage at the common collector and is typically the positive supply voltage for bipolar junction transistor. Vcc is used as the positive supply voltage for circuits using a bipolar transistor (bjt). In electronics, the full form of vcc is “voltage at the common collector.” it is a term. What Is Vcc Used For.
From www.vecteezy.com
VCC logo. VCC letter. VCC letter logo design. Initials VCC logo linked What Is Vcc Used For Vcc, short for voltage common collector, is a term commonly used in electronics to refer to the power supply voltage in a circuit. For digital circuits, vcc is the power supply voltage of the circuit, vdd is the working voltage of the chip (usually vcc>vdd), and vss is the ground point. • vcc is used as the positive supply voltage. What Is Vcc Used For.
From www.cryptobnb.net
What is VCC Exchange? Instructions for using VCC Exchange (2021) What Is Vcc Used For For digital circuits, vcc is the power supply voltage of the circuit, vdd is the working voltage of the chip (usually vcc>vdd), and vss is the ground point. • vcc is used as the positive supply voltage for. Vcc is used as the positive supply voltage for circuits using a bipolar transistor (bjt). The terms vcc, vee, vdd, and vss. What Is Vcc Used For.
From www.vcc.sg
What is a Variable Capital Company (VCC) in Singapore VCC Hub What Is Vcc Used For Vcc, short for voltage common collector, is a term commonly used in electronics to refer to the power supply voltage in a circuit. For digital circuits, vcc is the power supply voltage of the circuit, vdd is the working voltage of the chip (usually vcc>vdd), and vss is the ground point. • vcc is used as the positive supply voltage. What Is Vcc Used For.
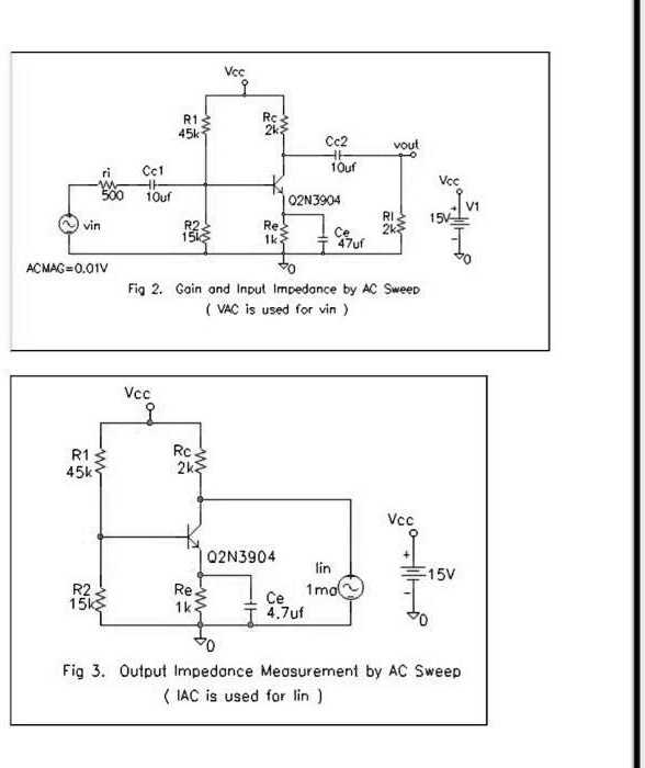
From www.numerade.com
SOLVEDVcc 45k Cc2 Voul Cc 1Ouf Vcc JOul 02N3904 5v Gquf ACMAG0.01v What Is Vcc Used For The terms vcc, vee, vdd, and vss are used in relation to power supply voltages. The positive supply voltage on the collector side of the npn bipolar transistor is v. Vcc is used as the positive supply voltage for circuits using a bipolar transistor (bjt). In electronics, the full form of vcc is “voltage at the common collector.” it is. What Is Vcc Used For.
From buyv.cc
Understanding VCC A Comprehensive Guide buyv.cc What Is Vcc Used For Stands for voltage at the common collector and is typically the positive supply voltage for bipolar junction transistor. In electronics, the full form of vcc is “voltage at the common collector.” it is a term commonly used to refer to the power supply. For digital circuits, vcc is the power supply voltage of the circuit, vdd is the working voltage. What Is Vcc Used For.
From www.rafflesgroup.co
Understand VCC What Is Vcc Used For The terms vcc, vee, vdd, and vss are used in relation to power supply voltages. For digital circuits, vcc is the power supply voltage of the circuit, vdd is the working voltage of the chip (usually vcc>vdd), and vss is the ground point. • vcc is used as the positive supply voltage for. Stands for voltage at the common collector. What Is Vcc Used For.
From www.cryptobnb.net
What is VCC Exchange? Instructions for using VCC Exchange (2021) What Is Vcc Used For The positive supply voltage on the collector side of the npn bipolar transistor is v. The double letter is usually related to the. Here are their meanings and differences. Vcc, short for voltage common collector, is a term commonly used in electronics to refer to the power supply voltage in a circuit. In electronics, the full form of vcc is. What Is Vcc Used For.
From www.softwareadvice.com.au
VCC Live Software 2024 Reviews, Pricing & Demo What Is Vcc Used For Vcc, short for voltage common collector, is a term commonly used in electronics to refer to the power supply voltage in a circuit. Here are their meanings and differences. • vcc is used as the positive supply voltage for. The terms vcc, vee, vdd, and vss are used in relation to power supply voltages. The positive supply voltage on the. What Is Vcc Used For.
From go.geographicsolutions.com
What is VCC? Find Out More What Is Vcc Used For Here are their meanings and differences. The terms vcc, vee, vdd, and vss are used in relation to power supply voltages. • vcc is used as the positive supply voltage for. For digital circuits, vcc is the power supply voltage of the circuit, vdd is the working voltage of the chip (usually vcc>vdd), and vss is the ground point. Vcc,. What Is Vcc Used For.
From www.cryptobnb.net
What is VCC Exchange? Instructions for using VCC Exchange (2021) What Is Vcc Used For Vcc is used as the positive supply voltage for circuits using a bipolar transistor (bjt). The positive supply voltage on the collector side of the npn bipolar transistor is v. • vcc is used as the positive supply voltage for. Vcc, short for voltage common collector, is a term commonly used in electronics to refer to the power supply voltage. What Is Vcc Used For.
From www.slideserve.com
PPT All you need to know about VCC Fund Administrator PowerPoint What Is Vcc Used For • vcc is used as the positive supply voltage for. The positive supply voltage on the collector side of the npn bipolar transistor is v. Vcc, short for voltage common collector, is a term commonly used in electronics to refer to the power supply voltage in a circuit. Stands for voltage at the common collector and is typically the positive. What Is Vcc Used For.
From www.jigsawcad.com
Let the experts talk about What is VCC in transistors [Expert Advice] What Is Vcc Used For Vcc, short for voltage common collector, is a term commonly used in electronics to refer to the power supply voltage in a circuit. Vcc is used as the positive supply voltage for circuits using a bipolar transistor (bjt). Stands for voltage at the common collector and is typically the positive supply voltage for bipolar junction transistor. For digital circuits, vcc. What Is Vcc Used For.
From devsday.ru
What does Vcc Stands for in Arduino DevsDay.ru What Is Vcc Used For • vcc is used as the positive supply voltage for. The terms vcc, vee, vdd, and vss are used in relation to power supply voltages. In electronics, the full form of vcc is “voltage at the common collector.” it is a term commonly used to refer to the power supply. The positive supply voltage on the collector side of the. What Is Vcc Used For.
From electrical-information.com
Difference between VCC, VEE, VDD, and VSS Electrical Information What Is Vcc Used For Vcc, short for voltage common collector, is a term commonly used in electronics to refer to the power supply voltage in a circuit. The positive supply voltage on the collector side of the npn bipolar transistor is v. Vcc is used as the positive supply voltage for circuits using a bipolar transistor (bjt). In electronics, the full form of vcc. What Is Vcc Used For.
From www.youtube.com
Electronics What are Vcc and GND on a shift register? YouTube What Is Vcc Used For The terms vcc, vee, vdd, and vss are used in relation to power supply voltages. Here are their meanings and differences. The positive supply voltage on the collector side of the npn bipolar transistor is v. • vcc is used as the positive supply voltage for. Vcc, short for voltage common collector, is a term commonly used in electronics to. What Is Vcc Used For.
From www.pwc.com
Understanding the Singapore Variable Capital Company (VCC) What Is Vcc Used For The positive supply voltage on the collector side of the npn bipolar transistor is v. The double letter is usually related to the. Vcc is used as the positive supply voltage for circuits using a bipolar transistor (bjt). Here are their meanings and differences. In electronics, the full form of vcc is “voltage at the common collector.” it is a. What Is Vcc Used For.
From www.madebyteachers.com
VCC Words Tracing Flashcards Short Vowels (A E I O U), VCC Words List What Is Vcc Used For The positive supply voltage on the collector side of the npn bipolar transistor is v. Here are their meanings and differences. For digital circuits, vcc is the power supply voltage of the circuit, vdd is the working voltage of the chip (usually vcc>vdd), and vss is the ground point. Stands for voltage at the common collector and is typically the. What Is Vcc Used For.
From vcc.live
What is an ACD? Everything You Need to Know VCC Live What Is Vcc Used For • vcc is used as the positive supply voltage for. The double letter is usually related to the. In electronics, the full form of vcc is “voltage at the common collector.” it is a term commonly used to refer to the power supply. Stands for voltage at the common collector and is typically the positive supply voltage for bipolar junction. What Is Vcc Used For.
From www.pwc.com
Understanding the Singapore Variable Capital Company (VCC) What Is Vcc Used For The terms vcc, vee, vdd, and vss are used in relation to power supply voltages. The double letter is usually related to the. • vcc is used as the positive supply voltage for. Here are their meanings and differences. Vcc is used as the positive supply voltage for circuits using a bipolar transistor (bjt). Vcc, short for voltage common collector,. What Is Vcc Used For.
From vccwave.com
Virtual Credit Cards (VCC) What You Should Know Blog VCCWave What Is Vcc Used For The terms vcc, vee, vdd, and vss are used in relation to power supply voltages. Vcc, short for voltage common collector, is a term commonly used in electronics to refer to the power supply voltage in a circuit. For digital circuits, vcc is the power supply voltage of the circuit, vdd is the working voltage of the chip (usually vcc>vdd),. What Is Vcc Used For.
From rosemariefrancis893gossip.blogspot.com
Vcc Sub Fund Search What Is Vcc Used For The terms vcc, vee, vdd, and vss are used in relation to power supply voltages. Vcc, short for voltage common collector, is a term commonly used in electronics to refer to the power supply voltage in a circuit. • vcc is used as the positive supply voltage for. The positive supply voltage on the collector side of the npn bipolar. What Is Vcc Used For.
From www.youtube.com
What is Vcc, Vdd, Vee, Vss in Electronics? Basic Electronics Tamil What Is Vcc Used For The positive supply voltage on the collector side of the npn bipolar transistor is v. Here are their meanings and differences. Stands for voltage at the common collector and is typically the positive supply voltage for bipolar junction transistor. For digital circuits, vcc is the power supply voltage of the circuit, vdd is the working voltage of the chip (usually. What Is Vcc Used For.
From www.reddit.com
What is the purpose of Vcc? Can I just not use it? r/AskElectronics What Is Vcc Used For For digital circuits, vcc is the power supply voltage of the circuit, vdd is the working voltage of the chip (usually vcc>vdd), and vss is the ground point. The positive supply voltage on the collector side of the npn bipolar transistor is v. Vcc, short for voltage common collector, is a term commonly used in electronics to refer to the. What Is Vcc Used For.
From www.pinterest.com
What is Vcc, Vss, Vdd, Vee in Electronics? Differences and Full Forms What Is Vcc Used For The terms vcc, vee, vdd, and vss are used in relation to power supply voltages. The double letter is usually related to the. Here are their meanings and differences. In electronics, the full form of vcc is “voltage at the common collector.” it is a term commonly used to refer to the power supply. The positive supply voltage on the. What Is Vcc Used For.
From electrical-information.com
Difference between VCC, VEE, VDD, and VSS Electrical Information What Is Vcc Used For The terms vcc, vee, vdd, and vss are used in relation to power supply voltages. Vcc is used as the positive supply voltage for circuits using a bipolar transistor (bjt). The double letter is usually related to the. The positive supply voltage on the collector side of the npn bipolar transistor is v. • vcc is used as the positive. What Is Vcc Used For.
From citizenside.com
What Does VCC Mean in Electronics CitizenSide What Is Vcc Used For For digital circuits, vcc is the power supply voltage of the circuit, vdd is the working voltage of the chip (usually vcc>vdd), and vss is the ground point. The terms vcc, vee, vdd, and vss are used in relation to power supply voltages. Stands for voltage at the common collector and is typically the positive supply voltage for bipolar junction. What Is Vcc Used For.
From www.youtube.com
What is Vcc, Vss, Vdd, Vee in Electronics Circuits & ICs? Differences What Is Vcc Used For The positive supply voltage on the collector side of the npn bipolar transistor is v. The terms vcc, vee, vdd, and vss are used in relation to power supply voltages. For digital circuits, vcc is the power supply voltage of the circuit, vdd is the working voltage of the chip (usually vcc>vdd), and vss is the ground point. Vcc is. What Is Vcc Used For.
From forum.arduino.cc
TOF sensors VCC and VIN MKRWAN1310 Arduino Forum What Is Vcc Used For The positive supply voltage on the collector side of the npn bipolar transistor is v. • vcc is used as the positive supply voltage for. The double letter is usually related to the. Here are their meanings and differences. For digital circuits, vcc is the power supply voltage of the circuit, vdd is the working voltage of the chip (usually. What Is Vcc Used For.
From www.pcbaaa.com
What is the difference between VCC and VDD in microcontroller pins What Is Vcc Used For In electronics, the full form of vcc is “voltage at the common collector.” it is a term commonly used to refer to the power supply. The double letter is usually related to the. The terms vcc, vee, vdd, and vss are used in relation to power supply voltages. The positive supply voltage on the collector side of the npn bipolar. What Is Vcc Used For.
From www.cryptobnb.net
What is VCC Exchange? Instructions for using VCC Exchange (2021) What Is Vcc Used For The terms vcc, vee, vdd, and vss are used in relation to power supply voltages. Here are their meanings and differences. In electronics, the full form of vcc is “voltage at the common collector.” it is a term commonly used to refer to the power supply. Vcc is used as the positive supply voltage for circuits using a bipolar transistor. What Is Vcc Used For.
From nsglobal.sg
SINGAPORE’S VARIABLE CAPITAL COMPANY (VCC) NS GLOBAL What Is Vcc Used For • vcc is used as the positive supply voltage for. Vcc, short for voltage common collector, is a term commonly used in electronics to refer to the power supply voltage in a circuit. The double letter is usually related to the. The positive supply voltage on the collector side of the npn bipolar transistor is v. Stands for voltage at. What Is Vcc Used For.
From www.jigsawcad.com
Let the experts talk about What is VCC in transistors [Expert Advice] What Is Vcc Used For Stands for voltage at the common collector and is typically the positive supply voltage for bipolar junction transistor. In electronics, the full form of vcc is “voltage at the common collector.” it is a term commonly used to refer to the power supply. The terms vcc, vee, vdd, and vss are used in relation to power supply voltages. Vcc, short. What Is Vcc Used For.
From www.numerade.com
SOLVED A base current of 50 pA is applied to the transistor in Figure What Is Vcc Used For Here are their meanings and differences. The double letter is usually related to the. • vcc is used as the positive supply voltage for. The positive supply voltage on the collector side of the npn bipolar transistor is v. Stands for voltage at the common collector and is typically the positive supply voltage for bipolar junction transistor. Vcc, short for. What Is Vcc Used For.
From www.youtube.com
What is the use of a capacitor between Vdd and Vss (or Vcc and Vee What Is Vcc Used For Stands for voltage at the common collector and is typically the positive supply voltage for bipolar junction transistor. In electronics, the full form of vcc is “voltage at the common collector.” it is a term commonly used to refer to the power supply. • vcc is used as the positive supply voltage for. Here are their meanings and differences. For. What Is Vcc Used For.