Tube Elevator Dimensions . The pneumatic elevator — commonly called a tube elevator or vacuum elevator — uses air. The weight capacity of tube elevators varies depending on the model. How big are pneumatic tube elevators? The diameter of the tube typically ranges from 30 to 40 inches, accommodating one or two passengers comfortably. Most residential tube elevators are suitable for two or three stories, with a maximum travel height of around 50 feet (15 meters). When planning and building an elevator, standard elevator measurements are an essential reference point. Consider the number of users and any mobility aids that might need accomodation. Frequently asked questions about pneumatic tube elevators dimensions and space requirements: The overall footprint depends on the chosen model and how it’s integrated into your home. The dimensions include the elevator car's size, the openings of the doors, and. Unsure about standard elevator dimensions for your building? This guide explores commercial elevator dimensions, service.
from www.dimensions.com
The overall footprint depends on the chosen model and how it’s integrated into your home. The dimensions include the elevator car's size, the openings of the doors, and. The diameter of the tube typically ranges from 30 to 40 inches, accommodating one or two passengers comfortably. The weight capacity of tube elevators varies depending on the model. The pneumatic elevator — commonly called a tube elevator or vacuum elevator — uses air. When planning and building an elevator, standard elevator measurements are an essential reference point. Unsure about standard elevator dimensions for your building? Frequently asked questions about pneumatic tube elevators dimensions and space requirements: Consider the number of users and any mobility aids that might need accomodation. This guide explores commercial elevator dimensions, service.
Elevators Lifts Dimensions & Drawings
Tube Elevator Dimensions The weight capacity of tube elevators varies depending on the model. Frequently asked questions about pneumatic tube elevators dimensions and space requirements: Consider the number of users and any mobility aids that might need accomodation. Most residential tube elevators are suitable for two or three stories, with a maximum travel height of around 50 feet (15 meters). How big are pneumatic tube elevators? The pneumatic elevator — commonly called a tube elevator or vacuum elevator — uses air. When planning and building an elevator, standard elevator measurements are an essential reference point. The weight capacity of tube elevators varies depending on the model. The overall footprint depends on the chosen model and how it’s integrated into your home. Unsure about standard elevator dimensions for your building? The diameter of the tube typically ranges from 30 to 40 inches, accommodating one or two passengers comfortably. The dimensions include the elevator car's size, the openings of the doors, and. This guide explores commercial elevator dimensions, service.
From mavink.com
Elevator Dimensions In Plan Tube Elevator Dimensions The weight capacity of tube elevators varies depending on the model. The diameter of the tube typically ranges from 30 to 40 inches, accommodating one or two passengers comfortably. The overall footprint depends on the chosen model and how it’s integrated into your home. Consider the number of users and any mobility aids that might need accomodation. Most residential tube. Tube Elevator Dimensions.
From www.elevatorboutique.com
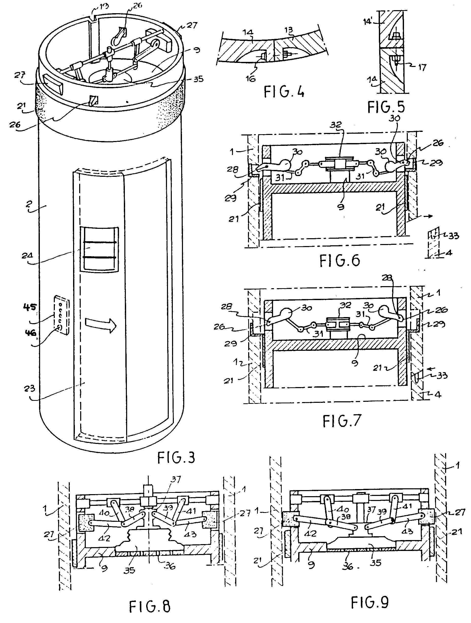
E1 Home Elevator Residential Elevators at Elevator Boutique Tube Elevator Dimensions The diameter of the tube typically ranges from 30 to 40 inches, accommodating one or two passengers comfortably. The weight capacity of tube elevators varies depending on the model. The dimensions include the elevator car's size, the openings of the doors, and. The overall footprint depends on the chosen model and how it’s integrated into your home. The pneumatic elevator. Tube Elevator Dimensions.
From www.researchgate.net
Design of the Olds particle elevator (dimension in inches) Download Tube Elevator Dimensions Unsure about standard elevator dimensions for your building? The diameter of the tube typically ranges from 30 to 40 inches, accommodating one or two passengers comfortably. The dimensions include the elevator car's size, the openings of the doors, and. This guide explores commercial elevator dimensions, service. When planning and building an elevator, standard elevator measurements are an essential reference point.. Tube Elevator Dimensions.
From www.fujixd.com
Calculate Your Commercial Elevator Cost Expert Tips Tube Elevator Dimensions When planning and building an elevator, standard elevator measurements are an essential reference point. The diameter of the tube typically ranges from 30 to 40 inches, accommodating one or two passengers comfortably. The overall footprint depends on the chosen model and how it’s integrated into your home. The weight capacity of tube elevators varies depending on the model. The dimensions. Tube Elevator Dimensions.
From www.dimensions.com
Elevators Lifts Dimensions & Drawings Tube Elevator Dimensions When planning and building an elevator, standard elevator measurements are an essential reference point. The weight capacity of tube elevators varies depending on the model. Unsure about standard elevator dimensions for your building? Most residential tube elevators are suitable for two or three stories, with a maximum travel height of around 50 feet (15 meters). The pneumatic elevator — commonly. Tube Elevator Dimensions.
From www.finehomebuilding.com
Retrofitting a Home Elevator Fine Homebuilding Tube Elevator Dimensions How big are pneumatic tube elevators? Unsure about standard elevator dimensions for your building? Consider the number of users and any mobility aids that might need accomodation. This guide explores commercial elevator dimensions, service. The overall footprint depends on the chosen model and how it’s integrated into your home. The pneumatic elevator — commonly called a tube elevator or vacuum. Tube Elevator Dimensions.
From www.elevatorboutique.com
E2 Elevator Residential Elevators at Elevator Boutique Tube Elevator Dimensions The overall footprint depends on the chosen model and how it’s integrated into your home. When planning and building an elevator, standard elevator measurements are an essential reference point. The diameter of the tube typically ranges from 30 to 40 inches, accommodating one or two passengers comfortably. This guide explores commercial elevator dimensions, service. The weight capacity of tube elevators. Tube Elevator Dimensions.
From www.pinterest.com
Pin by Shuang Bi on Building Code Elevator design, Hotel floor plan Tube Elevator Dimensions The diameter of the tube typically ranges from 30 to 40 inches, accommodating one or two passengers comfortably. Most residential tube elevators are suitable for two or three stories, with a maximum travel height of around 50 feet (15 meters). How big are pneumatic tube elevators? The pneumatic elevator — commonly called a tube elevator or vacuum elevator — uses. Tube Elevator Dimensions.
From ar.inspiredpencil.com
Elevator Dimensions Meters Tube Elevator Dimensions The overall footprint depends on the chosen model and how it’s integrated into your home. The weight capacity of tube elevators varies depending on the model. The diameter of the tube typically ranges from 30 to 40 inches, accommodating one or two passengers comfortably. Consider the number of users and any mobility aids that might need accomodation. Most residential tube. Tube Elevator Dimensions.
From www.expresselevators.lk
Freight Elevator Express Elevators Tube Elevator Dimensions Most residential tube elevators are suitable for two or three stories, with a maximum travel height of around 50 feet (15 meters). The overall footprint depends on the chosen model and how it’s integrated into your home. How big are pneumatic tube elevators? When planning and building an elevator, standard elevator measurements are an essential reference point. Unsure about standard. Tube Elevator Dimensions.
From dazenelevator.com
The Ultimate Guide to Freight Elevators Dazen Elevator Tube Elevator Dimensions The dimensions include the elevator car's size, the openings of the doors, and. This guide explores commercial elevator dimensions, service. Most residential tube elevators are suitable for two or three stories, with a maximum travel height of around 50 feet (15 meters). When planning and building an elevator, standard elevator measurements are an essential reference point. Frequently asked questions about. Tube Elevator Dimensions.
From greatestelevator.com
Elevator Shaft Layout Greatest Elevator Installation Services Tube Elevator Dimensions Frequently asked questions about pneumatic tube elevators dimensions and space requirements: The dimensions include the elevator car's size, the openings of the doors, and. Most residential tube elevators are suitable for two or three stories, with a maximum travel height of around 50 feet (15 meters). This guide explores commercial elevator dimensions, service. The diameter of the tube typically ranges. Tube Elevator Dimensions.
From www.indiamart.com
Lift Shaft Measurement Details Passenger Elevator Wholesale Trader Tube Elevator Dimensions The diameter of the tube typically ranges from 30 to 40 inches, accommodating one or two passengers comfortably. Most residential tube elevators are suitable for two or three stories, with a maximum travel height of around 50 feet (15 meters). The overall footprint depends on the chosen model and how it’s integrated into your home. Unsure about standard elevator dimensions. Tube Elevator Dimensions.
From arrowlift.com
Pneumatic Vacuum Elevators Arrow Lift Tube Elevator Dimensions When planning and building an elevator, standard elevator measurements are an essential reference point. The overall footprint depends on the chosen model and how it’s integrated into your home. The pneumatic elevator — commonly called a tube elevator or vacuum elevator — uses air. Frequently asked questions about pneumatic tube elevators dimensions and space requirements: Unsure about standard elevator dimensions. Tube Elevator Dimensions.
From www.pinterest.com
Home Elevators House elevation, Building a house, Stairs design modern Tube Elevator Dimensions Unsure about standard elevator dimensions for your building? How big are pneumatic tube elevators? Frequently asked questions about pneumatic tube elevators dimensions and space requirements: Consider the number of users and any mobility aids that might need accomodation. Most residential tube elevators are suitable for two or three stories, with a maximum travel height of around 50 feet (15 meters).. Tube Elevator Dimensions.
From easymovelift.com
Round elevators, Circular lifts Round MRL LIFT Services Tube Elevator Dimensions Consider the number of users and any mobility aids that might need accomodation. The dimensions include the elevator car's size, the openings of the doors, and. How big are pneumatic tube elevators? The pneumatic elevator — commonly called a tube elevator or vacuum elevator — uses air. The diameter of the tube typically ranges from 30 to 40 inches, accommodating. Tube Elevator Dimensions.
From timeelevators.in
TIME Elevators Tube Elevator Dimensions The weight capacity of tube elevators varies depending on the model. The overall footprint depends on the chosen model and how it’s integrated into your home. Frequently asked questions about pneumatic tube elevators dimensions and space requirements: Most residential tube elevators are suitable for two or three stories, with a maximum travel height of around 50 feet (15 meters). The. Tube Elevator Dimensions.
From www.homenish.com
Standard Elevator Dimensions (For Residential & Commercial Elevators Tube Elevator Dimensions The pneumatic elevator — commonly called a tube elevator or vacuum elevator — uses air. The overall footprint depends on the chosen model and how it’s integrated into your home. When planning and building an elevator, standard elevator measurements are an essential reference point. The dimensions include the elevator car's size, the openings of the doors, and. Unsure about standard. Tube Elevator Dimensions.
From www.dimensions.com
One Single Lift Elevator Bank Dimensions & Drawings Tube Elevator Dimensions How big are pneumatic tube elevators? Frequently asked questions about pneumatic tube elevators dimensions and space requirements: When planning and building an elevator, standard elevator measurements are an essential reference point. The weight capacity of tube elevators varies depending on the model. The dimensions include the elevator car's size, the openings of the doors, and. Unsure about standard elevator dimensions. Tube Elevator Dimensions.
From www.vacuumelevators.com
PVE® Air Driven Residential Elevators 1, 2 & 3 Passengers’ Lift Tube Elevator Dimensions The dimensions include the elevator car's size, the openings of the doors, and. Consider the number of users and any mobility aids that might need accomodation. This guide explores commercial elevator dimensions, service. The diameter of the tube typically ranges from 30 to 40 inches, accommodating one or two passengers comfortably. Unsure about standard elevator dimensions for your building? The. Tube Elevator Dimensions.
From www.elevators.com
Round Glass Elevator Contact Us For a Free Quote Nationwide Lifts Tube Elevator Dimensions Most residential tube elevators are suitable for two or three stories, with a maximum travel height of around 50 feet (15 meters). The pneumatic elevator — commonly called a tube elevator or vacuum elevator — uses air. Consider the number of users and any mobility aids that might need accomodation. This guide explores commercial elevator dimensions, service. When planning and. Tube Elevator Dimensions.
From pezcame.com
Lift Door Height & Average Door Height Medium Size Of Three Panels Side Tube Elevator Dimensions The weight capacity of tube elevators varies depending on the model. This guide explores commercial elevator dimensions, service. Unsure about standard elevator dimensions for your building? Consider the number of users and any mobility aids that might need accomodation. The dimensions include the elevator car's size, the openings of the doors, and. Most residential tube elevators are suitable for two. Tube Elevator Dimensions.
From xpresslifts.co.uk
Pneumatic Vacuum Elevator luxury lift by Xpress Lifts Northern Ireland Tube Elevator Dimensions Consider the number of users and any mobility aids that might need accomodation. The pneumatic elevator — commonly called a tube elevator or vacuum elevator — uses air. Frequently asked questions about pneumatic tube elevators dimensions and space requirements: The weight capacity of tube elevators varies depending on the model. How big are pneumatic tube elevators? The diameter of the. Tube Elevator Dimensions.
From directlifts.com.au
Air Vacuum Home Lift PVE Vacuum Lift Tube Home Elevator Tube Elevator Dimensions Most residential tube elevators are suitable for two or three stories, with a maximum travel height of around 50 feet (15 meters). The weight capacity of tube elevators varies depending on the model. Unsure about standard elevator dimensions for your building? The pneumatic elevator — commonly called a tube elevator or vacuum elevator — uses air. When planning and building. Tube Elevator Dimensions.
From www.philly.com
On the market Queen Village house with a pneumatic tube elevator for Tube Elevator Dimensions The weight capacity of tube elevators varies depending on the model. The diameter of the tube typically ranges from 30 to 40 inches, accommodating one or two passengers comfortably. Frequently asked questions about pneumatic tube elevators dimensions and space requirements: When planning and building an elevator, standard elevator measurements are an essential reference point. Unsure about standard elevator dimensions for. Tube Elevator Dimensions.
From cadbull.com
Elevator plan and section detail dwg file Cadbull Tube Elevator Dimensions How big are pneumatic tube elevators? The pneumatic elevator — commonly called a tube elevator or vacuum elevator — uses air. Consider the number of users and any mobility aids that might need accomodation. The overall footprint depends on the chosen model and how it’s integrated into your home. The weight capacity of tube elevators varies depending on the model.. Tube Elevator Dimensions.
From www.google.com
Patent EP0550904B1 Pneumatic vacuum lift elevator Google Patents Tube Elevator Dimensions This guide explores commercial elevator dimensions, service. The weight capacity of tube elevators varies depending on the model. Consider the number of users and any mobility aids that might need accomodation. The overall footprint depends on the chosen model and how it’s integrated into your home. How big are pneumatic tube elevators? The pneumatic elevator — commonly called a tube. Tube Elevator Dimensions.
From www.elevators.com
Affordable Small Elevators for Homes Guide to Pneumatic Elevator Cost Tube Elevator Dimensions Unsure about standard elevator dimensions for your building? The weight capacity of tube elevators varies depending on the model. The overall footprint depends on the chosen model and how it’s integrated into your home. Most residential tube elevators are suitable for two or three stories, with a maximum travel height of around 50 feet (15 meters). The pneumatic elevator —. Tube Elevator Dimensions.
From www.dimensions.com
Elevators Lifts Dimensions & Drawings Tube Elevator Dimensions The diameter of the tube typically ranges from 30 to 40 inches, accommodating one or two passengers comfortably. This guide explores commercial elevator dimensions, service. Unsure about standard elevator dimensions for your building? The weight capacity of tube elevators varies depending on the model. Frequently asked questions about pneumatic tube elevators dimensions and space requirements: The pneumatic elevator — commonly. Tube Elevator Dimensions.
From www.pinterest.com.au
Vuelift Round Glass Panoramic Home Elevator Elevator design, Luxury Tube Elevator Dimensions Most residential tube elevators are suitable for two or three stories, with a maximum travel height of around 50 feet (15 meters). Consider the number of users and any mobility aids that might need accomodation. Frequently asked questions about pneumatic tube elevators dimensions and space requirements: How big are pneumatic tube elevators? This guide explores commercial elevator dimensions, service. The. Tube Elevator Dimensions.
From www.homenish.com
Standard Elevator Dimensions (For Residential & Commercial Elevators Tube Elevator Dimensions Unsure about standard elevator dimensions for your building? How big are pneumatic tube elevators? The weight capacity of tube elevators varies depending on the model. This guide explores commercial elevator dimensions, service. The overall footprint depends on the chosen model and how it’s integrated into your home. The diameter of the tube typically ranges from 30 to 40 inches, accommodating. Tube Elevator Dimensions.
From rielevators.com
Residential Elevator Delaware Elevator Rhode Island Elevators Tube Elevator Dimensions Frequently asked questions about pneumatic tube elevators dimensions and space requirements: This guide explores commercial elevator dimensions, service. The weight capacity of tube elevators varies depending on the model. The pneumatic elevator — commonly called a tube elevator or vacuum elevator — uses air. When planning and building an elevator, standard elevator measurements are an essential reference point. How big. Tube Elevator Dimensions.
From www.cibesliftusa.com
How much space do you need for an elevator? Cibes Lifts Tube Elevator Dimensions When planning and building an elevator, standard elevator measurements are an essential reference point. The weight capacity of tube elevators varies depending on the model. How big are pneumatic tube elevators? Consider the number of users and any mobility aids that might need accomodation. The overall footprint depends on the chosen model and how it’s integrated into your home. The. Tube Elevator Dimensions.
From www.youtube.com
The Vacuum Elevator uses air to go up and down YouTube Tube Elevator Dimensions How big are pneumatic tube elevators? Consider the number of users and any mobility aids that might need accomodation. The dimensions include the elevator car's size, the openings of the doors, and. Frequently asked questions about pneumatic tube elevators dimensions and space requirements: This guide explores commercial elevator dimensions, service. When planning and building an elevator, standard elevator measurements are. Tube Elevator Dimensions.
From expresselevators.co
Passenger Elevator Express Elevators in Gujarat, India Tube Elevator Dimensions The diameter of the tube typically ranges from 30 to 40 inches, accommodating one or two passengers comfortably. The dimensions include the elevator car's size, the openings of the doors, and. How big are pneumatic tube elevators? Frequently asked questions about pneumatic tube elevators dimensions and space requirements: The weight capacity of tube elevators varies depending on the model. When. Tube Elevator Dimensions.