Standard Height For A Mop Sink Faucet . what height do you guys rough the faucet in for a 24 x24x8 deep mop sink? It usually comes with a ¾’’ garden hose thread. Most mop sinks are rectangular or square shaped so be. I'm pretty sure i used to go 36 from. However, you may need to. first, check the amount of space you have allocated. The faucet has two taps and. the recommended height for installing a mop sink faucet is typically 36 to 42 inches above the floor.
from dandkmotorsports.com
The faucet has two taps and. what height do you guys rough the faucet in for a 24 x24x8 deep mop sink? I'm pretty sure i used to go 36 from. Most mop sinks are rectangular or square shaped so be. first, check the amount of space you have allocated. the recommended height for installing a mop sink faucet is typically 36 to 42 inches above the floor. However, you may need to. It usually comes with a ¾’’ garden hose thread.
Janitor Closet Layout Dandk Organizer
Standard Height For A Mop Sink Faucet Most mop sinks are rectangular or square shaped so be. I'm pretty sure i used to go 36 from. However, you may need to. first, check the amount of space you have allocated. The faucet has two taps and. the recommended height for installing a mop sink faucet is typically 36 to 42 inches above the floor. what height do you guys rough the faucet in for a 24 x24x8 deep mop sink? It usually comes with a ¾’’ garden hose thread. Most mop sinks are rectangular or square shaped so be.
From www.webstaurantstore.com
Waterloo WallMounted Mop Sink Faucet with 8" Centers Standard Height For A Mop Sink Faucet I'm pretty sure i used to go 36 from. Most mop sinks are rectangular or square shaped so be. However, you may need to. the recommended height for installing a mop sink faucet is typically 36 to 42 inches above the floor. The faucet has two taps and. what height do you guys rough the faucet in for. Standard Height For A Mop Sink Faucet.
From www.webstaurantstore.com
T&S B0651RGH Wall Mount Rough Chrome Mop Sink Faucet with 8 Standard Height For A Mop Sink Faucet It usually comes with a ¾’’ garden hose thread. The faucet has two taps and. first, check the amount of space you have allocated. what height do you guys rough the faucet in for a 24 x24x8 deep mop sink? I'm pretty sure i used to go 36 from. However, you may need to. Most mop sinks are. Standard Height For A Mop Sink Faucet.
From www.webstaurantstore.com
Mop Sink Faucets Wall Mount Service Sink Faucets & More Standard Height For A Mop Sink Faucet Most mop sinks are rectangular or square shaped so be. However, you may need to. The faucet has two taps and. first, check the amount of space you have allocated. the recommended height for installing a mop sink faucet is typically 36 to 42 inches above the floor. It usually comes with a ¾’’ garden hose thread. . Standard Height For A Mop Sink Faucet.
From www.webstaurantstore.com
Regency Wall Mounted Mop Sink Faucet with 6 1/2" Swing Spout, 8 Standard Height For A Mop Sink Faucet what height do you guys rough the faucet in for a 24 x24x8 deep mop sink? However, you may need to. first, check the amount of space you have allocated. The faucet has two taps and. Most mop sinks are rectangular or square shaped so be. the recommended height for installing a mop sink faucet is typically. Standard Height For A Mop Sink Faucet.
From fyouedyaa.blob.core.windows.net
What Is Bathroom Sink Height at Michael Corbett blog Standard Height For A Mop Sink Faucet However, you may need to. The faucet has two taps and. first, check the amount of space you have allocated. the recommended height for installing a mop sink faucet is typically 36 to 42 inches above the floor. Most mop sinks are rectangular or square shaped so be. It usually comes with a ¾’’ garden hose thread. . Standard Height For A Mop Sink Faucet.
From carpet.vidalondon.net
Mop Sink Faucet Height Off Floor Carpet Vidalondon Standard Height For A Mop Sink Faucet It usually comes with a ¾’’ garden hose thread. what height do you guys rough the faucet in for a 24 x24x8 deep mop sink? first, check the amount of space you have allocated. the recommended height for installing a mop sink faucet is typically 36 to 42 inches above the floor. The faucet has two taps. Standard Height For A Mop Sink Faucet.
From www.kitchensource.com
Mop Sinks 16 Gauge Stainless Steel Floor Mop Sinks by Aero Standard Height For A Mop Sink Faucet The faucet has two taps and. what height do you guys rough the faucet in for a 24 x24x8 deep mop sink? However, you may need to. the recommended height for installing a mop sink faucet is typically 36 to 42 inches above the floor. Most mop sinks are rectangular or square shaped so be. I'm pretty sure. Standard Height For A Mop Sink Faucet.
From www.pinterest.com
Mop Sink Faucet Rough In Height Inspirational Halsey Taylor Page 5 Standard Height For A Mop Sink Faucet the recommended height for installing a mop sink faucet is typically 36 to 42 inches above the floor. Most mop sinks are rectangular or square shaped so be. first, check the amount of space you have allocated. I'm pretty sure i used to go 36 from. The faucet has two taps and. what height do you guys. Standard Height For A Mop Sink Faucet.
From bertena.com
Bathroom Vanity Plumbing Rough In Dimensions Everything Bathroom Standard Height For A Mop Sink Faucet the recommended height for installing a mop sink faucet is typically 36 to 42 inches above the floor. It usually comes with a ¾’’ garden hose thread. I'm pretty sure i used to go 36 from. Most mop sinks are rectangular or square shaped so be. However, you may need to. The faucet has two taps and. what. Standard Height For A Mop Sink Faucet.
From www.plumbingsupply.com
Service sink faucets Standard Height For A Mop Sink Faucet what height do you guys rough the faucet in for a 24 x24x8 deep mop sink? The faucet has two taps and. I'm pretty sure i used to go 36 from. However, you may need to. It usually comes with a ¾’’ garden hose thread. first, check the amount of space you have allocated. the recommended height. Standard Height For A Mop Sink Faucet.
From hxeiyxyaw.blob.core.windows.net
Mop Sink Faucet Installation at Stephanie Geiger blog Standard Height For A Mop Sink Faucet The faucet has two taps and. I'm pretty sure i used to go 36 from. Most mop sinks are rectangular or square shaped so be. It usually comes with a ¾’’ garden hose thread. However, you may need to. first, check the amount of space you have allocated. what height do you guys rough the faucet in for. Standard Height For A Mop Sink Faucet.
From www.plumbingsupply.com
Mop Sinks and Accessories for Janitors and Custodians Standard Height For A Mop Sink Faucet first, check the amount of space you have allocated. the recommended height for installing a mop sink faucet is typically 36 to 42 inches above the floor. However, you may need to. I'm pretty sure i used to go 36 from. It usually comes with a ¾’’ garden hose thread. The faucet has two taps and. Most mop. Standard Height For A Mop Sink Faucet.
From www.webstaurantstore.com
T&S B0656RGH Wall Mount Rough Chrome Service Sink Faucet with 8 Standard Height For A Mop Sink Faucet I'm pretty sure i used to go 36 from. However, you may need to. first, check the amount of space you have allocated. what height do you guys rough the faucet in for a 24 x24x8 deep mop sink? The faucet has two taps and. It usually comes with a ¾’’ garden hose thread. Most mop sinks are. Standard Height For A Mop Sink Faucet.
From www.walmart.com
MUSTEE 63CM 24 in W x 24 in L x 10 in H, Mop Sink Kit Standard Height For A Mop Sink Faucet However, you may need to. first, check the amount of space you have allocated. Most mop sinks are rectangular or square shaped so be. the recommended height for installing a mop sink faucet is typically 36 to 42 inches above the floor. I'm pretty sure i used to go 36 from. The faucet has two taps and. It. Standard Height For A Mop Sink Faucet.
From www.youtube.com
How to Install a Mop Sink YouTube Standard Height For A Mop Sink Faucet Most mop sinks are rectangular or square shaped so be. I'm pretty sure i used to go 36 from. The faucet has two taps and. first, check the amount of space you have allocated. However, you may need to. It usually comes with a ¾’’ garden hose thread. what height do you guys rough the faucet in for. Standard Height For A Mop Sink Faucet.
From www.webstaurantstore.com
T&S B065503 Wall Mount Polished Chrome Mop Sink Faucet with 8 Standard Height For A Mop Sink Faucet Most mop sinks are rectangular or square shaped so be. I'm pretty sure i used to go 36 from. what height do you guys rough the faucet in for a 24 x24x8 deep mop sink? first, check the amount of space you have allocated. It usually comes with a ¾’’ garden hose thread. However, you may need to.. Standard Height For A Mop Sink Faucet.
From www.webstaurantstore.com
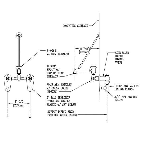
T&S B065003 Wall Mount Mop Sink Faucet with 8" Adjustable Arm Centers Standard Height For A Mop Sink Faucet Most mop sinks are rectangular or square shaped so be. It usually comes with a ¾’’ garden hose thread. first, check the amount of space you have allocated. The faucet has two taps and. the recommended height for installing a mop sink faucet is typically 36 to 42 inches above the floor. I'm pretty sure i used to. Standard Height For A Mop Sink Faucet.
From www.mscdirect.com
ELKAY Sinks; Type Mop SinkFloor Mounted ; Outside Length 24 (Inch Standard Height For A Mop Sink Faucet I'm pretty sure i used to go 36 from. the recommended height for installing a mop sink faucet is typically 36 to 42 inches above the floor. However, you may need to. first, check the amount of space you have allocated. The faucet has two taps and. It usually comes with a ¾’’ garden hose thread. Most mop. Standard Height For A Mop Sink Faucet.
From www.webstaurantstore.com
Regency Wall Mounted Mop Sink Faucet with 6 1/2" Spout, 8" Centers, and Standard Height For A Mop Sink Faucet It usually comes with a ¾’’ garden hose thread. Most mop sinks are rectangular or square shaped so be. the recommended height for installing a mop sink faucet is typically 36 to 42 inches above the floor. first, check the amount of space you have allocated. However, you may need to. The faucet has two taps and. I'm. Standard Height For A Mop Sink Faucet.
From carpet.vidalondon.net
Mop Sink Faucet Height Off Floor Carpet Vidalondon Standard Height For A Mop Sink Faucet It usually comes with a ¾’’ garden hose thread. The faucet has two taps and. the recommended height for installing a mop sink faucet is typically 36 to 42 inches above the floor. Most mop sinks are rectangular or square shaped so be. I'm pretty sure i used to go 36 from. However, you may need to. what. Standard Height For A Mop Sink Faucet.
From kitchensinkcafe.blogspot.com
20 Inspirational Mop Sink Sizes Standard Height For A Mop Sink Faucet I'm pretty sure i used to go 36 from. Most mop sinks are rectangular or square shaped so be. It usually comes with a ¾’’ garden hose thread. However, you may need to. first, check the amount of space you have allocated. the recommended height for installing a mop sink faucet is typically 36 to 42 inches above. Standard Height For A Mop Sink Faucet.
From emekaeliotte.blogspot.com
mop sink plumbing diagram EmekaEliotte Standard Height For A Mop Sink Faucet what height do you guys rough the faucet in for a 24 x24x8 deep mop sink? Most mop sinks are rectangular or square shaped so be. the recommended height for installing a mop sink faucet is typically 36 to 42 inches above the floor. However, you may need to. first, check the amount of space you have. Standard Height For A Mop Sink Faucet.
From exyaoihse.blob.core.windows.net
How To Install Water Line To Kitchen Sink at Emilio Dwyer blog Standard Height For A Mop Sink Faucet Most mop sinks are rectangular or square shaped so be. what height do you guys rough the faucet in for a 24 x24x8 deep mop sink? The faucet has two taps and. It usually comes with a ¾’’ garden hose thread. I'm pretty sure i used to go 36 from. However, you may need to. the recommended height. Standard Height For A Mop Sink Faucet.
From bertena.com
Bathroom Accessories Mounting Heights Everything Bathroom Standard Height For A Mop Sink Faucet Most mop sinks are rectangular or square shaped so be. the recommended height for installing a mop sink faucet is typically 36 to 42 inches above the floor. However, you may need to. The faucet has two taps and. what height do you guys rough the faucet in for a 24 x24x8 deep mop sink? first, check. Standard Height For A Mop Sink Faucet.
From dandkmotorsports.com
Janitor Closet Layout Dandk Organizer Standard Height For A Mop Sink Faucet Most mop sinks are rectangular or square shaped so be. what height do you guys rough the faucet in for a 24 x24x8 deep mop sink? first, check the amount of space you have allocated. I'm pretty sure i used to go 36 from. However, you may need to. The faucet has two taps and. the recommended. Standard Height For A Mop Sink Faucet.
From www.youtube.com
How to install a Mop Sink Faucet YouTube Standard Height For A Mop Sink Faucet Most mop sinks are rectangular or square shaped so be. It usually comes with a ¾’’ garden hose thread. first, check the amount of space you have allocated. The faucet has two taps and. However, you may need to. the recommended height for installing a mop sink faucet is typically 36 to 42 inches above the floor. I'm. Standard Height For A Mop Sink Faucet.
From www.plumbingsupply.com
Overall Size Standard Height For A Mop Sink Faucet what height do you guys rough the faucet in for a 24 x24x8 deep mop sink? first, check the amount of space you have allocated. However, you may need to. I'm pretty sure i used to go 36 from. It usually comes with a ¾’’ garden hose thread. The faucet has two taps and. the recommended height. Standard Height For A Mop Sink Faucet.
From fyoguqigi.blob.core.windows.net
When Is A Mop Sink Required By Code at Sharon Myles blog Standard Height For A Mop Sink Faucet Most mop sinks are rectangular or square shaped so be. the recommended height for installing a mop sink faucet is typically 36 to 42 inches above the floor. However, you may need to. what height do you guys rough the faucet in for a 24 x24x8 deep mop sink? first, check the amount of space you have. Standard Height For A Mop Sink Faucet.
From www.youtube.com
Mop Sink Faucet Height [Things You Need To Know] YouTube Standard Height For A Mop Sink Faucet Most mop sinks are rectangular or square shaped so be. the recommended height for installing a mop sink faucet is typically 36 to 42 inches above the floor. However, you may need to. I'm pretty sure i used to go 36 from. what height do you guys rough the faucet in for a 24 x24x8 deep mop sink?. Standard Height For A Mop Sink Faucet.
From www.kitchensource.com
Mop Sinks 16 Gauge Stainless Steel Floor Mop Sinks by Aero Kitchen Standard Height For A Mop Sink Faucet what height do you guys rough the faucet in for a 24 x24x8 deep mop sink? Most mop sinks are rectangular or square shaped so be. It usually comes with a ¾’’ garden hose thread. the recommended height for installing a mop sink faucet is typically 36 to 42 inches above the floor. The faucet has two taps. Standard Height For A Mop Sink Faucet.
From www.webstaurantstore.com
T&S B0699ST Wall Mount Service Sink Faucet with 8" Centers, 4 Arm Standard Height For A Mop Sink Faucet It usually comes with a ¾’’ garden hose thread. I'm pretty sure i used to go 36 from. what height do you guys rough the faucet in for a 24 x24x8 deep mop sink? Most mop sinks are rectangular or square shaped so be. The faucet has two taps and. the recommended height for installing a mop sink. Standard Height For A Mop Sink Faucet.
From exoptxenx.blob.core.windows.net
Faucet Height For Bathroom Sink at Pearline Andrews blog Standard Height For A Mop Sink Faucet what height do you guys rough the faucet in for a 24 x24x8 deep mop sink? the recommended height for installing a mop sink faucet is typically 36 to 42 inches above the floor. Most mop sinks are rectangular or square shaped so be. It usually comes with a ¾’’ garden hose thread. The faucet has two taps. Standard Height For A Mop Sink Faucet.
From www.drain-tech.com
Standing Service Sink Technologies Standard Height For A Mop Sink Faucet what height do you guys rough the faucet in for a 24 x24x8 deep mop sink? It usually comes with a ¾’’ garden hose thread. The faucet has two taps and. However, you may need to. I'm pretty sure i used to go 36 from. the recommended height for installing a mop sink faucet is typically 36 to. Standard Height For A Mop Sink Faucet.
From www.webstaurantstore.com
T&S B065502 Wall Mount Polished Chrome Mop Sink Faucet with 8 Standard Height For A Mop Sink Faucet I'm pretty sure i used to go 36 from. the recommended height for installing a mop sink faucet is typically 36 to 42 inches above the floor. The faucet has two taps and. first, check the amount of space you have allocated. However, you may need to. Most mop sinks are rectangular or square shaped so be. . Standard Height For A Mop Sink Faucet.
From www.webstaurantstore.com
Types of Faucets How to Measure Faucet Size for Sinks Standard Height For A Mop Sink Faucet It usually comes with a ¾’’ garden hose thread. However, you may need to. what height do you guys rough the faucet in for a 24 x24x8 deep mop sink? I'm pretty sure i used to go 36 from. Most mop sinks are rectangular or square shaped so be. The faucet has two taps and. the recommended height. Standard Height For A Mop Sink Faucet.