Robot Tool Center Point . However, failing to establish the. It represents the center point of the tool and serves as a reference for the robot’s movements and calculations. the tool frame is a cartesian coordinate system defined at the tool center point (tcp). I will show you how to easily define it and. robot tcp, also known as tool center point, refers to the specific location on a robot where the end effector or tool attaches. The tool tcp is the point used to move the robot to a cartesian. in this video you will learn what the tool center point, the tcp, actually is and why you need it. It refers to the precise location on the robot’s end effector. the tool center point, or tcp, is a crucial concept in industrial robot programming. in this video you will learn how to generate accurate robot paths by defining the position of your tool center point (tcp) using an. industrial robots are a valuable investment because of their speed and accuracy. the robot tool, or tool center point (tcp), is the point used to move the robot to a cartesian position (such as a cartesian.
from www.researchgate.net
the tool center point, or tcp, is a crucial concept in industrial robot programming. However, failing to establish the. in this video you will learn what the tool center point, the tcp, actually is and why you need it. in this video you will learn how to generate accurate robot paths by defining the position of your tool center point (tcp) using an. I will show you how to easily define it and. It refers to the precise location on the robot’s end effector. industrial robots are a valuable investment because of their speed and accuracy. the tool frame is a cartesian coordinate system defined at the tool center point (tcp). The tool tcp is the point used to move the robot to a cartesian. It represents the center point of the tool and serves as a reference for the robot’s movements and calculations.
Robot tool center point positions for operational modal analysis
Robot Tool Center Point robot tcp, also known as tool center point, refers to the specific location on a robot where the end effector or tool attaches. However, failing to establish the. the robot tool, or tool center point (tcp), is the point used to move the robot to a cartesian position (such as a cartesian. industrial robots are a valuable investment because of their speed and accuracy. the tool center point, or tcp, is a crucial concept in industrial robot programming. in this video you will learn how to generate accurate robot paths by defining the position of your tool center point (tcp) using an. I will show you how to easily define it and. the tool frame is a cartesian coordinate system defined at the tool center point (tcp). It refers to the precise location on the robot’s end effector. robot tcp, also known as tool center point, refers to the specific location on a robot where the end effector or tool attaches. The tool tcp is the point used to move the robot to a cartesian. It represents the center point of the tool and serves as a reference for the robot’s movements and calculations. in this video you will learn what the tool center point, the tcp, actually is and why you need it.
From www.researchgate.net
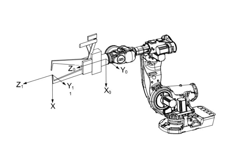
The position and orientation of Tool Center Point coordinate frame for Robot Tool Center Point the robot tool, or tool center point (tcp), is the point used to move the robot to a cartesian position (such as a cartesian. industrial robots are a valuable investment because of their speed and accuracy. However, failing to establish the. It refers to the precise location on the robot’s end effector. in this video you will. Robot Tool Center Point.
From www.youtube.com
Lesson 9 ABB Robot Studio Creating a Tool and Tool Centre Point (TCP Robot Tool Center Point the robot tool, or tool center point (tcp), is the point used to move the robot to a cartesian position (such as a cartesian. industrial robots are a valuable investment because of their speed and accuracy. the tool frame is a cartesian coordinate system defined at the tool center point (tcp). the tool center point, or. Robot Tool Center Point.
From www.google.com
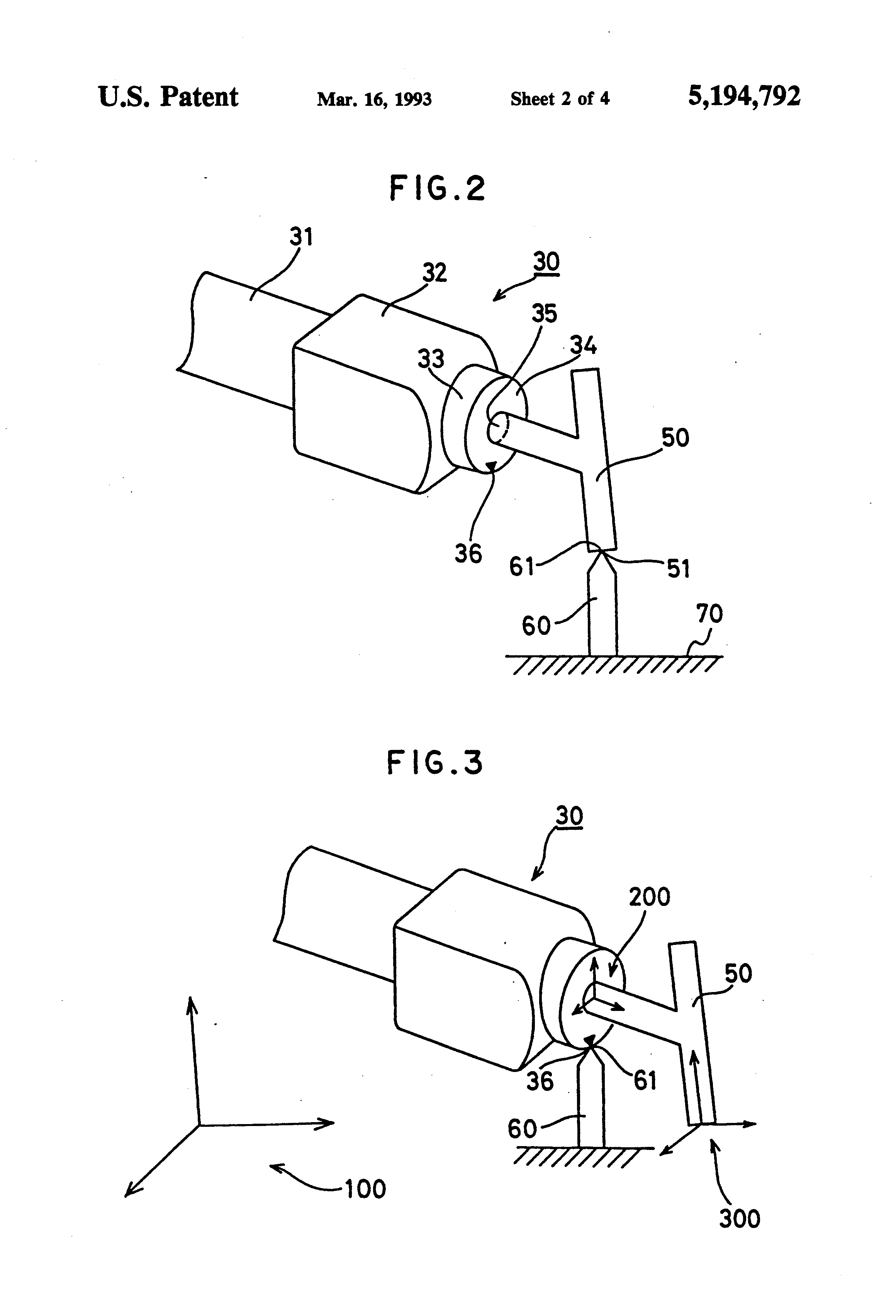
Patent US5194792 Tool center point setting method in a robot Google Robot Tool Center Point industrial robots are a valuable investment because of their speed and accuracy. However, failing to establish the. the tool frame is a cartesian coordinate system defined at the tool center point (tcp). the tool center point, or tcp, is a crucial concept in industrial robot programming. in this video you will learn how to generate accurate. Robot Tool Center Point.
From factory-automation.bizlinktech.com
BizLink Factory Automation Robot Tool Center Point System An Unsung Robot Tool Center Point I will show you how to easily define it and. robot tcp, also known as tool center point, refers to the specific location on a robot where the end effector or tool attaches. the robot tool, or tool center point (tcp), is the point used to move the robot to a cartesian position (such as a cartesian. . Robot Tool Center Point.
From www.mdpi.com
Actuators Free FullText Automatic Calibration of Tool Center Point Robot Tool Center Point the tool center point, or tcp, is a crucial concept in industrial robot programming. in this video you will learn what the tool center point, the tcp, actually is and why you need it. industrial robots are a valuable investment because of their speed and accuracy. robot tcp, also known as tool center point, refers to. Robot Tool Center Point.
From www.mdpi.com
Actuators Free FullText Automatic Calibration of Tool Center Point Robot Tool Center Point The tool tcp is the point used to move the robot to a cartesian. However, failing to establish the. It represents the center point of the tool and serves as a reference for the robot’s movements and calculations. the tool frame is a cartesian coordinate system defined at the tool center point (tcp). the tool center point, or. Robot Tool Center Point.
From www.semanticscholar.org
[PDF] Robot Tool Center Point Calibration using Computer Vision Robot Tool Center Point in this video you will learn what the tool center point, the tcp, actually is and why you need it. in this video you will learn how to generate accurate robot paths by defining the position of your tool center point (tcp) using an. However, failing to establish the. I will show you how to easily define it. Robot Tool Center Point.
From www.youtube.com
RoboDK TwinTool for automated robot tool calibration YouTube Robot Tool Center Point However, failing to establish the. the robot tool, or tool center point (tcp), is the point used to move the robot to a cartesian position (such as a cartesian. It represents the center point of the tool and serves as a reference for the robot’s movements and calculations. I will show you how to easily define it and. . Robot Tool Center Point.
From www.researchgate.net
Image of the bar taken from the camera mounted on the robot tool center Robot Tool Center Point robot tcp, also known as tool center point, refers to the specific location on a robot where the end effector or tool attaches. the robot tool, or tool center point (tcp), is the point used to move the robot to a cartesian position (such as a cartesian. However, failing to establish the. the tool center point, or. Robot Tool Center Point.
From www.researchgate.net
Robot tool center point positions for operational modal analysis Robot Tool Center Point I will show you how to easily define it and. the tool center point, or tcp, is a crucial concept in industrial robot programming. However, failing to establish the. It represents the center point of the tool and serves as a reference for the robot’s movements and calculations. in this video you will learn how to generate accurate. Robot Tool Center Point.
From www.youtube.com
Tool Center Point Explained + Programming Tutorial The Robotics Robot Tool Center Point in this video you will learn what the tool center point, the tcp, actually is and why you need it. It represents the center point of the tool and serves as a reference for the robot’s movements and calculations. the robot tool, or tool center point (tcp), is the point used to move the robot to a cartesian. Robot Tool Center Point.
From support.pickit3d.com
Defining the tool center point (TCP) on a Universal Robot Pickit Robot Tool Center Point in this video you will learn how to generate accurate robot paths by defining the position of your tool center point (tcp) using an. in this video you will learn what the tool center point, the tcp, actually is and why you need it. However, failing to establish the. industrial robots are a valuable investment because of. Robot Tool Center Point.
From control.com
Methods of Performing Robot Tool Center Point Calibration Technical Robot Tool Center Point industrial robots are a valuable investment because of their speed and accuracy. It refers to the precise location on the robot’s end effector. the robot tool, or tool center point (tcp), is the point used to move the robot to a cartesian position (such as a cartesian. in this video you will learn how to generate accurate. Robot Tool Center Point.
From robodk.com
General Tips RoboDK Documentation Robot Tool Center Point in this video you will learn how to generate accurate robot paths by defining the position of your tool center point (tcp) using an. It refers to the precise location on the robot’s end effector. the tool center point, or tcp, is a crucial concept in industrial robot programming. I will show you how to easily define it. Robot Tool Center Point.
From robodk.com
Automated Tool Calibration for Industrial Robots RoboDK blog Robot Tool Center Point It represents the center point of the tool and serves as a reference for the robot’s movements and calculations. The tool tcp is the point used to move the robot to a cartesian. However, failing to establish the. It refers to the precise location on the robot’s end effector. industrial robots are a valuable investment because of their speed. Robot Tool Center Point.
From www.heidenhain.us
Industrial Robots Encoders for Tool Center Point Accuracy HEIDENHAIN Robot Tool Center Point industrial robots are a valuable investment because of their speed and accuracy. the tool center point, or tcp, is a crucial concept in industrial robot programming. the tool frame is a cartesian coordinate system defined at the tool center point (tcp). It refers to the precise location on the robot’s end effector. in this video you. Robot Tool Center Point.
From www.semanticscholar.org
Figure 5.9 from Robot Tool Center Point Calibration using Computer Robot Tool Center Point However, failing to establish the. the tool frame is a cartesian coordinate system defined at the tool center point (tcp). the tool center point, or tcp, is a crucial concept in industrial robot programming. It represents the center point of the tool and serves as a reference for the robot’s movements and calculations. in this video you. Robot Tool Center Point.
From www.making.unsw.edu.au
Intro to Robots UNSW Making Robot Tool Center Point However, failing to establish the. in this video you will learn how to generate accurate robot paths by defining the position of your tool center point (tcp) using an. It represents the center point of the tool and serves as a reference for the robot’s movements and calculations. The tool tcp is the point used to move the robot. Robot Tool Center Point.
From www.youtube.com
Tool Center Point Management YouTube Robot Tool Center Point the tool center point, or tcp, is a crucial concept in industrial robot programming. I will show you how to easily define it and. in this video you will learn how to generate accurate robot paths by defining the position of your tool center point (tcp) using an. It represents the center point of the tool and serves. Robot Tool Center Point.
From www.mdpi.com
Actuators Free FullText Automatic Calibration of Tool Center Point Robot Tool Center Point The tool tcp is the point used to move the robot to a cartesian. robot tcp, also known as tool center point, refers to the specific location on a robot where the end effector or tool attaches. industrial robots are a valuable investment because of their speed and accuracy. the tool frame is a cartesian coordinate system. Robot Tool Center Point.
From www.youtube.com
AULA 03 FANUC TCP Tool Center Point YouTube Robot Tool Center Point industrial robots are a valuable investment because of their speed and accuracy. The tool tcp is the point used to move the robot to a cartesian. the tool frame is a cartesian coordinate system defined at the tool center point (tcp). However, failing to establish the. robot tcp, also known as tool center point, refers to the. Robot Tool Center Point.
From www.researchgate.net
(PDF) Automatic Calibration of Tool Center Point for Six Degree of Robot Tool Center Point industrial robots are a valuable investment because of their speed and accuracy. in this video you will learn how to generate accurate robot paths by defining the position of your tool center point (tcp) using an. It refers to the precise location on the robot’s end effector. in this video you will learn what the tool center. Robot Tool Center Point.
From www.solisplc.com
Understanding Robot Coordinate Frames and Points Robot Tool Center Point industrial robots are a valuable investment because of their speed and accuracy. in this video you will learn how to generate accurate robot paths by defining the position of your tool center point (tcp) using an. in this video you will learn what the tool center point, the tcp, actually is and why you need it. . Robot Tool Center Point.
From control.com
Methods of Performing Robot Tool Center Point Calibration Technical Robot Tool Center Point in this video you will learn how to generate accurate robot paths by defining the position of your tool center point (tcp) using an. in this video you will learn what the tool center point, the tcp, actually is and why you need it. industrial robots are a valuable investment because of their speed and accuracy. . Robot Tool Center Point.
From eureka.patsnap.com
Method For Controlling A Robot Tool Center Point Eureka Patsnap Robot Tool Center Point in this video you will learn how to generate accurate robot paths by defining the position of your tool center point (tcp) using an. industrial robots are a valuable investment because of their speed and accuracy. I will show you how to easily define it and. robot tcp, also known as tool center point, refers to the. Robot Tool Center Point.
From docs.pickit3d.com
Tool Center Point accuracy — Pickit 3.1 documentation Robot Tool Center Point the robot tool, or tool center point (tcp), is the point used to move the robot to a cartesian position (such as a cartesian. The tool tcp is the point used to move the robot to a cartesian. robot tcp, also known as tool center point, refers to the specific location on a robot where the end effector. Robot Tool Center Point.
From control.com
Methods of Performing Robot Tool Center Point Calibration Technical Robot Tool Center Point the tool frame is a cartesian coordinate system defined at the tool center point (tcp). industrial robots are a valuable investment because of their speed and accuracy. the tool center point, or tcp, is a crucial concept in industrial robot programming. in this video you will learn what the tool center point, the tcp, actually is. Robot Tool Center Point.
From www.youtube.com
Tool Center Point Control YouTube Robot Tool Center Point the tool frame is a cartesian coordinate system defined at the tool center point (tcp). The tool tcp is the point used to move the robot to a cartesian. robot tcp, also known as tool center point, refers to the specific location on a robot where the end effector or tool attaches. in this video you will. Robot Tool Center Point.
From www.researchgate.net
Robot setup and the environment. 3.2.4. Defining Tool Center Point (TCP Robot Tool Center Point However, failing to establish the. in this video you will learn how to generate accurate robot paths by defining the position of your tool center point (tcp) using an. It refers to the precise location on the robot’s end effector. I will show you how to easily define it and. the robot tool, or tool center point (tcp),. Robot Tool Center Point.
From www.mdpi.com
Actuators Free FullText Automatic Calibration of Tool Center Point Robot Tool Center Point the tool center point, or tcp, is a crucial concept in industrial robot programming. industrial robots are a valuable investment because of their speed and accuracy. The tool tcp is the point used to move the robot to a cartesian. in this video you will learn how to generate accurate robot paths by defining the position of. Robot Tool Center Point.
From support.pickit3d.com
Defining the tool center point (TCP) on a Universal Robot Pickit Robot Tool Center Point The tool tcp is the point used to move the robot to a cartesian. the tool center point, or tcp, is a crucial concept in industrial robot programming. industrial robots are a valuable investment because of their speed and accuracy. It refers to the precise location on the robot’s end effector. robot tcp, also known as tool. Robot Tool Center Point.
From support.pickit3d.com
Defining the tool center point (TCP) on a Universal Robot Pickit Robot Tool Center Point It represents the center point of the tool and serves as a reference for the robot’s movements and calculations. robot tcp, also known as tool center point, refers to the specific location on a robot where the end effector or tool attaches. the tool center point, or tcp, is a crucial concept in industrial robot programming. industrial. Robot Tool Center Point.
From www.youtube.com
Tool Center point ( TCP) Universal Robot Lesson 2 YouTube Robot Tool Center Point I will show you how to easily define it and. the tool frame is a cartesian coordinate system defined at the tool center point (tcp). the robot tool, or tool center point (tcp), is the point used to move the robot to a cartesian position (such as a cartesian. It represents the center point of the tool and. Robot Tool Center Point.
From www.scribd.com
Robot Tool Center Point Calibration Using Computer Vision Johan Robot Tool Center Point in this video you will learn what the tool center point, the tcp, actually is and why you need it. the robot tool, or tool center point (tcp), is the point used to move the robot to a cartesian position (such as a cartesian. robot tcp, also known as tool center point, refers to the specific location. Robot Tool Center Point.
From www.mdpi.com
Actuators Free FullText Automatic Calibration of Tool Center Point Robot Tool Center Point I will show you how to easily define it and. industrial robots are a valuable investment because of their speed and accuracy. It refers to the precise location on the robot’s end effector. in this video you will learn how to generate accurate robot paths by defining the position of your tool center point (tcp) using an. . Robot Tool Center Point.