Cable Tester Drawing . Will show open circuits, short circuits, reversals, earth faults, continuity and all with four ic's. Described here is a simple rj45 cable tester circuit which can be used for testing the rj45 network cables. This way, you'd be able. The circuit practically detects ac signal frequencies. Designed initially for my intercom, but. A multi wire cable tester with a separate led for each wire. This cable tester helps you test cable continuity without requiring any physical contact. The entire project, excluding the battery cost me just a bit over. The diagrams are designed to be as intuitive as possible, allowing you to. Rj45 cable tester specifications for network cable (rj45) and telephone (rj11) tests. In this project, i am going to make a lan cable tester with just a few basic electronics components. Using a lan cable tester circuit diagram is simple.
from pcinternational.co.za
Will show open circuits, short circuits, reversals, earth faults, continuity and all with four ic's. A multi wire cable tester with a separate led for each wire. The diagrams are designed to be as intuitive as possible, allowing you to. Using a lan cable tester circuit diagram is simple. This way, you'd be able. This cable tester helps you test cable continuity without requiring any physical contact. The entire project, excluding the battery cost me just a bit over. The circuit practically detects ac signal frequencies. Designed initially for my intercom, but. In this project, i am going to make a lan cable tester with just a few basic electronics components.
Cable Tester RJ45
Cable Tester Drawing Designed initially for my intercom, but. In this project, i am going to make a lan cable tester with just a few basic electronics components. Rj45 cable tester specifications for network cable (rj45) and telephone (rj11) tests. Described here is a simple rj45 cable tester circuit which can be used for testing the rj45 network cables. This way, you'd be able. This cable tester helps you test cable continuity without requiring any physical contact. Will show open circuits, short circuits, reversals, earth faults, continuity and all with four ic's. The diagrams are designed to be as intuitive as possible, allowing you to. The entire project, excluding the battery cost me just a bit over. A multi wire cable tester with a separate led for each wire. Using a lan cable tester circuit diagram is simple. Designed initially for my intercom, but. The circuit practically detects ac signal frequencies.
From webee.fortunecity.ws
Electronic Projects Online Multicore Cable Tester Cable Tester Drawing In this project, i am going to make a lan cable tester with just a few basic electronics components. The entire project, excluding the battery cost me just a bit over. A multi wire cable tester with a separate led for each wire. This cable tester helps you test cable continuity without requiring any physical contact. Will show open circuits,. Cable Tester Drawing.
From www.caretxdigital.com
wire harness drawing software free Wiring Diagram and Schematics Cable Tester Drawing This way, you'd be able. The diagrams are designed to be as intuitive as possible, allowing you to. This cable tester helps you test cable continuity without requiring any physical contact. Designed initially for my intercom, but. Will show open circuits, short circuits, reversals, earth faults, continuity and all with four ic's. Using a lan cable tester circuit diagram is. Cable Tester Drawing.
From www.electricaltechnology.org
Cable and Wire Tester Circuit Diagram Multi Electronic Tester Cable Tester Drawing Described here is a simple rj45 cable tester circuit which can be used for testing the rj45 network cables. In this project, i am going to make a lan cable tester with just a few basic electronics components. The diagrams are designed to be as intuitive as possible, allowing you to. Using a lan cable tester circuit diagram is simple.. Cable Tester Drawing.
From www.electroschematics.com
Network Cable Tester Circuit Cable Tester Drawing The entire project, excluding the battery cost me just a bit over. Described here is a simple rj45 cable tester circuit which can be used for testing the rj45 network cables. Designed initially for my intercom, but. Using a lan cable tester circuit diagram is simple. The diagrams are designed to be as intuitive as possible, allowing you to. This. Cable Tester Drawing.
From delphijustin.biz
DIY cable tester Delphijustin industries Cable Tester Drawing Will show open circuits, short circuits, reversals, earth faults, continuity and all with four ic's. This cable tester helps you test cable continuity without requiring any physical contact. This way, you'd be able. A multi wire cable tester with a separate led for each wire. In this project, i am going to make a lan cable tester with just a. Cable Tester Drawing.
From pcinternational.co.za
Cable Tester RJ45 Cable Tester Drawing Rj45 cable tester specifications for network cable (rj45) and telephone (rj11) tests. Using a lan cable tester circuit diagram is simple. A multi wire cable tester with a separate led for each wire. In this project, i am going to make a lan cable tester with just a few basic electronics components. This cable tester helps you test cable continuity. Cable Tester Drawing.
From diagramlibraryjulie.z13.web.core.windows.net
Electric Tester Circuit Diagram Cable Tester Drawing Will show open circuits, short circuits, reversals, earth faults, continuity and all with four ic's. In this project, i am going to make a lan cable tester with just a few basic electronics components. The entire project, excluding the battery cost me just a bit over. Using a lan cable tester circuit diagram is simple. This cable tester helps you. Cable Tester Drawing.
From userdiagramwaxiest.z21.web.core.windows.net
Cable Detect And Connect Tester Cable Tester Drawing Using a lan cable tester circuit diagram is simple. This way, you'd be able. This cable tester helps you test cable continuity without requiring any physical contact. The entire project, excluding the battery cost me just a bit over. Rj45 cable tester specifications for network cable (rj45) and telephone (rj11) tests. The circuit practically detects ac signal frequencies. The diagrams. Cable Tester Drawing.
From www.kleintools.com
Network Cable Tester, LAN Explorer® Data Cable Tester with Remote VDV526100 Klein Tools Cable Tester Drawing Using a lan cable tester circuit diagram is simple. The entire project, excluding the battery cost me just a bit over. Will show open circuits, short circuits, reversals, earth faults, continuity and all with four ic's. This cable tester helps you test cable continuity without requiring any physical contact. Rj45 cable tester specifications for network cable (rj45) and telephone (rj11). Cable Tester Drawing.
From www.electronicsforu.com
RJ45 Cable Tester Detailed Circuit Diagram Available Cable Tester Drawing The diagrams are designed to be as intuitive as possible, allowing you to. A multi wire cable tester with a separate led for each wire. The entire project, excluding the battery cost me just a bit over. Will show open circuits, short circuits, reversals, earth faults, continuity and all with four ic's. This cable tester helps you test cable continuity. Cable Tester Drawing.
From www.circuitdiagram.co
Cable Tester Circuit Diagram Cable Tester Drawing The diagrams are designed to be as intuitive as possible, allowing you to. Described here is a simple rj45 cable tester circuit which can be used for testing the rj45 network cables. The entire project, excluding the battery cost me just a bit over. In this project, i am going to make a lan cable tester with just a few. Cable Tester Drawing.
From www.gadgetronicx.com
IDC Ribbon Cable Tester circuit Gadgetronicx Cable Tester Drawing The circuit practically detects ac signal frequencies. Using a lan cable tester circuit diagram is simple. Designed initially for my intercom, but. This way, you'd be able. Rj45 cable tester specifications for network cable (rj45) and telephone (rj11) tests. In this project, i am going to make a lan cable tester with just a few basic electronics components. The entire. Cable Tester Drawing.
From www.alamy.com
Cable tester and lan cable, 3D rendering isolated on white background Stock Photo Alamy Cable Tester Drawing This cable tester helps you test cable continuity without requiring any physical contact. A multi wire cable tester with a separate led for each wire. Will show open circuits, short circuits, reversals, earth faults, continuity and all with four ic's. The diagrams are designed to be as intuitive as possible, allowing you to. The entire project, excluding the battery cost. Cable Tester Drawing.
From www.cable-tester.com
DIY Cable Tester Collection Schematic Design Cable Tester Drawing This cable tester helps you test cable continuity without requiring any physical contact. Designed initially for my intercom, but. This way, you'd be able. Will show open circuits, short circuits, reversals, earth faults, continuity and all with four ic's. Described here is a simple rj45 cable tester circuit which can be used for testing the rj45 network cables. In this. Cable Tester Drawing.
From www.camiresearch.com
Windows Software for the CableEye PC Based Cable Tester Cable Tester Drawing Using a lan cable tester circuit diagram is simple. The diagrams are designed to be as intuitive as possible, allowing you to. Will show open circuits, short circuits, reversals, earth faults, continuity and all with four ic's. This way, you'd be able. In this project, i am going to make a lan cable tester with just a few basic electronics. Cable Tester Drawing.
From www.cable-tester.com
DIY Cable Tester Collection Schematic Design Cable Tester Drawing The circuit practically detects ac signal frequencies. A multi wire cable tester with a separate led for each wire. Using a lan cable tester circuit diagram is simple. In this project, i am going to make a lan cable tester with just a few basic electronics components. Designed initially for my intercom, but. This way, you'd be able. The entire. Cable Tester Drawing.
From www.drawingskill.com
Cable Drawing Drawing Skill Cable Tester Drawing This way, you'd be able. The circuit practically detects ac signal frequencies. Will show open circuits, short circuits, reversals, earth faults, continuity and all with four ic's. In this project, i am going to make a lan cable tester with just a few basic electronics components. Rj45 cable tester specifications for network cable (rj45) and telephone (rj11) tests. The diagrams. Cable Tester Drawing.
From www.circuitdiagram.co
Network Cable Tester Circuit Diagram Circuit Diagram Cable Tester Drawing Designed initially for my intercom, but. The diagrams are designed to be as intuitive as possible, allowing you to. Using a lan cable tester circuit diagram is simple. Will show open circuits, short circuits, reversals, earth faults, continuity and all with four ic's. The circuit practically detects ac signal frequencies. This cable tester helps you test cable continuity without requiring. Cable Tester Drawing.
From www.electronicsforu.com
RJ45 Cable Tester Detailed Circuit Diagram Available Cable Tester Drawing The circuit practically detects ac signal frequencies. This way, you'd be able. Using a lan cable tester circuit diagram is simple. This cable tester helps you test cable continuity without requiring any physical contact. Designed initially for my intercom, but. In this project, i am going to make a lan cable tester with just a few basic electronics components. Rj45. Cable Tester Drawing.
From www.netadmintools.com
Build Your Own Cat5 Cable Tester Part 2 Network Admin Tools Cable Tester Drawing Designed initially for my intercom, but. This cable tester helps you test cable continuity without requiring any physical contact. This way, you'd be able. The circuit practically detects ac signal frequencies. The entire project, excluding the battery cost me just a bit over. Will show open circuits, short circuits, reversals, earth faults, continuity and all with four ic's. Described here. Cable Tester Drawing.
From joiynchpf.blob.core.windows.net
Cable Tester Instructions at Connie Decoteau blog Cable Tester Drawing Will show open circuits, short circuits, reversals, earth faults, continuity and all with four ic's. This way, you'd be able. This cable tester helps you test cable continuity without requiring any physical contact. The diagrams are designed to be as intuitive as possible, allowing you to. Described here is a simple rj45 cable tester circuit which can be used for. Cable Tester Drawing.
From device.report
sincables NF468 Cable Tester Instruction Manual Cable Tester Drawing Will show open circuits, short circuits, reversals, earth faults, continuity and all with four ic's. A multi wire cable tester with a separate led for each wire. Using a lan cable tester circuit diagram is simple. The entire project, excluding the battery cost me just a bit over. Rj45 cable tester specifications for network cable (rj45) and telephone (rj11) tests.. Cable Tester Drawing.
From www.electricalvolt.com
Cable megger test Cable Tester Drawing Described here is a simple rj45 cable tester circuit which can be used for testing the rj45 network cables. Designed initially for my intercom, but. In this project, i am going to make a lan cable tester with just a few basic electronics components. Using a lan cable tester circuit diagram is simple. Rj45 cable tester specifications for network cable. Cable Tester Drawing.
From bestengineeringprojects.com
RJ45 Cable Tester Circuit Engineering Projects Cable Tester Drawing The entire project, excluding the battery cost me just a bit over. The circuit practically detects ac signal frequencies. Designed initially for my intercom, but. The diagrams are designed to be as intuitive as possible, allowing you to. In this project, i am going to make a lan cable tester with just a few basic electronics components. Using a lan. Cable Tester Drawing.
From device.report
sincables NF468 Cable Tester Instruction Manual Cable Tester Drawing Will show open circuits, short circuits, reversals, earth faults, continuity and all with four ic's. The diagrams are designed to be as intuitive as possible, allowing you to. This way, you'd be able. The entire project, excluding the battery cost me just a bit over. Rj45 cable tester specifications for network cable (rj45) and telephone (rj11) tests. Using a lan. Cable Tester Drawing.
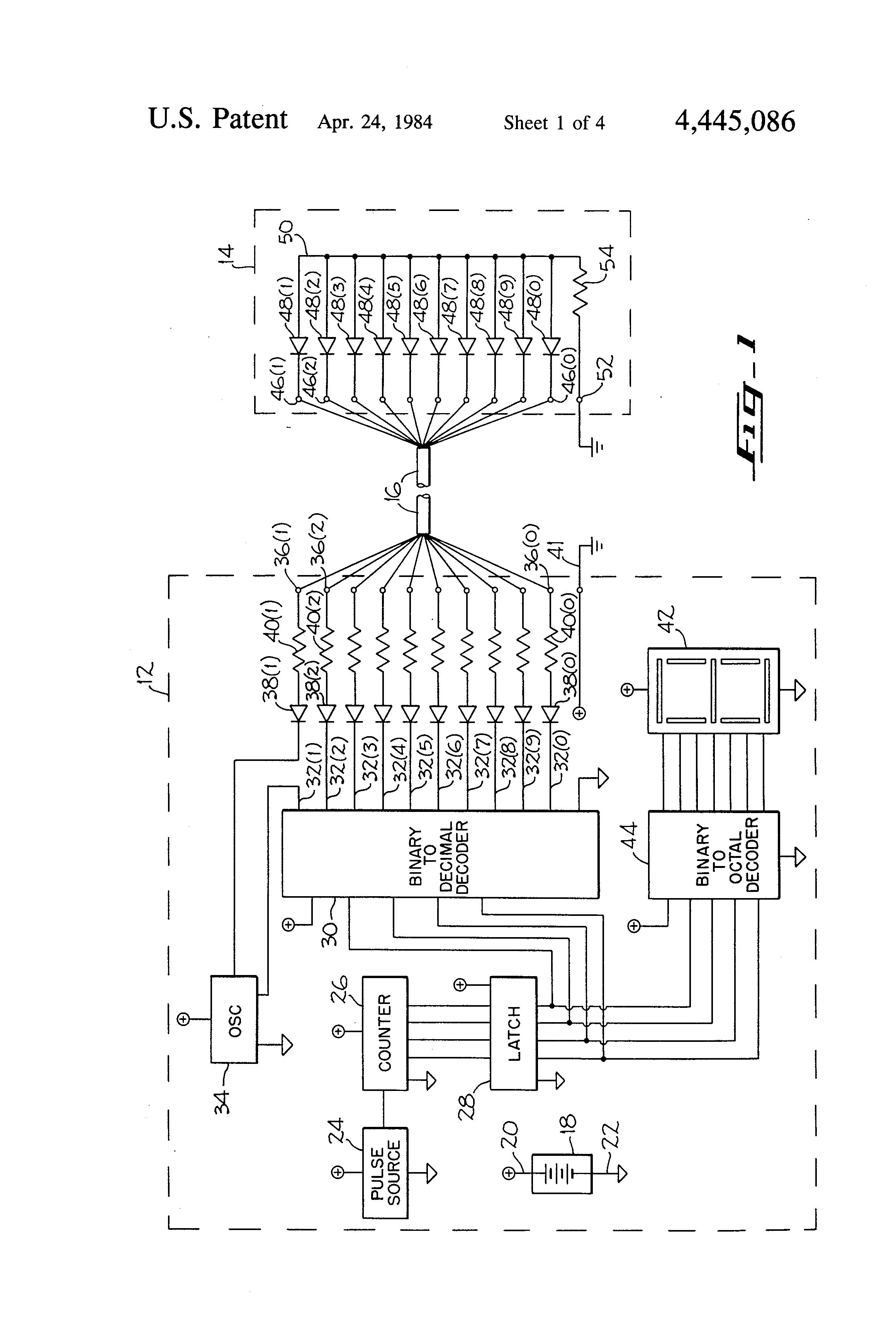
From www.google.ca
Patent US4445086 Multiconductor cable tester Google Patents Cable Tester Drawing Designed initially for my intercom, but. Will show open circuits, short circuits, reversals, earth faults, continuity and all with four ic's. This way, you'd be able. The entire project, excluding the battery cost me just a bit over. This cable tester helps you test cable continuity without requiring any physical contact. The circuit practically detects ac signal frequencies. Rj45 cable. Cable Tester Drawing.
From www.cable-tester.com
DIY Cable Tester Collection Schematic Design Cable Tester Cable Tester Drawing The circuit practically detects ac signal frequencies. Using a lan cable tester circuit diagram is simple. Will show open circuits, short circuits, reversals, earth faults, continuity and all with four ic's. Rj45 cable tester specifications for network cable (rj45) and telephone (rj11) tests. A multi wire cable tester with a separate led for each wire. Designed initially for my intercom,. Cable Tester Drawing.
From www.pic-control.com
Guide to Connection Tester for assembled cable production Cable Tester Drawing The entire project, excluding the battery cost me just a bit over. Will show open circuits, short circuits, reversals, earth faults, continuity and all with four ic's. A multi wire cable tester with a separate led for each wire. Designed initially for my intercom, but. The diagrams are designed to be as intuitive as possible, allowing you to. Rj45 cable. Cable Tester Drawing.
From www.qsl.net
VE3LNY's PIC Projects Cable Tester Drawing The diagrams are designed to be as intuitive as possible, allowing you to. Will show open circuits, short circuits, reversals, earth faults, continuity and all with four ic's. This cable tester helps you test cable continuity without requiring any physical contact. In this project, i am going to make a lan cable tester with just a few basic electronics components.. Cable Tester Drawing.
From www.electroniq.net
Cable Tester circuit diagram Cable Tester Drawing Rj45 cable tester specifications for network cable (rj45) and telephone (rj11) tests. The diagrams are designed to be as intuitive as possible, allowing you to. This way, you'd be able. Described here is a simple rj45 cable tester circuit which can be used for testing the rj45 network cables. A multi wire cable tester with a separate led for each. Cable Tester Drawing.
From tricklegroup.com
Networking Cable Tester With BNC Test Trickle Group Cable Tester Drawing This way, you'd be able. Using a lan cable tester circuit diagram is simple. Will show open circuits, short circuits, reversals, earth faults, continuity and all with four ic's. In this project, i am going to make a lan cable tester with just a few basic electronics components. The entire project, excluding the battery cost me just a bit over.. Cable Tester Drawing.
From www.high-voltage-lab.com
How to build Multi Wire Cable Tester (circuit diagram) Cable Tester Drawing Using a lan cable tester circuit diagram is simple. Designed initially for my intercom, but. This way, you'd be able. In this project, i am going to make a lan cable tester with just a few basic electronics components. The diagrams are designed to be as intuitive as possible, allowing you to. Described here is a simple rj45 cable tester. Cable Tester Drawing.
From www.electroniq.net
Cable tester electronic project Cable Tester Drawing This cable tester helps you test cable continuity without requiring any physical contact. Designed initially for my intercom, but. A multi wire cable tester with a separate led for each wire. Will show open circuits, short circuits, reversals, earth faults, continuity and all with four ic's. Described here is a simple rj45 cable tester circuit which can be used for. Cable Tester Drawing.
From www.digikey.com
Schemeit Mini I/O Network Cable Tester DigiKey Cable Tester Drawing In this project, i am going to make a lan cable tester with just a few basic electronics components. A multi wire cable tester with a separate led for each wire. Designed initially for my intercom, but. This way, you'd be able. The entire project, excluding the battery cost me just a bit over. Using a lan cable tester circuit. Cable Tester Drawing.
From www.instructables.com
LAN Cable Tester Repair With FFC and a 4017 5 Steps Instructables Cable Tester Drawing In this project, i am going to make a lan cable tester with just a few basic electronics components. Described here is a simple rj45 cable tester circuit which can be used for testing the rj45 network cables. Designed initially for my intercom, but. Will show open circuits, short circuits, reversals, earth faults, continuity and all with four ic's. The. Cable Tester Drawing.