Cleaning Marine Head . Avoid this unpleasantry by pouring a pint of white vinegar into the bowl once a month and pumping it slowly — a single stroke every 4 or 5 minutes — through the toilet. Vacuuming with a conventional household vacuum cleaner. Marine heads can be cleaned more or less like the toilets at home, but cleaning the lines where scale and calcium deposits can collect. Move the vinegar through the head slowly,. Check and replace vent filters: By familiarizing yourself with the federal and local regulations, you can ensure you’re operating your marine head system. Avoiding this problem is as easy as running a pint of white vinegar through the head once a month. Using a head system on a boat is something every boat owner needs to know and share with guests. Dismantle the pump using gloves, bleach and a mask (for odors) and.
from www.triumphboats.com
Check and replace vent filters: Using a head system on a boat is something every boat owner needs to know and share with guests. By familiarizing yourself with the federal and local regulations, you can ensure you’re operating your marine head system. Marine heads can be cleaned more or less like the toilets at home, but cleaning the lines where scale and calcium deposits can collect. Dismantle the pump using gloves, bleach and a mask (for odors) and. Move the vinegar through the head slowly,. Avoiding this problem is as easy as running a pint of white vinegar through the head once a month. Vacuuming with a conventional household vacuum cleaner. Avoid this unpleasantry by pouring a pint of white vinegar into the bowl once a month and pumping it slowly — a single stroke every 4 or 5 minutes — through the toilet.
5 Types of Marine Heads Which is Better?
Cleaning Marine Head By familiarizing yourself with the federal and local regulations, you can ensure you’re operating your marine head system. Dismantle the pump using gloves, bleach and a mask (for odors) and. Avoiding this problem is as easy as running a pint of white vinegar through the head once a month. Marine heads can be cleaned more or less like the toilets at home, but cleaning the lines where scale and calcium deposits can collect. By familiarizing yourself with the federal and local regulations, you can ensure you’re operating your marine head system. Using a head system on a boat is something every boat owner needs to know and share with guests. Check and replace vent filters: Avoid this unpleasantry by pouring a pint of white vinegar into the bowl once a month and pumping it slowly — a single stroke every 4 or 5 minutes — through the toilet. Vacuuming with a conventional household vacuum cleaner. Move the vinegar through the head slowly,.
From www.thehulltruth.com
Marine head The Hull Truth Boating and Fishing Forum Cleaning Marine Head Using a head system on a boat is something every boat owner needs to know and share with guests. Avoid this unpleasantry by pouring a pint of white vinegar into the bowl once a month and pumping it slowly — a single stroke every 4 or 5 minutes — through the toilet. Move the vinegar through the head slowly,. Avoiding. Cleaning Marine Head.
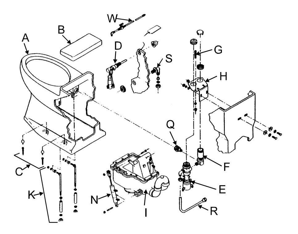
From www.dometic.com
Dometic M65700 Allinone marine toilet (white, plastic) Cleaning Marine Head Dismantle the pump using gloves, bleach and a mask (for odors) and. Marine heads can be cleaned more or less like the toilets at home, but cleaning the lines where scale and calcium deposits can collect. Using a head system on a boat is something every boat owner needs to know and share with guests. Avoiding this problem is as. Cleaning Marine Head.
From www.thehulltruth.com
Marine head with holding tank The Hull Truth Boating and Fishing Forum Cleaning Marine Head Using a head system on a boat is something every boat owner needs to know and share with guests. Check and replace vent filters: Avoid this unpleasantry by pouring a pint of white vinegar into the bowl once a month and pumping it slowly — a single stroke every 4 or 5 minutes — through the toilet. By familiarizing yourself. Cleaning Marine Head.
From www.spacesforchildren.com
Marin Head Start Head Start Classroom Spaces For Children Cleaning Marine Head Avoid this unpleasantry by pouring a pint of white vinegar into the bowl once a month and pumping it slowly — a single stroke every 4 or 5 minutes — through the toilet. Vacuuming with a conventional household vacuum cleaner. Using a head system on a boat is something every boat owner needs to know and share with guests. Avoiding. Cleaning Marine Head.
From www.progressivesupplies.com.au
Pro Marine Clean 5L Progressive Supplies Cleaning Marine Head Using a head system on a boat is something every boat owner needs to know and share with guests. By familiarizing yourself with the federal and local regulations, you can ensure you’re operating your marine head system. Vacuuming with a conventional household vacuum cleaner. Marine heads can be cleaned more or less like the toilets at home, but cleaning the. Cleaning Marine Head.
From www.youtube.com
Tank Cleaning heads YouTube Cleaning Marine Head Avoiding this problem is as easy as running a pint of white vinegar through the head once a month. Move the vinegar through the head slowly,. Marine heads can be cleaned more or less like the toilets at home, but cleaning the lines where scale and calcium deposits can collect. Avoid this unpleasantry by pouring a pint of white vinegar. Cleaning Marine Head.
From www.strikhedonia.com
Operation Guide Marine Head Operations Strikhedonia Cleaning Marine Head Marine heads can be cleaned more or less like the toilets at home, but cleaning the lines where scale and calcium deposits can collect. Dismantle the pump using gloves, bleach and a mask (for odors) and. Avoid this unpleasantry by pouring a pint of white vinegar into the bowl once a month and pumping it slowly — a single stroke. Cleaning Marine Head.
From timcoindustries.com
LOW FLUSH MARINE HEAD PARTS Timco Industries, Inc. Cleaning Marine Head Marine heads can be cleaned more or less like the toilets at home, but cleaning the lines where scale and calcium deposits can collect. Move the vinegar through the head slowly,. Avoiding this problem is as easy as running a pint of white vinegar through the head once a month. Dismantle the pump using gloves, bleach and a mask (for. Cleaning Marine Head.
From boaterrific.com
Fitting a Toilet (Head) to Your Boat A Complete Guide With Pictures Cleaning Marine Head Using a head system on a boat is something every boat owner needs to know and share with guests. Avoiding this problem is as easy as running a pint of white vinegar through the head once a month. Move the vinegar through the head slowly,. Marine heads can be cleaned more or less like the toilets at home, but cleaning. Cleaning Marine Head.
From www.alliancemfginc.com
Marine Industrial Parts Washers Alliance Manufacturing Cleaning Marine Head Dismantle the pump using gloves, bleach and a mask (for odors) and. Using a head system on a boat is something every boat owner needs to know and share with guests. Move the vinegar through the head slowly,. Vacuuming with a conventional household vacuum cleaner. By familiarizing yourself with the federal and local regulations, you can ensure you’re operating your. Cleaning Marine Head.
From www.triumphboats.com
5 Types of Marine Heads Which is Better? Cleaning Marine Head Move the vinegar through the head slowly,. Marine heads can be cleaned more or less like the toilets at home, but cleaning the lines where scale and calcium deposits can collect. Using a head system on a boat is something every boat owner needs to know and share with guests. By familiarizing yourself with the federal and local regulations, you. Cleaning Marine Head.
From www.ubuy.co.in
Buy 32 oz. Serious Marine Cleaner Online in India. 300452210 Cleaning Marine Head Avoiding this problem is as easy as running a pint of white vinegar through the head once a month. Dismantle the pump using gloves, bleach and a mask (for odors) and. Vacuuming with a conventional household vacuum cleaner. By familiarizing yourself with the federal and local regulations, you can ensure you’re operating your marine head system. Move the vinegar through. Cleaning Marine Head.
From www.2040-parts.com
Sell Camco 41361 TST MARINE HEAD TREATMENT SINGLE D in Renton Cleaning Marine Head Using a head system on a boat is something every boat owner needs to know and share with guests. By familiarizing yourself with the federal and local regulations, you can ensure you’re operating your marine head system. Dismantle the pump using gloves, bleach and a mask (for odors) and. Vacuuming with a conventional household vacuum cleaner. Avoiding this problem is. Cleaning Marine Head.
From svviolethour.com
Rebuilding Marine Head Plumbing S/V Violet Hour Cleaning Marine Head Marine heads can be cleaned more or less like the toilets at home, but cleaning the lines where scale and calcium deposits can collect. Vacuuming with a conventional household vacuum cleaner. Avoid this unpleasantry by pouring a pint of white vinegar into the bowl once a month and pumping it slowly — a single stroke every 4 or 5 minutes. Cleaning Marine Head.
From www.cnmarinemalta.com
Boat Care Products C&N Marine Centre Cleaning Marine Head Marine heads can be cleaned more or less like the toilets at home, but cleaning the lines where scale and calcium deposits can collect. Dismantle the pump using gloves, bleach and a mask (for odors) and. Check and replace vent filters: By familiarizing yourself with the federal and local regulations, you can ensure you’re operating your marine head system. Move. Cleaning Marine Head.
From www.pinterest.com
Dutch Guy Famous for Cleaning Up Pacific Garbage Patch is Now Clearing Cleaning Marine Head Marine heads can be cleaned more or less like the toilets at home, but cleaning the lines where scale and calcium deposits can collect. By familiarizing yourself with the federal and local regulations, you can ensure you’re operating your marine head system. Move the vinegar through the head slowly,. Vacuuming with a conventional household vacuum cleaner. Using a head system. Cleaning Marine Head.
From www.sailmagazine.com
Know how The Marine Head Sail Magazine Cleaning Marine Head Avoiding this problem is as easy as running a pint of white vinegar through the head once a month. Check and replace vent filters: Dismantle the pump using gloves, bleach and a mask (for odors) and. Avoid this unpleasantry by pouring a pint of white vinegar into the bowl once a month and pumping it slowly — a single stroke. Cleaning Marine Head.
From www.pinterest.com
10 Best Boat Cleaning Products and Tips Cruising World Boat Cleaning Marine Head By familiarizing yourself with the federal and local regulations, you can ensure you’re operating your marine head system. Avoiding this problem is as easy as running a pint of white vinegar through the head once a month. Avoid this unpleasantry by pouring a pint of white vinegar into the bowl once a month and pumping it slowly — a single. Cleaning Marine Head.
From www.burnsco.co.nz
guide to fitting marine toilets Cleaning Marine Head Using a head system on a boat is something every boat owner needs to know and share with guests. Avoid this unpleasantry by pouring a pint of white vinegar into the bowl once a month and pumping it slowly — a single stroke every 4 or 5 minutes — through the toilet. Dismantle the pump using gloves, bleach and a. Cleaning Marine Head.
From www.cosmosbuildingmaintenance.com
Carpet Cleaning Marin Building Maintenance Services (415) 7868775 Cleaning Marine Head Avoiding this problem is as easy as running a pint of white vinegar through the head once a month. Using a head system on a boat is something every boat owner needs to know and share with guests. By familiarizing yourself with the federal and local regulations, you can ensure you’re operating your marine head system. Marine heads can be. Cleaning Marine Head.
From cults3d.com
STL file COMMANDER HEAD SET SPACE MARINE (BAREHEADED.VER) 🛰・3D printer Cleaning Marine Head Move the vinegar through the head slowly,. Using a head system on a boat is something every boat owner needs to know and share with guests. Dismantle the pump using gloves, bleach and a mask (for odors) and. Check and replace vent filters: Vacuuming with a conventional household vacuum cleaner. By familiarizing yourself with the federal and local regulations, you. Cleaning Marine Head.
From www.pinterest.com
Pin on Balding Cleaning Marine Head Using a head system on a boat is something every boat owner needs to know and share with guests. Marine heads can be cleaned more or less like the toilets at home, but cleaning the lines where scale and calcium deposits can collect. Check and replace vent filters: Avoiding this problem is as easy as running a pint of white. Cleaning Marine Head.
From www.pbo.co.uk
Choosing a marine toilet for the PBO Project Boat Practical Boat Owner Cleaning Marine Head Avoiding this problem is as easy as running a pint of white vinegar through the head once a month. Vacuuming with a conventional household vacuum cleaner. Marine heads can be cleaned more or less like the toilets at home, but cleaning the lines where scale and calcium deposits can collect. Move the vinegar through the head slowly,. Avoid this unpleasantry. Cleaning Marine Head.
From www.ammarine.com
CAMCO 41361 TST MARINE HEAD TREATMENT 8 PACK OF 4oz BOTTLES Cleaning Marine Head Avoiding this problem is as easy as running a pint of white vinegar through the head once a month. By familiarizing yourself with the federal and local regulations, you can ensure you’re operating your marine head system. Dismantle the pump using gloves, bleach and a mask (for odors) and. Check and replace vent filters: Move the vinegar through the head. Cleaning Marine Head.
From www.fredwarner.net
Jabsco 290905000 Marine Compact Toilet Boat Head Manual Twist N Lock Cleaning Marine Head By familiarizing yourself with the federal and local regulations, you can ensure you’re operating your marine head system. Using a head system on a boat is something every boat owner needs to know and share with guests. Check and replace vent filters: Dismantle the pump using gloves, bleach and a mask (for odors) and. Avoid this unpleasantry by pouring a. Cleaning Marine Head.
From www.marines.mil
Marines.mil Photos Cleaning Marine Head Avoiding this problem is as easy as running a pint of white vinegar through the head once a month. Move the vinegar through the head slowly,. By familiarizing yourself with the federal and local regulations, you can ensure you’re operating your marine head system. Vacuuming with a conventional household vacuum cleaner. Avoid this unpleasantry by pouring a pint of white. Cleaning Marine Head.
From www.nedmag.com
Marine exhaust gas cleaning scrubbers Nedmag B.V. Cleaning Marine Head Avoid this unpleasantry by pouring a pint of white vinegar into the bowl once a month and pumping it slowly — a single stroke every 4 or 5 minutes — through the toilet. Marine heads can be cleaned more or less like the toilets at home, but cleaning the lines where scale and calcium deposits can collect. Check and replace. Cleaning Marine Head.
From blog.spraynozzle.com.au
Servicing Tank Cleaning Heads Cleaning Marine Head Vacuuming with a conventional household vacuum cleaner. By familiarizing yourself with the federal and local regulations, you can ensure you’re operating your marine head system. Using a head system on a boat is something every boat owner needs to know and share with guests. Avoiding this problem is as easy as running a pint of white vinegar through the head. Cleaning Marine Head.
From boaterrific.com
Fitting a Toilet (Head) to Your Boat A Complete Guide With Pictures Cleaning Marine Head By familiarizing yourself with the federal and local regulations, you can ensure you’re operating your marine head system. Marine heads can be cleaned more or less like the toilets at home, but cleaning the lines where scale and calcium deposits can collect. Using a head system on a boat is something every boat owner needs to know and share with. Cleaning Marine Head.
From www.sailmagazine.com
Know how The Marine Head Sail Magazine Cleaning Marine Head Avoid this unpleasantry by pouring a pint of white vinegar into the bowl once a month and pumping it slowly — a single stroke every 4 or 5 minutes — through the toilet. Using a head system on a boat is something every boat owner needs to know and share with guests. Avoiding this problem is as easy as running. Cleaning Marine Head.
From www.progressivesupplies.com.au
Pro Marine Clean 20L Progressive Supplies Cleaning Marine Head Vacuuming with a conventional household vacuum cleaner. Avoid this unpleasantry by pouring a pint of white vinegar into the bowl once a month and pumping it slowly — a single stroke every 4 or 5 minutes — through the toilet. By familiarizing yourself with the federal and local regulations, you can ensure you’re operating your marine head system. Dismantle the. Cleaning Marine Head.
From www.triumphboats.com
5 Types of Marine Heads Which is Better? Cleaning Marine Head Avoid this unpleasantry by pouring a pint of white vinegar into the bowl once a month and pumping it slowly — a single stroke every 4 or 5 minutes — through the toilet. Move the vinegar through the head slowly,. Avoiding this problem is as easy as running a pint of white vinegar through the head once a month. By. Cleaning Marine Head.
From techullclean.com
Why TecHullClean TecHullClean Machines for clean ships, clean seas Cleaning Marine Head Vacuuming with a conventional household vacuum cleaner. Avoid this unpleasantry by pouring a pint of white vinegar into the bowl once a month and pumping it slowly — a single stroke every 4 or 5 minutes — through the toilet. Using a head system on a boat is something every boat owner needs to know and share with guests. Move. Cleaning Marine Head.
From www.practical-sailor.com
Plumbing the Conventional Marine Head Marine Toilet System Cleaning Marine Head Move the vinegar through the head slowly,. Check and replace vent filters: Avoiding this problem is as easy as running a pint of white vinegar through the head once a month. Avoid this unpleasantry by pouring a pint of white vinegar into the bowl once a month and pumping it slowly — a single stroke every 4 or 5 minutes. Cleaning Marine Head.
From www.youtube.com
Dometic Masterflush Orbit Marine Head YouTube Cleaning Marine Head Vacuuming with a conventional household vacuum cleaner. By familiarizing yourself with the federal and local regulations, you can ensure you’re operating your marine head system. Avoid this unpleasantry by pouring a pint of white vinegar into the bowl once a month and pumping it slowly — a single stroke every 4 or 5 minutes — through the toilet. Marine heads. Cleaning Marine Head.