How To Replace Cv Joint Subaru Forester . While the tire is suspended check for play in ball joints and tire rods. i am replacing a right ball joint on my 05 outback. Camber affected, mitigated by marking position of top bolt. full legacy cv axle replacement here: Not a lot of fun on a car from the rust belt.
from www.cars-equipment.com
Camber affected, mitigated by marking position of top bolt. full legacy cv axle replacement here: i am replacing a right ball joint on my 05 outback. While the tire is suspended check for play in ball joints and tire rods. Not a lot of fun on a car from the rust belt.
NTY INNER CV JOINT SUBARU FORESTER 2.0T S10 9607, IMPREZA 2.0T G10/11
How To Replace Cv Joint Subaru Forester Camber affected, mitigated by marking position of top bolt. While the tire is suspended check for play in ball joints and tire rods. Camber affected, mitigated by marking position of top bolt. Not a lot of fun on a car from the rust belt. full legacy cv axle replacement here: i am replacing a right ball joint on my 05 outback.
From www.cars-equipment.com
NTY INNER CV JOINT SUBARU FORESTER 9602,IMPREZA 9207, LEGACY 9303 How To Replace Cv Joint Subaru Forester Not a lot of fun on a car from the rust belt. Camber affected, mitigated by marking position of top bolt. full legacy cv axle replacement here: i am replacing a right ball joint on my 05 outback. While the tire is suspended check for play in ball joints and tire rods. How To Replace Cv Joint Subaru Forester.
From parts.subaru.com
28391AJ002 Cv joint kit. Shaft and joint kit. Shaft and joint unit How To Replace Cv Joint Subaru Forester full legacy cv axle replacement here: i am replacing a right ball joint on my 05 outback. Camber affected, mitigated by marking position of top bolt. While the tire is suspended check for play in ball joints and tire rods. Not a lot of fun on a car from the rust belt. How To Replace Cv Joint Subaru Forester.
From pinnacleautosolutions.com
SUBARU FORESTER, LEGACY, IMPREZA CV JOINT Pinnacle Automotive Solutions How To Replace Cv Joint Subaru Forester While the tire is suspended check for play in ball joints and tire rods. i am replacing a right ball joint on my 05 outback. full legacy cv axle replacement here: Camber affected, mitigated by marking position of top bolt. Not a lot of fun on a car from the rust belt. How To Replace Cv Joint Subaru Forester.
From soplegexbpgaragerepair.z21.web.core.windows.net
How To Replace The Cv Joint How To Replace Cv Joint Subaru Forester Camber affected, mitigated by marking position of top bolt. While the tire is suspended check for play in ball joints and tire rods. i am replacing a right ball joint on my 05 outback. full legacy cv axle replacement here: Not a lot of fun on a car from the rust belt. How To Replace Cv Joint Subaru Forester.
From fixrepairjannie88.z21.web.core.windows.net
Cv Joint Replacement Subaru Forester How To Replace Cv Joint Subaru Forester full legacy cv axle replacement here: Not a lot of fun on a car from the rust belt. While the tire is suspended check for play in ball joints and tire rods. i am replacing a right ball joint on my 05 outback. Camber affected, mitigated by marking position of top bolt. How To Replace Cv Joint Subaru Forester.
From www.subaruforester.org
('98'00) SF Subaru Forester CV joint replace how to Subaru How To Replace Cv Joint Subaru Forester While the tire is suspended check for play in ball joints and tire rods. full legacy cv axle replacement here: i am replacing a right ball joint on my 05 outback. Camber affected, mitigated by marking position of top bolt. Not a lot of fun on a car from the rust belt. How To Replace Cv Joint Subaru Forester.
From www.dubizzle.com
StepbyStep Guide on How to Replace CV Joints How To Replace Cv Joint Subaru Forester Not a lot of fun on a car from the rust belt. While the tire is suspended check for play in ball joints and tire rods. i am replacing a right ball joint on my 05 outback. Camber affected, mitigated by marking position of top bolt. full legacy cv axle replacement here: How To Replace Cv Joint Subaru Forester.
From parts.cioccasubaru.com
Subaru Forester Cv axle (front) 28321SA033 Ciocca Subaru, Allentown PA How To Replace Cv Joint Subaru Forester While the tire is suspended check for play in ball joints and tire rods. Camber affected, mitigated by marking position of top bolt. i am replacing a right ball joint on my 05 outback. Not a lot of fun on a car from the rust belt. full legacy cv axle replacement here: How To Replace Cv Joint Subaru Forester.
From www.youtube.com
Filling up cvt transmission on Subaru Forester YouTube How To Replace Cv Joint Subaru Forester full legacy cv axle replacement here: Not a lot of fun on a car from the rust belt. While the tire is suspended check for play in ball joints and tire rods. Camber affected, mitigated by marking position of top bolt. i am replacing a right ball joint on my 05 outback. How To Replace Cv Joint Subaru Forester.
From mechanicwilliam77.z13.web.core.windows.net
Cv Joint Replacement Subaru Forester How To Replace Cv Joint Subaru Forester While the tire is suspended check for play in ball joints and tire rods. full legacy cv axle replacement here: Not a lot of fun on a car from the rust belt. i am replacing a right ball joint on my 05 outback. Camber affected, mitigated by marking position of top bolt. How To Replace Cv Joint Subaru Forester.
From workshopfixclifton123.z13.web.core.windows.net
Subaru Cv Axle Replacement How To Replace Cv Joint Subaru Forester While the tire is suspended check for play in ball joints and tire rods. i am replacing a right ball joint on my 05 outback. Camber affected, mitigated by marking position of top bolt. full legacy cv axle replacement here: Not a lot of fun on a car from the rust belt. How To Replace Cv Joint Subaru Forester.
From www.subaruparts.com
20142018 Subaru Forester Outer Cv Joint 28391SG050 Subaru Parts Store How To Replace Cv Joint Subaru Forester full legacy cv axle replacement here: While the tire is suspended check for play in ball joints and tire rods. i am replacing a right ball joint on my 05 outback. Camber affected, mitigated by marking position of top bolt. Not a lot of fun on a car from the rust belt. How To Replace Cv Joint Subaru Forester.
From www.alibaba.com
Inner Cv Joint For Subaru Forester S11/impreza G12/legacy B13 20032011 How To Replace Cv Joint Subaru Forester Not a lot of fun on a car from the rust belt. While the tire is suspended check for play in ball joints and tire rods. Camber affected, mitigated by marking position of top bolt. i am replacing a right ball joint on my 05 outback. full legacy cv axle replacement here: How To Replace Cv Joint Subaru Forester.
From polishventure.com
Subaru Forester S13 Inner CV Joint 29X35X25 Polish Venture Kenya How To Replace Cv Joint Subaru Forester While the tire is suspended check for play in ball joints and tire rods. i am replacing a right ball joint on my 05 outback. full legacy cv axle replacement here: Camber affected, mitigated by marking position of top bolt. Not a lot of fun on a car from the rust belt. How To Replace Cv Joint Subaru Forester.
From www.ebay.com
Front Right Left CV Axle Joint Half fit 2010 11 12 2014 SUBARU FORESTER How To Replace Cv Joint Subaru Forester Camber affected, mitigated by marking position of top bolt. Not a lot of fun on a car from the rust belt. i am replacing a right ball joint on my 05 outback. While the tire is suspended check for play in ball joints and tire rods. full legacy cv axle replacement here: How To Replace Cv Joint Subaru Forester.
From fixrepairbosch99.z19.web.core.windows.net
2014 Subaru Forester Front Cv Axle How To Replace Cv Joint Subaru Forester Camber affected, mitigated by marking position of top bolt. Not a lot of fun on a car from the rust belt. i am replacing a right ball joint on my 05 outback. While the tire is suspended check for play in ball joints and tire rods. full legacy cv axle replacement here: How To Replace Cv Joint Subaru Forester.
From www.cars-equipment.com
NTY INNER CV JOINT SUBARU FORESTER 2.0T S10 9607, IMPREZA 2.0T G10/11 How To Replace Cv Joint Subaru Forester full legacy cv axle replacement here: Camber affected, mitigated by marking position of top bolt. Not a lot of fun on a car from the rust belt. i am replacing a right ball joint on my 05 outback. While the tire is suspended check for play in ball joints and tire rods. How To Replace Cv Joint Subaru Forester.
From repairmachinetihorcant9a.z22.web.core.windows.net
Cv Joint Replacement Subaru Forester How To Replace Cv Joint Subaru Forester full legacy cv axle replacement here: i am replacing a right ball joint on my 05 outback. Camber affected, mitigated by marking position of top bolt. Not a lot of fun on a car from the rust belt. While the tire is suspended check for play in ball joints and tire rods. How To Replace Cv Joint Subaru Forester.
From www.masterparts.com
How to Replace a CV Joint Masterparts How To Replace Cv Joint Subaru Forester Camber affected, mitigated by marking position of top bolt. While the tire is suspended check for play in ball joints and tire rods. i am replacing a right ball joint on my 05 outback. Not a lot of fun on a car from the rust belt. full legacy cv axle replacement here: How To Replace Cv Joint Subaru Forester.
From allmakeautowreckers.com.au
Subaru Forester 2007 One Rear CV Joint Left or Right 2002 2003 2004 How To Replace Cv Joint Subaru Forester i am replacing a right ball joint on my 05 outback. full legacy cv axle replacement here: While the tire is suspended check for play in ball joints and tire rods. Not a lot of fun on a car from the rust belt. Camber affected, mitigated by marking position of top bolt. How To Replace Cv Joint Subaru Forester.
From workshoprebecca123.z21.web.core.windows.net
Subaru Outback Cv Joint Replacement How To Replace Cv Joint Subaru Forester Not a lot of fun on a car from the rust belt. i am replacing a right ball joint on my 05 outback. full legacy cv axle replacement here: Camber affected, mitigated by marking position of top bolt. While the tire is suspended check for play in ball joints and tire rods. How To Replace Cv Joint Subaru Forester.
From www.youtube.com
CV axle replacement Subaru Outback 2000 Legacy Forester Install Remove How To Replace Cv Joint Subaru Forester Camber affected, mitigated by marking position of top bolt. full legacy cv axle replacement here: While the tire is suspended check for play in ball joints and tire rods. i am replacing a right ball joint on my 05 outback. Not a lot of fun on a car from the rust belt. How To Replace Cv Joint Subaru Forester.
From www.masterparts.com
How to Replace a CV Joint Masterparts How To Replace Cv Joint Subaru Forester i am replacing a right ball joint on my 05 outback. full legacy cv axle replacement here: While the tire is suspended check for play in ball joints and tire rods. Not a lot of fun on a car from the rust belt. Camber affected, mitigated by marking position of top bolt. How To Replace Cv Joint Subaru Forester.
From www.amazon.com
Front CV Joint Axle Shaft Pair Set for Subaru Impreza How To Replace Cv Joint Subaru Forester While the tire is suspended check for play in ball joints and tire rods. i am replacing a right ball joint on my 05 outback. Camber affected, mitigated by marking position of top bolt. full legacy cv axle replacement here: Not a lot of fun on a car from the rust belt. How To Replace Cv Joint Subaru Forester.
From club.autodoc.co.uk
How to change CV joint on a car replacement tutorial How To Replace Cv Joint Subaru Forester full legacy cv axle replacement here: While the tire is suspended check for play in ball joints and tire rods. Not a lot of fun on a car from the rust belt. Camber affected, mitigated by marking position of top bolt. i am replacing a right ball joint on my 05 outback. How To Replace Cv Joint Subaru Forester.
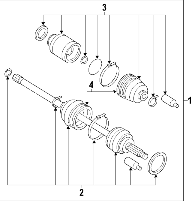
From parts.subaru.com
Subaru Forester Cv axle. Cv joint half shaft. Drive shaft (front). A How To Replace Cv Joint Subaru Forester i am replacing a right ball joint on my 05 outback. While the tire is suspended check for play in ball joints and tire rods. Not a lot of fun on a car from the rust belt. full legacy cv axle replacement here: Camber affected, mitigated by marking position of top bolt. How To Replace Cv Joint Subaru Forester.
From parts.theautobarnsubaru.com
Subaru Forester Cv joint kit (left, rear). Bj shaft and boot kit How To Replace Cv Joint Subaru Forester i am replacing a right ball joint on my 05 outback. full legacy cv axle replacement here: Camber affected, mitigated by marking position of top bolt. While the tire is suspended check for play in ball joints and tire rods. Not a lot of fun on a car from the rust belt. How To Replace Cv Joint Subaru Forester.
From alexandriadentaljournal.com
How Much Does It Cost To Replace A Cv Joint On A Subaru Curriculum How To Replace Cv Joint Subaru Forester Not a lot of fun on a car from the rust belt. i am replacing a right ball joint on my 05 outback. full legacy cv axle replacement here: While the tire is suspended check for play in ball joints and tire rods. Camber affected, mitigated by marking position of top bolt. How To Replace Cv Joint Subaru Forester.
From www.cars-equipment.com
NTY OUTER CV JOINT SUBARU IMPREZA 02, FORESTER SH 2.5 4WD 08 for 54. How To Replace Cv Joint Subaru Forester While the tire is suspended check for play in ball joints and tire rods. full legacy cv axle replacement here: Camber affected, mitigated by marking position of top bolt. Not a lot of fun on a car from the rust belt. i am replacing a right ball joint on my 05 outback. How To Replace Cv Joint Subaru Forester.
From gjfautoparts.en.made-in-china.com
Gjf Auto Assembly Left and Right Outer CV Joint for Subaru Forester S10 How To Replace Cv Joint Subaru Forester i am replacing a right ball joint on my 05 outback. Camber affected, mitigated by marking position of top bolt. While the tire is suspended check for play in ball joints and tire rods. full legacy cv axle replacement here: Not a lot of fun on a car from the rust belt. How To Replace Cv Joint Subaru Forester.
From www.youtube.com
How to Replace CV Axles in 2019+ Subaru Forester YouTube How To Replace Cv Joint Subaru Forester Camber affected, mitigated by marking position of top bolt. full legacy cv axle replacement here: i am replacing a right ball joint on my 05 outback. Not a lot of fun on a car from the rust belt. While the tire is suspended check for play in ball joints and tire rods. How To Replace Cv Joint Subaru Forester.
From fixmachinedouglas99.z21.web.core.windows.net
2015 Subaru Forester Front Cv Axle How To Replace Cv Joint Subaru Forester full legacy cv axle replacement here: While the tire is suspended check for play in ball joints and tire rods. i am replacing a right ball joint on my 05 outback. Not a lot of fun on a car from the rust belt. Camber affected, mitigated by marking position of top bolt. How To Replace Cv Joint Subaru Forester.
From www.youtube.com
How to change a front CV Axle 1997 2002 Subaru (most models) Forester How To Replace Cv Joint Subaru Forester Camber affected, mitigated by marking position of top bolt. full legacy cv axle replacement here: Not a lot of fun on a car from the rust belt. While the tire is suspended check for play in ball joints and tire rods. i am replacing a right ball joint on my 05 outback. How To Replace Cv Joint Subaru Forester.
From www.cars-equipment.com
NTY OUTER CV JOINT SUBARU LEGACY 0609, OUTBACK 06, FORESTER 08 for How To Replace Cv Joint Subaru Forester Camber affected, mitigated by marking position of top bolt. full legacy cv axle replacement here: Not a lot of fun on a car from the rust belt. i am replacing a right ball joint on my 05 outback. While the tire is suspended check for play in ball joints and tire rods. How To Replace Cv Joint Subaru Forester.
From www.youtube.com
2015 Subaru Forester CV Axle Replacement YouTube How To Replace Cv Joint Subaru Forester Not a lot of fun on a car from the rust belt. full legacy cv axle replacement here: Camber affected, mitigated by marking position of top bolt. i am replacing a right ball joint on my 05 outback. While the tire is suspended check for play in ball joints and tire rods. How To Replace Cv Joint Subaru Forester.