Pedal Bin Mechanism Diagram . Consider what materials you will. What force is used to raise the lid? Insert the two lid pins to secure the lid. In this article, we delve into the key factors to consider when choosing a pedal dustbin. Centre holes are clicked onto the pedal bar. The foot pedal mechanism on a trash can has been around for many years and is a very convenient way to open the lid on trash bins without having to actually touch the trash container. From capacity and durability to design and. The stainless steel recycling bin seen below has a mechanism that has been manufactured using. • draw out your design. For 30l, 50l, 80l and 100l bins. • what materials are used in creating it? Broadly speaking, applications of pedal power are possible when the power level required is below a quarter of a horsepower (that is, below about 200.
from id.pinterest.com
• what materials are used in creating it? The stainless steel recycling bin seen below has a mechanism that has been manufactured using. The foot pedal mechanism on a trash can has been around for many years and is a very convenient way to open the lid on trash bins without having to actually touch the trash container. For 30l, 50l, 80l and 100l bins. From capacity and durability to design and. Consider what materials you will. Centre holes are clicked onto the pedal bar. What force is used to raise the lid? Insert the two lid pins to secure the lid. • draw out your design.
Pedal operated plastic bin, shown with waste stream label. Simply press
Pedal Bin Mechanism Diagram • draw out your design. The stainless steel recycling bin seen below has a mechanism that has been manufactured using. The foot pedal mechanism on a trash can has been around for many years and is a very convenient way to open the lid on trash bins without having to actually touch the trash container. For 30l, 50l, 80l and 100l bins. What force is used to raise the lid? Insert the two lid pins to secure the lid. Consider what materials you will. Centre holes are clicked onto the pedal bar. Broadly speaking, applications of pedal power are possible when the power level required is below a quarter of a horsepower (that is, below about 200. • what materials are used in creating it? In this article, we delve into the key factors to consider when choosing a pedal dustbin. • draw out your design. From capacity and durability to design and.
From www.google.com
Patent US20120305561 Pedalbin assembly Google Patents Pedal Bin Mechanism Diagram The stainless steel recycling bin seen below has a mechanism that has been manufactured using. Consider what materials you will. Centre holes are clicked onto the pedal bar. What force is used to raise the lid? The foot pedal mechanism on a trash can has been around for many years and is a very convenient way to open the lid. Pedal Bin Mechanism Diagram.
From bmp-beaver.blogspot.com
Pedal Trash Can Mechanism / The number of households and offices that Pedal Bin Mechanism Diagram Broadly speaking, applications of pedal power are possible when the power level required is below a quarter of a horsepower (that is, below about 200. From capacity and durability to design and. Centre holes are clicked onto the pedal bar. Consider what materials you will. For 30l, 50l, 80l and 100l bins. • what materials are used in creating it?. Pedal Bin Mechanism Diagram.
From draw-smidgen.blogspot.com
Trash Can Foot Pedal Mechanism Drawsmidgen Pedal Bin Mechanism Diagram Consider what materials you will. Centre holes are clicked onto the pedal bar. The foot pedal mechanism on a trash can has been around for many years and is a very convenient way to open the lid on trash bins without having to actually touch the trash container. From capacity and durability to design and. • what materials are used. Pedal Bin Mechanism Diagram.
From id.pinterest.com
Pedal operated plastic bin, shown with waste stream label. Simply press Pedal Bin Mechanism Diagram In this article, we delve into the key factors to consider when choosing a pedal dustbin. Centre holes are clicked onto the pedal bar. What force is used to raise the lid? For 30l, 50l, 80l and 100l bins. The stainless steel recycling bin seen below has a mechanism that has been manufactured using. Insert the two lid pins to. Pedal Bin Mechanism Diagram.
From designtechnologyacademy.blogspot.com
DESIGN TECHNOLOGY ACADEMY Pedal bin mechanism Pedal Bin Mechanism Diagram From capacity and durability to design and. For 30l, 50l, 80l and 100l bins. • what materials are used in creating it? The stainless steel recycling bin seen below has a mechanism that has been manufactured using. The foot pedal mechanism on a trash can has been around for many years and is a very convenient way to open the. Pedal Bin Mechanism Diagram.
From pic-fuzz.blogspot.com
Pedal Trash Can Mechanism Limited time sale easy return. picfuzz Pedal Bin Mechanism Diagram Insert the two lid pins to secure the lid. Consider what materials you will. From capacity and durability to design and. In this article, we delve into the key factors to consider when choosing a pedal dustbin. • draw out your design. The foot pedal mechanism on a trash can has been around for many years and is a very. Pedal Bin Mechanism Diagram.
From www.google.com
Patent US8308009 Pedal bin Google Patents Pedal Bin Mechanism Diagram From capacity and durability to design and. The foot pedal mechanism on a trash can has been around for many years and is a very convenient way to open the lid on trash bins without having to actually touch the trash container. For 30l, 50l, 80l and 100l bins. In this article, we delve into the key factors to consider. Pedal Bin Mechanism Diagram.
From www.pinterest.com
waste bin mechanism Google 搜尋 Trash can storage outdoor, Trash can Pedal Bin Mechanism Diagram Insert the two lid pins to secure the lid. For 30l, 50l, 80l and 100l bins. From capacity and durability to design and. What force is used to raise the lid? Consider what materials you will. • what materials are used in creating it? • draw out your design. In this article, we delve into the key factors to consider. Pedal Bin Mechanism Diagram.
From www.youtube.com
Brabantia Foot Pedal Bin 5 Litre close look YouTube Pedal Bin Mechanism Diagram In this article, we delve into the key factors to consider when choosing a pedal dustbin. For 30l, 50l, 80l and 100l bins. • what materials are used in creating it? Centre holes are clicked onto the pedal bar. What force is used to raise the lid? Consider what materials you will. The stainless steel recycling bin seen below has. Pedal Bin Mechanism Diagram.
From www.eastonhk.com
Non Slip Durable Opening Mechanism Pedal Bin from China manufacturer Pedal Bin Mechanism Diagram Consider what materials you will. • what materials are used in creating it? • draw out your design. Insert the two lid pins to secure the lid. For 30l, 50l, 80l and 100l bins. From capacity and durability to design and. The stainless steel recycling bin seen below has a mechanism that has been manufactured using. Centre holes are clicked. Pedal Bin Mechanism Diagram.
From www.google.com
Patent US20040089663 Lid lifting mechanism for trash bin Google Patents Pedal Bin Mechanism Diagram From capacity and durability to design and. Consider what materials you will. • what materials are used in creating it? Insert the two lid pins to secure the lid. Broadly speaking, applications of pedal power are possible when the power level required is below a quarter of a horsepower (that is, below about 200. • draw out your design. The. Pedal Bin Mechanism Diagram.
From www.frontierpolymers.com
Foot Pedal Bins Foot Pedal Operated Wheel Waste Bin Pedal Bin Mechanism Diagram The foot pedal mechanism on a trash can has been around for many years and is a very convenient way to open the lid on trash bins without having to actually touch the trash container. What force is used to raise the lid? For 30l, 50l, 80l and 100l bins. Broadly speaking, applications of pedal power are possible when the. Pedal Bin Mechanism Diagram.
From www.frontierpolymers.com
Large Capacity Medical Waste Bins & Pedal Bins Foot Paddle Wheel Bins Pedal Bin Mechanism Diagram The foot pedal mechanism on a trash can has been around for many years and is a very convenient way to open the lid on trash bins without having to actually touch the trash container. Broadly speaking, applications of pedal power are possible when the power level required is below a quarter of a horsepower (that is, below about 200.. Pedal Bin Mechanism Diagram.
From www.researchgate.net
SusCD complexes transport their substrates via a pedal bin mechanism Pedal Bin Mechanism Diagram • draw out your design. What force is used to raise the lid? Consider what materials you will. In this article, we delve into the key factors to consider when choosing a pedal dustbin. The foot pedal mechanism on a trash can has been around for many years and is a very convenient way to open the lid on trash. Pedal Bin Mechanism Diagram.
From www.youtube.com
Bin Mechanism YouTube Pedal Bin Mechanism Diagram Consider what materials you will. The stainless steel recycling bin seen below has a mechanism that has been manufactured using. Centre holes are clicked onto the pedal bar. Broadly speaking, applications of pedal power are possible when the power level required is below a quarter of a horsepower (that is, below about 200. In this article, we delve into the. Pedal Bin Mechanism Diagram.
From www.google.com
Patent US8308009 Pedal bin Google Patents Pedal Bin Mechanism Diagram For 30l, 50l, 80l and 100l bins. Consider what materials you will. Insert the two lid pins to secure the lid. The stainless steel recycling bin seen below has a mechanism that has been manufactured using. In this article, we delve into the key factors to consider when choosing a pedal dustbin. From capacity and durability to design and. •. Pedal Bin Mechanism Diagram.
From www.printables.com
Pedal bin mechanism hinge repair [parametric] by Félix Download free Pedal Bin Mechanism Diagram Consider what materials you will. • what materials are used in creating it? Centre holes are clicked onto the pedal bar. Insert the two lid pins to secure the lid. The foot pedal mechanism on a trash can has been around for many years and is a very convenient way to open the lid on trash bins without having to. Pedal Bin Mechanism Diagram.
From www.google.com
Patent US6734350 Twin pedal assembly for a bass drum Google Patents Pedal Bin Mechanism Diagram What force is used to raise the lid? The foot pedal mechanism on a trash can has been around for many years and is a very convenient way to open the lid on trash bins without having to actually touch the trash container. Consider what materials you will. Centre holes are clicked onto the pedal bar. In this article, we. Pedal Bin Mechanism Diagram.
From www.youtube.com
Dustbin Pedal Mechanism YouTube Pedal Bin Mechanism Diagram • what materials are used in creating it? Broadly speaking, applications of pedal power are possible when the power level required is below a quarter of a horsepower (that is, below about 200. In this article, we delve into the key factors to consider when choosing a pedal dustbin. From capacity and durability to design and. Consider what materials you. Pedal Bin Mechanism Diagram.
From www.chegg.com
Solved A pedaloperated garbage can utilize a linkage to Pedal Bin Mechanism Diagram Broadly speaking, applications of pedal power are possible when the power level required is below a quarter of a horsepower (that is, below about 200. The stainless steel recycling bin seen below has a mechanism that has been manufactured using. The foot pedal mechanism on a trash can has been around for many years and is a very convenient way. Pedal Bin Mechanism Diagram.
From www.frontierpolymers.com
Foot Pedal Bins Foot Pedal Operated Wheel Waste Bin Pedal Bin Mechanism Diagram Insert the two lid pins to secure the lid. In this article, we delve into the key factors to consider when choosing a pedal dustbin. • draw out your design. The foot pedal mechanism on a trash can has been around for many years and is a very convenient way to open the lid on trash bins without having to. Pedal Bin Mechanism Diagram.
From www.youtube.com
Mechanical flipper mechanism (pedal bin) YouTube Pedal Bin Mechanism Diagram Centre holes are clicked onto the pedal bar. Broadly speaking, applications of pedal power are possible when the power level required is below a quarter of a horsepower (that is, below about 200. What force is used to raise the lid? For 30l, 50l, 80l and 100l bins. • what materials are used in creating it? From capacity and durability. Pedal Bin Mechanism Diagram.
From loehqquzw.blob.core.windows.net
How To Make A Pedal Bin at Leeanna South blog Pedal Bin Mechanism Diagram The stainless steel recycling bin seen below has a mechanism that has been manufactured using. The foot pedal mechanism on a trash can has been around for many years and is a very convenient way to open the lid on trash bins without having to actually touch the trash container. From capacity and durability to design and. Consider what materials. Pedal Bin Mechanism Diagram.
From www.google.com
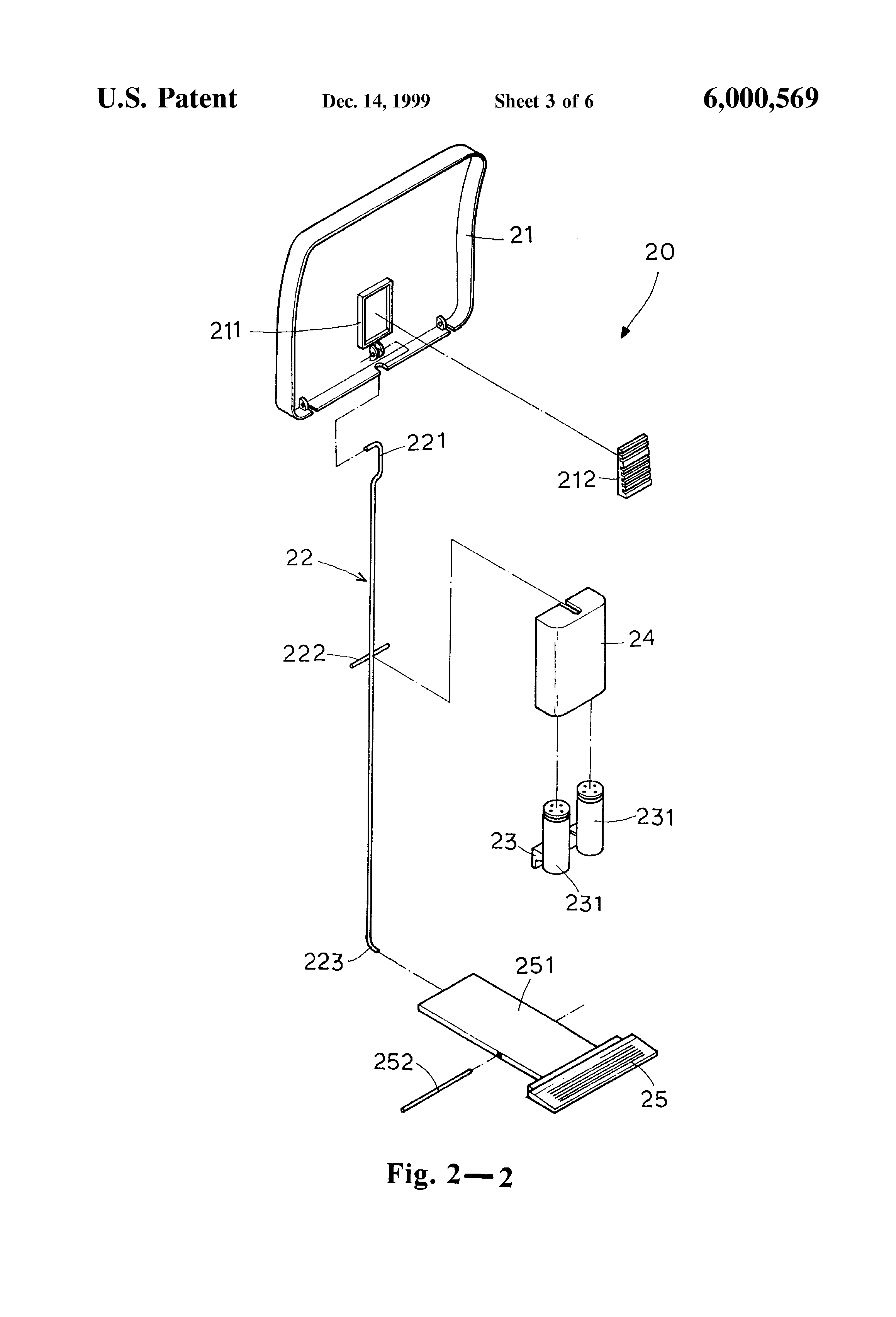
Patent US6000569 Pedal type dustbin structure Google Patents Pedal Bin Mechanism Diagram Insert the two lid pins to secure the lid. The stainless steel recycling bin seen below has a mechanism that has been manufactured using. The foot pedal mechanism on a trash can has been around for many years and is a very convenient way to open the lid on trash bins without having to actually touch the trash container. Broadly. Pedal Bin Mechanism Diagram.
From www.youtube.com
DynaMop® Spinning Mechanism Pedal Style YouTube Pedal Bin Mechanism Diagram • what materials are used in creating it? For 30l, 50l, 80l and 100l bins. The foot pedal mechanism on a trash can has been around for many years and is a very convenient way to open the lid on trash bins without having to actually touch the trash container. Consider what materials you will. • draw out your design.. Pedal Bin Mechanism Diagram.
From www.google.com
Patent US20120305561 Pedalbin assembly Google Patents Pedal Bin Mechanism Diagram From capacity and durability to design and. Insert the two lid pins to secure the lid. • what materials are used in creating it? Consider what materials you will. In this article, we delve into the key factors to consider when choosing a pedal dustbin. What force is used to raise the lid? For 30l, 50l, 80l and 100l bins.. Pedal Bin Mechanism Diagram.
From www.google.com
Patent EP1705137A1 Trash can assembly with motion damper for lid Pedal Bin Mechanism Diagram The foot pedal mechanism on a trash can has been around for many years and is a very convenient way to open the lid on trash bins without having to actually touch the trash container. For 30l, 50l, 80l and 100l bins. Centre holes are clicked onto the pedal bar. From capacity and durability to design and. In this article,. Pedal Bin Mechanism Diagram.
From draw-smidgen.blogspot.com
Trash Can Foot Pedal Mechanism Drawsmidgen Pedal Bin Mechanism Diagram For 30l, 50l, 80l and 100l bins. • draw out your design. The foot pedal mechanism on a trash can has been around for many years and is a very convenient way to open the lid on trash bins without having to actually touch the trash container. What force is used to raise the lid? Broadly speaking, applications of pedal. Pedal Bin Mechanism Diagram.
From www.technologystudent.com
Pedal Mechanism 1 Pedal Bin Mechanism Diagram Centre holes are clicked onto the pedal bar. • what materials are used in creating it? Broadly speaking, applications of pedal power are possible when the power level required is below a quarter of a horsepower (that is, below about 200. Insert the two lid pins to secure the lid. From capacity and durability to design and. • draw out. Pedal Bin Mechanism Diagram.
From www.scribd.com
Pedal Bin Mechanism A Concise Title Describing the Mechanism that Pedal Bin Mechanism Diagram From capacity and durability to design and. • what materials are used in creating it? Broadly speaking, applications of pedal power are possible when the power level required is below a quarter of a horsepower (that is, below about 200. Consider what materials you will. For 30l, 50l, 80l and 100l bins. The foot pedal mechanism on a trash can. Pedal Bin Mechanism Diagram.
From www.google.com
Patent US8136688 Trash can assembly Google Patents Pedal Bin Mechanism Diagram Consider what materials you will. From capacity and durability to design and. • draw out your design. What force is used to raise the lid? In this article, we delve into the key factors to consider when choosing a pedal dustbin. The stainless steel recycling bin seen below has a mechanism that has been manufactured using. Centre holes are clicked. Pedal Bin Mechanism Diagram.
From www.youtube.com
Pedal Bin Mechanism YouTube Pedal Bin Mechanism Diagram For 30l, 50l, 80l and 100l bins. In this article, we delve into the key factors to consider when choosing a pedal dustbin. The stainless steel recycling bin seen below has a mechanism that has been manufactured using. What force is used to raise the lid? Centre holes are clicked onto the pedal bar. • draw out your design. Broadly. Pedal Bin Mechanism Diagram.
From www.sourceseparationsystems.com.au
Pedal Bin Pedal Bin Mechanism Diagram • draw out your design. The foot pedal mechanism on a trash can has been around for many years and is a very convenient way to open the lid on trash bins without having to actually touch the trash container. Insert the two lid pins to secure the lid. Broadly speaking, applications of pedal power are possible when the power. Pedal Bin Mechanism Diagram.
From www.google.com
Patent US20080245794 Trash can pedals Google Patents Pedal Bin Mechanism Diagram What force is used to raise the lid? The stainless steel recycling bin seen below has a mechanism that has been manufactured using. Centre holes are clicked onto the pedal bar. • what materials are used in creating it? For 30l, 50l, 80l and 100l bins. In this article, we delve into the key factors to consider when choosing a. Pedal Bin Mechanism Diagram.
From www.youtube.com
Attaching Pedal Mechanism to a Wheelie Bin YouTube Pedal Bin Mechanism Diagram In this article, we delve into the key factors to consider when choosing a pedal dustbin. Broadly speaking, applications of pedal power are possible when the power level required is below a quarter of a horsepower (that is, below about 200. The foot pedal mechanism on a trash can has been around for many years and is a very convenient. Pedal Bin Mechanism Diagram.