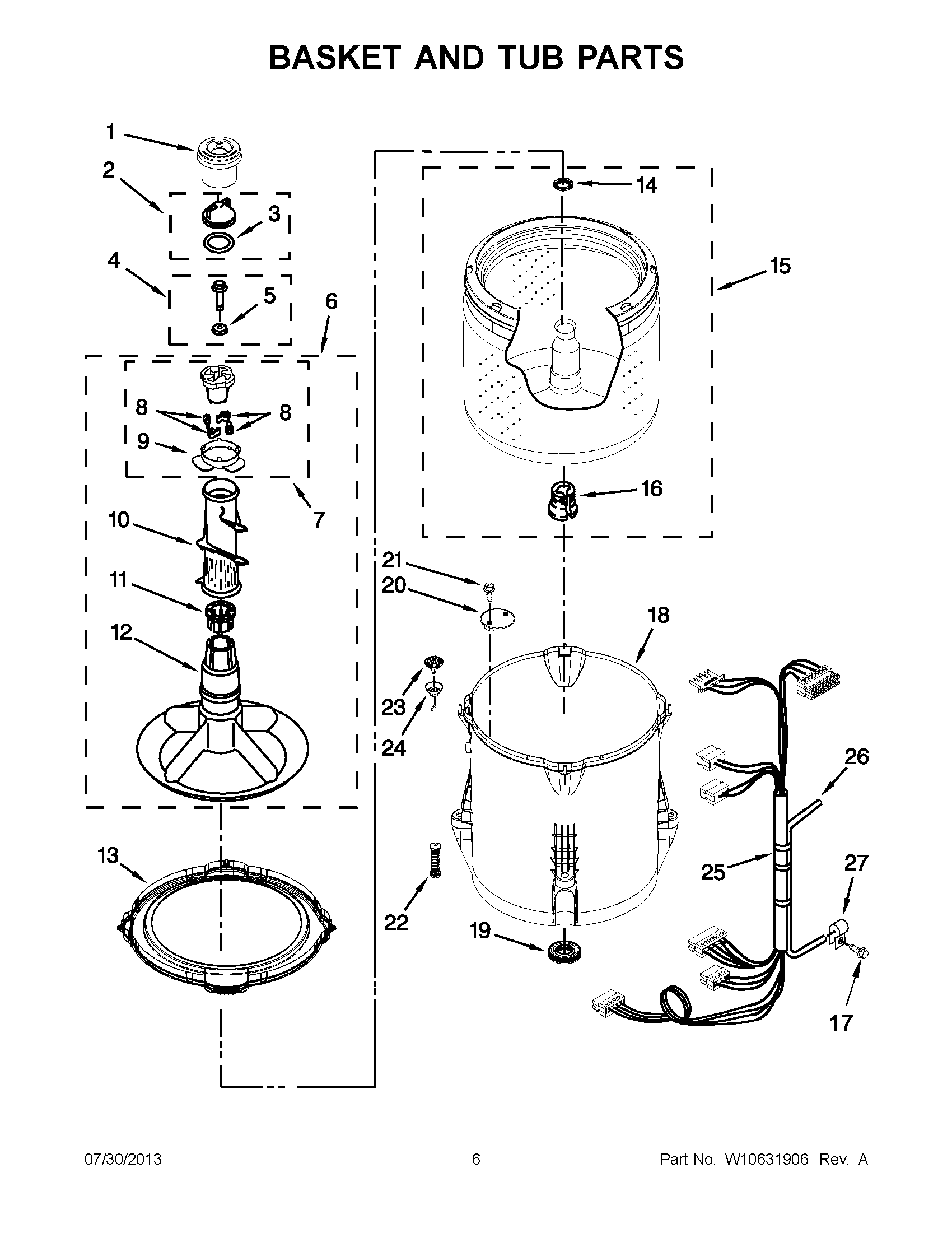
Whirlpool Washer Transmission Shaft . If the washer is not spinning or agitating but the motor is running, it could indicate a transmission issue. Start the machine and run it in spin mode. Our free washing machine diy manuals. The most common reasons for replacing the transmission are. Buy genuine whirlpool 3360629 transmission: Find whirlpool washing machine transmission parts using our appliance model lookup system with diagrams. Find whirlpool washing machine transmission, brake & clutch parts using our appliance model lookup system with diagrams. To diagnose a transmission problem in a whirlpool washer, follow these steps: Insert the transmission shaft into the hole in the bottom of the tub. Check if the washer is spinning or agitating: Check if the disc is spinning. Position and secure the assembly with the mounting.
from partsdr.com
The most common reasons for replacing the transmission are. To diagnose a transmission problem in a whirlpool washer, follow these steps: Our free washing machine diy manuals. Start the machine and run it in spin mode. Insert the transmission shaft into the hole in the bottom of the tub. Check if the washer is spinning or agitating: Position and secure the assembly with the mounting. Buy genuine whirlpool 3360629 transmission: Find whirlpool washing machine transmission, brake & clutch parts using our appliance model lookup system with diagrams. If the washer is not spinning or agitating but the motor is running, it could indicate a transmission issue.
W11454734 Whirlpool Washer Gearcase Parts Dr
Whirlpool Washer Transmission Shaft Buy genuine whirlpool 3360629 transmission: To diagnose a transmission problem in a whirlpool washer, follow these steps: Find whirlpool washing machine transmission, brake & clutch parts using our appliance model lookup system with diagrams. Find whirlpool washing machine transmission parts using our appliance model lookup system with diagrams. The most common reasons for replacing the transmission are. Position and secure the assembly with the mounting. Check if the washer is spinning or agitating: Start the machine and run it in spin mode. Our free washing machine diy manuals. Check if the disc is spinning. Insert the transmission shaft into the hole in the bottom of the tub. Buy genuine whirlpool 3360629 transmission: If the washer is not spinning or agitating but the motor is running, it could indicate a transmission issue.
From majorapplianceparts.ca
Whirlpool Washer Transmission Assembly. Part W11454734 Whirlpool Washer Transmission Shaft To diagnose a transmission problem in a whirlpool washer, follow these steps: Check if the washer is spinning or agitating: Position and secure the assembly with the mounting. Insert the transmission shaft into the hole in the bottom of the tub. Find whirlpool washing machine transmission, brake & clutch parts using our appliance model lookup system with diagrams. Our free. Whirlpool Washer Transmission Shaft.
From www.ebay.com
Whirlpool W11454741 Genuine OEM Washer Transmission Fits W11255272 Whirlpool Washer Transmission Shaft Find whirlpool washing machine transmission parts using our appliance model lookup system with diagrams. The most common reasons for replacing the transmission are. If the washer is not spinning or agitating but the motor is running, it could indicate a transmission issue. Check if the disc is spinning. Our free washing machine diy manuals. Start the machine and run it. Whirlpool Washer Transmission Shaft.
From applianceparts.com
3360629 Whirlpool Washing Machine Transmission Whirlpool Washer Transmission Shaft Start the machine and run it in spin mode. The most common reasons for replacing the transmission are. Find whirlpool washing machine transmission, brake & clutch parts using our appliance model lookup system with diagrams. Buy genuine whirlpool 3360629 transmission: To diagnose a transmission problem in a whirlpool washer, follow these steps: Find whirlpool washing machine transmission parts using our. Whirlpool Washer Transmission Shaft.
From www.walmart.com
63320 OEM FACTORY ORIGINAL WHIRLPOOL KENMORE MAYTAG ROPER KITCHENAID Whirlpool Washer Transmission Shaft If the washer is not spinning or agitating but the motor is running, it could indicate a transmission issue. The most common reasons for replacing the transmission are. Check if the washer is spinning or agitating: Insert the transmission shaft into the hole in the bottom of the tub. Buy genuine whirlpool 3360629 transmission: To diagnose a transmission problem in. Whirlpool Washer Transmission Shaft.
From www.youtube.com
Washing Machine Repair Replacing the Transmission Pulley & Bearing Whirlpool Washer Transmission Shaft Check if the disc is spinning. Our free washing machine diy manuals. Insert the transmission shaft into the hole in the bottom of the tub. The most common reasons for replacing the transmission are. Check if the washer is spinning or agitating: Position and secure the assembly with the mounting. Find whirlpool washing machine transmission, brake & clutch parts using. Whirlpool Washer Transmission Shaft.
From www.youtube.com
Whirlpool TopLoad Washer Transmission Replacement W10473144 YouTube Whirlpool Washer Transmission Shaft Buy genuine whirlpool 3360629 transmission: The most common reasons for replacing the transmission are. Position and secure the assembly with the mounting. Start the machine and run it in spin mode. Find whirlpool washing machine transmission, brake & clutch parts using our appliance model lookup system with diagrams. Insert the transmission shaft into the hole in the bottom of the. Whirlpool Washer Transmission Shaft.
From www.ebay.com
OEM Whirlpool WP91939 91939 Washer Transmission Shaft Seal eBay Whirlpool Washer Transmission Shaft Check if the disc is spinning. If the washer is not spinning or agitating but the motor is running, it could indicate a transmission issue. Start the machine and run it in spin mode. To diagnose a transmission problem in a whirlpool washer, follow these steps: Position and secure the assembly with the mounting. The most common reasons for replacing. Whirlpool Washer Transmission Shaft.
From k0lee.com
Whirlpool Washer Transmission Repair Lee Devlin's site Whirlpool Washer Transmission Shaft Insert the transmission shaft into the hole in the bottom of the tub. To diagnose a transmission problem in a whirlpool washer, follow these steps: The most common reasons for replacing the transmission are. Position and secure the assembly with the mounting. Start the machine and run it in spin mode. Find whirlpool washing machine transmission, brake & clutch parts. Whirlpool Washer Transmission Shaft.
From partsdr.com
WP326042225 Whirlpool Washer Transmission Assembly Parts Dr Whirlpool Washer Transmission Shaft Check if the disc is spinning. Find whirlpool washing machine transmission, brake & clutch parts using our appliance model lookup system with diagrams. Position and secure the assembly with the mounting. Buy genuine whirlpool 3360629 transmission: To diagnose a transmission problem in a whirlpool washer, follow these steps: If the washer is not spinning or agitating but the motor is. Whirlpool Washer Transmission Shaft.
From www.walmart.com
Genuine Whirlpool 356615 Washing Machine Transmission Whirlpool Washer Transmission Shaft Check if the washer is spinning or agitating: Find whirlpool washing machine transmission parts using our appliance model lookup system with diagrams. Find whirlpool washing machine transmission, brake & clutch parts using our appliance model lookup system with diagrams. To diagnose a transmission problem in a whirlpool washer, follow these steps: The most common reasons for replacing the transmission are.. Whirlpool Washer Transmission Shaft.
From midbec.com
Plans et pièces pour Whirlpool Automatic Washer modèle WTW4800BQ0 chez Whirlpool Washer Transmission Shaft The most common reasons for replacing the transmission are. Find whirlpool washing machine transmission, brake & clutch parts using our appliance model lookup system with diagrams. Insert the transmission shaft into the hole in the bottom of the tub. To diagnose a transmission problem in a whirlpool washer, follow these steps: Find whirlpool washing machine transmission parts using our appliance. Whirlpool Washer Transmission Shaft.
From www.apwagner.com
Washer Transmission 3360629 Whirlpool Corporation Whirlpool Washer Transmission Shaft Find whirlpool washing machine transmission, brake & clutch parts using our appliance model lookup system with diagrams. Buy genuine whirlpool 3360629 transmission: Find whirlpool washing machine transmission parts using our appliance model lookup system with diagrams. Start the machine and run it in spin mode. Check if the washer is spinning or agitating: If the washer is not spinning or. Whirlpool Washer Transmission Shaft.
From www.walmart.com
Whirlpool Washer Transmission Assembly 356615 Whirlpool Washer Transmission Shaft Find whirlpool washing machine transmission parts using our appliance model lookup system with diagrams. The most common reasons for replacing the transmission are. Check if the disc is spinning. Start the machine and run it in spin mode. Find whirlpool washing machine transmission, brake & clutch parts using our appliance model lookup system with diagrams. Buy genuine whirlpool 3360629 transmission:. Whirlpool Washer Transmission Shaft.
From majorapplianceparts.ca
Whirlpool Washer Transmission Assembly. Part 356615 Whirlpool Washer Transmission Shaft Insert the transmission shaft into the hole in the bottom of the tub. Find whirlpool washing machine transmission parts using our appliance model lookup system with diagrams. Check if the washer is spinning or agitating: To diagnose a transmission problem in a whirlpool washer, follow these steps: The most common reasons for replacing the transmission are. Start the machine and. Whirlpool Washer Transmission Shaft.
From www.walmart.com
AP6013637 Washer Upper Transmission Shaft Seal for Whirlpool (4 Pack Whirlpool Washer Transmission Shaft Check if the washer is spinning or agitating: Position and secure the assembly with the mounting. Our free washing machine diy manuals. Check if the disc is spinning. The most common reasons for replacing the transmission are. Start the machine and run it in spin mode. If the washer is not spinning or agitating but the motor is running, it. Whirlpool Washer Transmission Shaft.
From www.tribles.com
3360629 Whirlpool Washer Transmission Trible's Whirlpool Washer Transmission Shaft Insert the transmission shaft into the hole in the bottom of the tub. Check if the washer is spinning or agitating: Start the machine and run it in spin mode. Buy genuine whirlpool 3360629 transmission: Find whirlpool washing machine transmission parts using our appliance model lookup system with diagrams. Check if the disc is spinning. If the washer is not. Whirlpool Washer Transmission Shaft.
From www.ebay.com
Whirlpool Washer Transmission Gear Case P W11454372 W10469845 eBay Whirlpool Washer Transmission Shaft Find whirlpool washing machine transmission, brake & clutch parts using our appliance model lookup system with diagrams. Insert the transmission shaft into the hole in the bottom of the tub. Check if the washer is spinning or agitating: Find whirlpool washing machine transmission parts using our appliance model lookup system with diagrams. If the washer is not spinning or agitating. Whirlpool Washer Transmission Shaft.
From partsdr.com
W11423758 Whirlpool Washer Transmission Parts Dr Whirlpool Washer Transmission Shaft Insert the transmission shaft into the hole in the bottom of the tub. Check if the washer is spinning or agitating: Our free washing machine diy manuals. If the washer is not spinning or agitating but the motor is running, it could indicate a transmission issue. Find whirlpool washing machine transmission parts using our appliance model lookup system with diagrams.. Whirlpool Washer Transmission Shaft.
From www.ebay.com
Supco LP939 Whirlpool 91939 Washing Machine Transmission Shaft Seal Whirlpool Washer Transmission Shaft The most common reasons for replacing the transmission are. Position and secure the assembly with the mounting. Our free washing machine diy manuals. Insert the transmission shaft into the hole in the bottom of the tub. Find whirlpool washing machine transmission, brake & clutch parts using our appliance model lookup system with diagrams. If the washer is not spinning or. Whirlpool Washer Transmission Shaft.
From www.ebay.com
Genuine OEM Whirlpool WP91939 91939 Washer Transmission Shaft Seal eBay Whirlpool Washer Transmission Shaft If the washer is not spinning or agitating but the motor is running, it could indicate a transmission issue. Our free washing machine diy manuals. Check if the disc is spinning. To diagnose a transmission problem in a whirlpool washer, follow these steps: Position and secure the assembly with the mounting. Find whirlpool washing machine transmission parts using our appliance. Whirlpool Washer Transmission Shaft.
From www.repairclinic.com
Washing Machine Transmission W11454372 Whirlpool Washer Transmission Whirlpool Washer Transmission Shaft Position and secure the assembly with the mounting. Check if the washer is spinning or agitating: Find whirlpool washing machine transmission, brake & clutch parts using our appliance model lookup system with diagrams. Check if the disc is spinning. The most common reasons for replacing the transmission are. Find whirlpool washing machine transmission parts using our appliance model lookup system. Whirlpool Washer Transmission Shaft.
From applianceparts.com
3360629 Whirlpool Washing Machine Transmission Whirlpool Washer Transmission Shaft If the washer is not spinning or agitating but the motor is running, it could indicate a transmission issue. The most common reasons for replacing the transmission are. Find whirlpool washing machine transmission parts using our appliance model lookup system with diagrams. Find whirlpool washing machine transmission, brake & clutch parts using our appliance model lookup system with diagrams. Position. Whirlpool Washer Transmission Shaft.
From www.ebay.com
Genuine OEM Whirlpool WP91939 91939 Washer Transmission Shaft Seal eBay Whirlpool Washer Transmission Shaft Buy genuine whirlpool 3360629 transmission: Find whirlpool washing machine transmission parts using our appliance model lookup system with diagrams. Check if the washer is spinning or agitating: Start the machine and run it in spin mode. Check if the disc is spinning. Insert the transmission shaft into the hole in the bottom of the tub. Find whirlpool washing machine transmission,. Whirlpool Washer Transmission Shaft.
From www.repairclinic.com
Washing Machine Transmission W11454741 Whirlpool Transmission Whirlpool Washer Transmission Shaft Position and secure the assembly with the mounting. Check if the washer is spinning or agitating: Check if the disc is spinning. The most common reasons for replacing the transmission are. Start the machine and run it in spin mode. Insert the transmission shaft into the hole in the bottom of the tub. Find whirlpool washing machine transmission, brake &. Whirlpool Washer Transmission Shaft.
From www.walmart.com
Whirlpool Washing Machine Transmission W11454738 Whirlpool Washer Transmission Shaft Check if the washer is spinning or agitating: Insert the transmission shaft into the hole in the bottom of the tub. Start the machine and run it in spin mode. Find whirlpool washing machine transmission, brake & clutch parts using our appliance model lookup system with diagrams. Check if the disc is spinning. To diagnose a transmission problem in a. Whirlpool Washer Transmission Shaft.
From hdsupplysolutions.com
Whirlpool Replacement Upper Transmission Shaft Seal For Washer, Part Whirlpool Washer Transmission Shaft To diagnose a transmission problem in a whirlpool washer, follow these steps: Find whirlpool washing machine transmission parts using our appliance model lookup system with diagrams. The most common reasons for replacing the transmission are. Buy genuine whirlpool 3360629 transmission: Find whirlpool washing machine transmission, brake & clutch parts using our appliance model lookup system with diagrams. If the washer. Whirlpool Washer Transmission Shaft.
From partsdr.com
W11454734 Whirlpool Washer Gearcase Parts Dr Whirlpool Washer Transmission Shaft Buy genuine whirlpool 3360629 transmission: Check if the disc is spinning. If the washer is not spinning or agitating but the motor is running, it could indicate a transmission issue. Check if the washer is spinning or agitating: Find whirlpool washing machine transmission, brake & clutch parts using our appliance model lookup system with diagrams. Our free washing machine diy. Whirlpool Washer Transmission Shaft.
From partsdr.com
3360629 Whirlpool Washer Gear Case Transmission Parts Dr Whirlpool Washer Transmission Shaft Check if the washer is spinning or agitating: To diagnose a transmission problem in a whirlpool washer, follow these steps: The most common reasons for replacing the transmission are. If the washer is not spinning or agitating but the motor is running, it could indicate a transmission issue. Check if the disc is spinning. Find whirlpool washing machine transmission parts. Whirlpool Washer Transmission Shaft.
From www.ebay.com
OEM Whirlpool WP91939 91939 Washer Transmission Shaft Seal eBay Whirlpool Washer Transmission Shaft If the washer is not spinning or agitating but the motor is running, it could indicate a transmission issue. Position and secure the assembly with the mounting. The most common reasons for replacing the transmission are. Check if the washer is spinning or agitating: Find whirlpool washing machine transmission, brake & clutch parts using our appliance model lookup system with. Whirlpool Washer Transmission Shaft.
From schempal.com
Understanding the Whirlpool Cabrio Washer Parts Schematic A Whirlpool Washer Transmission Shaft Find whirlpool washing machine transmission, brake & clutch parts using our appliance model lookup system with diagrams. Insert the transmission shaft into the hole in the bottom of the tub. Find whirlpool washing machine transmission parts using our appliance model lookup system with diagrams. If the washer is not spinning or agitating but the motor is running, it could indicate. Whirlpool Washer Transmission Shaft.
From partsdr.com
3966743 Whirlpool Washer Transmission Kit Parts Dr Whirlpool Washer Transmission Shaft Find whirlpool washing machine transmission parts using our appliance model lookup system with diagrams. Check if the disc is spinning. Insert the transmission shaft into the hole in the bottom of the tub. Position and secure the assembly with the mounting. Buy genuine whirlpool 3360629 transmission: Check if the washer is spinning or agitating: To diagnose a transmission problem in. Whirlpool Washer Transmission Shaft.
From majorapplianceparts.ca
Whirlpool Washer Transmission Assembly. Part W11393685 Whirlpool Washer Transmission Shaft Check if the disc is spinning. Find whirlpool washing machine transmission parts using our appliance model lookup system with diagrams. Position and secure the assembly with the mounting. Insert the transmission shaft into the hole in the bottom of the tub. Start the machine and run it in spin mode. Our free washing machine diy manuals. The most common reasons. Whirlpool Washer Transmission Shaft.
From partsdr.com
3966743 Whirlpool Washer Transmission Kit Parts Dr Whirlpool Washer Transmission Shaft To diagnose a transmission problem in a whirlpool washer, follow these steps: Insert the transmission shaft into the hole in the bottom of the tub. Check if the disc is spinning. If the washer is not spinning or agitating but the motor is running, it could indicate a transmission issue. Find whirlpool washing machine transmission, brake & clutch parts using. Whirlpool Washer Transmission Shaft.