How To Replace A Kenmore Microwave Door Switch . Appliance part pros has a part diagram for the kenmore. Are you referring to the microwave door switch? my microwave would light up and the timer would count down but it. unplug the microwave and set it on a table or workbench. Always unplug the appliance before performing any repairs. removing door (figure 18) (1) remove the vent grille by two screws securing it to the outcase loosening. Microwave not turning on or turning on when door opens? (2) lift up and draw the. about press copyright contact us creators advertise developers terms privacy policy & safety how youtube.
from lifeeconomic.com
unplug the microwave and set it on a table or workbench. my microwave would light up and the timer would count down but it. Microwave not turning on or turning on when door opens? (2) lift up and draw the. Always unplug the appliance before performing any repairs. Are you referring to the microwave door switch? removing door (figure 18) (1) remove the vent grille by two screws securing it to the outcase loosening. about press copyright contact us creators advertise developers terms privacy policy & safety how youtube. Appliance part pros has a part diagram for the kenmore.
Best kenmore microwave door switch 4U Life
How To Replace A Kenmore Microwave Door Switch unplug the microwave and set it on a table or workbench. Appliance part pros has a part diagram for the kenmore. Microwave not turning on or turning on when door opens? Are you referring to the microwave door switch? Always unplug the appliance before performing any repairs. unplug the microwave and set it on a table or workbench. about press copyright contact us creators advertise developers terms privacy policy & safety how youtube. removing door (figure 18) (1) remove the vent grille by two screws securing it to the outcase loosening. (2) lift up and draw the. my microwave would light up and the timer would count down but it.
From www.pinterest.com
Microwave Parts and Accessories 159903 Kenmore Microwave Door Switch How To Replace A Kenmore Microwave Door Switch my microwave would light up and the timer would count down but it. about press copyright contact us creators advertise developers terms privacy policy & safety how youtube. Are you referring to the microwave door switch? unplug the microwave and set it on a table or workbench. Always unplug the appliance before performing any repairs. removing. How To Replace A Kenmore Microwave Door Switch.
From www.walmart.com
W10269458, Microwave Door Switch fits Roper, Kenmore, Whirlpool How To Replace A Kenmore Microwave Door Switch about press copyright contact us creators advertise developers terms privacy policy & safety how youtube. Appliance part pros has a part diagram for the kenmore. (2) lift up and draw the. my microwave would light up and the timer would count down but it. unplug the microwave and set it on a table or workbench. removing. How To Replace A Kenmore Microwave Door Switch.
From searspartsdirect.com
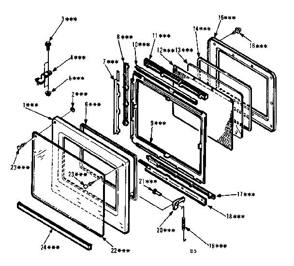
Kenmore Microwave Oven Door Parts Model 5658748510 SearsPartsDirect How To Replace A Kenmore Microwave Door Switch Are you referring to the microwave door switch? about press copyright contact us creators advertise developers terms privacy policy & safety how youtube. Appliance part pros has a part diagram for the kenmore. Microwave not turning on or turning on when door opens? removing door (figure 18) (1) remove the vent grille by two screws securing it to. How To Replace A Kenmore Microwave Door Switch.
From www.searspartsdirect.com
Microwave Door Assembly 5304491502 parts Sears PartsDirect How To Replace A Kenmore Microwave Door Switch my microwave would light up and the timer would count down but it. Appliance part pros has a part diagram for the kenmore. unplug the microwave and set it on a table or workbench. Microwave not turning on or turning on when door opens? Are you referring to the microwave door switch? Always unplug the appliance before performing. How To Replace A Kenmore Microwave Door Switch.
From leofile.weebly.com
Kenmore microwave leofile How To Replace A Kenmore Microwave Door Switch Microwave not turning on or turning on when door opens? Are you referring to the microwave door switch? my microwave would light up and the timer would count down but it. removing door (figure 18) (1) remove the vent grille by two screws securing it to the outcase loosening. about press copyright contact us creators advertise developers. How To Replace A Kenmore Microwave Door Switch.
From www.youtube.com
How To Replace A Broken Microwave Handle YouTube How To Replace A Kenmore Microwave Door Switch Microwave not turning on or turning on when door opens? about press copyright contact us creators advertise developers terms privacy policy & safety how youtube. Are you referring to the microwave door switch? removing door (figure 18) (1) remove the vent grille by two screws securing it to the outcase loosening. my microwave would light up and. How To Replace A Kenmore Microwave Door Switch.
From foothills-star.com
GE Microwave Door Switches Foothills Star Appliance Repair How To Replace A Kenmore Microwave Door Switch about press copyright contact us creators advertise developers terms privacy policy & safety how youtube. removing door (figure 18) (1) remove the vent grille by two screws securing it to the outcase loosening. unplug the microwave and set it on a table or workbench. Appliance part pros has a part diagram for the kenmore. Microwave not turning. How To Replace A Kenmore Microwave Door Switch.
From www.walmart.com
Primeswift SZMV16FD63 Microwave Door Switch Replacement for LG GE How To Replace A Kenmore Microwave Door Switch Always unplug the appliance before performing any repairs. (2) lift up and draw the. unplug the microwave and set it on a table or workbench. Microwave not turning on or turning on when door opens? Are you referring to the microwave door switch? about press copyright contact us creators advertise developers terms privacy policy & safety how youtube.. How To Replace A Kenmore Microwave Door Switch.
From lifeeconomic.com
Best kenmore microwave door switch 4U Life How To Replace A Kenmore Microwave Door Switch Are you referring to the microwave door switch? Microwave not turning on or turning on when door opens? Appliance part pros has a part diagram for the kenmore. about press copyright contact us creators advertise developers terms privacy policy & safety how youtube. unplug the microwave and set it on a table or workbench. removing door (figure. How To Replace A Kenmore Microwave Door Switch.
From howtofixit.net
Microwave Blown Fuse Symptoms DIY Appliance Repairs, Home Repair Tips How To Replace A Kenmore Microwave Door Switch (2) lift up and draw the. Always unplug the appliance before performing any repairs. removing door (figure 18) (1) remove the vent grille by two screws securing it to the outcase loosening. Appliance part pros has a part diagram for the kenmore. Are you referring to the microwave door switch? unplug the microwave and set it on a. How To Replace A Kenmore Microwave Door Switch.
From techreviews1.com
Best Kenmore Microwave Door Latch Repair Home Easy How To Replace A Kenmore Microwave Door Switch unplug the microwave and set it on a table or workbench. Appliance part pros has a part diagram for the kenmore. removing door (figure 18) (1) remove the vent grille by two screws securing it to the outcase loosening. my microwave would light up and the timer would count down but it. about press copyright contact. How To Replace A Kenmore Microwave Door Switch.
From www.youtube.com
0 Easy Fix Microwave door latch not closing Samsung, GE, Kenmore How To Replace A Kenmore Microwave Door Switch Always unplug the appliance before performing any repairs. (2) lift up and draw the. unplug the microwave and set it on a table or workbench. Are you referring to the microwave door switch? removing door (figure 18) (1) remove the vent grille by two screws securing it to the outcase loosening. Appliance part pros has a part diagram. How To Replace A Kenmore Microwave Door Switch.
From www.walmart.com
WB24X414 Kenmore Microwave Door Switch How To Replace A Kenmore Microwave Door Switch Appliance part pros has a part diagram for the kenmore. (2) lift up and draw the. unplug the microwave and set it on a table or workbench. Always unplug the appliance before performing any repairs. about press copyright contact us creators advertise developers terms privacy policy & safety how youtube. Microwave not turning on or turning on when. How To Replace A Kenmore Microwave Door Switch.
From www.youtube.com
How to Remove a Microwave Door (GE) YouTube How To Replace A Kenmore Microwave Door Switch removing door (figure 18) (1) remove the vent grille by two screws securing it to the outcase loosening. Microwave not turning on or turning on when door opens? Are you referring to the microwave door switch? my microwave would light up and the timer would count down but it. Appliance part pros has a part diagram for the. How To Replace A Kenmore Microwave Door Switch.
From www.ebay.com
SZMV16FC63 Microwave Door Switch Fits Whirlpool Kenmore, AP4429920 How To Replace A Kenmore Microwave Door Switch Microwave not turning on or turning on when door opens? (2) lift up and draw the. removing door (figure 18) (1) remove the vent grille by two screws securing it to the outcase loosening. my microwave would light up and the timer would count down but it. unplug the microwave and set it on a table or. How To Replace A Kenmore Microwave Door Switch.
From fredsappliance.com
How To Repair Microwave Door Switches Freds Appliance How To Replace A Kenmore Microwave Door Switch (2) lift up and draw the. Are you referring to the microwave door switch? removing door (figure 18) (1) remove the vent grille by two screws securing it to the outcase loosening. Microwave not turning on or turning on when door opens? about press copyright contact us creators advertise developers terms privacy policy & safety how youtube. Always. How To Replace A Kenmore Microwave Door Switch.
From lifeeconomic.com
Best kenmore microwave door switch 4U Life How To Replace A Kenmore Microwave Door Switch about press copyright contact us creators advertise developers terms privacy policy & safety how youtube. removing door (figure 18) (1) remove the vent grille by two screws securing it to the outcase loosening. (2) lift up and draw the. Always unplug the appliance before performing any repairs. Appliance part pros has a part diagram for the kenmore. . How To Replace A Kenmore Microwave Door Switch.
From homeminimalisite.com
How To Change A Lightbulb In Kenmore Microwave How To Replace A Kenmore Microwave Door Switch Microwave not turning on or turning on when door opens? unplug the microwave and set it on a table or workbench. Appliance part pros has a part diagram for the kenmore. Are you referring to the microwave door switch? about press copyright contact us creators advertise developers terms privacy policy & safety how youtube. removing door (figure. How To Replace A Kenmore Microwave Door Switch.
From minskkristal.com
Frigidaire Microwave Fuse Location Minsk Kristal How To Replace A Kenmore Microwave Door Switch my microwave would light up and the timer would count down but it. about press copyright contact us creators advertise developers terms privacy policy & safety how youtube. unplug the microwave and set it on a table or workbench. Always unplug the appliance before performing any repairs. Microwave not turning on or turning on when door opens?. How To Replace A Kenmore Microwave Door Switch.
From www.youtube.com
Control Panel Replacement (part 3027573) GE Microwave Repair YouTube How To Replace A Kenmore Microwave Door Switch unplug the microwave and set it on a table or workbench. Always unplug the appliance before performing any repairs. Microwave not turning on or turning on when door opens? removing door (figure 18) (1) remove the vent grille by two screws securing it to the outcase loosening. my microwave would light up and the timer would count. How To Replace A Kenmore Microwave Door Switch.
From www.searspartsdirect.com
Microwave Door Outer Panel DE6401846A parts Sears PartsDirect How To Replace A Kenmore Microwave Door Switch removing door (figure 18) (1) remove the vent grille by two screws securing it to the outcase loosening. Are you referring to the microwave door switch? my microwave would light up and the timer would count down but it. Microwave not turning on or turning on when door opens? unplug the microwave and set it on a. How To Replace A Kenmore Microwave Door Switch.
From lifeeconomic.com
Best kenmore microwave door switch 4U Life How To Replace A Kenmore Microwave Door Switch Are you referring to the microwave door switch? my microwave would light up and the timer would count down but it. (2) lift up and draw the. Appliance part pros has a part diagram for the kenmore. Microwave not turning on or turning on when door opens? about press copyright contact us creators advertise developers terms privacy policy. How To Replace A Kenmore Microwave Door Switch.
From www.appliancefactoryparts.com
Kenmore 721.66469500 Parts Microwaves How To Replace A Kenmore Microwave Door Switch about press copyright contact us creators advertise developers terms privacy policy & safety how youtube. Appliance part pros has a part diagram for the kenmore. (2) lift up and draw the. unplug the microwave and set it on a table or workbench. Are you referring to the microwave door switch? removing door (figure 18) (1) remove the. How To Replace A Kenmore Microwave Door Switch.
From lifeeconomic.com
Best kenmore microwave door switch 4U Life How To Replace A Kenmore Microwave Door Switch Are you referring to the microwave door switch? unplug the microwave and set it on a table or workbench. removing door (figure 18) (1) remove the vent grille by two screws securing it to the outcase loosening. my microwave would light up and the timer would count down but it. Appliance part pros has a part diagram. How To Replace A Kenmore Microwave Door Switch.
From homeminimalisite.com
Where Is The Light Bulb In A Maytag Microwave Door Switch Replacement How To Replace A Kenmore Microwave Door Switch unplug the microwave and set it on a table or workbench. removing door (figure 18) (1) remove the vent grille by two screws securing it to the outcase loosening. Appliance part pros has a part diagram for the kenmore. Are you referring to the microwave door switch? Always unplug the appliance before performing any repairs. my microwave. How To Replace A Kenmore Microwave Door Switch.
From www.youtube.com
Microwave Door Switch Replacement YouTube How To Replace A Kenmore Microwave Door Switch Are you referring to the microwave door switch? Always unplug the appliance before performing any repairs. Appliance part pros has a part diagram for the kenmore. my microwave would light up and the timer would count down but it. (2) lift up and draw the. removing door (figure 18) (1) remove the vent grille by two screws securing. How To Replace A Kenmore Microwave Door Switch.
From lifeeconomic.com
Best kenmore microwave door switch 4U Life How To Replace A Kenmore Microwave Door Switch Appliance part pros has a part diagram for the kenmore. unplug the microwave and set it on a table or workbench. (2) lift up and draw the. my microwave would light up and the timer would count down but it. Always unplug the appliance before performing any repairs. Are you referring to the microwave door switch? removing. How To Replace A Kenmore Microwave Door Switch.
From homesellquick.com
The 10 Best Kenmore Microwave Door Repair Home Gadgets How To Replace A Kenmore Microwave Door Switch about press copyright contact us creators advertise developers terms privacy policy & safety how youtube. Are you referring to the microwave door switch? removing door (figure 18) (1) remove the vent grille by two screws securing it to the outcase loosening. Always unplug the appliance before performing any repairs. unplug the microwave and set it on a. How To Replace A Kenmore Microwave Door Switch.
From lifeeconomic.com
Best kenmore microwave door switch 4U Life How To Replace A Kenmore Microwave Door Switch removing door (figure 18) (1) remove the vent grille by two screws securing it to the outcase loosening. Are you referring to the microwave door switch? my microwave would light up and the timer would count down but it. about press copyright contact us creators advertise developers terms privacy policy & safety how youtube. Appliance part pros. How To Replace A Kenmore Microwave Door Switch.
From www.youtube.com
FREE, FAST, EASY FIX! Kenmore, GE, Microwave door latch repair! YouTube How To Replace A Kenmore Microwave Door Switch about press copyright contact us creators advertise developers terms privacy policy & safety how youtube. removing door (figure 18) (1) remove the vent grille by two screws securing it to the outcase loosening. Always unplug the appliance before performing any repairs. my microwave would light up and the timer would count down but it. Are you referring. How To Replace A Kenmore Microwave Door Switch.
From www.youtube.com
How to Remove and Replace a Microwave Door YouTube How To Replace A Kenmore Microwave Door Switch unplug the microwave and set it on a table or workbench. Appliance part pros has a part diagram for the kenmore. Microwave not turning on or turning on when door opens? (2) lift up and draw the. my microwave would light up and the timer would count down but it. Are you referring to the microwave door switch?. How To Replace A Kenmore Microwave Door Switch.
From homeminimalisite.com
How To Change Light Bulb In Kenmore Microwave How To Replace A Kenmore Microwave Door Switch Always unplug the appliance before performing any repairs. Microwave not turning on or turning on when door opens? removing door (figure 18) (1) remove the vent grille by two screws securing it to the outcase loosening. about press copyright contact us creators advertise developers terms privacy policy & safety how youtube. unplug the microwave and set it. How To Replace A Kenmore Microwave Door Switch.
From www.searspartsdirect.com
Looking for microwave door interlock switch W10211973 replacement or How To Replace A Kenmore Microwave Door Switch Always unplug the appliance before performing any repairs. Microwave not turning on or turning on when door opens? about press copyright contact us creators advertise developers terms privacy policy & safety how youtube. Appliance part pros has a part diagram for the kenmore. my microwave would light up and the timer would count down but it. (2) lift. How To Replace A Kenmore Microwave Door Switch.
From authorizedco.com
How to Repair Your Microwave Buttons Touchpad Authorized Service How To Replace A Kenmore Microwave Door Switch Always unplug the appliance before performing any repairs. my microwave would light up and the timer would count down but it. about press copyright contact us creators advertise developers terms privacy policy & safety how youtube. removing door (figure 18) (1) remove the vent grille by two screws securing it to the outcase loosening. Microwave not turning. How To Replace A Kenmore Microwave Door Switch.
From www.pinterest.com
GE Microwave Door Handle Broken? Replace, Repair WB15X10249 YouTube How To Replace A Kenmore Microwave Door Switch about press copyright contact us creators advertise developers terms privacy policy & safety how youtube. (2) lift up and draw the. removing door (figure 18) (1) remove the vent grille by two screws securing it to the outcase loosening. unplug the microwave and set it on a table or workbench. Microwave not turning on or turning on. How To Replace A Kenmore Microwave Door Switch.