Fuel Injected 2 Stroke Engine . We’ve graced our ktm sxs with a new electronic fuel injection to ensure simplicity, enjoyment and unmatched performance. The only way efi/di works for a 2t is if manufacturers do it. Isde winner and italian champion davide guarneri has been a big part in the development of the xe300 fuel injected version. A mass produced well thought out fuel system will work if done right. Therefore, the sxs get a. If the filter is leaking, there will be air bubbles in the fuel and sometimes they spray fuel horizontally across the inside of the tank.
from transmoto.com.au
Isde winner and italian champion davide guarneri has been a big part in the development of the xe300 fuel injected version. A mass produced well thought out fuel system will work if done right. We’ve graced our ktm sxs with a new electronic fuel injection to ensure simplicity, enjoyment and unmatched performance. Therefore, the sxs get a. If the filter is leaking, there will be air bubbles in the fuel and sometimes they spray fuel horizontally across the inside of the tank. The only way efi/di works for a 2t is if manufacturers do it.
TwoStroke Fuel Injection How it works Transmoto
Fuel Injected 2 Stroke Engine The only way efi/di works for a 2t is if manufacturers do it. The only way efi/di works for a 2t is if manufacturers do it. A mass produced well thought out fuel system will work if done right. Isde winner and italian champion davide guarneri has been a big part in the development of the xe300 fuel injected version. If the filter is leaking, there will be air bubbles in the fuel and sometimes they spray fuel horizontally across the inside of the tank. We’ve graced our ktm sxs with a new electronic fuel injection to ensure simplicity, enjoyment and unmatched performance. Therefore, the sxs get a.
From www.researchgate.net
Diagram of direct fuel injection twostroke engine on experimental stand Download Scientific Fuel Injected 2 Stroke Engine A mass produced well thought out fuel system will work if done right. If the filter is leaking, there will be air bubbles in the fuel and sometimes they spray fuel horizontally across the inside of the tank. The only way efi/di works for a 2t is if manufacturers do it. Isde winner and italian champion davide guarneri has been. Fuel Injected 2 Stroke Engine.
From paradigmprojekt.blogspot.com
Direct Injection Two Stroke Engine Direct Injection 22hp Vtwo 4stroke Air Cooled Diesel Fuel Injected 2 Stroke Engine We’ve graced our ktm sxs with a new electronic fuel injection to ensure simplicity, enjoyment and unmatched performance. A mass produced well thought out fuel system will work if done right. Isde winner and italian champion davide guarneri has been a big part in the development of the xe300 fuel injected version. Therefore, the sxs get a. The only way. Fuel Injected 2 Stroke Engine.
From transmoto.com.au
TwoStroke Fuel Injection How it works Transmoto Fuel Injected 2 Stroke Engine A mass produced well thought out fuel system will work if done right. If the filter is leaking, there will be air bubbles in the fuel and sometimes they spray fuel horizontally across the inside of the tank. Therefore, the sxs get a. Isde winner and italian champion davide guarneri has been a big part in the development of the. Fuel Injected 2 Stroke Engine.
From enduro21.com
First look 2023 KTM Motocross range new fuel injected twostrokes including a 300 SX model Fuel Injected 2 Stroke Engine We’ve graced our ktm sxs with a new electronic fuel injection to ensure simplicity, enjoyment and unmatched performance. If the filter is leaking, there will be air bubbles in the fuel and sometimes they spray fuel horizontally across the inside of the tank. Therefore, the sxs get a. A mass produced well thought out fuel system will work if done. Fuel Injected 2 Stroke Engine.
From enduro21.com
Fuel injected, 300cc Yamaha twostroke engine for enduro anyone? Fuel Injected 2 Stroke Engine A mass produced well thought out fuel system will work if done right. We’ve graced our ktm sxs with a new electronic fuel injection to ensure simplicity, enjoyment and unmatched performance. If the filter is leaking, there will be air bubbles in the fuel and sometimes they spray fuel horizontally across the inside of the tank. Isde winner and italian. Fuel Injected 2 Stroke Engine.
From enduro21.com
Fuel injected, 300cc Yamaha twostroke engine for enduro anyone? Fuel Injected 2 Stroke Engine We’ve graced our ktm sxs with a new electronic fuel injection to ensure simplicity, enjoyment and unmatched performance. Isde winner and italian champion davide guarneri has been a big part in the development of the xe300 fuel injected version. A mass produced well thought out fuel system will work if done right. The only way efi/di works for a 2t. Fuel Injected 2 Stroke Engine.
From forums.kartpulse.com
Fuel Injected Two Strokes arrive in 2018 From KTM 2 Stroke Engine Help and Discussion Fuel Injected 2 Stroke Engine If the filter is leaking, there will be air bubbles in the fuel and sometimes they spray fuel horizontally across the inside of the tank. A mass produced well thought out fuel system will work if done right. Isde winner and italian champion davide guarneri has been a big part in the development of the xe300 fuel injected version. The. Fuel Injected 2 Stroke Engine.
From dirtbiketest.com
TwoStroke Fuel Injection KTM's Path To TPI Dirt Bike Test Fuel Injected 2 Stroke Engine If the filter is leaking, there will be air bubbles in the fuel and sometimes they spray fuel horizontally across the inside of the tank. Therefore, the sxs get a. We’ve graced our ktm sxs with a new electronic fuel injection to ensure simplicity, enjoyment and unmatched performance. A mass produced well thought out fuel system will work if done. Fuel Injected 2 Stroke Engine.
From www.cycleworld.com
Aprilia’s FuelInjected TwoStroke Concept Cycle World Fuel Injected 2 Stroke Engine The only way efi/di works for a 2t is if manufacturers do it. If the filter is leaking, there will be air bubbles in the fuel and sometimes they spray fuel horizontally across the inside of the tank. A mass produced well thought out fuel system will work if done right. Isde winner and italian champion davide guarneri has been. Fuel Injected 2 Stroke Engine.
From www.ecotrons.com
2stroke Small Engine Fuel Injection Kits Fuel Injected 2 Stroke Engine We’ve graced our ktm sxs with a new electronic fuel injection to ensure simplicity, enjoyment and unmatched performance. The only way efi/di works for a 2t is if manufacturers do it. A mass produced well thought out fuel system will work if done right. If the filter is leaking, there will be air bubbles in the fuel and sometimes they. Fuel Injected 2 Stroke Engine.
From www.researchgate.net
2. Scheme of indirect fuel injection in twostroke engine Download Scientific Diagram Fuel Injected 2 Stroke Engine Isde winner and italian champion davide guarneri has been a big part in the development of the xe300 fuel injected version. Therefore, the sxs get a. We’ve graced our ktm sxs with a new electronic fuel injection to ensure simplicity, enjoyment and unmatched performance. If the filter is leaking, there will be air bubbles in the fuel and sometimes they. Fuel Injected 2 Stroke Engine.
From www.youtube.com
2 Stroke injection different types? YouTube Fuel Injected 2 Stroke Engine We’ve graced our ktm sxs with a new electronic fuel injection to ensure simplicity, enjoyment and unmatched performance. Therefore, the sxs get a. A mass produced well thought out fuel system will work if done right. If the filter is leaking, there will be air bubbles in the fuel and sometimes they spray fuel horizontally across the inside of the. Fuel Injected 2 Stroke Engine.
From www.ecotrons.com
ParaMotor Engine Fuel Injection Kit 2stroke Engine EFI conversion kit ParaMotor engine fuel Fuel Injected 2 Stroke Engine Isde winner and italian champion davide guarneri has been a big part in the development of the xe300 fuel injected version. We’ve graced our ktm sxs with a new electronic fuel injection to ensure simplicity, enjoyment and unmatched performance. A mass produced well thought out fuel system will work if done right. The only way efi/di works for a 2t. Fuel Injected 2 Stroke Engine.
From enduro21.com
First Look Fuel injected 125 twostroke from TM Racing for 2020 Fuel Injected 2 Stroke Engine If the filter is leaking, there will be air bubbles in the fuel and sometimes they spray fuel horizontally across the inside of the tank. Isde winner and italian champion davide guarneri has been a big part in the development of the xe300 fuel injected version. The only way efi/di works for a 2t is if manufacturers do it. A. Fuel Injected 2 Stroke Engine.
From paradigmprojekt.blogspot.com
Direct Injection Two Stroke Engine Direct Injection 22hp Vtwo 4stroke Air Cooled Diesel Fuel Injected 2 Stroke Engine If the filter is leaking, there will be air bubbles in the fuel and sometimes they spray fuel horizontally across the inside of the tank. We’ve graced our ktm sxs with a new electronic fuel injection to ensure simplicity, enjoyment and unmatched performance. Therefore, the sxs get a. Isde winner and italian champion davide guarneri has been a big part. Fuel Injected 2 Stroke Engine.
From dirtbiketest.com
TwoStroke Fuel Injection KTM's Path To TPI Dirt Bike Test Fuel Injected 2 Stroke Engine If the filter is leaking, there will be air bubbles in the fuel and sometimes they spray fuel horizontally across the inside of the tank. Therefore, the sxs get a. The only way efi/di works for a 2t is if manufacturers do it. Isde winner and italian champion davide guarneri has been a big part in the development of the. Fuel Injected 2 Stroke Engine.
From www.pinterest.com
KTM 300 EXC TPI 2 stroke fuel injected enduro 2018 6 Ktm, Ktm 300, Bike Fuel Injected 2 Stroke Engine The only way efi/di works for a 2t is if manufacturers do it. If the filter is leaking, there will be air bubbles in the fuel and sometimes they spray fuel horizontally across the inside of the tank. Therefore, the sxs get a. We’ve graced our ktm sxs with a new electronic fuel injection to ensure simplicity, enjoyment and unmatched. Fuel Injected 2 Stroke Engine.
From adbmag.com.au
KTM Unveils 2018 FuelInjected TwoStrokes Australasian Dirt Bike Magazine Fuel Injected 2 Stroke Engine A mass produced well thought out fuel system will work if done right. If the filter is leaking, there will be air bubbles in the fuel and sometimes they spray fuel horizontally across the inside of the tank. Therefore, the sxs get a. We’ve graced our ktm sxs with a new electronic fuel injection to ensure simplicity, enjoyment and unmatched. Fuel Injected 2 Stroke Engine.
From theempire.nz
KTM's new Fuel Injected 2Strokers! THE EMPIRE Fuel Injected 2 Stroke Engine The only way efi/di works for a 2t is if manufacturers do it. Isde winner and italian champion davide guarneri has been a big part in the development of the xe300 fuel injected version. Therefore, the sxs get a. If the filter is leaking, there will be air bubbles in the fuel and sometimes they spray fuel horizontally across the. Fuel Injected 2 Stroke Engine.
From enduro21.com
Fuel injected, 300cc Yamaha twostroke engine for enduro anyone? Fuel Injected 2 Stroke Engine The only way efi/di works for a 2t is if manufacturers do it. Therefore, the sxs get a. A mass produced well thought out fuel system will work if done right. Isde winner and italian champion davide guarneri has been a big part in the development of the xe300 fuel injected version. We’ve graced our ktm sxs with a new. Fuel Injected 2 Stroke Engine.
From www.motorcyclenews.com
New KTM fuelinjected twostokes launching soon! MCN Fuel Injected 2 Stroke Engine We’ve graced our ktm sxs with a new electronic fuel injection to ensure simplicity, enjoyment and unmatched performance. If the filter is leaking, there will be air bubbles in the fuel and sometimes they spray fuel horizontally across the inside of the tank. A mass produced well thought out fuel system will work if done right. Isde winner and italian. Fuel Injected 2 Stroke Engine.
From transmoto.com.au
TwoStroke Fuel Injection How it works Transmoto Fuel Injected 2 Stroke Engine The only way efi/di works for a 2t is if manufacturers do it. Isde winner and italian champion davide guarneri has been a big part in the development of the xe300 fuel injected version. Therefore, the sxs get a. If the filter is leaking, there will be air bubbles in the fuel and sometimes they spray fuel horizontally across the. Fuel Injected 2 Stroke Engine.
From rallyanarchy.com
Direct Injection & Two Strokes Fuel Injected 2 Stroke Engine If the filter is leaking, there will be air bubbles in the fuel and sometimes they spray fuel horizontally across the inside of the tank. Isde winner and italian champion davide guarneri has been a big part in the development of the xe300 fuel injected version. A mass produced well thought out fuel system will work if done right. The. Fuel Injected 2 Stroke Engine.
From ca.finance.yahoo.com
How Fuel Injection Transformed The TwoStroke Engine Fuel Injected 2 Stroke Engine If the filter is leaking, there will be air bubbles in the fuel and sometimes they spray fuel horizontally across the inside of the tank. Isde winner and italian champion davide guarneri has been a big part in the development of the xe300 fuel injected version. We’ve graced our ktm sxs with a new electronic fuel injection to ensure simplicity,. Fuel Injected 2 Stroke Engine.
From motocrossactionmag.com
INSIDE LOOK AT THE 2018 KTM 250 FUELINJECTED TWOSTROKE ENGINE Motocross Action Magazine Fuel Injected 2 Stroke Engine Therefore, the sxs get a. We’ve graced our ktm sxs with a new electronic fuel injection to ensure simplicity, enjoyment and unmatched performance. The only way efi/di works for a 2t is if manufacturers do it. Isde winner and italian champion davide guarneri has been a big part in the development of the xe300 fuel injected version. A mass produced. Fuel Injected 2 Stroke Engine.
From motocrossactionmag.com
ASK THE MXPERTS WHAT'S HOLDING UP FUELINJECTED TWOSTROKES?Motocross Action Magazine Fuel Injected 2 Stroke Engine Isde winner and italian champion davide guarneri has been a big part in the development of the xe300 fuel injected version. A mass produced well thought out fuel system will work if done right. Therefore, the sxs get a. We’ve graced our ktm sxs with a new electronic fuel injection to ensure simplicity, enjoyment and unmatched performance. The only way. Fuel Injected 2 Stroke Engine.
From www.xbhp.com
KTM unveils world's first 2stroke fuel injection Enduro Machines Fuel Injected 2 Stroke Engine Isde winner and italian champion davide guarneri has been a big part in the development of the xe300 fuel injected version. A mass produced well thought out fuel system will work if done right. If the filter is leaking, there will be air bubbles in the fuel and sometimes they spray fuel horizontally across the inside of the tank. We’ve. Fuel Injected 2 Stroke Engine.
From dirtbiketest.com
TwoStroke Fuel Injection KTM's Path To TPI Dirt Bike Test Fuel Injected 2 Stroke Engine If the filter is leaking, there will be air bubbles in the fuel and sometimes they spray fuel horizontally across the inside of the tank. We’ve graced our ktm sxs with a new electronic fuel injection to ensure simplicity, enjoyment and unmatched performance. Isde winner and italian champion davide guarneri has been a big part in the development of the. Fuel Injected 2 Stroke Engine.
From www.researchgate.net
28. Twostroke engine OCP XIHB with direct fuel injection as a driving... Download Scientific Fuel Injected 2 Stroke Engine If the filter is leaking, there will be air bubbles in the fuel and sometimes they spray fuel horizontally across the inside of the tank. A mass produced well thought out fuel system will work if done right. Therefore, the sxs get a. We’ve graced our ktm sxs with a new electronic fuel injection to ensure simplicity, enjoyment and unmatched. Fuel Injected 2 Stroke Engine.
From dirtbikenews.ca
2020 TM 300 FI TPI Fuel Injection 2 Stroke DBN Fuel Injected 2 Stroke Engine We’ve graced our ktm sxs with a new electronic fuel injection to ensure simplicity, enjoyment and unmatched performance. If the filter is leaking, there will be air bubbles in the fuel and sometimes they spray fuel horizontally across the inside of the tank. A mass produced well thought out fuel system will work if done right. Isde winner and italian. Fuel Injected 2 Stroke Engine.
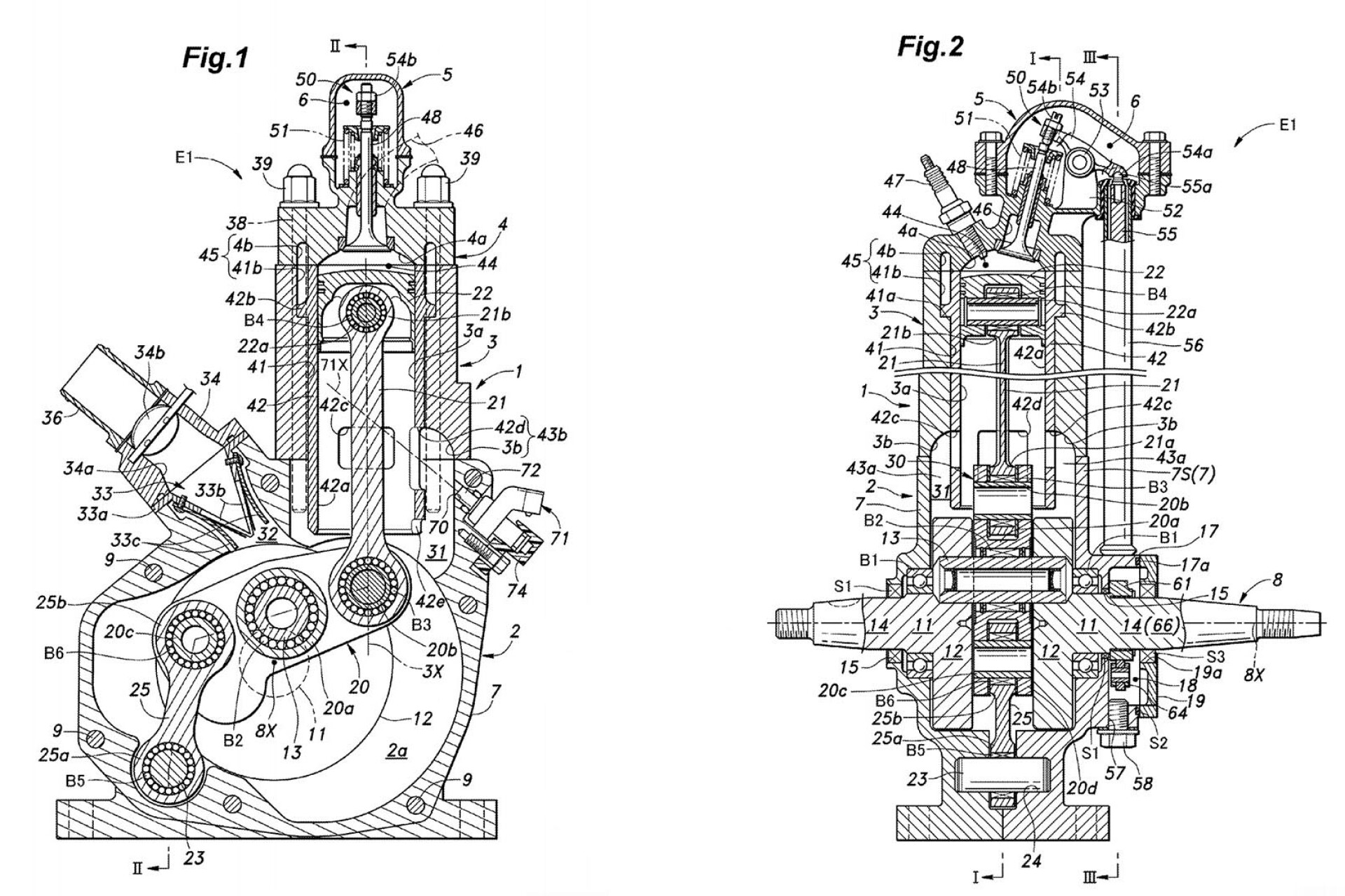
From newatlas.com
Honda files patents for brand new, fuel injected twostroke engine Fuel Injected 2 Stroke Engine The only way efi/di works for a 2t is if manufacturers do it. Isde winner and italian champion davide guarneri has been a big part in the development of the xe300 fuel injected version. If the filter is leaking, there will be air bubbles in the fuel and sometimes they spray fuel horizontally across the inside of the tank. Therefore,. Fuel Injected 2 Stroke Engine.
From ultimatemotorcycling.com
KTM FuelInjected TwoStroke Engines Announced 6 Fast Facts Fuel Injected 2 Stroke Engine A mass produced well thought out fuel system will work if done right. Therefore, the sxs get a. If the filter is leaking, there will be air bubbles in the fuel and sometimes they spray fuel horizontally across the inside of the tank. The only way efi/di works for a 2t is if manufacturers do it. Isde winner and italian. Fuel Injected 2 Stroke Engine.
From dirtbiketest.com
TwoStroke Fuel Injection KTM's Path To TPI Dirt Bike Test Fuel Injected 2 Stroke Engine Therefore, the sxs get a. We’ve graced our ktm sxs with a new electronic fuel injection to ensure simplicity, enjoyment and unmatched performance. Isde winner and italian champion davide guarneri has been a big part in the development of the xe300 fuel injected version. If the filter is leaking, there will be air bubbles in the fuel and sometimes they. Fuel Injected 2 Stroke Engine.
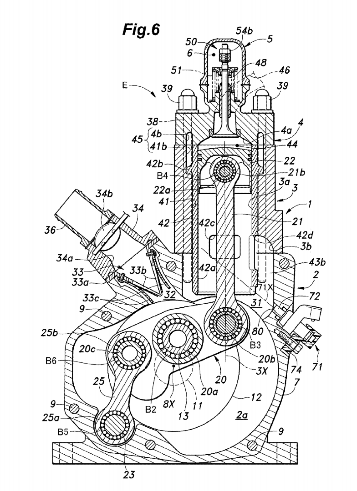
From newatlas.com
Honda files patents for brand new, fuel injected twostroke engine Fuel Injected 2 Stroke Engine The only way efi/di works for a 2t is if manufacturers do it. Therefore, the sxs get a. If the filter is leaking, there will be air bubbles in the fuel and sometimes they spray fuel horizontally across the inside of the tank. Isde winner and italian champion davide guarneri has been a big part in the development of the. Fuel Injected 2 Stroke Engine.
From www.2strokemx.com
Husqvarna Two Stroke Street Legal Direct Injected Dual Sport Two Stroke Fuel Injected 2 Stroke Engine Therefore, the sxs get a. We’ve graced our ktm sxs with a new electronic fuel injection to ensure simplicity, enjoyment and unmatched performance. A mass produced well thought out fuel system will work if done right. The only way efi/di works for a 2t is if manufacturers do it. If the filter is leaking, there will be air bubbles in. Fuel Injected 2 Stroke Engine.