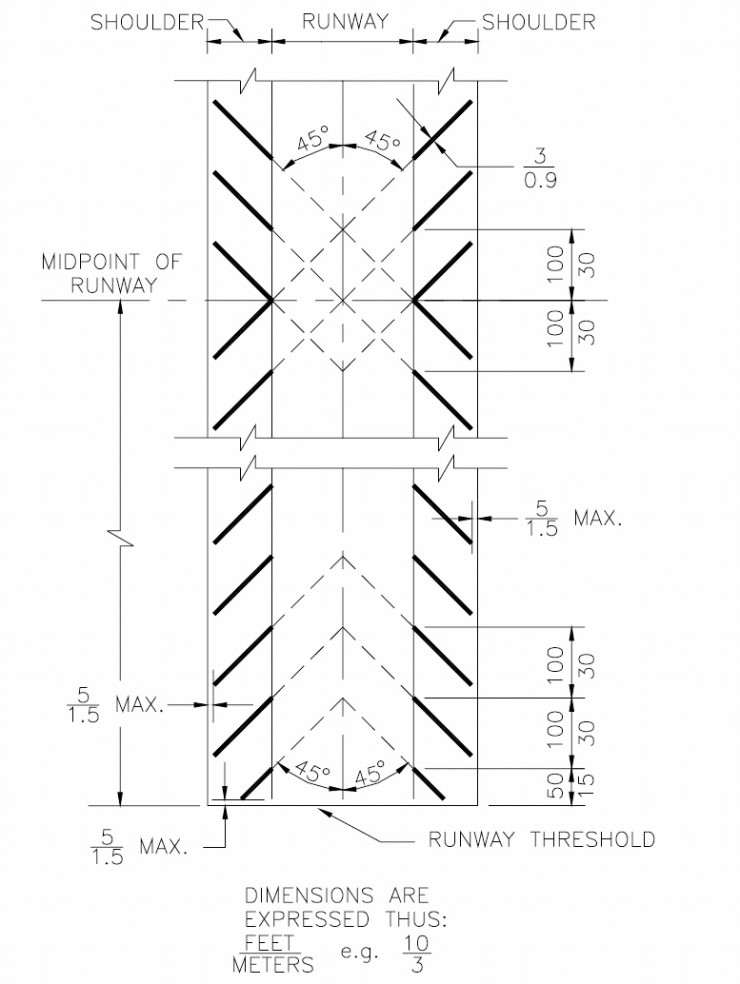
Runway Shoulder Markings . The threshold markings, a series of white stripes at the runway’s beginning, signal where the landing runway starts. Yellow stripes adjacent to the runway side stripes. This identifies pavement areas neighboring the runway side that are not intended for. Runway shoulder stripes may be used to supplement runway side stripes to identify pavement areas contiguous. Runway shoulder markings are the least common runway markings. Indicate areas not intended for aircraft use,. These yellow markings mark the paved area of a runway that. Runway shoulder stripes may be used to supplement runway side stripes. Runway shoulder stripes may be used to supplement runway side stripes to identify pavement areas contiguous to the runway sides. Since aircraft are affected by the wind during takeoffs and landings, runways are laid out according to the local prevailing winds. This ac contains the faa standards for markings used on airport runways, taxiways, and aprons.
from flighttrainingcentral.com
Runway shoulder markings are the least common runway markings. Runway shoulder stripes may be used to supplement runway side stripes to identify pavement areas contiguous. This identifies pavement areas neighboring the runway side that are not intended for. Since aircraft are affected by the wind during takeoffs and landings, runways are laid out according to the local prevailing winds. The threshold markings, a series of white stripes at the runway’s beginning, signal where the landing runway starts. Runway shoulder stripes may be used to supplement runway side stripes to identify pavement areas contiguous to the runway sides. Yellow stripes adjacent to the runway side stripes. This ac contains the faa standards for markings used on airport runways, taxiways, and aprons. These yellow markings mark the paved area of a runway that. Indicate areas not intended for aircraft use,.
Guide to airport taxiway signs and markings (video tip) Flight
Runway Shoulder Markings Yellow stripes adjacent to the runway side stripes. Runway shoulder stripes may be used to supplement runway side stripes to identify pavement areas contiguous to the runway sides. These yellow markings mark the paved area of a runway that. Since aircraft are affected by the wind during takeoffs and landings, runways are laid out according to the local prevailing winds. The threshold markings, a series of white stripes at the runway’s beginning, signal where the landing runway starts. Yellow stripes adjacent to the runway side stripes. Indicate areas not intended for aircraft use,. This ac contains the faa standards for markings used on airport runways, taxiways, and aprons. Runway shoulder stripes may be used to supplement runway side stripes to identify pavement areas contiguous. Runway shoulder stripes may be used to supplement runway side stripes. This identifies pavement areas neighboring the runway side that are not intended for. Runway shoulder markings are the least common runway markings.
From www.aviationnepal.com
Airport markings and signs used to ensure safe landing and taxing Runway Shoulder Markings Runway shoulder markings are the least common runway markings. The threshold markings, a series of white stripes at the runway’s beginning, signal where the landing runway starts. Yellow stripes adjacent to the runway side stripes. These yellow markings mark the paved area of a runway that. Since aircraft are affected by the wind during takeoffs and landings, runways are laid. Runway Shoulder Markings.
From www.aviationnepal.com
Airport markings and signs used to ensure safe landing and taxing Runway Shoulder Markings Yellow stripes adjacent to the runway side stripes. Runway shoulder stripes may be used to supplement runway side stripes to identify pavement areas contiguous. This ac contains the faa standards for markings used on airport runways, taxiways, and aprons. Since aircraft are affected by the wind during takeoffs and landings, runways are laid out according to the local prevailing winds.. Runway Shoulder Markings.
From www.youtube.com
Runway Markings Explained in detail! YouTube Runway Shoulder Markings These yellow markings mark the paved area of a runway that. Yellow stripes adjacent to the runway side stripes. Since aircraft are affected by the wind during takeoffs and landings, runways are laid out according to the local prevailing winds. Indicate areas not intended for aircraft use,. Runway shoulder stripes may be used to supplement runway side stripes to identify. Runway Shoulder Markings.
From learntoflyblog.com
Procedures and Airport Operations Airport Markings Learn To Fly Runway Shoulder Markings This identifies pavement areas neighboring the runway side that are not intended for. Runway shoulder stripes may be used to supplement runway side stripes to identify pavement areas contiguous. Runway shoulder markings are the least common runway markings. The threshold markings, a series of white stripes at the runway’s beginning, signal where the landing runway starts. These yellow markings mark. Runway Shoulder Markings.
From www.havayolu101.com
Runway Markings Havayolu 101 Runway Shoulder Markings Runway shoulder stripes may be used to supplement runway side stripes to identify pavement areas contiguous. Indicate areas not intended for aircraft use,. These yellow markings mark the paved area of a runway that. Since aircraft are affected by the wind during takeoffs and landings, runways are laid out according to the local prevailing winds. Yellow stripes adjacent to the. Runway Shoulder Markings.
From pilotinstitute.com
The Essential Guide to Runway Markings Pilot Institute Runway Shoulder Markings This identifies pavement areas neighboring the runway side that are not intended for. Runway shoulder stripes may be used to supplement runway side stripes to identify pavement areas contiguous to the runway sides. Since aircraft are affected by the wind during takeoffs and landings, runways are laid out according to the local prevailing winds. Runway shoulder markings are the least. Runway Shoulder Markings.
From www.century-of-flight.net
Runway Markings Explained Aviation History Century of Flight Runway Shoulder Markings Runway shoulder markings are the least common runway markings. Indicate areas not intended for aircraft use,. Runway shoulder stripes may be used to supplement runway side stripes to identify pavement areas contiguous. This ac contains the faa standards for markings used on airport runways, taxiways, and aprons. Runway shoulder stripes may be used to supplement runway side stripes. This identifies. Runway Shoulder Markings.
From www.pinterest.com
Pin by Carmen hb on Covet f. de fiesta Strapless dress formal Runway Shoulder Markings These yellow markings mark the paved area of a runway that. This identifies pavement areas neighboring the runway side that are not intended for. Runway shoulder stripes may be used to supplement runway side stripes to identify pavement areas contiguous. Runway shoulder stripes may be used to supplement runway side stripes to identify pavement areas contiguous to the runway sides.. Runway Shoulder Markings.
From pavementsurfacecoatings.com
Airport Pavement Markings I Runway And Airport Striping Runway Shoulder Markings These yellow markings mark the paved area of a runway that. Runway shoulder stripes may be used to supplement runway side stripes to identify pavement areas contiguous to the runway sides. This identifies pavement areas neighboring the runway side that are not intended for. This ac contains the faa standards for markings used on airport runways, taxiways, and aprons. Runway. Runway Shoulder Markings.
From flighttrainingcentral.com
Guide to airport taxiway signs and markings (video tip) Flight Runway Shoulder Markings Runway shoulder stripes may be used to supplement runway side stripes to identify pavement areas contiguous. These yellow markings mark the paved area of a runway that. Runway shoulder stripes may be used to supplement runway side stripes to identify pavement areas contiguous to the runway sides. Since aircraft are affected by the wind during takeoffs and landings, runways are. Runway Shoulder Markings.
From pavementsurfacecoatings.com
Airport Pavement Markings I Runway And Airport Striping Runway Shoulder Markings This identifies pavement areas neighboring the runway side that are not intended for. These yellow markings mark the paved area of a runway that. Runway shoulder markings are the least common runway markings. This ac contains the faa standards for markings used on airport runways, taxiways, and aprons. The threshold markings, a series of white stripes at the runway’s beginning,. Runway Shoulder Markings.
From inchbyinch.de
INCH Technical English runway Runway Shoulder Markings These yellow markings mark the paved area of a runway that. Runway shoulder stripes may be used to supplement runway side stripes to identify pavement areas contiguous. The threshold markings, a series of white stripes at the runway’s beginning, signal where the landing runway starts. Since aircraft are affected by the wind during takeoffs and landings, runways are laid out. Runway Shoulder Markings.
From buildingcriteria1.tpub.com
Figure 26. Taxiway/Runway Intersection Marking ( Sheet 2 of 2). Runway Shoulder Markings This ac contains the faa standards for markings used on airport runways, taxiways, and aprons. Runway shoulder stripes may be used to supplement runway side stripes to identify pavement areas contiguous to the runway sides. Yellow stripes adjacent to the runway side stripes. Since aircraft are affected by the wind during takeoffs and landings, runways are laid out according to. Runway Shoulder Markings.
From www.aviationnepal.com
Airport markings and signs used to ensure safe landing and taxing Runway Shoulder Markings Runway shoulder stripes may be used to supplement runway side stripes to identify pavement areas contiguous to the runway sides. This ac contains the faa standards for markings used on airport runways, taxiways, and aprons. Indicate areas not intended for aircraft use,. Runway shoulder stripes may be used to supplement runway side stripes to identify pavement areas contiguous. This identifies. Runway Shoulder Markings.
From navyaviation.tpub.com
Figure 410 Taxiway shoulder markings. Runway Shoulder Markings Since aircraft are affected by the wind during takeoffs and landings, runways are laid out according to the local prevailing winds. Runway shoulder stripes may be used to supplement runway side stripes to identify pavement areas contiguous. Runway shoulder stripes may be used to supplement runway side stripes. Yellow stripes adjacent to the runway side stripes. Runway shoulder stripes may. Runway Shoulder Markings.
From avstop.com
aim0203_Auto24 Runway Shoulder Markings These yellow markings mark the paved area of a runway that. Runway shoulder stripes may be used to supplement runway side stripes to identify pavement areas contiguous. Runway shoulder stripes may be used to supplement runway side stripes. Yellow stripes adjacent to the runway side stripes. This identifies pavement areas neighboring the runway side that are not intended for. Since. Runway Shoulder Markings.
From ar.inspiredpencil.com
Airport Runway Markings Runway Shoulder Markings Since aircraft are affected by the wind during takeoffs and landings, runways are laid out according to the local prevailing winds. Runway shoulder stripes may be used to supplement runway side stripes to identify pavement areas contiguous to the runway sides. These yellow markings mark the paved area of a runway that. Runway shoulder stripes may be used to supplement. Runway Shoulder Markings.
From aircrafttechnic.com
Aircraft TechnicAirport Runway Markings and Signs Explained Aircraft Runway Shoulder Markings Runway shoulder stripes may be used to supplement runway side stripes to identify pavement areas contiguous. These yellow markings mark the paved area of a runway that. Indicate areas not intended for aircraft use,. Runway shoulder markings are the least common runway markings. Since aircraft are affected by the wind during takeoffs and landings, runways are laid out according to. Runway Shoulder Markings.
From navyaviation.tpub.com
Figure 48 Runway overrun markings. Runway Shoulder Markings This identifies pavement areas neighboring the runway side that are not intended for. Yellow stripes adjacent to the runway side stripes. This ac contains the faa standards for markings used on airport runways, taxiways, and aprons. Indicate areas not intended for aircraft use,. Runway shoulder stripes may be used to supplement runway side stripes to identify pavement areas contiguous to. Runway Shoulder Markings.
From www.slideserve.com
PPT ATB31 PowerPoint Presentation, free download ID4991285 Runway Shoulder Markings Runway shoulder stripes may be used to supplement runway side stripes. Runway shoulder markings are the least common runway markings. The threshold markings, a series of white stripes at the runway’s beginning, signal where the landing runway starts. Runway shoulder stripes may be used to supplement runway side stripes to identify pavement areas contiguous to the runway sides. This identifies. Runway Shoulder Markings.
From www.boldmethod.com
Runway Stripes And Markings, Explained. Boldmethod Runway Shoulder Markings Runway shoulder markings are the least common runway markings. These yellow markings mark the paved area of a runway that. Yellow stripes adjacent to the runway side stripes. The threshold markings, a series of white stripes at the runway’s beginning, signal where the landing runway starts. Runway shoulder stripes may be used to supplement runway side stripes. This identifies pavement. Runway Shoulder Markings.
From exoprzrbx.blob.core.windows.net
Runway Taxiway Markings at Peter Welsh blog Runway Shoulder Markings Since aircraft are affected by the wind during takeoffs and landings, runways are laid out according to the local prevailing winds. The threshold markings, a series of white stripes at the runway’s beginning, signal where the landing runway starts. Runway shoulder stripes may be used to supplement runway side stripes to identify pavement areas contiguous to the runway sides. These. Runway Shoulder Markings.
From aerocorner.com
Airport Runway Markings and Signs Explained Aero Corner Runway Shoulder Markings Runway shoulder markings are the least common runway markings. These yellow markings mark the paved area of a runway that. Since aircraft are affected by the wind during takeoffs and landings, runways are laid out according to the local prevailing winds. Runway shoulder stripes may be used to supplement runway side stripes to identify pavement areas contiguous to the runway. Runway Shoulder Markings.
From blog.naver.com
CHAPTER 3 THE FLIGHT EVIRONMENT (SECTION A) 네이버 블로그 Runway Shoulder Markings The threshold markings, a series of white stripes at the runway’s beginning, signal where the landing runway starts. Yellow stripes adjacent to the runway side stripes. These yellow markings mark the paved area of a runway that. Runway shoulder stripes may be used to supplement runway side stripes. Since aircraft are affected by the wind during takeoffs and landings, runways. Runway Shoulder Markings.
From roadgrip.co.uk
A Quick Guide to Airfield Line Markings Roadgrip Runway Shoulder Markings This ac contains the faa standards for markings used on airport runways, taxiways, and aprons. The threshold markings, a series of white stripes at the runway’s beginning, signal where the landing runway starts. Yellow stripes adjacent to the runway side stripes. Since aircraft are affected by the wind during takeoffs and landings, runways are laid out according to the local. Runway Shoulder Markings.
From smods.ru
Runway Shoulder Markings Skymods Runway Shoulder Markings Indicate areas not intended for aircraft use,. Runway shoulder stripes may be used to supplement runway side stripes to identify pavement areas contiguous. This ac contains the faa standards for markings used on airport runways, taxiways, and aprons. Runway shoulder markings are the least common runway markings. Runway shoulder stripes may be used to supplement runway side stripes. Runway shoulder. Runway Shoulder Markings.
From www.youtube.com
Runway Markings Explained Simply YouTube Runway Shoulder Markings Indicate areas not intended for aircraft use,. Since aircraft are affected by the wind during takeoffs and landings, runways are laid out according to the local prevailing winds. Runway shoulder stripes may be used to supplement runway side stripes to identify pavement areas contiguous. These yellow markings mark the paved area of a runway that. Runway shoulder stripes may be. Runway Shoulder Markings.
From www.nappf.com
Airport Markings Runway Shoulder Markings Runway shoulder markings are the least common runway markings. Runway shoulder stripes may be used to supplement runway side stripes. The threshold markings, a series of white stripes at the runway’s beginning, signal where the landing runway starts. This ac contains the faa standards for markings used on airport runways, taxiways, and aprons. These yellow markings mark the paved area. Runway Shoulder Markings.
From www.airresearch.com
aim0203231 Runway Shoulder Markings Indicate areas not intended for aircraft use,. Since aircraft are affected by the wind during takeoffs and landings, runways are laid out according to the local prevailing winds. This ac contains the faa standards for markings used on airport runways, taxiways, and aprons. Yellow stripes adjacent to the runway side stripes. This identifies pavement areas neighboring the runway side that. Runway Shoulder Markings.
From www.reddit.com
A cool guide to runway markings r/coolguides Runway Shoulder Markings These yellow markings mark the paved area of a runway that. Indicate areas not intended for aircraft use,. Since aircraft are affected by the wind during takeoffs and landings, runways are laid out according to the local prevailing winds. Runway shoulder stripes may be used to supplement runway side stripes to identify pavement areas contiguous to the runway sides. Runway. Runway Shoulder Markings.
From www.slideserve.com
PPT ATB31 PowerPoint Presentation, free download ID4991285 Runway Shoulder Markings These yellow markings mark the paved area of a runway that. Runway shoulder stripes may be used to supplement runway side stripes to identify pavement areas contiguous to the runway sides. This identifies pavement areas neighboring the runway side that are not intended for. This ac contains the faa standards for markings used on airport runways, taxiways, and aprons. Since. Runway Shoulder Markings.
From cfi.treklog.com
Task VI.C Airport Runway and Taxiway Signs, Markings, and Lighting Runway Shoulder Markings Runway shoulder stripes may be used to supplement runway side stripes. This identifies pavement areas neighboring the runway side that are not intended for. This ac contains the faa standards for markings used on airport runways, taxiways, and aprons. Runway shoulder stripes may be used to supplement runway side stripes to identify pavement areas contiguous to the runway sides. Since. Runway Shoulder Markings.
From exyzrmosl.blob.core.windows.net
Airport Runway Markings Explained at Joseph Sharpe blog Runway Shoulder Markings Runway shoulder stripes may be used to supplement runway side stripes. Since aircraft are affected by the wind during takeoffs and landings, runways are laid out according to the local prevailing winds. This ac contains the faa standards for markings used on airport runways, taxiways, and aprons. Indicate areas not intended for aircraft use,. These yellow markings mark the paved. Runway Shoulder Markings.
From learntoflyblog.com
Learn to Fly Blog ASA (Aviation Supplies & Academics, Inc.) Runway Shoulder Markings This ac contains the faa standards for markings used on airport runways, taxiways, and aprons. Runway shoulder stripes may be used to supplement runway side stripes to identify pavement areas contiguous to the runway sides. Runway shoulder stripes may be used to supplement runway side stripes. The threshold markings, a series of white stripes at the runway’s beginning, signal where. Runway Shoulder Markings.
From buildingcriteria1.tpub.com
Figure 27. Runway Shoulder Markings. Runway Shoulder Markings Runway shoulder stripes may be used to supplement runway side stripes to identify pavement areas contiguous. Runway shoulder stripes may be used to supplement runway side stripes. Indicate areas not intended for aircraft use,. The threshold markings, a series of white stripes at the runway’s beginning, signal where the landing runway starts. Since aircraft are affected by the wind during. Runway Shoulder Markings.