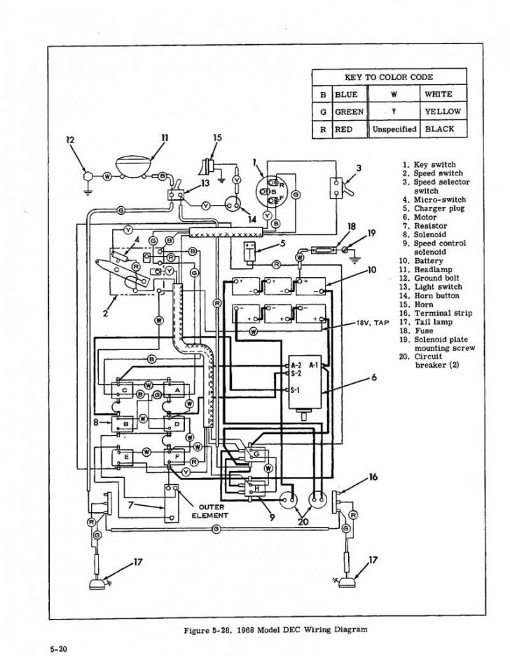
Harley Davidson Electric Golf Cart Wiring Diagram . Click the link below to access our parts manuals. Through a lot of effort i was able to get a 48v. Within the parts manuals, you will find the wiring diagrams. These manuals are for the newer. These wiring diagrams are for the final years of the harley davidson golf cart before the name “harley davidson” was dropped. These drawings are for the electric model only. The 1974 harley davidson golf cart diagram is designed to cover multiple possible scenarios and utilizes illustrations to make the instructions easy to follow.
from 159.223.119.28
Click the link below to access our parts manuals. The 1974 harley davidson golf cart diagram is designed to cover multiple possible scenarios and utilizes illustrations to make the instructions easy to follow. Within the parts manuals, you will find the wiring diagrams. Through a lot of effort i was able to get a 48v. These wiring diagrams are for the final years of the harley davidson golf cart before the name “harley davidson” was dropped. These manuals are for the newer. These drawings are for the electric model only.
[DIAGRAM] 1976 Harley Davidson Golf Cart Wiring Diagram FULL Version HD
Harley Davidson Electric Golf Cart Wiring Diagram These manuals are for the newer. Through a lot of effort i was able to get a 48v. The 1974 harley davidson golf cart diagram is designed to cover multiple possible scenarios and utilizes illustrations to make the instructions easy to follow. These wiring diagrams are for the final years of the harley davidson golf cart before the name “harley davidson” was dropped. Within the parts manuals, you will find the wiring diagrams. These drawings are for the electric model only. These manuals are for the newer. Click the link below to access our parts manuals.
From wirelistsubdolous.z21.web.core.windows.net
Harley Davidson Electric Golf Cart Wiring Harley Davidson Electric Golf Cart Wiring Diagram The 1974 harley davidson golf cart diagram is designed to cover multiple possible scenarios and utilizes illustrations to make the instructions easy to follow. Through a lot of effort i was able to get a 48v. Click the link below to access our parts manuals. These drawings are for the electric model only. These manuals are for the newer. Within. Harley Davidson Electric Golf Cart Wiring Diagram.
From wiringdiagram.2bitboer.com
Harley Davidson Golf Cart Wiring Schematic Wiring Diagram Harley Davidson Electric Golf Cart Wiring Diagram These manuals are for the newer. The 1974 harley davidson golf cart diagram is designed to cover multiple possible scenarios and utilizes illustrations to make the instructions easy to follow. Click the link below to access our parts manuals. Through a lot of effort i was able to get a 48v. These drawings are for the electric model only. These. Harley Davidson Electric Golf Cart Wiring Diagram.
From golfcarttips.com
Harley Davidson Golf Cart Wiring Diagrams 19671978 DE Harley Davidson Electric Golf Cart Wiring Diagram These manuals are for the newer. Click the link below to access our parts manuals. The 1974 harley davidson golf cart diagram is designed to cover multiple possible scenarios and utilizes illustrations to make the instructions easy to follow. Through a lot of effort i was able to get a 48v. Within the parts manuals, you will find the wiring. Harley Davidson Electric Golf Cart Wiring Diagram.
From golfcarttips.com
Harley Davidson Golf Cart Wiring Diagrams 19791982 DE,DE4 Harley Davidson Electric Golf Cart Wiring Diagram These manuals are for the newer. These wiring diagrams are for the final years of the harley davidson golf cart before the name “harley davidson” was dropped. Through a lot of effort i was able to get a 48v. These drawings are for the electric model only. Click the link below to access our parts manuals. Within the parts manuals,. Harley Davidson Electric Golf Cart Wiring Diagram.
From 2020cadillac.com
HarleyDavidson Electric Golf Cart Wiring Diagram This Is Really Harley Davidson Electric Golf Cart Wiring Diagram Click the link below to access our parts manuals. These drawings are for the electric model only. Within the parts manuals, you will find the wiring diagrams. These manuals are for the newer. Through a lot of effort i was able to get a 48v. The 1974 harley davidson golf cart diagram is designed to cover multiple possible scenarios and. Harley Davidson Electric Golf Cart Wiring Diagram.
From www.pinterest.com
Troubleshooting Harley Davidson Golf Cart 196970 DEC Wiring Circuit Harley Davidson Electric Golf Cart Wiring Diagram These manuals are for the newer. Within the parts manuals, you will find the wiring diagrams. Through a lot of effort i was able to get a 48v. These drawings are for the electric model only. The 1974 harley davidson golf cart diagram is designed to cover multiple possible scenarios and utilizes illustrations to make the instructions easy to follow.. Harley Davidson Electric Golf Cart Wiring Diagram.
From cetpan.netlify.app
Harley Davidson Electric Golf Cart Wiring Diagram 29+ Images Result Harley Davidson Electric Golf Cart Wiring Diagram Within the parts manuals, you will find the wiring diagrams. These wiring diagrams are for the final years of the harley davidson golf cart before the name “harley davidson” was dropped. Through a lot of effort i was able to get a 48v. The 1974 harley davidson golf cart diagram is designed to cover multiple possible scenarios and utilizes illustrations. Harley Davidson Electric Golf Cart Wiring Diagram.
From wirinkgram.com
1970 Harley Davidson Golf Cart Wiring Diagram Harley Davidson Electric Golf Cart Wiring Diagram Through a lot of effort i was able to get a 48v. Click the link below to access our parts manuals. The 1974 harley davidson golf cart diagram is designed to cover multiple possible scenarios and utilizes illustrations to make the instructions easy to follow. These drawings are for the electric model only. These manuals are for the newer. Within. Harley Davidson Electric Golf Cart Wiring Diagram.
From www.pinterest.com
Harley Davidson Golf Cart Wiring Diagrams 1976 to 1979 Model DE Heavy Harley Davidson Electric Golf Cart Wiring Diagram These drawings are for the electric model only. Within the parts manuals, you will find the wiring diagrams. The 1974 harley davidson golf cart diagram is designed to cover multiple possible scenarios and utilizes illustrations to make the instructions easy to follow. These wiring diagrams are for the final years of the harley davidson golf cart before the name “harley. Harley Davidson Electric Golf Cart Wiring Diagram.
From www.wiringflowline.com
Ez Go Electric Golf Cart Wiring Diagram Pdf Wiring Flow Line Harley Davidson Electric Golf Cart Wiring Diagram Click the link below to access our parts manuals. These drawings are for the electric model only. Within the parts manuals, you will find the wiring diagrams. The 1974 harley davidson golf cart diagram is designed to cover multiple possible scenarios and utilizes illustrations to make the instructions easy to follow. Through a lot of effort i was able to. Harley Davidson Electric Golf Cart Wiring Diagram.
From elfactorrecicleje.blogspot.com
Amf Harley Davidson Golf Cart Wiring Diagram Harley Davidson Electric Golf Cart Wiring Diagram These manuals are for the newer. These drawings are for the electric model only. Click the link below to access our parts manuals. Through a lot of effort i was able to get a 48v. These wiring diagrams are for the final years of the harley davidson golf cart before the name “harley davidson” was dropped. The 1974 harley davidson. Harley Davidson Electric Golf Cart Wiring Diagram.
From 159.223.119.28
[DIAGRAM] 1976 Harley Davidson Golf Cart Wiring Diagram FULL Version HD Harley Davidson Electric Golf Cart Wiring Diagram These manuals are for the newer. Click the link below to access our parts manuals. Within the parts manuals, you will find the wiring diagrams. These wiring diagrams are for the final years of the harley davidson golf cart before the name “harley davidson” was dropped. Through a lot of effort i was able to get a 48v. These drawings. Harley Davidson Electric Golf Cart Wiring Diagram.
From userdiagramcarla.z6.web.core.windows.net
Harley Davidson Electric Golf Cart Wiring Harley Davidson Electric Golf Cart Wiring Diagram These drawings are for the electric model only. These wiring diagrams are for the final years of the harley davidson golf cart before the name “harley davidson” was dropped. Through a lot of effort i was able to get a 48v. The 1974 harley davidson golf cart diagram is designed to cover multiple possible scenarios and utilizes illustrations to make. Harley Davidson Electric Golf Cart Wiring Diagram.
From golfcarttips.com
Harley Davidson Golf Cart Wiring Diagrams 19671978 DE Harley Davidson Electric Golf Cart Wiring Diagram These wiring diagrams are for the final years of the harley davidson golf cart before the name “harley davidson” was dropped. Click the link below to access our parts manuals. These manuals are for the newer. The 1974 harley davidson golf cart diagram is designed to cover multiple possible scenarios and utilizes illustrations to make the instructions easy to follow.. Harley Davidson Electric Golf Cart Wiring Diagram.
From cetpan.netlify.app
Harley Davidson Electric Golf Cart Wiring Diagram 29+ Images Result Harley Davidson Electric Golf Cart Wiring Diagram The 1974 harley davidson golf cart diagram is designed to cover multiple possible scenarios and utilizes illustrations to make the instructions easy to follow. These drawings are for the electric model only. Within the parts manuals, you will find the wiring diagrams. These manuals are for the newer. Click the link below to access our parts manuals. These wiring diagrams. Harley Davidson Electric Golf Cart Wiring Diagram.
From wiringdiagram.2bitboer.com
1979 Harley Davidson Golf Cart Wiring Diagram Wiring Diagram Harley Davidson Electric Golf Cart Wiring Diagram Click the link below to access our parts manuals. These manuals are for the newer. The 1974 harley davidson golf cart diagram is designed to cover multiple possible scenarios and utilizes illustrations to make the instructions easy to follow. These drawings are for the electric model only. Within the parts manuals, you will find the wiring diagrams. These wiring diagrams. Harley Davidson Electric Golf Cart Wiring Diagram.
From wiring.hpricorpcom.com
Harley Davidson Electric Golf Cart Wiring Diagram Wiring Diagram and Harley Davidson Electric Golf Cart Wiring Diagram These drawings are for the electric model only. These wiring diagrams are for the final years of the harley davidson golf cart before the name “harley davidson” was dropped. Click the link below to access our parts manuals. Through a lot of effort i was able to get a 48v. Within the parts manuals, you will find the wiring diagrams.. Harley Davidson Electric Golf Cart Wiring Diagram.
From www.pinterest.com
Harley Davidson Golf Cart Wiring Diagrams 1963 To 1966 DE Golf Cart Harley Davidson Electric Golf Cart Wiring Diagram The 1974 harley davidson golf cart diagram is designed to cover multiple possible scenarios and utilizes illustrations to make the instructions easy to follow. Through a lot of effort i was able to get a 48v. Within the parts manuals, you will find the wiring diagrams. These manuals are for the newer. These wiring diagrams are for the final years. Harley Davidson Electric Golf Cart Wiring Diagram.
From www.pinterest.com
Pin by Golf Cart Tips on Harley Davidson Golf Cart Wiring Diagrams Harley Davidson Electric Golf Cart Wiring Diagram Within the parts manuals, you will find the wiring diagrams. These manuals are for the newer. These wiring diagrams are for the final years of the harley davidson golf cart before the name “harley davidson” was dropped. Through a lot of effort i was able to get a 48v. These drawings are for the electric model only. The 1974 harley. Harley Davidson Electric Golf Cart Wiring Diagram.
From enginelibbutlered.z21.web.core.windows.net
Harley Davidson Golf Cart Wiring Diagrams Harley Davidson Electric Golf Cart Wiring Diagram Through a lot of effort i was able to get a 48v. Click the link below to access our parts manuals. These manuals are for the newer. These wiring diagrams are for the final years of the harley davidson golf cart before the name “harley davidson” was dropped. The 1974 harley davidson golf cart diagram is designed to cover multiple. Harley Davidson Electric Golf Cart Wiring Diagram.
From guideparttimeworn.z21.web.core.windows.net
Columbia Electric Golf Cart Wiring Diagram Harley Davidson Electric Golf Cart Wiring Diagram These wiring diagrams are for the final years of the harley davidson golf cart before the name “harley davidson” was dropped. The 1974 harley davidson golf cart diagram is designed to cover multiple possible scenarios and utilizes illustrations to make the instructions easy to follow. Through a lot of effort i was able to get a 48v. These manuals are. Harley Davidson Electric Golf Cart Wiring Diagram.
From wiringdiagram.2bitboer.com
Harley Davidson Golf Cart Wiring Schematic Wiring Diagram Harley Davidson Electric Golf Cart Wiring Diagram The 1974 harley davidson golf cart diagram is designed to cover multiple possible scenarios and utilizes illustrations to make the instructions easy to follow. Through a lot of effort i was able to get a 48v. These wiring diagrams are for the final years of the harley davidson golf cart before the name “harley davidson” was dropped. These drawings are. Harley Davidson Electric Golf Cart Wiring Diagram.
From wiring.hpricorpcom.com
Harley Davidson Electric Golf Cart Wiring Diagram Wiring Diagram and Harley Davidson Electric Golf Cart Wiring Diagram The 1974 harley davidson golf cart diagram is designed to cover multiple possible scenarios and utilizes illustrations to make the instructions easy to follow. Within the parts manuals, you will find the wiring diagrams. Click the link below to access our parts manuals. These manuals are for the newer. Through a lot of effort i was able to get a. Harley Davidson Electric Golf Cart Wiring Diagram.
From www.pinterest.com
HarleyDavidson Golf Cart Wiring Diagram I love this! Harley Davidson Electric Golf Cart Wiring Diagram Click the link below to access our parts manuals. The 1974 harley davidson golf cart diagram is designed to cover multiple possible scenarios and utilizes illustrations to make the instructions easy to follow. Within the parts manuals, you will find the wiring diagrams. These wiring diagrams are for the final years of the harley davidson golf cart before the name. Harley Davidson Electric Golf Cart Wiring Diagram.
From www.vrogue.co
Harley Davidson Electric Golf Cart Wiring Diagram Sha vrogue.co Harley Davidson Electric Golf Cart Wiring Diagram These wiring diagrams are for the final years of the harley davidson golf cart before the name “harley davidson” was dropped. The 1974 harley davidson golf cart diagram is designed to cover multiple possible scenarios and utilizes illustrations to make the instructions easy to follow. Through a lot of effort i was able to get a 48v. Within the parts. Harley Davidson Electric Golf Cart Wiring Diagram.
From www.vintagegolfcartparts.com
Harley Davidson Electric Golf Cart Wiring Diagram The 1974 harley davidson golf cart diagram is designed to cover multiple possible scenarios and utilizes illustrations to make the instructions easy to follow. These wiring diagrams are for the final years of the harley davidson golf cart before the name “harley davidson” was dropped. Within the parts manuals, you will find the wiring diagrams. Through a lot of effort. Harley Davidson Electric Golf Cart Wiring Diagram.
From wiringdiagram.2bitboer.com
Harley Davidson Electric Golf Cart Wiring Diagram Wiring Diagram Harley Davidson Electric Golf Cart Wiring Diagram Within the parts manuals, you will find the wiring diagrams. These drawings are for the electric model only. Click the link below to access our parts manuals. The 1974 harley davidson golf cart diagram is designed to cover multiple possible scenarios and utilizes illustrations to make the instructions easy to follow. Through a lot of effort i was able to. Harley Davidson Electric Golf Cart Wiring Diagram.
From www.got2bwireless.com
Harley Davidson Golf Cart Wiring Diagram Pdf Collection Harley Davidson Electric Golf Cart Wiring Diagram These drawings are for the electric model only. Through a lot of effort i was able to get a 48v. Click the link below to access our parts manuals. The 1974 harley davidson golf cart diagram is designed to cover multiple possible scenarios and utilizes illustrations to make the instructions easy to follow. Within the parts manuals, you will find. Harley Davidson Electric Golf Cart Wiring Diagram.
From guidemanualflytes.z21.web.core.windows.net
Harley Davidson Electric Golf Cart Wiring Harley Davidson Electric Golf Cart Wiring Diagram Within the parts manuals, you will find the wiring diagrams. These wiring diagrams are for the final years of the harley davidson golf cart before the name “harley davidson” was dropped. Through a lot of effort i was able to get a 48v. The 1974 harley davidson golf cart diagram is designed to cover multiple possible scenarios and utilizes illustrations. Harley Davidson Electric Golf Cart Wiring Diagram.
From wiringdiagram.2bitboer.com
Harley Davidson Golf Cart Wiring Schematic Wiring Diagram Harley Davidson Electric Golf Cart Wiring Diagram Click the link below to access our parts manuals. These drawings are for the electric model only. These manuals are for the newer. These wiring diagrams are for the final years of the harley davidson golf cart before the name “harley davidson” was dropped. Within the parts manuals, you will find the wiring diagrams. Through a lot of effort i. Harley Davidson Electric Golf Cart Wiring Diagram.
From golfcarttips.com
Harley Davidson Golf Cart Wiring Diagrams 19791982 DE, DE4 Harley Davidson Electric Golf Cart Wiring Diagram These manuals are for the newer. These drawings are for the electric model only. The 1974 harley davidson golf cart diagram is designed to cover multiple possible scenarios and utilizes illustrations to make the instructions easy to follow. Within the parts manuals, you will find the wiring diagrams. These wiring diagrams are for the final years of the harley davidson. Harley Davidson Electric Golf Cart Wiring Diagram.
From www.wiringview.com
Harley Davidson Golf Cart Wiring Diagram Pdf » Wiring Diagram Harley Davidson Electric Golf Cart Wiring Diagram Through a lot of effort i was able to get a 48v. These drawings are for the electric model only. These manuals are for the newer. These wiring diagrams are for the final years of the harley davidson golf cart before the name “harley davidson” was dropped. Click the link below to access our parts manuals. Within the parts manuals,. Harley Davidson Electric Golf Cart Wiring Diagram.
From wiringdiagram.2bitboer.com
Harley Davidson Golf Cart Wiring Schematic Wiring Diagram Harley Davidson Electric Golf Cart Wiring Diagram The 1974 harley davidson golf cart diagram is designed to cover multiple possible scenarios and utilizes illustrations to make the instructions easy to follow. These drawings are for the electric model only. These manuals are for the newer. Click the link below to access our parts manuals. These wiring diagrams are for the final years of the harley davidson golf. Harley Davidson Electric Golf Cart Wiring Diagram.
From golfcarttips.com
Harley Davidson Golf Cart 196382 Model D, DC And DF Wiring Golf Cart Harley Davidson Electric Golf Cart Wiring Diagram These manuals are for the newer. These drawings are for the electric model only. The 1974 harley davidson golf cart diagram is designed to cover multiple possible scenarios and utilizes illustrations to make the instructions easy to follow. Within the parts manuals, you will find the wiring diagrams. Click the link below to access our parts manuals. These wiring diagrams. Harley Davidson Electric Golf Cart Wiring Diagram.
From www.pinterest.com
Harley Davidson Golf Cart Wiring Diagrams 1972 to 1975 Model DE First Harley Davidson Electric Golf Cart Wiring Diagram Click the link below to access our parts manuals. These wiring diagrams are for the final years of the harley davidson golf cart before the name “harley davidson” was dropped. The 1974 harley davidson golf cart diagram is designed to cover multiple possible scenarios and utilizes illustrations to make the instructions easy to follow. These drawings are for the electric. Harley Davidson Electric Golf Cart Wiring Diagram.