Salt Bath Furnace Diagram . Salt bath furnaces are characterized by rapid heat transfer and exceptional temperature uniformity. Salt bath heat treatment is a process used to enhance the properties of metal components. Mse produces salt bath furnaces for operating. This article provides information on the salt baths used for a variety of heat treatments, including heating, quenching, interrupted quenching. The salt acts as a medium for heat transfer, allowing for rapid and uniform heating of the parts. It involves immersing the parts in a bath of molten salt at high temperatures. A salt bath furnace is basically a ceramic or metal container filled with molten salt into which work is immersed for. A complete overview of our extensive range of furnaces and accessories for various processes that take place under flammable or non.
from hpsfab.com
It involves immersing the parts in a bath of molten salt at high temperatures. Salt bath heat treatment is a process used to enhance the properties of metal components. The salt acts as a medium for heat transfer, allowing for rapid and uniform heating of the parts. A salt bath furnace is basically a ceramic or metal container filled with molten salt into which work is immersed for. This article provides information on the salt baths used for a variety of heat treatments, including heating, quenching, interrupted quenching. Salt bath furnaces are characterized by rapid heat transfer and exceptional temperature uniformity. A complete overview of our extensive range of furnaces and accessories for various processes that take place under flammable or non. Mse produces salt bath furnaces for operating.
Salt Bath Furnace HPS Fabrications, Inc
Salt Bath Furnace Diagram Mse produces salt bath furnaces for operating. The salt acts as a medium for heat transfer, allowing for rapid and uniform heating of the parts. It involves immersing the parts in a bath of molten salt at high temperatures. Mse produces salt bath furnaces for operating. Salt bath furnaces are characterized by rapid heat transfer and exceptional temperature uniformity. Salt bath heat treatment is a process used to enhance the properties of metal components. This article provides information on the salt baths used for a variety of heat treatments, including heating, quenching, interrupted quenching. A salt bath furnace is basically a ceramic or metal container filled with molten salt into which work is immersed for. A complete overview of our extensive range of furnaces and accessories for various processes that take place under flammable or non.
From www.semanticscholar.org
Figure 1 from Development of LaboratoryScale Salt Bath Furnace Salt Bath Furnace Diagram A complete overview of our extensive range of furnaces and accessories for various processes that take place under flammable or non. A salt bath furnace is basically a ceramic or metal container filled with molten salt into which work is immersed for. It involves immersing the parts in a bath of molten salt at high temperatures. Salt bath heat treatment. Salt Bath Furnace Diagram.
From www.scribd.com
Salt Bath Furnace PDF Annealing (Metallurgy) Heat Treating Salt Bath Furnace Diagram Mse produces salt bath furnaces for operating. A salt bath furnace is basically a ceramic or metal container filled with molten salt into which work is immersed for. This article provides information on the salt baths used for a variety of heat treatments, including heating, quenching, interrupted quenching. Salt bath heat treatment is a process used to enhance the properties. Salt Bath Furnace Diagram.
From www.scirp.org
Finite Element Modeling of Heat Transfer in Salt Bath Furnaces Salt Bath Furnace Diagram Salt bath heat treatment is a process used to enhance the properties of metal components. It involves immersing the parts in a bath of molten salt at high temperatures. Mse produces salt bath furnaces for operating. A complete overview of our extensive range of furnaces and accessories for various processes that take place under flammable or non. This article provides. Salt Bath Furnace Diagram.
From www.scribd.com
Heat Treatment With Salt Bath Furnaces PDF Heat Treating Salt Bath Furnace Diagram Mse produces salt bath furnaces for operating. It involves immersing the parts in a bath of molten salt at high temperatures. Salt bath furnaces are characterized by rapid heat transfer and exceptional temperature uniformity. Salt bath heat treatment is a process used to enhance the properties of metal components. A salt bath furnace is basically a ceramic or metal container. Salt Bath Furnace Diagram.
From thermalprocessing.com
Use of molten salt in heat treatment Thermal Processing Magazine Salt Bath Furnace Diagram A complete overview of our extensive range of furnaces and accessories for various processes that take place under flammable or non. Salt bath furnaces are characterized by rapid heat transfer and exceptional temperature uniformity. The salt acts as a medium for heat transfer, allowing for rapid and uniform heating of the parts. It involves immersing the parts in a bath. Salt Bath Furnace Diagram.
From thermalprocessing.com
A new lowpressure carburizing solution in a pit vs. traditional pit Salt Bath Furnace Diagram This article provides information on the salt baths used for a variety of heat treatments, including heating, quenching, interrupted quenching. A complete overview of our extensive range of furnaces and accessories for various processes that take place under flammable or non. It involves immersing the parts in a bath of molten salt at high temperatures. The salt acts as a. Salt Bath Furnace Diagram.
From www.researchgate.net
a The Salt Bath furnace with airgap showing the temperatures profiles Salt Bath Furnace Diagram The salt acts as a medium for heat transfer, allowing for rapid and uniform heating of the parts. Mse produces salt bath furnaces for operating. Salt bath heat treatment is a process used to enhance the properties of metal components. A complete overview of our extensive range of furnaces and accessories for various processes that take place under flammable or. Salt Bath Furnace Diagram.
From nabertherm.com
SaltBath Furnaces for Heat Treatment of Steel or Light Metals Nabertherm Salt Bath Furnace Diagram It involves immersing the parts in a bath of molten salt at high temperatures. The salt acts as a medium for heat transfer, allowing for rapid and uniform heating of the parts. This article provides information on the salt baths used for a variety of heat treatments, including heating, quenching, interrupted quenching. A salt bath furnace is basically a ceramic. Salt Bath Furnace Diagram.
From www.youtube.com
Heat Treatment Furnaces (Salt Bath Furnace) (हिन्दी) YouTube Salt Bath Furnace Diagram A complete overview of our extensive range of furnaces and accessories for various processes that take place under flammable or non. A salt bath furnace is basically a ceramic or metal container filled with molten salt into which work is immersed for. This article provides information on the salt baths used for a variety of heat treatments, including heating, quenching,. Salt Bath Furnace Diagram.
From www.semanticscholar.org
Figure 1 from DEVELOPMENT AND PERFORMANCE EVALUATION OF A SALT BATH Salt Bath Furnace Diagram Salt bath furnaces are characterized by rapid heat transfer and exceptional temperature uniformity. Salt bath heat treatment is a process used to enhance the properties of metal components. A complete overview of our extensive range of furnaces and accessories for various processes that take place under flammable or non. It involves immersing the parts in a bath of molten salt. Salt Bath Furnace Diagram.
From nabertherm.com
SaltBath Furnaces for Heat Treatment of Steel or Light Metals Nabertherm Salt Bath Furnace Diagram Salt bath heat treatment is a process used to enhance the properties of metal components. It involves immersing the parts in a bath of molten salt at high temperatures. Salt bath furnaces are characterized by rapid heat transfer and exceptional temperature uniformity. This article provides information on the salt baths used for a variety of heat treatments, including heating, quenching,. Salt Bath Furnace Diagram.
From www.slideserve.com
PPT Case Hardening of Steel PowerPoint Presentation, free download Salt Bath Furnace Diagram A salt bath furnace is basically a ceramic or metal container filled with molten salt into which work is immersed for. Salt bath furnaces are characterized by rapid heat transfer and exceptional temperature uniformity. Salt bath heat treatment is a process used to enhance the properties of metal components. The salt acts as a medium for heat transfer, allowing for. Salt Bath Furnace Diagram.
From www.sabeforni.it
Bath furnaces with molten salts Sabe Forni Salt Bath Furnace Diagram Salt bath furnaces are characterized by rapid heat transfer and exceptional temperature uniformity. Salt bath heat treatment is a process used to enhance the properties of metal components. Mse produces salt bath furnaces for operating. A complete overview of our extensive range of furnaces and accessories for various processes that take place under flammable or non. It involves immersing the. Salt Bath Furnace Diagram.
From nabertherm.com
SaltBath Furnaces for Heat Treatment of Steel or Light Metals Nabertherm Salt Bath Furnace Diagram Mse produces salt bath furnaces for operating. Salt bath heat treatment is a process used to enhance the properties of metal components. A complete overview of our extensive range of furnaces and accessories for various processes that take place under flammable or non. The salt acts as a medium for heat transfer, allowing for rapid and uniform heating of the. Salt Bath Furnace Diagram.
From nabertherm.com
SaltBath Furnaces for Heat Treatment of Steel or Light Metals Nabertherm Salt Bath Furnace Diagram The salt acts as a medium for heat transfer, allowing for rapid and uniform heating of the parts. A complete overview of our extensive range of furnaces and accessories for various processes that take place under flammable or non. A salt bath furnace is basically a ceramic or metal container filled with molten salt into which work is immersed for.. Salt Bath Furnace Diagram.
From www.researchgate.net
The rotary salt furnace process (Lavoie and Dube, 1991). Download Salt Bath Furnace Diagram Mse produces salt bath furnaces for operating. The salt acts as a medium for heat transfer, allowing for rapid and uniform heating of the parts. A complete overview of our extensive range of furnaces and accessories for various processes that take place under flammable or non. Salt bath furnaces are characterized by rapid heat transfer and exceptional temperature uniformity. Salt. Salt Bath Furnace Diagram.
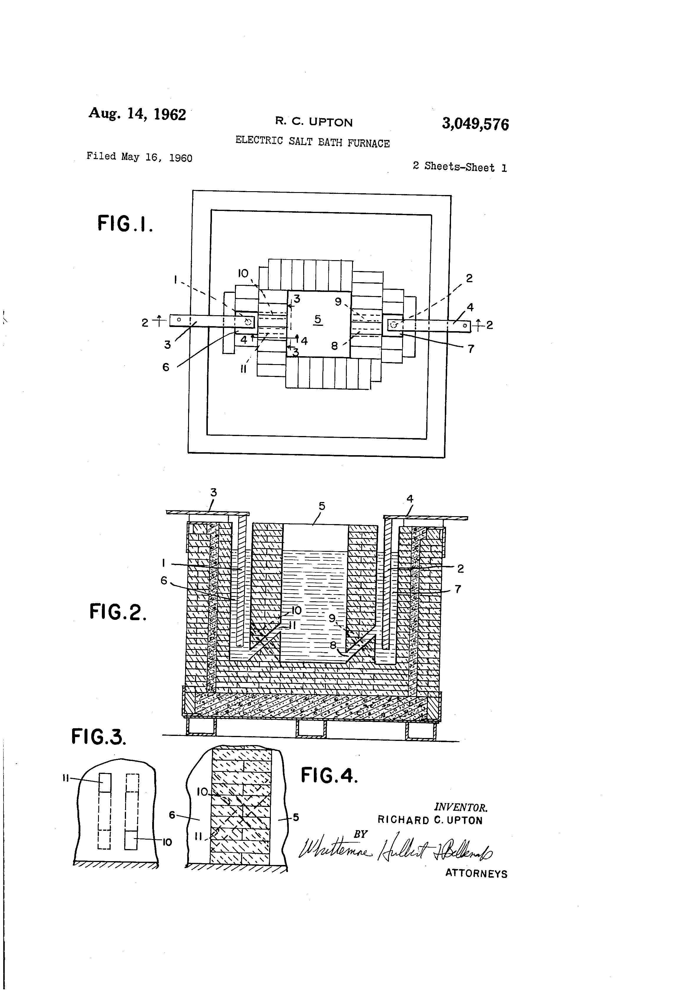
From www.google.ch
Patent US3049576 Electric salt bath furnace Google Patentsuche Salt Bath Furnace Diagram Salt bath furnaces are characterized by rapid heat transfer and exceptional temperature uniformity. The salt acts as a medium for heat transfer, allowing for rapid and uniform heating of the parts. A complete overview of our extensive range of furnaces and accessories for various processes that take place under flammable or non. Mse produces salt bath furnaces for operating. Salt. Salt Bath Furnace Diagram.
From www.sigmathermal.com
Process Bath Heaters Water, Salt, & Weir Bath Furnaces Salt Bath Furnace Diagram It involves immersing the parts in a bath of molten salt at high temperatures. Salt bath heat treatment is a process used to enhance the properties of metal components. A salt bath furnace is basically a ceramic or metal container filled with molten salt into which work is immersed for. Mse produces salt bath furnaces for operating. This article provides. Salt Bath Furnace Diagram.
From hpsfab.com
Salt Bath Furnace HPS Fabrications, Inc Salt Bath Furnace Diagram This article provides information on the salt baths used for a variety of heat treatments, including heating, quenching, interrupted quenching. Salt bath furnaces are characterized by rapid heat transfer and exceptional temperature uniformity. It involves immersing the parts in a bath of molten salt at high temperatures. Salt bath heat treatment is a process used to enhance the properties of. Salt Bath Furnace Diagram.
From www.elmanfurnace.com
Salt Bath Furnace Elmanfurnace Salt Bath Furnace Diagram The salt acts as a medium for heat transfer, allowing for rapid and uniform heating of the parts. It involves immersing the parts in a bath of molten salt at high temperatures. Mse produces salt bath furnaces for operating. Salt bath furnaces are characterized by rapid heat transfer and exceptional temperature uniformity. This article provides information on the salt baths. Salt Bath Furnace Diagram.
From www.slideshare.net
Development of laboratory scale salt bath furnace Salt Bath Furnace Diagram It involves immersing the parts in a bath of molten salt at high temperatures. The salt acts as a medium for heat transfer, allowing for rapid and uniform heating of the parts. This article provides information on the salt baths used for a variety of heat treatments, including heating, quenching, interrupted quenching. Salt bath heat treatment is a process used. Salt Bath Furnace Diagram.
From www.google.com
Patent US2336412 Electric salt bath furnace Google Patents Salt Bath Furnace Diagram This article provides information on the salt baths used for a variety of heat treatments, including heating, quenching, interrupted quenching. Salt bath heat treatment is a process used to enhance the properties of metal components. Mse produces salt bath furnaces for operating. The salt acts as a medium for heat transfer, allowing for rapid and uniform heating of the parts.. Salt Bath Furnace Diagram.
From www.researchgate.net
Circuit Diagram of the Electrical Connections of the Salt Bath Furnace Salt Bath Furnace Diagram The salt acts as a medium for heat transfer, allowing for rapid and uniform heating of the parts. It involves immersing the parts in a bath of molten salt at high temperatures. A salt bath furnace is basically a ceramic or metal container filled with molten salt into which work is immersed for. Mse produces salt bath furnaces for operating.. Salt Bath Furnace Diagram.
From nabertherm.com
SaltBath Furnaces for Heat Treatment of Steel or Light Metals Nabertherm Salt Bath Furnace Diagram The salt acts as a medium for heat transfer, allowing for rapid and uniform heating of the parts. This article provides information on the salt baths used for a variety of heat treatments, including heating, quenching, interrupted quenching. It involves immersing the parts in a bath of molten salt at high temperatures. Salt bath furnaces are characterized by rapid heat. Salt Bath Furnace Diagram.
From www.researchgate.net
Salt bath furnace with additional airgap insulation. Download Salt Bath Furnace Diagram A complete overview of our extensive range of furnaces and accessories for various processes that take place under flammable or non. Salt bath furnaces are characterized by rapid heat transfer and exceptional temperature uniformity. Mse produces salt bath furnaces for operating. The salt acts as a medium for heat transfer, allowing for rapid and uniform heating of the parts. Salt. Salt Bath Furnace Diagram.
From www.researchgate.net
Salt bath furnace with silica bricks lining. Download Scientific Diagram Salt Bath Furnace Diagram A complete overview of our extensive range of furnaces and accessories for various processes that take place under flammable or non. A salt bath furnace is basically a ceramic or metal container filled with molten salt into which work is immersed for. This article provides information on the salt baths used for a variety of heat treatments, including heating, quenching,. Salt Bath Furnace Diagram.
From www.researchgate.net
a Salt Bath Furnace with no airgap insulation showing Heat flux from Salt Bath Furnace Diagram This article provides information on the salt baths used for a variety of heat treatments, including heating, quenching, interrupted quenching. A salt bath furnace is basically a ceramic or metal container filled with molten salt into which work is immersed for. It involves immersing the parts in a bath of molten salt at high temperatures. Salt bath heat treatment is. Salt Bath Furnace Diagram.
From www.scirp.org
Finite Element Modeling of Heat Transfer in Salt Bath Furnaces Salt Bath Furnace Diagram A salt bath furnace is basically a ceramic or metal container filled with molten salt into which work is immersed for. The salt acts as a medium for heat transfer, allowing for rapid and uniform heating of the parts. It involves immersing the parts in a bath of molten salt at high temperatures. Mse produces salt bath furnaces for operating.. Salt Bath Furnace Diagram.
From www.researchgate.net
Schematics of (a) the thermostatic salt bath furnace into which the Salt Bath Furnace Diagram A salt bath furnace is basically a ceramic or metal container filled with molten salt into which work is immersed for. It involves immersing the parts in a bath of molten salt at high temperatures. A complete overview of our extensive range of furnaces and accessories for various processes that take place under flammable or non. Salt bath furnaces are. Salt Bath Furnace Diagram.
From www.slideshare.net
Salt bath furnace 1000°C PDF Salt Bath Furnace Diagram The salt acts as a medium for heat transfer, allowing for rapid and uniform heating of the parts. It involves immersing the parts in a bath of molten salt at high temperatures. Salt bath heat treatment is a process used to enhance the properties of metal components. Salt bath furnaces are characterized by rapid heat transfer and exceptional temperature uniformity.. Salt Bath Furnace Diagram.
From www.slideshare.net
Development of laboratory scale salt bath furnace Salt Bath Furnace Diagram A salt bath furnace is basically a ceramic or metal container filled with molten salt into which work is immersed for. This article provides information on the salt baths used for a variety of heat treatments, including heating, quenching, interrupted quenching. Salt bath heat treatment is a process used to enhance the properties of metal components. A complete overview of. Salt Bath Furnace Diagram.
From www.semanticscholar.org
Figure 2 from Development of LaboratoryScale Salt Bath Furnace Salt Bath Furnace Diagram The salt acts as a medium for heat transfer, allowing for rapid and uniform heating of the parts. This article provides information on the salt baths used for a variety of heat treatments, including heating, quenching, interrupted quenching. A complete overview of our extensive range of furnaces and accessories for various processes that take place under flammable or non. A. Salt Bath Furnace Diagram.
From www.researchgate.net
Salt bath furnace with additional airgap insulation. Download Salt Bath Furnace Diagram Salt bath furnaces are characterized by rapid heat transfer and exceptional temperature uniformity. The salt acts as a medium for heat transfer, allowing for rapid and uniform heating of the parts. A salt bath furnace is basically a ceramic or metal container filled with molten salt into which work is immersed for. A complete overview of our extensive range of. Salt Bath Furnace Diagram.
From www.vlr.eng.br
Salt Bath Furnace Diagram vlr.eng.br Salt Bath Furnace Diagram This article provides information on the salt baths used for a variety of heat treatments, including heating, quenching, interrupted quenching. Salt bath furnaces are characterized by rapid heat transfer and exceptional temperature uniformity. It involves immersing the parts in a bath of molten salt at high temperatures. A salt bath furnace is basically a ceramic or metal container filled with. Salt Bath Furnace Diagram.
From nabertherm.com
SaltBath Furnaces for Heat Treatment of Steel or Light Metals Nabertherm Salt Bath Furnace Diagram A salt bath furnace is basically a ceramic or metal container filled with molten salt into which work is immersed for. A complete overview of our extensive range of furnaces and accessories for various processes that take place under flammable or non. It involves immersing the parts in a bath of molten salt at high temperatures. Salt bath furnaces are. Salt Bath Furnace Diagram.