Car Cup Holder Patent . The present invention relates to a cup holder of a vehicle, for example. Data provided by ifi claims patent services. Some were bad, like the automobile seat article holder, patented in 1953, which trusted a hinged plate wedged between the seat cushions to keep your drinks from sloshing around, but one clyde w. The present invention relates to a car cup holder and a tumbler for use in the car cup holder by which the temperature of a beverage. A cup holder for use in various locations within the interior of a automobile includes a planar. Even your cup holder might be composed of multiple molded plastic pieces and some metal to attach it to the vehicle structure. A container of a beverage may be.
from www.google.com
A container of a beverage may be. The present invention relates to a car cup holder and a tumbler for use in the car cup holder by which the temperature of a beverage. The present invention relates to a cup holder of a vehicle, for example. A cup holder for use in various locations within the interior of a automobile includes a planar. Data provided by ifi claims patent services. Some were bad, like the automobile seat article holder, patented in 1953, which trusted a hinged plate wedged between the seat cushions to keep your drinks from sloshing around, but one clyde w. Even your cup holder might be composed of multiple molded plastic pieces and some metal to attach it to the vehicle structure.
Patent US5425497 Cup holder Google Patents
Car Cup Holder Patent A cup holder for use in various locations within the interior of a automobile includes a planar. The present invention relates to a car cup holder and a tumbler for use in the car cup holder by which the temperature of a beverage. A container of a beverage may be. Data provided by ifi claims patent services. Some were bad, like the automobile seat article holder, patented in 1953, which trusted a hinged plate wedged between the seat cushions to keep your drinks from sloshing around, but one clyde w. The present invention relates to a cup holder of a vehicle, for example. Even your cup holder might be composed of multiple molded plastic pieces and some metal to attach it to the vehicle structure. A cup holder for use in various locations within the interior of a automobile includes a planar.
From mentalfloss.com
11 of America's Most Inspiring Cup Holder Patents Mental Floss Car Cup Holder Patent Some were bad, like the automobile seat article holder, patented in 1953, which trusted a hinged plate wedged between the seat cushions to keep your drinks from sloshing around, but one clyde w. A cup holder for use in various locations within the interior of a automobile includes a planar. A container of a beverage may be. Even your cup. Car Cup Holder Patent.
From autowise.com
10 Best Car Cup Holders [Buying Guide] Autowise Car Cup Holder Patent Even your cup holder might be composed of multiple molded plastic pieces and some metal to attach it to the vehicle structure. The present invention relates to a cup holder of a vehicle, for example. Some were bad, like the automobile seat article holder, patented in 1953, which trusted a hinged plate wedged between the seat cushions to keep your. Car Cup Holder Patent.
From www.google.ca
Patent US5040719 Combination drinking vessel and cup holder with Car Cup Holder Patent Data provided by ifi claims patent services. Some were bad, like the automobile seat article holder, patented in 1953, which trusted a hinged plate wedged between the seat cushions to keep your drinks from sloshing around, but one clyde w. The present invention relates to a car cup holder and a tumbler for use in the car cup holder by. Car Cup Holder Patent.
From autowise.com
10 Best Car Cup Holders [Buying Guide] Autowise Car Cup Holder Patent Even your cup holder might be composed of multiple molded plastic pieces and some metal to attach it to the vehicle structure. Data provided by ifi claims patent services. A container of a beverage may be. The present invention relates to a car cup holder and a tumbler for use in the car cup holder by which the temperature of. Car Cup Holder Patent.
From www.carandbike.com
Ford Patents SelfLevelling Cup Holders Car Cup Holder Patent Even your cup holder might be composed of multiple molded plastic pieces and some metal to attach it to the vehicle structure. The present invention relates to a cup holder of a vehicle, for example. Some were bad, like the automobile seat article holder, patented in 1953, which trusted a hinged plate wedged between the seat cushions to keep your. Car Cup Holder Patent.
From ai.esmplus.com
car_cupholder_11.jpg Car Cup Holder Patent A container of a beverage may be. Even your cup holder might be composed of multiple molded plastic pieces and some metal to attach it to the vehicle structure. The present invention relates to a car cup holder and a tumbler for use in the car cup holder by which the temperature of a beverage. Some were bad, like the. Car Cup Holder Patent.
From autowise.com
10 Best Car Cup Holders [Buying Guide] Autowise Car Cup Holder Patent Data provided by ifi claims patent services. The present invention relates to a cup holder of a vehicle, for example. The present invention relates to a car cup holder and a tumbler for use in the car cup holder by which the temperature of a beverage. A container of a beverage may be. Even your cup holder might be composed. Car Cup Holder Patent.
From www.amazon.com
JoyTutus Cup Holder with Storage Box, Cup Holder Expander Car Cup Holder Patent Even your cup holder might be composed of multiple molded plastic pieces and some metal to attach it to the vehicle structure. The present invention relates to a cup holder of a vehicle, for example. A container of a beverage may be. Data provided by ifi claims patent services. Some were bad, like the automobile seat article holder, patented in. Car Cup Holder Patent.
From autowise.com
10 Best Car Cup Holders [Buying Guide] Autowise Car Cup Holder Patent Even your cup holder might be composed of multiple molded plastic pieces and some metal to attach it to the vehicle structure. The present invention relates to a cup holder of a vehicle, for example. Data provided by ifi claims patent services. A container of a beverage may be. The present invention relates to a car cup holder and a. Car Cup Holder Patent.
From mentalfloss.com
11 of America's Most Inspiring Cup Holder Patents Mental Floss Car Cup Holder Patent The present invention relates to a car cup holder and a tumbler for use in the car cup holder by which the temperature of a beverage. The present invention relates to a cup holder of a vehicle, for example. A container of a beverage may be. Some were bad, like the automobile seat article holder, patented in 1953, which trusted. Car Cup Holder Patent.
From www.google.be
Patent US20060000882 Cup holder Google Patenten Car Cup Holder Patent Even your cup holder might be composed of multiple molded plastic pieces and some metal to attach it to the vehicle structure. The present invention relates to a cup holder of a vehicle, for example. The present invention relates to a car cup holder and a tumbler for use in the car cup holder by which the temperature of a. Car Cup Holder Patent.
From www.google.ca
Patent US7398893 Cup and lid combination Google Patents Car Cup Holder Patent Some were bad, like the automobile seat article holder, patented in 1953, which trusted a hinged plate wedged between the seat cushions to keep your drinks from sloshing around, but one clyde w. A container of a beverage may be. Even your cup holder might be composed of multiple molded plastic pieces and some metal to attach it to the. Car Cup Holder Patent.
From www.google.com
Patent US1389594 Papercup holder Google Patents Car Cup Holder Patent A container of a beverage may be. The present invention relates to a cup holder of a vehicle, for example. A cup holder for use in various locations within the interior of a automobile includes a planar. The present invention relates to a car cup holder and a tumbler for use in the car cup holder by which the temperature. Car Cup Holder Patent.
From www.easygetproduct.com
Top 10 Best Cup Holder for Cars in 2021 Reviews Guide Car Cup Holder Patent A container of a beverage may be. A cup holder for use in various locations within the interior of a automobile includes a planar. Data provided by ifi claims patent services. Even your cup holder might be composed of multiple molded plastic pieces and some metal to attach it to the vehicle structure. The present invention relates to a cup. Car Cup Holder Patent.
From www.thedrive.com
Best Car Cup Holders (Review & Buying Guide) in 2021 The Drive Car Cup Holder Patent Even your cup holder might be composed of multiple molded plastic pieces and some metal to attach it to the vehicle structure. Data provided by ifi claims patent services. A container of a beverage may be. The present invention relates to a cup holder of a vehicle, for example. A cup holder for use in various locations within the interior. Car Cup Holder Patent.
From mentalfloss.com
11 of America's Most Inspiring Cup Holder Patents Mental Floss Car Cup Holder Patent A cup holder for use in various locations within the interior of a automobile includes a planar. Some were bad, like the automobile seat article holder, patented in 1953, which trusted a hinged plate wedged between the seat cushions to keep your drinks from sloshing around, but one clyde w. Data provided by ifi claims patent services. Even your cup. Car Cup Holder Patent.
From www.carandbike.com
Ford Patents SelfLevelling Cup Holders Car Cup Holder Patent Some were bad, like the automobile seat article holder, patented in 1953, which trusted a hinged plate wedged between the seat cushions to keep your drinks from sloshing around, but one clyde w. The present invention relates to a cup holder of a vehicle, for example. Even your cup holder might be composed of multiple molded plastic pieces and some. Car Cup Holder Patent.
From www.google.com
Patent USD433283 Disposable plate with cup holder Google Patents Car Cup Holder Patent A container of a beverage may be. A cup holder for use in various locations within the interior of a automobile includes a planar. Even your cup holder might be composed of multiple molded plastic pieces and some metal to attach it to the vehicle structure. The present invention relates to a cup holder of a vehicle, for example. Some. Car Cup Holder Patent.
From www.google.com
Patent US5425497 Cup holder Google Patents Car Cup Holder Patent A cup holder for use in various locations within the interior of a automobile includes a planar. A container of a beverage may be. Data provided by ifi claims patent services. Some were bad, like the automobile seat article holder, patented in 1953, which trusted a hinged plate wedged between the seat cushions to keep your drinks from sloshing around,. Car Cup Holder Patent.
From driveequip.com
Car Cup Holders The Ultimate Guide Car Cup Holder Patent Some were bad, like the automobile seat article holder, patented in 1953, which trusted a hinged plate wedged between the seat cushions to keep your drinks from sloshing around, but one clyde w. The present invention relates to a cup holder of a vehicle, for example. The present invention relates to a car cup holder and a tumbler for use. Car Cup Holder Patent.
From www.google.com
Patent US8371472 Freestanding cup holder Google Patents Car Cup Holder Patent A cup holder for use in various locations within the interior of a automobile includes a planar. A container of a beverage may be. The present invention relates to a cup holder of a vehicle, for example. Even your cup holder might be composed of multiple molded plastic pieces and some metal to attach it to the vehicle structure. The. Car Cup Holder Patent.
From www.google.com.ar
Patent US20050045792 Cup holder Google Patents Car Cup Holder Patent The present invention relates to a cup holder of a vehicle, for example. A cup holder for use in various locations within the interior of a automobile includes a planar. Data provided by ifi claims patent services. Some were bad, like the automobile seat article holder, patented in 1953, which trusted a hinged plate wedged between the seat cushions to. Car Cup Holder Patent.
From www.etsy.com
ESSENTIALLY ENGINEERED Mug Integrator Car Cup Holder for YETI Etsy Car Cup Holder Patent A cup holder for use in various locations within the interior of a automobile includes a planar. A container of a beverage may be. The present invention relates to a car cup holder and a tumbler for use in the car cup holder by which the temperature of a beverage. Some were bad, like the automobile seat article holder, patented. Car Cup Holder Patent.
From www.google.ca
Patent US6732990 Tray and cup holder combination Google Patents Car Cup Holder Patent Some were bad, like the automobile seat article holder, patented in 1953, which trusted a hinged plate wedged between the seat cushions to keep your drinks from sloshing around, but one clyde w. A cup holder for use in various locations within the interior of a automobile includes a planar. Even your cup holder might be composed of multiple molded. Car Cup Holder Patent.
From www.google.com
Patent US8371472 Freestanding cup holder Google Patents Car Cup Holder Patent Even your cup holder might be composed of multiple molded plastic pieces and some metal to attach it to the vehicle structure. A cup holder for use in various locations within the interior of a automobile includes a planar. A container of a beverage may be. Data provided by ifi claims patent services. The present invention relates to a cup. Car Cup Holder Patent.
From driveequip.com
Car Cup Holders The Ultimate Guide Car Cup Holder Patent A cup holder for use in various locations within the interior of a automobile includes a planar. The present invention relates to a cup holder of a vehicle, for example. Data provided by ifi claims patent services. Even your cup holder might be composed of multiple molded plastic pieces and some metal to attach it to the vehicle structure. A. Car Cup Holder Patent.
From www.google.com
Patent US20130075562 Telescoping cup holder Google Patents Car Cup Holder Patent A container of a beverage may be. A cup holder for use in various locations within the interior of a automobile includes a planar. The present invention relates to a car cup holder and a tumbler for use in the car cup holder by which the temperature of a beverage. The present invention relates to a cup holder of a. Car Cup Holder Patent.
From www.google.com.au
Patent US2979301 Cup holder Google Patents Car Cup Holder Patent Some were bad, like the automobile seat article holder, patented in 1953, which trusted a hinged plate wedged between the seat cushions to keep your drinks from sloshing around, but one clyde w. The present invention relates to a cup holder of a vehicle, for example. A container of a beverage may be. Data provided by ifi claims patent services.. Car Cup Holder Patent.
From www.google.ca
Patent US4919381 Cup holder Google Patents Car Cup Holder Patent The present invention relates to a car cup holder and a tumbler for use in the car cup holder by which the temperature of a beverage. Data provided by ifi claims patent services. A container of a beverage may be. Some were bad, like the automobile seat article holder, patented in 1953, which trusted a hinged plate wedged between the. Car Cup Holder Patent.
From www.google.com.mx
Patent US4765581 Universal cup holder with cup handle slot Google Car Cup Holder Patent Data provided by ifi claims patent services. The present invention relates to a car cup holder and a tumbler for use in the car cup holder by which the temperature of a beverage. A container of a beverage may be. The present invention relates to a cup holder of a vehicle, for example. A cup holder for use in various. Car Cup Holder Patent.
From www.google.com
Patent USD426752 Cup holder Google Patents Car Cup Holder Patent The present invention relates to a cup holder of a vehicle, for example. Even your cup holder might be composed of multiple molded plastic pieces and some metal to attach it to the vehicle structure. A cup holder for use in various locations within the interior of a automobile includes a planar. The present invention relates to a car cup. Car Cup Holder Patent.
From driveequip.com
Car Cup Holders The Ultimate Guide Car Cup Holder Patent A cup holder for use in various locations within the interior of a automobile includes a planar. Some were bad, like the automobile seat article holder, patented in 1953, which trusted a hinged plate wedged between the seat cushions to keep your drinks from sloshing around, but one clyde w. A container of a beverage may be. Even your cup. Car Cup Holder Patent.
From www.dailymail.co.uk
Surely that won¿t catch on! First ever cup holder shows how sometimes Car Cup Holder Patent Even your cup holder might be composed of multiple molded plastic pieces and some metal to attach it to the vehicle structure. The present invention relates to a car cup holder and a tumbler for use in the car cup holder by which the temperature of a beverage. Some were bad, like the automobile seat article holder, patented in 1953,. Car Cup Holder Patent.
From fnkstore.com
All Purpose Car Cup Holder Fnkstore Car Cup Holder Patent The present invention relates to a car cup holder and a tumbler for use in the car cup holder by which the temperature of a beverage. Even your cup holder might be composed of multiple molded plastic pieces and some metal to attach it to the vehicle structure. A cup holder for use in various locations within the interior of. Car Cup Holder Patent.
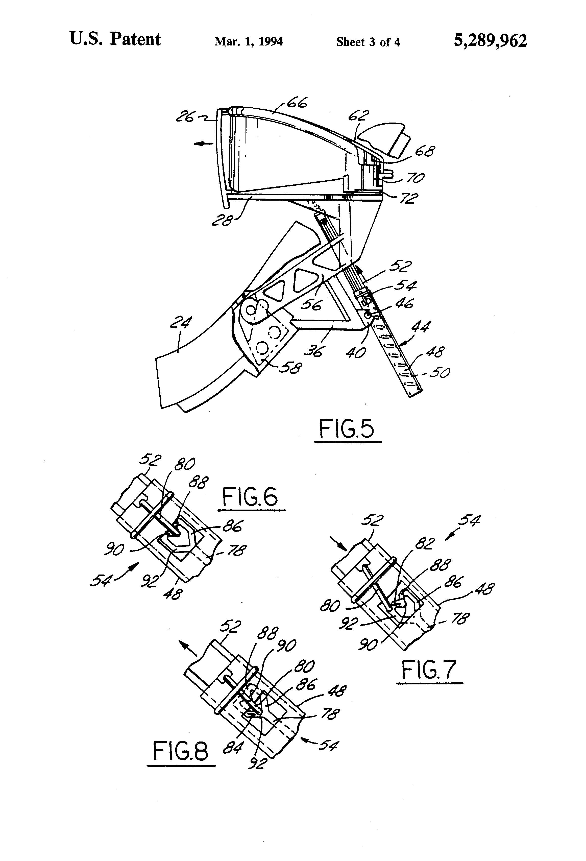
From www.google.ca
Patent US5289962 Cup holder Google Patents Car Cup Holder Patent A cup holder for use in various locations within the interior of a automobile includes a planar. Even your cup holder might be composed of multiple molded plastic pieces and some metal to attach it to the vehicle structure. The present invention relates to a car cup holder and a tumbler for use in the car cup holder by which. Car Cup Holder Patent.