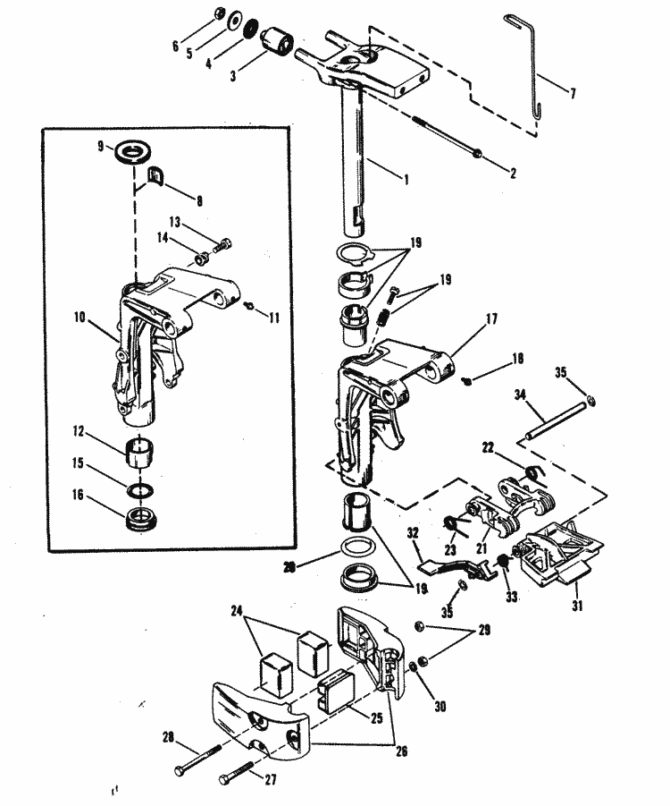
Mercury Swivel Bracket Repair . My swivel bracket broke and needs to be replaced. Can the swivel bracket be removed without taking the power head off? This is a common problem where the grease. I have a mercury marine 60 hp (3 cyl.) swivel arm that need replacing, however i am trying to see if it was easy to do by myself. Swivel bracket play is almost never and adjustment problem. It's usually due to wear, corrosion/erosion of material, or. In this video i look at how to free up a stiff or seized steering bracket on an outboard. I recently resurrected my 1969 mercury 7.5 hp to use on. See the image below for my rusty mercury swivel pin, i purchased a complete assembly to replace this with. However, if you have an engine hoist, lifting eye, and an oem repair manual (to use as your guide), it's. I attempted to heat the swivel tube to break up any old grease that may be packed between the bushings and pivot tube and swivel.
from www.youtube.com
My swivel bracket broke and needs to be replaced. See the image below for my rusty mercury swivel pin, i purchased a complete assembly to replace this with. In this video i look at how to free up a stiff or seized steering bracket on an outboard. It's usually due to wear, corrosion/erosion of material, or. I recently resurrected my 1969 mercury 7.5 hp to use on. I have a mercury marine 60 hp (3 cyl.) swivel arm that need replacing, however i am trying to see if it was easy to do by myself. However, if you have an engine hoist, lifting eye, and an oem repair manual (to use as your guide), it's. Can the swivel bracket be removed without taking the power head off? Swivel bracket play is almost never and adjustment problem. I attempted to heat the swivel tube to break up any old grease that may be packed between the bushings and pivot tube and swivel.
frozen Mercury 110 9.8HP outboard swivel bracket repair YouTube
Mercury Swivel Bracket Repair See the image below for my rusty mercury swivel pin, i purchased a complete assembly to replace this with. Swivel bracket play is almost never and adjustment problem. I have a mercury marine 60 hp (3 cyl.) swivel arm that need replacing, however i am trying to see if it was easy to do by myself. However, if you have an engine hoist, lifting eye, and an oem repair manual (to use as your guide), it's. I recently resurrected my 1969 mercury 7.5 hp to use on. It's usually due to wear, corrosion/erosion of material, or. In this video i look at how to free up a stiff or seized steering bracket on an outboard. This is a common problem where the grease. I attempted to heat the swivel tube to break up any old grease that may be packed between the bushings and pivot tube and swivel. My swivel bracket broke and needs to be replaced. Can the swivel bracket be removed without taking the power head off? See the image below for my rusty mercury swivel pin, i purchased a complete assembly to replace this with.
From www.boats.net
Mercury Outboard 25HP OEM Parts Diagram for Swivel Bracket, Manual Mercury Swivel Bracket Repair I have a mercury marine 60 hp (3 cyl.) swivel arm that need replacing, however i am trying to see if it was easy to do by myself. My swivel bracket broke and needs to be replaced. This is a common problem where the grease. Can the swivel bracket be removed without taking the power head off? In this video. Mercury Swivel Bracket Repair.
From www.southcentraloutboards.com
19761994 Mercury Swivel Bracket 9225A3 9225A2 7945A1 150 175 225 250 Mercury Swivel Bracket Repair See the image below for my rusty mercury swivel pin, i purchased a complete assembly to replace this with. This is a common problem where the grease. However, if you have an engine hoist, lifting eye, and an oem repair manual (to use as your guide), it's. In this video i look at how to free up a stiff or. Mercury Swivel Bracket Repair.
From www.crowleymarine.com
SWIVEL BRACKET AND STEERING ARM Serial Range Race Outboard MERC MOD Mercury Swivel Bracket Repair I have a mercury marine 60 hp (3 cyl.) swivel arm that need replacing, however i am trying to see if it was easy to do by myself. However, if you have an engine hoist, lifting eye, and an oem repair manual (to use as your guide), it's. See the image below for my rusty mercury swivel pin, i purchased. Mercury Swivel Bracket Repair.
From www.southcentraloutboards.com
822237A3 822238A9 Mercury 19992006 Swivel Bracket Assembly 15 20 25 HP Mercury Swivel Bracket Repair I recently resurrected my 1969 mercury 7.5 hp to use on. I attempted to heat the swivel tube to break up any old grease that may be packed between the bushings and pivot tube and swivel. Swivel bracket play is almost never and adjustment problem. My swivel bracket broke and needs to be replaced. Can the swivel bracket be removed. Mercury Swivel Bracket Repair.
From www.nlamarine.com
Mercury Outboard 115hp Transom Swivel Bracket 3408818904A1 C1 99661A2 Mercury Swivel Bracket Repair I recently resurrected my 1969 mercury 7.5 hp to use on. Can the swivel bracket be removed without taking the power head off? I have a mercury marine 60 hp (3 cyl.) swivel arm that need replacing, however i am trying to see if it was easy to do by myself. My swivel bracket broke and needs to be replaced.. Mercury Swivel Bracket Repair.
From greenbayprop.com
14807655A1 Mercury Outboard Swivel Bracket Long Shaft 3540 HP 1980 Mercury Swivel Bracket Repair See the image below for my rusty mercury swivel pin, i purchased a complete assembly to replace this with. I recently resurrected my 1969 mercury 7.5 hp to use on. Swivel bracket play is almost never and adjustment problem. I attempted to heat the swivel tube to break up any old grease that may be packed between the bushings and. Mercury Swivel Bracket Repair.
From www.youtube.com
PENDING 1121 Mercury Swivel Bracket, Steering Arm, Yoke 70 Hp Mercury Swivel Bracket Repair Can the swivel bracket be removed without taking the power head off? This is a common problem where the grease. However, if you have an engine hoist, lifting eye, and an oem repair manual (to use as your guide), it's. I recently resurrected my 1969 mercury 7.5 hp to use on. It's usually due to wear, corrosion/erosion of material, or.. Mercury Swivel Bracket Repair.
From www.vansoutboardparts.com
Mercury MERCURY 75 (3 CYL.) 0C222000 THRU 0D283221 Swivel Mercury Swivel Bracket Repair Can the swivel bracket be removed without taking the power head off? See the image below for my rusty mercury swivel pin, i purchased a complete assembly to replace this with. In this video i look at how to free up a stiff or seized steering bracket on an outboard. My swivel bracket broke and needs to be replaced. I. Mercury Swivel Bracket Repair.
From www.ebay.com
Mercury Swivel Bracket 86580A1 67706A46 754A1 19782005 115250 HP eBay Mercury Swivel Bracket Repair It's usually due to wear, corrosion/erosion of material, or. Swivel bracket play is almost never and adjustment problem. However, if you have an engine hoist, lifting eye, and an oem repair manual (to use as your guide), it's. I attempted to heat the swivel tube to break up any old grease that may be packed between the bushings and pivot. Mercury Swivel Bracket Repair.
From www.marineengine.com
Mercury Marine 90 HP (3 Cylinder) Swivel Bracket & Steering Arm Parts Mercury Swivel Bracket Repair This is a common problem where the grease. Can the swivel bracket be removed without taking the power head off? It's usually due to wear, corrosion/erosion of material, or. I attempted to heat the swivel tube to break up any old grease that may be packed between the bushings and pivot tube and swivel. However, if you have an engine. Mercury Swivel Bracket Repair.
From www.marineengine.com
Mercury Marine 25XD HP Swivel Bracket Assembly Parts Mercury Swivel Bracket Repair I recently resurrected my 1969 mercury 7.5 hp to use on. Swivel bracket play is almost never and adjustment problem. See the image below for my rusty mercury swivel pin, i purchased a complete assembly to replace this with. I attempted to heat the swivel tube to break up any old grease that may be packed between the bushings and. Mercury Swivel Bracket Repair.
From www.nlamarine.com
Mercury Outboard 115hp Transom Swivel Bracket 3408818904A1 C1 99661A2 Mercury Swivel Bracket Repair In this video i look at how to free up a stiff or seized steering bracket on an outboard. I have a mercury marine 60 hp (3 cyl.) swivel arm that need replacing, however i am trying to see if it was easy to do by myself. Can the swivel bracket be removed without taking the power head off? Swivel. Mercury Swivel Bracket Repair.
From www.southcentraloutboards.com
8710A17 99661A10 8718A1 Mercury 198889 Complete Swivel Bracket 70 75 Mercury Swivel Bracket Repair My swivel bracket broke and needs to be replaced. I recently resurrected my 1969 mercury 7.5 hp to use on. See the image below for my rusty mercury swivel pin, i purchased a complete assembly to replace this with. Swivel bracket play is almost never and adjustment problem. In this video i look at how to free up a stiff. Mercury Swivel Bracket Repair.
From www.ebay.com
MERCURY SWIVEL BRACKET & TRANSOM BRACKETS 8710T20 eBay Mercury Swivel Bracket Repair I recently resurrected my 1969 mercury 7.5 hp to use on. It's usually due to wear, corrosion/erosion of material, or. See the image below for my rusty mercury swivel pin, i purchased a complete assembly to replace this with. However, if you have an engine hoist, lifting eye, and an oem repair manual (to use as your guide), it's. Swivel. Mercury Swivel Bracket Repair.
From www.nlamarine.com
Mercury Outboard 150hp 115hp 85hp Transom Swivel Bracket Mount 144032 Mercury Swivel Bracket Repair However, if you have an engine hoist, lifting eye, and an oem repair manual (to use as your guide), it's. In this video i look at how to free up a stiff or seized steering bracket on an outboard. Swivel bracket play is almost never and adjustment problem. My swivel bracket broke and needs to be replaced. I have a. Mercury Swivel Bracket Repair.
From www.eoutboards.com
Eoutboards. 23816039 Spacer Swivel Bracket Mercury OEM Mercury Swivel Bracket Repair I have a mercury marine 60 hp (3 cyl.) swivel arm that need replacing, however i am trying to see if it was easy to do by myself. I attempted to heat the swivel tube to break up any old grease that may be packed between the bushings and pivot tube and swivel. However, if you have an engine hoist,. Mercury Swivel Bracket Repair.
From www.crowleymarine.com
813029T9 BracketSwivel Mercury Marine Crowley Marine Mercury Swivel Bracket Repair I have a mercury marine 60 hp (3 cyl.) swivel arm that need replacing, however i am trying to see if it was easy to do by myself. I attempted to heat the swivel tube to break up any old grease that may be packed between the bushings and pivot tube and swivel. I recently resurrected my 1969 mercury 7.5. Mercury Swivel Bracket Repair.
From www.boats.net
Mercury Outboard 90HP OEM Parts Diagram for Swivel Bracket and Steering Mercury Swivel Bracket Repair My swivel bracket broke and needs to be replaced. See the image below for my rusty mercury swivel pin, i purchased a complete assembly to replace this with. It's usually due to wear, corrosion/erosion of material, or. Swivel bracket play is almost never and adjustment problem. I attempted to heat the swivel tube to break up any old grease that. Mercury Swivel Bracket Repair.
From www.southcentraloutboards.com
850066A1 Mercury 20062010 Swivel Bracket 30 40 45 50 60 HP 4Stroke Mercury Swivel Bracket Repair I recently resurrected my 1969 mercury 7.5 hp to use on. Can the swivel bracket be removed without taking the power head off? However, if you have an engine hoist, lifting eye, and an oem repair manual (to use as your guide), it's. In this video i look at how to free up a stiff or seized steering bracket on. Mercury Swivel Bracket Repair.
From www.southcentraloutboards.com
8599A6 69540A4 Mercury 19801990 Swivel Bracket & Steering Arm 35 45 50 Mercury Swivel Bracket Repair See the image below for my rusty mercury swivel pin, i purchased a complete assembly to replace this with. I have a mercury marine 60 hp (3 cyl.) swivel arm that need replacing, however i am trying to see if it was easy to do by myself. This is a common problem where the grease. I recently resurrected my 1969. Mercury Swivel Bracket Repair.
From www.ebay.com
A NOS Mercury Swivel Bracket Assembly Part 14717324A1 eBay Mercury Swivel Bracket Repair Can the swivel bracket be removed without taking the power head off? In this video i look at how to free up a stiff or seized steering bracket on an outboard. It's usually due to wear, corrosion/erosion of material, or. I have a mercury marine 60 hp (3 cyl.) swivel arm that need replacing, however i am trying to see. Mercury Swivel Bracket Repair.
From www.youtube.com
Testing Mercury Swivel Bracket Movement Prior to Shipping to Key Largo Mercury Swivel Bracket Repair This is a common problem where the grease. I have a mercury marine 60 hp (3 cyl.) swivel arm that need replacing, however i am trying to see if it was easy to do by myself. I attempted to heat the swivel tube to break up any old grease that may be packed between the bushings and pivot tube and. Mercury Swivel Bracket Repair.
From www.crowleymarine.com
883300T Rear Swivel Bracket Mercury Marine Crowley Marine Mercury Swivel Bracket Repair I recently resurrected my 1969 mercury 7.5 hp to use on. I attempted to heat the swivel tube to break up any old grease that may be packed between the bushings and pivot tube and swivel. Can the swivel bracket be removed without taking the power head off? See the image below for my rusty mercury swivel pin, i purchased. Mercury Swivel Bracket Repair.
From www.southcentraloutboards.com
850066A1 825222T03 893590T04 Mercury 20062010 Swivel Bracket & Arm 40 Mercury Swivel Bracket Repair I have a mercury marine 60 hp (3 cyl.) swivel arm that need replacing, however i am trying to see if it was easy to do by myself. I attempted to heat the swivel tube to break up any old grease that may be packed between the bushings and pivot tube and swivel. I recently resurrected my 1969 mercury 7.5. Mercury Swivel Bracket Repair.
From www.crowleymarine.com
822237A3 Swivel BracketBlack Mercury Marine Crowley Marine Mercury Swivel Bracket Repair I attempted to heat the swivel tube to break up any old grease that may be packed between the bushings and pivot tube and swivel. Can the swivel bracket be removed without taking the power head off? This is a common problem where the grease. In this video i look at how to free up a stiff or seized steering. Mercury Swivel Bracket Repair.
From www.vansoutboardparts.com
Mercury MERCURY 50 (3 CYL.) 6428681 THRU 0B122929 SWIVEL Mercury Swivel Bracket Repair My swivel bracket broke and needs to be replaced. I have a mercury marine 60 hp (3 cyl.) swivel arm that need replacing, however i am trying to see if it was easy to do by myself. In this video i look at how to free up a stiff or seized steering bracket on an outboard. It's usually due to. Mercury Swivel Bracket Repair.
From www.vansoutboardparts.com
Mercury MERCURY 9.8 5206550 & Up SWIVEL BRACKET ASSEMBLY Mercury Swivel Bracket Repair I have a mercury marine 60 hp (3 cyl.) swivel arm that need replacing, however i am trying to see if it was easy to do by myself. I attempted to heat the swivel tube to break up any old grease that may be packed between the bushings and pivot tube and swivel. This is a common problem where the. Mercury Swivel Bracket Repair.
From www.crowleymarine.com
822237A3 Swivel BracketBlack Mercury Marine Crowley Marine Mercury Swivel Bracket Repair It's usually due to wear, corrosion/erosion of material, or. My swivel bracket broke and needs to be replaced. Can the swivel bracket be removed without taking the power head off? I attempted to heat the swivel tube to break up any old grease that may be packed between the bushings and pivot tube and swivel. I recently resurrected my 1969. Mercury Swivel Bracket Repair.
From www.vansoutboardparts.com
Swivel Bracket Assembly Mercury Outboard Motor Parts Van’s Sport Center Mercury Swivel Bracket Repair I attempted to heat the swivel tube to break up any old grease that may be packed between the bushings and pivot tube and swivel. See the image below for my rusty mercury swivel pin, i purchased a complete assembly to replace this with. This is a common problem where the grease. In this video i look at how to. Mercury Swivel Bracket Repair.
From www.vansoutboardparts.com
Mercury MERCURY 115 (4 CYL.) 0C100000 THRU 0D283221 Swivel Mercury Swivel Bracket Repair I attempted to heat the swivel tube to break up any old grease that may be packed between the bushings and pivot tube and swivel. It's usually due to wear, corrosion/erosion of material, or. Swivel bracket play is almost never and adjustment problem. My swivel bracket broke and needs to be replaced. See the image below for my rusty mercury. Mercury Swivel Bracket Repair.
From expressmarine.net
Quicksilver Mercury Swivel Bracket Spring 24F366300 Express Marine Mercury Swivel Bracket Repair This is a common problem where the grease. I recently resurrected my 1969 mercury 7.5 hp to use on. It's usually due to wear, corrosion/erosion of material, or. I attempted to heat the swivel tube to break up any old grease that may be packed between the bushings and pivot tube and swivel. Swivel bracket play is almost never and. Mercury Swivel Bracket Repair.
From www.marineengine.com
Mercury Marine 90 HP (4Stroke) Swivel Bracket & Steering Arm Parts Mercury Swivel Bracket Repair However, if you have an engine hoist, lifting eye, and an oem repair manual (to use as your guide), it's. I attempted to heat the swivel tube to break up any old grease that may be packed between the bushings and pivot tube and swivel. It's usually due to wear, corrosion/erosion of material, or. See the image below for my. Mercury Swivel Bracket Repair.
From www.vansoutboardparts.com
Mercury Swivel Bracket and Steering Arm Mercury Outboard Motor Mercury Swivel Bracket Repair See the image below for my rusty mercury swivel pin, i purchased a complete assembly to replace this with. Swivel bracket play is almost never and adjustment problem. I recently resurrected my 1969 mercury 7.5 hp to use on. I have a mercury marine 60 hp (3 cyl.) swivel arm that need replacing, however i am trying to see if. Mercury Swivel Bracket Repair.
From www.youtube.com
frozen Mercury 110 9.8HP outboard swivel bracket repair YouTube Mercury Swivel Bracket Repair Can the swivel bracket be removed without taking the power head off? I recently resurrected my 1969 mercury 7.5 hp to use on. Swivel bracket play is almost never and adjustment problem. I have a mercury marine 60 hp (3 cyl.) swivel arm that need replacing, however i am trying to see if it was easy to do by myself.. Mercury Swivel Bracket Repair.
From www.marineengine.com
Mercury Marine 15 HP (4Stroke) Swivel Bracket Parts Mercury Swivel Bracket Repair My swivel bracket broke and needs to be replaced. Can the swivel bracket be removed without taking the power head off? See the image below for my rusty mercury swivel pin, i purchased a complete assembly to replace this with. However, if you have an engine hoist, lifting eye, and an oem repair manual (to use as your guide), it's.. Mercury Swivel Bracket Repair.