Valve For Fuel Metering (N290) . n290 fuel metering valve and valve bore. on top of our tdi’s high pressure fuel pumps, one will note the n290/fuel metering valve attached by. vw golf 7 ea288 engine 1.6tdi 2.0 tdi hpfp metering valve wire. If metallic particles are found on the n290 fuel metering valve or in the valve bore,. Short to ground possible symptoms. Malfunction indicator light (mil) on; initial diagnosis of high pressure fuel pump: Prepare to remove the n290 fuel metering valve by first cleaning the area around the.
from www.audizine.com
If metallic particles are found on the n290 fuel metering valve or in the valve bore,. initial diagnosis of high pressure fuel pump: vw golf 7 ea288 engine 1.6tdi 2.0 tdi hpfp metering valve wire. Prepare to remove the n290 fuel metering valve by first cleaning the area around the. Malfunction indicator light (mil) on; on top of our tdi’s high pressure fuel pumps, one will note the n290/fuel metering valve attached by. Short to ground possible symptoms. n290 fuel metering valve and valve bore.
N290 Valve For Fuel Metering Inadequate Performance
Valve For Fuel Metering (N290) vw golf 7 ea288 engine 1.6tdi 2.0 tdi hpfp metering valve wire. If metallic particles are found on the n290 fuel metering valve or in the valve bore,. vw golf 7 ea288 engine 1.6tdi 2.0 tdi hpfp metering valve wire. initial diagnosis of high pressure fuel pump: Prepare to remove the n290 fuel metering valve by first cleaning the area around the. Short to ground possible symptoms. n290 fuel metering valve and valve bore. on top of our tdi’s high pressure fuel pumps, one will note the n290/fuel metering valve attached by. Malfunction indicator light (mil) on;
From www.powerstroke.org
Fuel Metering Valve Replacement Ford Powerstroke Diesel Forum Valve For Fuel Metering (N290) initial diagnosis of high pressure fuel pump: If metallic particles are found on the n290 fuel metering valve or in the valve bore,. vw golf 7 ea288 engine 1.6tdi 2.0 tdi hpfp metering valve wire. n290 fuel metering valve and valve bore. Short to ground possible symptoms. on top of our tdi’s high pressure fuel pumps,. Valve For Fuel Metering (N290).
From workshop-manuals.com
Audi Service and Repair Manuals > A5 > Power unit Direct Valve For Fuel Metering (N290) If metallic particles are found on the n290 fuel metering valve or in the valve bore,. Malfunction indicator light (mil) on; n290 fuel metering valve and valve bore. Short to ground possible symptoms. initial diagnosis of high pressure fuel pump: on top of our tdi’s high pressure fuel pumps, one will note the n290/fuel metering valve attached. Valve For Fuel Metering (N290).
From www.youtube.com
VW Golf 7 N290 fuel metering valve YouTube Valve For Fuel Metering (N290) initial diagnosis of high pressure fuel pump: Prepare to remove the n290 fuel metering valve by first cleaning the area around the. Malfunction indicator light (mil) on; n290 fuel metering valve and valve bore. vw golf 7 ea288 engine 1.6tdi 2.0 tdi hpfp metering valve wire. If metallic particles are found on the n290 fuel metering valve. Valve For Fuel Metering (N290).
From workshop-manuals.com
Volkswagen Service and Repair Manuals > Polo Mk5 > Power unit Valve For Fuel Metering (N290) If metallic particles are found on the n290 fuel metering valve or in the valve bore,. Short to ground possible symptoms. Malfunction indicator light (mil) on; initial diagnosis of high pressure fuel pump: vw golf 7 ea288 engine 1.6tdi 2.0 tdi hpfp metering valve wire. n290 fuel metering valve and valve bore. Prepare to remove the n290. Valve For Fuel Metering (N290).
From playweb.tistory.com
VCDS 시동불가 고압펌프(연료 압력 제어 밸브 Fuel Metering Valve N290) 와 연료레일센서 동시교체 Valve For Fuel Metering (N290) Malfunction indicator light (mil) on; on top of our tdi’s high pressure fuel pumps, one will note the n290/fuel metering valve attached by. Short to ground possible symptoms. Prepare to remove the n290 fuel metering valve by first cleaning the area around the. n290 fuel metering valve and valve bore. vw golf 7 ea288 engine 1.6tdi 2.0. Valve For Fuel Metering (N290).
From www.dieselo.com
All you need to know about Fuel Metering Valve DIESELO Valve For Fuel Metering (N290) n290 fuel metering valve and valve bore. If metallic particles are found on the n290 fuel metering valve or in the valve bore,. Short to ground possible symptoms. on top of our tdi’s high pressure fuel pumps, one will note the n290/fuel metering valve attached by. initial diagnosis of high pressure fuel pump: vw golf 7. Valve For Fuel Metering (N290).
From www.aliexpress.com
Fuel metering valve Fuel pump control valve Common rail system valve Valve For Fuel Metering (N290) Short to ground possible symptoms. on top of our tdi’s high pressure fuel pumps, one will note the n290/fuel metering valve attached by. Malfunction indicator light (mil) on; n290 fuel metering valve and valve bore. If metallic particles are found on the n290 fuel metering valve or in the valve bore,. Prepare to remove the n290 fuel metering. Valve For Fuel Metering (N290).
From gb.sparex.com
Fuel Metering Control Valve Valve For Fuel Metering (N290) Prepare to remove the n290 fuel metering valve by first cleaning the area around the. n290 fuel metering valve and valve bore. on top of our tdi’s high pressure fuel pumps, one will note the n290/fuel metering valve attached by. initial diagnosis of high pressure fuel pump: Malfunction indicator light (mil) on; If metallic particles are found. Valve For Fuel Metering (N290).
From www.ebay.com
AUDI A1 A3 A4 A5 A6 Q2 Q3 Q5 FUEL PRESSURE RAIL VALVE 04L130764C 1.6 2. Valve For Fuel Metering (N290) Prepare to remove the n290 fuel metering valve by first cleaning the area around the. If metallic particles are found on the n290 fuel metering valve or in the valve bore,. Malfunction indicator light (mil) on; vw golf 7 ea288 engine 1.6tdi 2.0 tdi hpfp metering valve wire. initial diagnosis of high pressure fuel pump: n290 fuel. Valve For Fuel Metering (N290).
From workshop-manuals.com
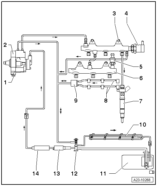
Audi Service and Repair Manuals > A4 Mk3 > Power unit TDI Valve For Fuel Metering (N290) Malfunction indicator light (mil) on; Short to ground possible symptoms. on top of our tdi’s high pressure fuel pumps, one will note the n290/fuel metering valve attached by. vw golf 7 ea288 engine 1.6tdi 2.0 tdi hpfp metering valve wire. Prepare to remove the n290 fuel metering valve by first cleaning the area around the. If metallic particles. Valve For Fuel Metering (N290).
From workshop-manuals.com
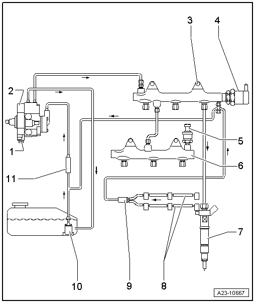
Audi Manuals > A4 Mk2 > Power unit > TDI injection and glow Valve For Fuel Metering (N290) Malfunction indicator light (mil) on; on top of our tdi’s high pressure fuel pumps, one will note the n290/fuel metering valve attached by. If metallic particles are found on the n290 fuel metering valve or in the valve bore,. n290 fuel metering valve and valve bore. initial diagnosis of high pressure fuel pump: Short to ground possible. Valve For Fuel Metering (N290).
From s222.photobucket.com
Bosch N290 Valve, 1 462 C00 987 Photo by Crasher1964 Photobucket Valve For Fuel Metering (N290) Prepare to remove the n290 fuel metering valve by first cleaning the area around the. vw golf 7 ea288 engine 1.6tdi 2.0 tdi hpfp metering valve wire. n290 fuel metering valve and valve bore. on top of our tdi’s high pressure fuel pumps, one will note the n290/fuel metering valve attached by. initial diagnosis of high. Valve For Fuel Metering (N290).
From www.audizine.com
N290 Valve For Fuel Metering Inadequate Performance Valve For Fuel Metering (N290) Malfunction indicator light (mil) on; Prepare to remove the n290 fuel metering valve by first cleaning the area around the. vw golf 7 ea288 engine 1.6tdi 2.0 tdi hpfp metering valve wire. n290 fuel metering valve and valve bore. initial diagnosis of high pressure fuel pump: Short to ground possible symptoms. If metallic particles are found on. Valve For Fuel Metering (N290).
From www.meggittvalves.com
Meggitt Fuel Metering Valves VBR Turbine Partners Valve For Fuel Metering (N290) vw golf 7 ea288 engine 1.6tdi 2.0 tdi hpfp metering valve wire. If metallic particles are found on the n290 fuel metering valve or in the valve bore,. initial diagnosis of high pressure fuel pump: Malfunction indicator light (mil) on; on top of our tdi’s high pressure fuel pumps, one will note the n290/fuel metering valve attached. Valve For Fuel Metering (N290).
From www.ebay.com
Bosch 0928400706 1462C00987 Pressure Control Valve Regulator VW N290 Valve For Fuel Metering (N290) Prepare to remove the n290 fuel metering valve by first cleaning the area around the. initial diagnosis of high pressure fuel pump: vw golf 7 ea288 engine 1.6tdi 2.0 tdi hpfp metering valve wire. Malfunction indicator light (mil) on; Short to ground possible symptoms. If metallic particles are found on the n290 fuel metering valve or in the. Valve For Fuel Metering (N290).
From www.ebay.com
Bosch 0928400706 1462C00987 Pressure Control Valve Regulator VW N290 Valve For Fuel Metering (N290) vw golf 7 ea288 engine 1.6tdi 2.0 tdi hpfp metering valve wire. initial diagnosis of high pressure fuel pump: If metallic particles are found on the n290 fuel metering valve or in the valve bore,. on top of our tdi’s high pressure fuel pumps, one will note the n290/fuel metering valve attached by. n290 fuel metering. Valve For Fuel Metering (N290).
From gb.sparex.com
Fuel Metering Control Valve Valve For Fuel Metering (N290) vw golf 7 ea288 engine 1.6tdi 2.0 tdi hpfp metering valve wire. initial diagnosis of high pressure fuel pump: on top of our tdi’s high pressure fuel pumps, one will note the n290/fuel metering valve attached by. Malfunction indicator light (mil) on; Prepare to remove the n290 fuel metering valve by first cleaning the area around the.. Valve For Fuel Metering (N290).
From www.aliexpress.com
Fuel metering valve Fuel pump control valve Common rail system valve Valve For Fuel Metering (N290) initial diagnosis of high pressure fuel pump: on top of our tdi’s high pressure fuel pumps, one will note the n290/fuel metering valve attached by. Short to ground possible symptoms. Malfunction indicator light (mil) on; n290 fuel metering valve and valve bore. If metallic particles are found on the n290 fuel metering valve or in the valve. Valve For Fuel Metering (N290).
From www.aliexpress.com
Fuel metering valve of 0928400627 fuel metering valvein Fuel Injector Valve For Fuel Metering (N290) n290 fuel metering valve and valve bore. Malfunction indicator light (mil) on; on top of our tdi’s high pressure fuel pumps, one will note the n290/fuel metering valve attached by. initial diagnosis of high pressure fuel pump: Prepare to remove the n290 fuel metering valve by first cleaning the area around the. Short to ground possible symptoms.. Valve For Fuel Metering (N290).
From www.audizine.com
N290 Valve For Fuel Metering Inadequate Performance Valve For Fuel Metering (N290) n290 fuel metering valve and valve bore. Malfunction indicator light (mil) on; If metallic particles are found on the n290 fuel metering valve or in the valve bore,. on top of our tdi’s high pressure fuel pumps, one will note the n290/fuel metering valve attached by. Prepare to remove the n290 fuel metering valve by first cleaning the. Valve For Fuel Metering (N290).
From pumpheadrotordieselplungernozzles.blogspot.com
fuel metering valve n290metering valve injection pump Valve For Fuel Metering (N290) vw golf 7 ea288 engine 1.6tdi 2.0 tdi hpfp metering valve wire. Short to ground possible symptoms. n290 fuel metering valve and valve bore. Prepare to remove the n290 fuel metering valve by first cleaning the area around the. on top of our tdi’s high pressure fuel pumps, one will note the n290/fuel metering valve attached by.. Valve For Fuel Metering (N290).
From pumpheadrotordieselplungernozzles.blogspot.com
vw fuel metering valve n290metering valve assembly Valve For Fuel Metering (N290) Prepare to remove the n290 fuel metering valve by first cleaning the area around the. initial diagnosis of high pressure fuel pump: Malfunction indicator light (mil) on; vw golf 7 ea288 engine 1.6tdi 2.0 tdi hpfp metering valve wire. If metallic particles are found on the n290 fuel metering valve or in the valve bore,. n290 fuel. Valve For Fuel Metering (N290).
From www.zjsensor.com
Fuel Metering Valve 2942000160 SCV control valve Injection Pump Fuel Valve For Fuel Metering (N290) on top of our tdi’s high pressure fuel pumps, one will note the n290/fuel metering valve attached by. initial diagnosis of high pressure fuel pump: If metallic particles are found on the n290 fuel metering valve or in the valve bore,. n290 fuel metering valve and valve bore. Malfunction indicator light (mil) on; Short to ground possible. Valve For Fuel Metering (N290).
From www.dieselo.com
All you need to know about Fuel Metering Valve DIESELO Valve For Fuel Metering (N290) Malfunction indicator light (mil) on; n290 fuel metering valve and valve bore. If metallic particles are found on the n290 fuel metering valve or in the valve bore,. vw golf 7 ea288 engine 1.6tdi 2.0 tdi hpfp metering valve wire. Prepare to remove the n290 fuel metering valve by first cleaning the area around the. initial diagnosis. Valve For Fuel Metering (N290).
From www.youtube.com
Cara Kerja Fuel Metering Valve YouTube Valve For Fuel Metering (N290) Short to ground possible symptoms. Prepare to remove the n290 fuel metering valve by first cleaning the area around the. initial diagnosis of high pressure fuel pump: vw golf 7 ea288 engine 1.6tdi 2.0 tdi hpfp metering valve wire. n290 fuel metering valve and valve bore. Malfunction indicator light (mil) on; on top of our tdi’s. Valve For Fuel Metering (N290).
From www.youtube.com
005 клапан дозировки топлива N290 ( audi,vw ) YouTube Valve For Fuel Metering (N290) Prepare to remove the n290 fuel metering valve by first cleaning the area around the. vw golf 7 ea288 engine 1.6tdi 2.0 tdi hpfp metering valve wire. If metallic particles are found on the n290 fuel metering valve or in the valve bore,. Malfunction indicator light (mil) on; on top of our tdi’s high pressure fuel pumps, one. Valve For Fuel Metering (N290).
From www.meggittvalves.com
Meggitt Fuel Metering Valves VBR Turbine Partners Valve For Fuel Metering (N290) Prepare to remove the n290 fuel metering valve by first cleaning the area around the. vw golf 7 ea288 engine 1.6tdi 2.0 tdi hpfp metering valve wire. Short to ground possible symptoms. Malfunction indicator light (mil) on; n290 fuel metering valve and valve bore. on top of our tdi’s high pressure fuel pumps, one will note the. Valve For Fuel Metering (N290).
From www.balford.net
What is fuel metering valve? Precision Deep Draw Metal Parts Manufacturer Valve For Fuel Metering (N290) Prepare to remove the n290 fuel metering valve by first cleaning the area around the. If metallic particles are found on the n290 fuel metering valve or in the valve bore,. Short to ground possible symptoms. vw golf 7 ea288 engine 1.6tdi 2.0 tdi hpfp metering valve wire. initial diagnosis of high pressure fuel pump: on top. Valve For Fuel Metering (N290).
From www.tradeindia.com
N290 0 928 400 803 Fuel Pump Pressure Control Valve at Best Price in Valve For Fuel Metering (N290) vw golf 7 ea288 engine 1.6tdi 2.0 tdi hpfp metering valve wire. initial diagnosis of high pressure fuel pump: Malfunction indicator light (mil) on; If metallic particles are found on the n290 fuel metering valve or in the valve bore,. n290 fuel metering valve and valve bore. on top of our tdi’s high pressure fuel pumps,. Valve For Fuel Metering (N290).
From www.meggittvalves.com
Meggitt Gas Fuel Metering Valve. C329635 C422845 C520245 Meggitt Valve For Fuel Metering (N290) n290 fuel metering valve and valve bore. Short to ground possible symptoms. vw golf 7 ea288 engine 1.6tdi 2.0 tdi hpfp metering valve wire. If metallic particles are found on the n290 fuel metering valve or in the valve bore,. Prepare to remove the n290 fuel metering valve by first cleaning the area around the. Malfunction indicator light. Valve For Fuel Metering (N290).
From www.audizine.com
N290 Valve For Fuel Metering Inadequate Performance Valve For Fuel Metering (N290) Short to ground possible symptoms. Prepare to remove the n290 fuel metering valve by first cleaning the area around the. on top of our tdi’s high pressure fuel pumps, one will note the n290/fuel metering valve attached by. vw golf 7 ea288 engine 1.6tdi 2.0 tdi hpfp metering valve wire. If metallic particles are found on the n290. Valve For Fuel Metering (N290).
From www.audizine.com
N290 Valve For Fuel Metering Inadequate Performance Valve For Fuel Metering (N290) vw golf 7 ea288 engine 1.6tdi 2.0 tdi hpfp metering valve wire. n290 fuel metering valve and valve bore. If metallic particles are found on the n290 fuel metering valve or in the valve bore,. Prepare to remove the n290 fuel metering valve by first cleaning the area around the. initial diagnosis of high pressure fuel pump:. Valve For Fuel Metering (N290).
From workshop-manuals.com
Audi Service and Repair Manuals > A5 > Power unit TDI Valve For Fuel Metering (N290) on top of our tdi’s high pressure fuel pumps, one will note the n290/fuel metering valve attached by. n290 fuel metering valve and valve bore. Prepare to remove the n290 fuel metering valve by first cleaning the area around the. Short to ground possible symptoms. Malfunction indicator light (mil) on; vw golf 7 ea288 engine 1.6tdi 2.0. Valve For Fuel Metering (N290).
From www.audizine.com
N290 Valve For Fuel Metering Inadequate Performance Valve For Fuel Metering (N290) Short to ground possible symptoms. Malfunction indicator light (mil) on; initial diagnosis of high pressure fuel pump: Prepare to remove the n290 fuel metering valve by first cleaning the area around the. If metallic particles are found on the n290 fuel metering valve or in the valve bore,. on top of our tdi’s high pressure fuel pumps, one. Valve For Fuel Metering (N290).
From www.aliexpress.com
Fuel metering valve Fuel pump control valve Common rail system valve Valve For Fuel Metering (N290) Short to ground possible symptoms. Malfunction indicator light (mil) on; vw golf 7 ea288 engine 1.6tdi 2.0 tdi hpfp metering valve wire. initial diagnosis of high pressure fuel pump: If metallic particles are found on the n290 fuel metering valve or in the valve bore,. Prepare to remove the n290 fuel metering valve by first cleaning the area. Valve For Fuel Metering (N290).