Kitchenaid Trash Compactor Kucs02Frss1 . Our free trash compactor diy manuals. Hopefully, we can get it fixed or removed in the next day or two. A complete guide to your kucs02frss1 kitchenaid trash compactor at partselect. Find kitchenaid trash compactor control panel parts using our appliance model lookup system with diagrams. When using an electrical appliance, basic precautions should always be followed, including. We had an earlier kitchen aid trash compactor for 20 years without a hitch. Shop oem replacement parts by symptoms or model diagrams for your kitchenaid kucs02frss1 trash compactor! Buy a kitchenaid 1.4 cu. Find kitchenaid trash compactor parts using our appliance model lookup system with diagrams. We also have installation guides, diagrams. Our free trash compactor diy manuals and videos.
from www.homedepot.com
When using an electrical appliance, basic precautions should always be followed, including. Find kitchenaid trash compactor parts using our appliance model lookup system with diagrams. Find kitchenaid trash compactor control panel parts using our appliance model lookup system with diagrams. Our free trash compactor diy manuals and videos. Hopefully, we can get it fixed or removed in the next day or two. We had an earlier kitchen aid trash compactor for 20 years without a hitch. Shop oem replacement parts by symptoms or model diagrams for your kitchenaid kucs02frss1 trash compactor! We also have installation guides, diagrams. Our free trash compactor diy manuals. A complete guide to your kucs02frss1 kitchenaid trash compactor at partselect.
KitchenAid 15 in. BuiltIn Trash Compactor in Stainless Steel
Kitchenaid Trash Compactor Kucs02Frss1 Our free trash compactor diy manuals. A complete guide to your kucs02frss1 kitchenaid trash compactor at partselect. We also have installation guides, diagrams. Find kitchenaid trash compactor control panel parts using our appliance model lookup system with diagrams. Buy a kitchenaid 1.4 cu. Our free trash compactor diy manuals and videos. Shop oem replacement parts by symptoms or model diagrams for your kitchenaid kucs02frss1 trash compactor! Find kitchenaid trash compactor parts using our appliance model lookup system with diagrams. Our free trash compactor diy manuals. When using an electrical appliance, basic precautions should always be followed, including. We had an earlier kitchen aid trash compactor for 20 years without a hitch. Hopefully, we can get it fixed or removed in the next day or two.
From schematron.org
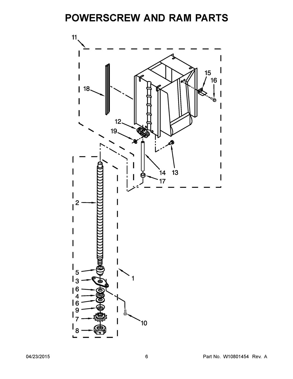
Kitchenaid Trash Compactor Parts Diagram Wiring Diagram Pictures Kitchenaid Trash Compactor Kucs02Frss1 We had an earlier kitchen aid trash compactor for 20 years without a hitch. When using an electrical appliance, basic precautions should always be followed, including. We also have installation guides, diagrams. Shop oem replacement parts by symptoms or model diagrams for your kitchenaid kucs02frss1 trash compactor! Our free trash compactor diy manuals and videos. A complete guide to your. Kitchenaid Trash Compactor Kucs02Frss1.
From mykitchenimage.blogspot.com
Kitchenaid Trash Compactor Parts Manual Kitchen Inspiration Kitchenaid Trash Compactor Kucs02Frss1 Our free trash compactor diy manuals and videos. We had an earlier kitchen aid trash compactor for 20 years without a hitch. Our free trash compactor diy manuals. Find kitchenaid trash compactor parts using our appliance model lookup system with diagrams. Buy a kitchenaid 1.4 cu. We also have installation guides, diagrams. When using an electrical appliance, basic precautions should. Kitchenaid Trash Compactor Kucs02Frss1.
From www.canadianappliance.ca
KUCS03CTBL KitchenAid Trash Compactor Canada Parts Discontinued Sale Kitchenaid Trash Compactor Kucs02Frss1 Our free trash compactor diy manuals. Buy a kitchenaid 1.4 cu. A complete guide to your kucs02frss1 kitchenaid trash compactor at partselect. Hopefully, we can get it fixed or removed in the next day or two. We also have installation guides, diagrams. When using an electrical appliance, basic precautions should always be followed, including. Our free trash compactor diy manuals. Kitchenaid Trash Compactor Kucs02Frss1.
From schematron.org
Kitchenaid Trash Compactor Parts Diagram Wiring Diagram Pictures Kitchenaid Trash Compactor Kucs02Frss1 Hopefully, we can get it fixed or removed in the next day or two. Our free trash compactor diy manuals and videos. When using an electrical appliance, basic precautions should always be followed, including. A complete guide to your kucs02frss1 kitchenaid trash compactor at partselect. Find kitchenaid trash compactor parts using our appliance model lookup system with diagrams. Find kitchenaid. Kitchenaid Trash Compactor Kucs02Frss1.
From www.pinterest.com
KitchenAid KTTS505ESS BuiltIn Trash Compactor Trash Kitchenaid Trash Compactor Kucs02Frss1 Our free trash compactor diy manuals. A complete guide to your kucs02frss1 kitchenaid trash compactor at partselect. We also have installation guides, diagrams. Find kitchenaid trash compactor control panel parts using our appliance model lookup system with diagrams. Shop oem replacement parts by symptoms or model diagrams for your kitchenaid kucs02frss1 trash compactor! When using an electrical appliance, basic precautions. Kitchenaid Trash Compactor Kucs02Frss1.
From www.pinterest.com
For sale now at RC Willey, this KitchenAid trash compactor makes it Kitchenaid Trash Compactor Kucs02Frss1 Hopefully, we can get it fixed or removed in the next day or two. A complete guide to your kucs02frss1 kitchenaid trash compactor at partselect. Find kitchenaid trash compactor parts using our appliance model lookup system with diagrams. Our free trash compactor diy manuals. When using an electrical appliance, basic precautions should always be followed, including. We had an earlier. Kitchenaid Trash Compactor Kucs02Frss1.
From www.liveauctioneers.com
KitchenAid Superba Trash Compactor Kitchenaid Trash Compactor Kucs02Frss1 Find kitchenaid trash compactor control panel parts using our appliance model lookup system with diagrams. When using an electrical appliance, basic precautions should always be followed, including. A complete guide to your kucs02frss1 kitchenaid trash compactor at partselect. We also have installation guides, diagrams. Hopefully, we can get it fixed or removed in the next day or two. Our free. Kitchenaid Trash Compactor Kucs02Frss1.
From www.partswarehouse.com
KitchenAid KUCS02FRSS1 Trash Compactor Partswarehouse Kitchenaid Trash Compactor Kucs02Frss1 Find kitchenaid trash compactor control panel parts using our appliance model lookup system with diagrams. Our free trash compactor diy manuals and videos. Our free trash compactor diy manuals. We had an earlier kitchen aid trash compactor for 20 years without a hitch. Shop oem replacement parts by symptoms or model diagrams for your kitchenaid kucs02frss1 trash compactor! When using. Kitchenaid Trash Compactor Kucs02Frss1.
From www.rcwilley.com
KitchenAid Builtin Trash Compactor Stainless Steel RC Willey Kitchenaid Trash Compactor Kucs02Frss1 We also have installation guides, diagrams. We had an earlier kitchen aid trash compactor for 20 years without a hitch. When using an electrical appliance, basic precautions should always be followed, including. Buy a kitchenaid 1.4 cu. Our free trash compactor diy manuals and videos. Our free trash compactor diy manuals. A complete guide to your kucs02frss1 kitchenaid trash compactor. Kitchenaid Trash Compactor Kucs02Frss1.
From www.walmart.com
KitchenAid KTTS505ESS Trash compactor stainless steel Kitchenaid Trash Compactor Kucs02Frss1 Our free trash compactor diy manuals. Our free trash compactor diy manuals and videos. Find kitchenaid trash compactor control panel parts using our appliance model lookup system with diagrams. A complete guide to your kucs02frss1 kitchenaid trash compactor at partselect. Shop oem replacement parts by symptoms or model diagrams for your kitchenaid kucs02frss1 trash compactor! We also have installation guides,. Kitchenaid Trash Compactor Kucs02Frss1.
From www.lowes.com
KitchenAid 15in Stainless Steel Trash Compactor in the Trash Kitchenaid Trash Compactor Kucs02Frss1 Find kitchenaid trash compactor parts using our appliance model lookup system with diagrams. We had an earlier kitchen aid trash compactor for 20 years without a hitch. A complete guide to your kucs02frss1 kitchenaid trash compactor at partselect. When using an electrical appliance, basic precautions should always be followed, including. Our free trash compactor diy manuals. Shop oem replacement parts. Kitchenaid Trash Compactor Kucs02Frss1.
From www.peterboroughappliances.com
KitchenAid KTTS505ESS 1.4 Cu. Ft. BuiltIn Trash Compactor Kitchenaid Trash Compactor Kucs02Frss1 We also have installation guides, diagrams. Find kitchenaid trash compactor parts using our appliance model lookup system with diagrams. Our free trash compactor diy manuals. A complete guide to your kucs02frss1 kitchenaid trash compactor at partselect. We had an earlier kitchen aid trash compactor for 20 years without a hitch. Hopefully, we can get it fixed or removed in the. Kitchenaid Trash Compactor Kucs02Frss1.
From deedrasteenkeniec35645.blogspot.com
Kitchenaid Trash Compactor Parts Diagram Ktts505ess0 Trash Compactor Kitchenaid Trash Compactor Kucs02Frss1 Our free trash compactor diy manuals and videos. A complete guide to your kucs02frss1 kitchenaid trash compactor at partselect. When using an electrical appliance, basic precautions should always be followed, including. Find kitchenaid trash compactor parts using our appliance model lookup system with diagrams. Shop oem replacement parts by symptoms or model diagrams for your kitchenaid kucs02frss1 trash compactor! Buy. Kitchenaid Trash Compactor Kucs02Frss1.
From schematron.org
Kitchenaid Trash Compactor Parts Diagram Wiring Diagram Pictures Kitchenaid Trash Compactor Kucs02Frss1 Our free trash compactor diy manuals. When using an electrical appliance, basic precautions should always be followed, including. We had an earlier kitchen aid trash compactor for 20 years without a hitch. Buy a kitchenaid 1.4 cu. Find kitchenaid trash compactor control panel parts using our appliance model lookup system with diagrams. We also have installation guides, diagrams. Our free. Kitchenaid Trash Compactor Kucs02Frss1.
From diagramdatacohen99.s3-website-us-east-1.amazonaws.com
Kitchenaid Trash Compactor Manual Kitchenaid Trash Compactor Kucs02Frss1 We had an earlier kitchen aid trash compactor for 20 years without a hitch. A complete guide to your kucs02frss1 kitchenaid trash compactor at partselect. We also have installation guides, diagrams. Our free trash compactor diy manuals. When using an electrical appliance, basic precautions should always be followed, including. Our free trash compactor diy manuals and videos. Find kitchenaid trash. Kitchenaid Trash Compactor Kucs02Frss1.
From deedrasteenkeniec35645.blogspot.com
Kitchenaid Trash Compactor Parts Diagram Ktts505ess0 Trash Compactor Kitchenaid Trash Compactor Kucs02Frss1 When using an electrical appliance, basic precautions should always be followed, including. Our free trash compactor diy manuals and videos. Find kitchenaid trash compactor control panel parts using our appliance model lookup system with diagrams. We also have installation guides, diagrams. Shop oem replacement parts by symptoms or model diagrams for your kitchenaid kucs02frss1 trash compactor! Our free trash compactor. Kitchenaid Trash Compactor Kucs02Frss1.
From www.sears.com
KitchenAid KUCS03CTSS BuiltIn Compactor Stainless Steel Kitchenaid Trash Compactor Kucs02Frss1 Find kitchenaid trash compactor parts using our appliance model lookup system with diagrams. Our free trash compactor diy manuals. A complete guide to your kucs02frss1 kitchenaid trash compactor at partselect. We had an earlier kitchen aid trash compactor for 20 years without a hitch. We also have installation guides, diagrams. Shop oem replacement parts by symptoms or model diagrams for. Kitchenaid Trash Compactor Kucs02Frss1.
From www.sears.com
KitchenAid Trash Compactor 15 in. KUCK03ITBL Sears Kitchenaid Trash Compactor Kucs02Frss1 Our free trash compactor diy manuals. Find kitchenaid trash compactor parts using our appliance model lookup system with diagrams. We had an earlier kitchen aid trash compactor for 20 years without a hitch. A complete guide to your kucs02frss1 kitchenaid trash compactor at partselect. Shop oem replacement parts by symptoms or model diagrams for your kitchenaid kucs02frss1 trash compactor! Find. Kitchenaid Trash Compactor Kucs02Frss1.
From ambrosiabaking.com
How To Grease A Kitchenaid KUCC151JBS1 Trash Compactor For Optimal Kitchenaid Trash Compactor Kucs02Frss1 Find kitchenaid trash compactor parts using our appliance model lookup system with diagrams. A complete guide to your kucs02frss1 kitchenaid trash compactor at partselect. Shop oem replacement parts by symptoms or model diagrams for your kitchenaid kucs02frss1 trash compactor! When using an electrical appliance, basic precautions should always be followed, including. Find kitchenaid trash compactor control panel parts using our. Kitchenaid Trash Compactor Kucs02Frss1.
From deedrasteenkeniec35645.blogspot.com
Kitchenaid Trash Compactor Parts Diagram Ktts505ess0 Trash Compactor Kitchenaid Trash Compactor Kucs02Frss1 Shop oem replacement parts by symptoms or model diagrams for your kitchenaid kucs02frss1 trash compactor! We had an earlier kitchen aid trash compactor for 20 years without a hitch. When using an electrical appliance, basic precautions should always be followed, including. Buy a kitchenaid 1.4 cu. Hopefully, we can get it fixed or removed in the next day or two.. Kitchenaid Trash Compactor Kucs02Frss1.
From www.lowes.com
KitchenAid 15in Black Undercounter Trash Compactor at Kitchenaid Trash Compactor Kucs02Frss1 A complete guide to your kucs02frss1 kitchenaid trash compactor at partselect. Find kitchenaid trash compactor control panel parts using our appliance model lookup system with diagrams. Buy a kitchenaid 1.4 cu. We had an earlier kitchen aid trash compactor for 20 years without a hitch. When using an electrical appliance, basic precautions should always be followed, including. Our free trash. Kitchenaid Trash Compactor Kucs02Frss1.
From www.leons.ca
KitchenAid Trash Compactor KTTS505EPA Leon's Kitchenaid Trash Compactor Kucs02Frss1 We also have installation guides, diagrams. Hopefully, we can get it fixed or removed in the next day or two. Find kitchenaid trash compactor parts using our appliance model lookup system with diagrams. When using an electrical appliance, basic precautions should always be followed, including. Our free trash compactor diy manuals. Shop oem replacement parts by symptoms or model diagrams. Kitchenaid Trash Compactor Kucs02Frss1.
From www.upcycle-ne.org
KitchenAid Trash Compactor C173 — Upcycle Kitchenaid Trash Compactor Kucs02Frss1 We also have installation guides, diagrams. Our free trash compactor diy manuals and videos. We had an earlier kitchen aid trash compactor for 20 years without a hitch. Our free trash compactor diy manuals. Shop oem replacement parts by symptoms or model diagrams for your kitchenaid kucs02frss1 trash compactor! A complete guide to your kucs02frss1 kitchenaid trash compactor at partselect.. Kitchenaid Trash Compactor Kucs02Frss1.
From deedrasteenkeniec35645.blogspot.com
Kitchenaid Trash Compactor Parts Diagram Ktts505ess0 Trash Compactor Kitchenaid Trash Compactor Kucs02Frss1 Find kitchenaid trash compactor control panel parts using our appliance model lookup system with diagrams. Our free trash compactor diy manuals and videos. Our free trash compactor diy manuals. Buy a kitchenaid 1.4 cu. A complete guide to your kucs02frss1 kitchenaid trash compactor at partselect. We had an earlier kitchen aid trash compactor for 20 years without a hitch. Hopefully,. Kitchenaid Trash Compactor Kucs02Frss1.
From www.savacoolandsons.com
KitchenAid Trash Compactor Model KCCC151JBL0 15W X 25D X 34H Kitchenaid Trash Compactor Kucs02Frss1 Buy a kitchenaid 1.4 cu. We also have installation guides, diagrams. Shop oem replacement parts by symptoms or model diagrams for your kitchenaid kucs02frss1 trash compactor! Our free trash compactor diy manuals. A complete guide to your kucs02frss1 kitchenaid trash compactor at partselect. Find kitchenaid trash compactor parts using our appliance model lookup system with diagrams. Our free trash compactor. Kitchenaid Trash Compactor Kucs02Frss1.
From deedrasteenkeniec35645.blogspot.com
Kitchenaid Trash Compactor Parts Diagram Ktts505ess0 Trash Compactor Kitchenaid Trash Compactor Kucs02Frss1 We had an earlier kitchen aid trash compactor for 20 years without a hitch. Our free trash compactor diy manuals. When using an electrical appliance, basic precautions should always be followed, including. Find kitchenaid trash compactor control panel parts using our appliance model lookup system with diagrams. We also have installation guides, diagrams. Shop oem replacement parts by symptoms or. Kitchenaid Trash Compactor Kucs02Frss1.
From www.ereplacementparts.com
KitchenAid Trash Compactor KUCS02FRSS1 Kitchenaid Trash Compactor Kucs02Frss1 Buy a kitchenaid 1.4 cu. Find kitchenaid trash compactor control panel parts using our appliance model lookup system with diagrams. Find kitchenaid trash compactor parts using our appliance model lookup system with diagrams. Shop oem replacement parts by symptoms or model diagrams for your kitchenaid kucs02frss1 trash compactor! Our free trash compactor diy manuals. When using an electrical appliance, basic. Kitchenaid Trash Compactor Kucs02Frss1.
From www.homedepot.com
KitchenAid 15 in. BuiltIn Trash Compactor in WhiteKTTS505EWH The Kitchenaid Trash Compactor Kucs02Frss1 Find kitchenaid trash compactor control panel parts using our appliance model lookup system with diagrams. Find kitchenaid trash compactor parts using our appliance model lookup system with diagrams. We also have installation guides, diagrams. When using an electrical appliance, basic precautions should always be followed, including. Our free trash compactor diy manuals and videos. Hopefully, we can get it fixed. Kitchenaid Trash Compactor Kucs02Frss1.
From manualzz.com
KitchenAid Trash Compactor Repair Manual Manualzz Kitchenaid Trash Compactor Kucs02Frss1 Hopefully, we can get it fixed or removed in the next day or two. Our free trash compactor diy manuals and videos. Buy a kitchenaid 1.4 cu. Find kitchenaid trash compactor control panel parts using our appliance model lookup system with diagrams. Shop oem replacement parts by symptoms or model diagrams for your kitchenaid kucs02frss1 trash compactor! When using an. Kitchenaid Trash Compactor Kucs02Frss1.
From deedrasteenkeniec35645.blogspot.com
Kitchenaid Trash Compactor Parts Diagram Ktts505ess0 Trash Compactor Kitchenaid Trash Compactor Kucs02Frss1 Find kitchenaid trash compactor control panel parts using our appliance model lookup system with diagrams. Our free trash compactor diy manuals and videos. Hopefully, we can get it fixed or removed in the next day or two. We had an earlier kitchen aid trash compactor for 20 years without a hitch. Find kitchenaid trash compactor parts using our appliance model. Kitchenaid Trash Compactor Kucs02Frss1.
From jumpstarterdiscount.blogspot.com
Kitchenaid Trash Compactor Parts Diagram Wiring Diagram Kitchenaid Trash Compactor Kucs02Frss1 Find kitchenaid trash compactor parts using our appliance model lookup system with diagrams. When using an electrical appliance, basic precautions should always be followed, including. Shop oem replacement parts by symptoms or model diagrams for your kitchenaid kucs02frss1 trash compactor! A complete guide to your kucs02frss1 kitchenaid trash compactor at partselect. Hopefully, we can get it fixed or removed in. Kitchenaid Trash Compactor Kucs02Frss1.
From www.riderbraces.com
Why Is The Trash Compactor's Ram Stuck In The Down, 58 OFF Kitchenaid Trash Compactor Kucs02Frss1 Hopefully, we can get it fixed or removed in the next day or two. We also have installation guides, diagrams. Find kitchenaid trash compactor control panel parts using our appliance model lookup system with diagrams. A complete guide to your kucs02frss1 kitchenaid trash compactor at partselect. We had an earlier kitchen aid trash compactor for 20 years without a hitch.. Kitchenaid Trash Compactor Kucs02Frss1.
From www.pinterest.com
KitchenAid 15" Integrated Panel Ready BuiltIn Trash Compactor for sale Kitchenaid Trash Compactor Kucs02Frss1 Find kitchenaid trash compactor parts using our appliance model lookup system with diagrams. We had an earlier kitchen aid trash compactor for 20 years without a hitch. Find kitchenaid trash compactor control panel parts using our appliance model lookup system with diagrams. Buy a kitchenaid 1.4 cu. Our free trash compactor diy manuals and videos. We also have installation guides,. Kitchenaid Trash Compactor Kucs02Frss1.
From deedrasteenkeniec35645.blogspot.com
Kitchenaid Trash Compactor Parts Diagram Ktts505ess0 Trash Compactor Kitchenaid Trash Compactor Kucs02Frss1 Our free trash compactor diy manuals and videos. Hopefully, we can get it fixed or removed in the next day or two. Buy a kitchenaid 1.4 cu. Find kitchenaid trash compactor control panel parts using our appliance model lookup system with diagrams. Our free trash compactor diy manuals. Shop oem replacement parts by symptoms or model diagrams for your kitchenaid. Kitchenaid Trash Compactor Kucs02Frss1.
From www.homedepot.com
KitchenAid 15 in. BuiltIn Trash Compactor in Stainless Steel Kitchenaid Trash Compactor Kucs02Frss1 Find kitchenaid trash compactor parts using our appliance model lookup system with diagrams. Shop oem replacement parts by symptoms or model diagrams for your kitchenaid kucs02frss1 trash compactor! A complete guide to your kucs02frss1 kitchenaid trash compactor at partselect. When using an electrical appliance, basic precautions should always be followed, including. Our free trash compactor diy manuals and videos. We. Kitchenaid Trash Compactor Kucs02Frss1.