How Does A Dac Circuit Work . Learn how to convert a digital binary number into an analogue output signal using a weighted resistor network and a summing amplifier. See the circuit diagram, transfer characteristic and. Learn about the different types of dac circuits, how they convert digital signals to analog voltages, and their applications in digital signal processing. Learn everything about dac, a device that converts digital audio signals into analog sound waves. In this lesson of the learning circuit, karen discusses digital to analog converters, or dacs. Learn how a dac works, why you. Find out the types, benefits, applications, and how to choose a dac for your audio.
from www.seekic.com
Learn how a dac works, why you. Find out the types, benefits, applications, and how to choose a dac for your audio. Learn everything about dac, a device that converts digital audio signals into analog sound waves. Learn how to convert a digital binary number into an analogue output signal using a weighted resistor network and a summing amplifier. In this lesson of the learning circuit, karen discusses digital to analog converters, or dacs. Learn about the different types of dac circuits, how they convert digital signals to analog voltages, and their applications in digital signal processing. See the circuit diagram, transfer characteristic and.
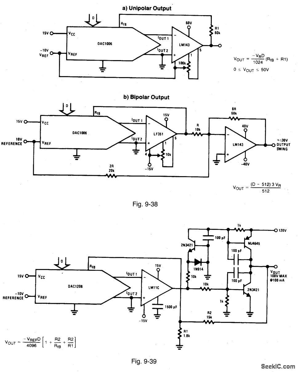
DACs_with_high_voltage_and_high_current_outputs Basic_Circuit
How Does A Dac Circuit Work Learn everything about dac, a device that converts digital audio signals into analog sound waves. See the circuit diagram, transfer characteristic and. Learn everything about dac, a device that converts digital audio signals into analog sound waves. Learn how a dac works, why you. Learn how to convert a digital binary number into an analogue output signal using a weighted resistor network and a summing amplifier. In this lesson of the learning circuit, karen discusses digital to analog converters, or dacs. Learn about the different types of dac circuits, how they convert digital signals to analog voltages, and their applications in digital signal processing. Find out the types, benefits, applications, and how to choose a dac for your audio.
From circuitfever.com
4 bit DAC using opamp Circuit Fever How Does A Dac Circuit Work Learn everything about dac, a device that converts digital audio signals into analog sound waves. Find out the types, benefits, applications, and how to choose a dac for your audio. Learn about the different types of dac circuits, how they convert digital signals to analog voltages, and their applications in digital signal processing. Learn how to convert a digital binary. How Does A Dac Circuit Work.
From www.stozzaudio.com
Demystifying DACs What is a DAC? A Comprehensive Guide for HiFi How Does A Dac Circuit Work Learn how a dac works, why you. In this lesson of the learning circuit, karen discusses digital to analog converters, or dacs. Learn everything about dac, a device that converts digital audio signals into analog sound waves. Find out the types, benefits, applications, and how to choose a dac for your audio. Learn about the different types of dac circuits,. How Does A Dac Circuit Work.
From www.researchgate.net
Simulated DAC Circuit Download Scientific Diagram How Does A Dac Circuit Work See the circuit diagram, transfer characteristic and. Learn how a dac works, why you. Learn how to convert a digital binary number into an analogue output signal using a weighted resistor network and a summing amplifier. Learn about the different types of dac circuits, how they convert digital signals to analog voltages, and their applications in digital signal processing. Find. How Does A Dac Circuit Work.
From www.youtube.com
What is a 1Bit DAC and How Does it Work? YouTube How Does A Dac Circuit Work Find out the types, benefits, applications, and how to choose a dac for your audio. Learn how a dac works, why you. Learn about the different types of dac circuits, how they convert digital signals to analog voltages, and their applications in digital signal processing. In this lesson of the learning circuit, karen discusses digital to analog converters, or dacs.. How Does A Dac Circuit Work.
From www.researchgate.net
Simplified circuit diagram of 8bit CRT DAC Download Scientific Diagram How Does A Dac Circuit Work In this lesson of the learning circuit, karen discusses digital to analog converters, or dacs. Learn how to convert a digital binary number into an analogue output signal using a weighted resistor network and a summing amplifier. Find out the types, benefits, applications, and how to choose a dac for your audio. Learn how a dac works, why you. Learn. How Does A Dac Circuit Work.
From circuitdigest.com
DAC MCP4921 Interfacing with PIC Microcontroller PIC16F877A How Does A Dac Circuit Work Learn everything about dac, a device that converts digital audio signals into analog sound waves. See the circuit diagram, transfer characteristic and. In this lesson of the learning circuit, karen discusses digital to analog converters, or dacs. Find out the types, benefits, applications, and how to choose a dac for your audio. Learn how a dac works, why you. Learn. How Does A Dac Circuit Work.
From www.researchgate.net
PC Interface, ADC/DAC, and Control Circuits Download Scientific Diagram How Does A Dac Circuit Work Learn everything about dac, a device that converts digital audio signals into analog sound waves. Learn how to convert a digital binary number into an analogue output signal using a weighted resistor network and a summing amplifier. Find out the types, benefits, applications, and how to choose a dac for your audio. In this lesson of the learning circuit, karen. How Does A Dac Circuit Work.
From www.youtube.com
Electronic Basics 10 Digital to Analog Converter (DAC) YouTube How Does A Dac Circuit Work Learn everything about dac, a device that converts digital audio signals into analog sound waves. Learn how to convert a digital binary number into an analogue output signal using a weighted resistor network and a summing amplifier. Find out the types, benefits, applications, and how to choose a dac for your audio. In this lesson of the learning circuit, karen. How Does A Dac Circuit Work.
From www.youtube.com
Introduction to ADC and DAC YouTube How Does A Dac Circuit Work Learn how a dac works, why you. Learn about the different types of dac circuits, how they convert digital signals to analog voltages, and their applications in digital signal processing. Learn everything about dac, a device that converts digital audio signals into analog sound waves. In this lesson of the learning circuit, karen discusses digital to analog converters, or dacs.. How Does A Dac Circuit Work.
From slides.com
dac How Does A Dac Circuit Work Learn everything about dac, a device that converts digital audio signals into analog sound waves. Learn about the different types of dac circuits, how they convert digital signals to analog voltages, and their applications in digital signal processing. Learn how a dac works, why you. In this lesson of the learning circuit, karen discusses digital to analog converters, or dacs.. How Does A Dac Circuit Work.
From www.wellpcb.com
Types of DAC: Basics on Digital to Analog Converter ICS How Does A Dac Circuit Work Learn how to convert a digital binary number into an analogue output signal using a weighted resistor network and a summing amplifier. In this lesson of the learning circuit, karen discusses digital to analog converters, or dacs. Learn how a dac works, why you. Learn about the different types of dac circuits, how they convert digital signals to analog voltages,. How Does A Dac Circuit Work.
From www.headphonesty.com
The Beginner Audiophile’s Guide to DACs and Why You Need One Headphonesty How Does A Dac Circuit Work Learn how to convert a digital binary number into an analogue output signal using a weighted resistor network and a summing amplifier. Find out the types, benefits, applications, and how to choose a dac for your audio. Learn everything about dac, a device that converts digital audio signals into analog sound waves. See the circuit diagram, transfer characteristic and. In. How Does A Dac Circuit Work.
From www.seekic.com
DACs_with_high_voltage_and_high_current_outputs Basic_Circuit How Does A Dac Circuit Work Learn how to convert a digital binary number into an analogue output signal using a weighted resistor network and a summing amplifier. Learn everything about dac, a device that converts digital audio signals into analog sound waves. Learn about the different types of dac circuits, how they convert digital signals to analog voltages, and their applications in digital signal processing.. How Does A Dac Circuit Work.
From www.instructables.com
How to Use an IC DAC 6 Steps Instructables How Does A Dac Circuit Work See the circuit diagram, transfer characteristic and. Learn about the different types of dac circuits, how they convert digital signals to analog voltages, and their applications in digital signal processing. Learn how to convert a digital binary number into an analogue output signal using a weighted resistor network and a summing amplifier. In this lesson of the learning circuit, karen. How Does A Dac Circuit Work.
From robhosking.com
13+ Dac Circuit Diagram Robhosking Diagram How Does A Dac Circuit Work In this lesson of the learning circuit, karen discusses digital to analog converters, or dacs. Find out the types, benefits, applications, and how to choose a dac for your audio. See the circuit diagram, transfer characteristic and. Learn everything about dac, a device that converts digital audio signals into analog sound waves. Learn how a dac works, why you. Learn. How Does A Dac Circuit Work.
From wiringdiagramcambering.z21.web.core.windows.net
Digital And Analog Diagram How Does A Dac Circuit Work Learn everything about dac, a device that converts digital audio signals into analog sound waves. Learn how to convert a digital binary number into an analogue output signal using a weighted resistor network and a summing amplifier. Find out the types, benefits, applications, and how to choose a dac for your audio. Learn about the different types of dac circuits,. How Does A Dac Circuit Work.
From www.caretxdigital.com
dac circuit diagram Wiring Diagram and Schematics How Does A Dac Circuit Work Find out the types, benefits, applications, and how to choose a dac for your audio. Learn everything about dac, a device that converts digital audio signals into analog sound waves. Learn how a dac works, why you. See the circuit diagram, transfer characteristic and. Learn about the different types of dac circuits, how they convert digital signals to analog voltages,. How Does A Dac Circuit Work.
From e2e.ti.com
Generating pulsewidth modulation signals with smart DACs Analog How Does A Dac Circuit Work In this lesson of the learning circuit, karen discusses digital to analog converters, or dacs. Learn about the different types of dac circuits, how they convert digital signals to analog voltages, and their applications in digital signal processing. Learn how to convert a digital binary number into an analogue output signal using a weighted resistor network and a summing amplifier.. How Does A Dac Circuit Work.
From guidefixnengceboro.z4.web.core.windows.net
R 2r Ladder Dac How Does A Dac Circuit Work See the circuit diagram, transfer characteristic and. Learn how a dac works, why you. In this lesson of the learning circuit, karen discusses digital to analog converters, or dacs. Find out the types, benefits, applications, and how to choose a dac for your audio. Learn how to convert a digital binary number into an analogue output signal using a weighted. How Does A Dac Circuit Work.
From www.youtube.com
How Do DACs Work? The Learning Circuit YouTube How Does A Dac Circuit Work In this lesson of the learning circuit, karen discusses digital to analog converters, or dacs. Find out the types, benefits, applications, and how to choose a dac for your audio. Learn everything about dac, a device that converts digital audio signals into analog sound waves. Learn how to convert a digital binary number into an analogue output signal using a. How Does A Dac Circuit Work.
From fixdiagramavelina.z19.web.core.windows.net
8 Bit Dac Circuit Diagram How Does A Dac Circuit Work Learn everything about dac, a device that converts digital audio signals into analog sound waves. Learn about the different types of dac circuits, how they convert digital signals to analog voltages, and their applications in digital signal processing. Learn how to convert a digital binary number into an analogue output signal using a weighted resistor network and a summing amplifier.. How Does A Dac Circuit Work.
From www.youtube.com
Circuit Analysis of DAC YouTube How Does A Dac Circuit Work Learn how to convert a digital binary number into an analogue output signal using a weighted resistor network and a summing amplifier. See the circuit diagram, transfer characteristic and. Find out the types, benefits, applications, and how to choose a dac for your audio. Learn everything about dac, a device that converts digital audio signals into analog sound waves. Learn. How Does A Dac Circuit Work.
From www.diyaudio.com
Building the ultimate NOS DAC using TDA1541A Page 643 diyAudio How Does A Dac Circuit Work See the circuit diagram, transfer characteristic and. Find out the types, benefits, applications, and how to choose a dac for your audio. Learn about the different types of dac circuits, how they convert digital signals to analog voltages, and their applications in digital signal processing. Learn how to convert a digital binary number into an analogue output signal using a. How Does A Dac Circuit Work.
From www.soundguys.com
Do you need a DAC? SoundGuys How Does A Dac Circuit Work In this lesson of the learning circuit, karen discusses digital to analog converters, or dacs. Learn about the different types of dac circuits, how they convert digital signals to analog voltages, and their applications in digital signal processing. See the circuit diagram, transfer characteristic and. Learn how to convert a digital binary number into an analogue output signal using a. How Does A Dac Circuit Work.
From manuallibcorals.z13.web.core.windows.net
1 Bit Dac Schematic How Does A Dac Circuit Work Learn how a dac works, why you. In this lesson of the learning circuit, karen discusses digital to analog converters, or dacs. Learn about the different types of dac circuits, how they convert digital signals to analog voltages, and their applications in digital signal processing. Find out the types, benefits, applications, and how to choose a dac for your audio.. How Does A Dac Circuit Work.
From blog.faradars.org
مبدل دیجیتال به آنالوگ (DAC) — راهنمای جامع فرادرس مجله How Does A Dac Circuit Work Learn everything about dac, a device that converts digital audio signals into analog sound waves. Learn how a dac works, why you. Find out the types, benefits, applications, and how to choose a dac for your audio. Learn about the different types of dac circuits, how they convert digital signals to analog voltages, and their applications in digital signal processing.. How Does A Dac Circuit Work.
From www.electricaltechnology.org
Digital to Analog Converter (DAC) Types, Working & Applications How Does A Dac Circuit Work Learn how a dac works, why you. See the circuit diagram, transfer characteristic and. Learn how to convert a digital binary number into an analogue output signal using a weighted resistor network and a summing amplifier. In this lesson of the learning circuit, karen discusses digital to analog converters, or dacs. Find out the types, benefits, applications, and how to. How Does A Dac Circuit Work.
From fixenginescantily.z19.web.core.windows.net
R 2r Ladder Dac Circuit Diagram How Does A Dac Circuit Work Learn how a dac works, why you. See the circuit diagram, transfer characteristic and. Find out the types, benefits, applications, and how to choose a dac for your audio. Learn how to convert a digital binary number into an analogue output signal using a weighted resistor network and a summing amplifier. Learn about the different types of dac circuits, how. How Does A Dac Circuit Work.
From www.electricity-magnetism.org
How do DACs work in a circuit? How Does A Dac Circuit Work Learn everything about dac, a device that converts digital audio signals into analog sound waves. Learn how to convert a digital binary number into an analogue output signal using a weighted resistor network and a summing amplifier. Learn about the different types of dac circuits, how they convert digital signals to analog voltages, and their applications in digital signal processing.. How Does A Dac Circuit Work.
From www.researchgate.net
Circuit Diagram of 4bit DCTSC DAC Download Scientific Diagram How Does A Dac Circuit Work In this lesson of the learning circuit, karen discusses digital to analog converters, or dacs. Learn how a dac works, why you. See the circuit diagram, transfer characteristic and. Learn about the different types of dac circuits, how they convert digital signals to analog voltages, and their applications in digital signal processing. Learn everything about dac, a device that converts. How Does A Dac Circuit Work.
From www.audiostance.com
What is a DAC and how do they work? • Audiostance How Does A Dac Circuit Work Learn about the different types of dac circuits, how they convert digital signals to analog voltages, and their applications in digital signal processing. Learn how to convert a digital binary number into an analogue output signal using a weighted resistor network and a summing amplifier. In this lesson of the learning circuit, karen discusses digital to analog converters, or dacs.. How Does A Dac Circuit Work.
From microcontrollerslab.com
Binary Weighted Resistor DAC How Does A Dac Circuit Work See the circuit diagram, transfer characteristic and. Find out the types, benefits, applications, and how to choose a dac for your audio. Learn everything about dac, a device that converts digital audio signals into analog sound waves. In this lesson of the learning circuit, karen discusses digital to analog converters, or dacs. Learn how to convert a digital binary number. How Does A Dac Circuit Work.
From www.researchgate.net
A 4b cascade weight capacitance DAC circuit. Download Scientific Diagram How Does A Dac Circuit Work In this lesson of the learning circuit, karen discusses digital to analog converters, or dacs. Learn how to convert a digital binary number into an analogue output signal using a weighted resistor network and a summing amplifier. Find out the types, benefits, applications, and how to choose a dac for your audio. See the circuit diagram, transfer characteristic and. Learn. How Does A Dac Circuit Work.
From guideassolantaal.z14.web.core.windows.net
R2r Ladder Dac Pdf How Does A Dac Circuit Work Learn about the different types of dac circuits, how they convert digital signals to analog voltages, and their applications in digital signal processing. See the circuit diagram, transfer characteristic and. Learn everything about dac, a device that converts digital audio signals into analog sound waves. In this lesson of the learning circuit, karen discusses digital to analog converters, or dacs.. How Does A Dac Circuit Work.
From www.headphonesty.com
The Beginner Audiophile’s Guide to DACs and Why You Need One Headphonesty How Does A Dac Circuit Work Learn about the different types of dac circuits, how they convert digital signals to analog voltages, and their applications in digital signal processing. In this lesson of the learning circuit, karen discusses digital to analog converters, or dacs. Learn everything about dac, a device that converts digital audio signals into analog sound waves. Find out the types, benefits, applications, and. How Does A Dac Circuit Work.