How Does A 3 Phase Motor Brake Work . We go over the step by step process to change an electric brake on a 3 phase motor. Working principle of three phase induction motors. This is an efficient and effective method of braking most ac motors. This magnetic field induces a. A brake rectifier is used in a motor control circuit to provide a dc voltage to the brake coil when the motor is stopped. The brake rectifier helps to slow down and stop the motor quickly,. Dc injection braking is a method of braking in which direct current (dc) is applied to the stationary windings of an ac motor after the ac voltage is removed.
from www.electricaltechnology.org
Working principle of three phase induction motors. This magnetic field induces a. Dc injection braking is a method of braking in which direct current (dc) is applied to the stationary windings of an ac motor after the ac voltage is removed. A brake rectifier is used in a motor control circuit to provide a dc voltage to the brake coil when the motor is stopped. This is an efficient and effective method of braking most ac motors. We go over the step by step process to change an electric brake on a 3 phase motor. The brake rectifier helps to slow down and stop the motor quickly,.
What happens if You Connect a 3Φ Motor to 1Phase Supply?
How Does A 3 Phase Motor Brake Work A brake rectifier is used in a motor control circuit to provide a dc voltage to the brake coil when the motor is stopped. Dc injection braking is a method of braking in which direct current (dc) is applied to the stationary windings of an ac motor after the ac voltage is removed. Working principle of three phase induction motors. This is an efficient and effective method of braking most ac motors. This magnetic field induces a. The brake rectifier helps to slow down and stop the motor quickly,. We go over the step by step process to change an electric brake on a 3 phase motor. A brake rectifier is used in a motor control circuit to provide a dc voltage to the brake coil when the motor is stopped.
From www.nerimotori.com
Self (DCAC) brake threephase motors Neri Motori S.R.L. How Does A 3 Phase Motor Brake Work This is an efficient and effective method of braking most ac motors. The brake rectifier helps to slow down and stop the motor quickly,. This magnetic field induces a. Dc injection braking is a method of braking in which direct current (dc) is applied to the stationary windings of an ac motor after the ac voltage is removed. We go. How Does A 3 Phase Motor Brake Work.
From www.youtube.com
How to make 3 Phase Motor in Start and Stop Wiring Diagram stop start How Does A 3 Phase Motor Brake Work We go over the step by step process to change an electric brake on a 3 phase motor. A brake rectifier is used in a motor control circuit to provide a dc voltage to the brake coil when the motor is stopped. Dc injection braking is a method of braking in which direct current (dc) is applied to the stationary. How Does A 3 Phase Motor Brake Work.
From exyzaklwg.blob.core.windows.net
Electric Motor Brake Wiring Diagram at Doris Bravo blog How Does A 3 Phase Motor Brake Work The brake rectifier helps to slow down and stop the motor quickly,. Working principle of three phase induction motors. We go over the step by step process to change an electric brake on a 3 phase motor. This is an efficient and effective method of braking most ac motors. This magnetic field induces a. Dc injection braking is a method. How Does A 3 Phase Motor Brake Work.
From tech-center-eg.com
ThreePhase And ThreePhase Brake Motors Technology Center How Does A 3 Phase Motor Brake Work Working principle of three phase induction motors. We go over the step by step process to change an electric brake on a 3 phase motor. This magnetic field induces a. Dc injection braking is a method of braking in which direct current (dc) is applied to the stationary windings of an ac motor after the ac voltage is removed. This. How Does A 3 Phase Motor Brake Work.
From www.electricaltechnology.org
Three Phase Induction Motor Types, Working, and Applications How Does A 3 Phase Motor Brake Work We go over the step by step process to change an electric brake on a 3 phase motor. The brake rectifier helps to slow down and stop the motor quickly,. Dc injection braking is a method of braking in which direct current (dc) is applied to the stationary windings of an ac motor after the ac voltage is removed. This. How Does A 3 Phase Motor Brake Work.
From webmotor.org
What Is A 3 Phase Motor Wiring How Does A 3 Phase Motor Brake Work This is an efficient and effective method of braking most ac motors. This magnetic field induces a. Working principle of three phase induction motors. A brake rectifier is used in a motor control circuit to provide a dc voltage to the brake coil when the motor is stopped. We go over the step by step process to change an electric. How Does A 3 Phase Motor Brake Work.
From www.youtube.com
How Does three phase Induction Motor works (construction and working How Does A 3 Phase Motor Brake Work This magnetic field induces a. Working principle of three phase induction motors. The brake rectifier helps to slow down and stop the motor quickly,. We go over the step by step process to change an electric brake on a 3 phase motor. This is an efficient and effective method of braking most ac motors. A brake rectifier is used in. How Does A 3 Phase Motor Brake Work.
From www.youtube.com
Motor brake rectifier connection diagram Engineers CommonRoom How Does A 3 Phase Motor Brake Work The brake rectifier helps to slow down and stop the motor quickly,. Working principle of three phase induction motors. We go over the step by step process to change an electric brake on a 3 phase motor. A brake rectifier is used in a motor control circuit to provide a dc voltage to the brake coil when the motor is. How Does A 3 Phase Motor Brake Work.
From www.waylead.com.cn
What are the different types of threephase motors, and what are their How Does A 3 Phase Motor Brake Work The brake rectifier helps to slow down and stop the motor quickly,. This is an efficient and effective method of braking most ac motors. Dc injection braking is a method of braking in which direct current (dc) is applied to the stationary windings of an ac motor after the ac voltage is removed. We go over the step by step. How Does A 3 Phase Motor Brake Work.
From www.clutch-brake.net
Brake Motor Induction Brake Motor 3 Phase Manufacturer from Mumbai How Does A 3 Phase Motor Brake Work A brake rectifier is used in a motor control circuit to provide a dc voltage to the brake coil when the motor is stopped. Working principle of three phase induction motors. The brake rectifier helps to slow down and stop the motor quickly,. This is an efficient and effective method of braking most ac motors. Dc injection braking is a. How Does A 3 Phase Motor Brake Work.
From www.youtube.com
Braking of Three Phase Induction Motor Part2 YouTube How Does A 3 Phase Motor Brake Work A brake rectifier is used in a motor control circuit to provide a dc voltage to the brake coil when the motor is stopped. Working principle of three phase induction motors. We go over the step by step process to change an electric brake on a 3 phase motor. This is an efficient and effective method of braking most ac. How Does A 3 Phase Motor Brake Work.
From circuitlibmorrow.z13.web.core.windows.net
Three Phase Electric Motors Work How Does A 3 Phase Motor Brake Work Working principle of three phase induction motors. Dc injection braking is a method of braking in which direct current (dc) is applied to the stationary windings of an ac motor after the ac voltage is removed. This magnetic field induces a. This is an efficient and effective method of braking most ac motors. A brake rectifier is used in a. How Does A 3 Phase Motor Brake Work.
From www.motovario.com
Products, Threephase and threephase brake motors TS/TH/TP/TBS/TBH/TBP How Does A 3 Phase Motor Brake Work A brake rectifier is used in a motor control circuit to provide a dc voltage to the brake coil when the motor is stopped. This magnetic field induces a. The brake rectifier helps to slow down and stop the motor quickly,. Working principle of three phase induction motors. Dc injection braking is a method of braking in which direct current. How Does A 3 Phase Motor Brake Work.
From www.bernati.com
Three Phase DC brake IEC Electric Motors How Does A 3 Phase Motor Brake Work We go over the step by step process to change an electric brake on a 3 phase motor. Working principle of three phase induction motors. A brake rectifier is used in a motor control circuit to provide a dc voltage to the brake coil when the motor is stopped. The brake rectifier helps to slow down and stop the motor. How Does A 3 Phase Motor Brake Work.
From www.indiamart.com
Three Phase Siemens Brake Motors, Voltage 415 V ID 16657576788 How Does A 3 Phase Motor Brake Work This is an efficient and effective method of braking most ac motors. The brake rectifier helps to slow down and stop the motor quickly,. A brake rectifier is used in a motor control circuit to provide a dc voltage to the brake coil when the motor is stopped. We go over the step by step process to change an electric. How Does A 3 Phase Motor Brake Work.
From www.electricaltechnology.org
What happens if You Connect a 3Φ Motor to 1Phase Supply? How Does A 3 Phase Motor Brake Work A brake rectifier is used in a motor control circuit to provide a dc voltage to the brake coil when the motor is stopped. We go over the step by step process to change an electric brake on a 3 phase motor. Working principle of three phase induction motors. This is an efficient and effective method of braking most ac. How Does A 3 Phase Motor Brake Work.
From quizlet.com
Threephase asynchronous brake motor Diagram Quizlet How Does A 3 Phase Motor Brake Work Dc injection braking is a method of braking in which direct current (dc) is applied to the stationary windings of an ac motor after the ac voltage is removed. A brake rectifier is used in a motor control circuit to provide a dc voltage to the brake coil when the motor is stopped. This is an efficient and effective method. How Does A 3 Phase Motor Brake Work.
From www.qizhimotor.com
How a Three Phase Motor Works ZHEJIANG QIZHI MOTOR CO., LTD. How Does A 3 Phase Motor Brake Work Working principle of three phase induction motors. A brake rectifier is used in a motor control circuit to provide a dc voltage to the brake coil when the motor is stopped. Dc injection braking is a method of braking in which direct current (dc) is applied to the stationary windings of an ac motor after the ac voltage is removed.. How Does A 3 Phase Motor Brake Work.
From www.xinnuomotor.com
Peças do motor trifásico Um guia completo How Does A 3 Phase Motor Brake Work This is an efficient and effective method of braking most ac motors. We go over the step by step process to change an electric brake on a 3 phase motor. This magnetic field induces a. Dc injection braking is a method of braking in which direct current (dc) is applied to the stationary windings of an ac motor after the. How Does A 3 Phase Motor Brake Work.
From www.motovario.com
Threephase and threephase brake motors TS/TH/TP/TBS/TBH/TBP How Does A 3 Phase Motor Brake Work We go over the step by step process to change an electric brake on a 3 phase motor. This magnetic field induces a. This is an efficient and effective method of braking most ac motors. Working principle of three phase induction motors. The brake rectifier helps to slow down and stop the motor quickly,. Dc injection braking is a method. How Does A 3 Phase Motor Brake Work.
From www.betech.co.uk
Three Phase Brake Motors, Motovario Betech How Does A 3 Phase Motor Brake Work This magnetic field induces a. Dc injection braking is a method of braking in which direct current (dc) is applied to the stationary windings of an ac motor after the ac voltage is removed. This is an efficient and effective method of braking most ac motors. A brake rectifier is used in a motor control circuit to provide a dc. How Does A 3 Phase Motor Brake Work.
From electricalmotor.net
Three Phase Motor What Is It and How Does It Work? How Does A 3 Phase Motor Brake Work We go over the step by step process to change an electric brake on a 3 phase motor. This magnetic field induces a. This is an efficient and effective method of braking most ac motors. Working principle of three phase induction motors. A brake rectifier is used in a motor control circuit to provide a dc voltage to the brake. How Does A 3 Phase Motor Brake Work.
From maintenanceskill.com
How 3 Phase Motor Control Circuit Works How Does A 3 Phase Motor Brake Work This magnetic field induces a. We go over the step by step process to change an electric brake on a 3 phase motor. The brake rectifier helps to slow down and stop the motor quickly,. Dc injection braking is a method of braking in which direct current (dc) is applied to the stationary windings of an ac motor after the. How Does A 3 Phase Motor Brake Work.
From acdcdrives.co.uk
0.75KW 4 Pole 3 Phase DC Brake Motor ACDC Drives How Does A 3 Phase Motor Brake Work Dc injection braking is a method of braking in which direct current (dc) is applied to the stationary windings of an ac motor after the ac voltage is removed. Working principle of three phase induction motors. This magnetic field induces a. This is an efficient and effective method of braking most ac motors. We go over the step by step. How Does A 3 Phase Motor Brake Work.
From inspectapedia.com
3Phase Electric Motor Selection Guide How Does A 3 Phase Motor Brake Work We go over the step by step process to change an electric brake on a 3 phase motor. The brake rectifier helps to slow down and stop the motor quickly,. Dc injection braking is a method of braking in which direct current (dc) is applied to the stationary windings of an ac motor after the ac voltage is removed. This. How Does A 3 Phase Motor Brake Work.
From www.youtube.com
How To Make 3 phase motor wiring diagram 3 phase motor connection How Does A 3 Phase Motor Brake Work Dc injection braking is a method of braking in which direct current (dc) is applied to the stationary windings of an ac motor after the ac voltage is removed. This is an efficient and effective method of braking most ac motors. A brake rectifier is used in a motor control circuit to provide a dc voltage to the brake coil. How Does A 3 Phase Motor Brake Work.
From wiringall.com
How to Wire a 3 Phase Motor Brake How Does A 3 Phase Motor Brake Work Dc injection braking is a method of braking in which direct current (dc) is applied to the stationary windings of an ac motor after the ac voltage is removed. The brake rectifier helps to slow down and stop the motor quickly,. A brake rectifier is used in a motor control circuit to provide a dc voltage to the brake coil. How Does A 3 Phase Motor Brake Work.
From www.seekic.com
Threephase motor braking circuit 1 Basic_Circuit Circuit Diagram How Does A 3 Phase Motor Brake Work Working principle of three phase induction motors. The brake rectifier helps to slow down and stop the motor quickly,. This is an efficient and effective method of braking most ac motors. We go over the step by step process to change an electric brake on a 3 phase motor. This magnetic field induces a. Dc injection braking is a method. How Does A 3 Phase Motor Brake Work.
From www.scribd.com
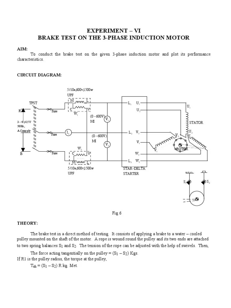
Brake Test on the 3Phase Induction Motor Electric Motor Power How Does A 3 Phase Motor Brake Work We go over the step by step process to change an electric brake on a 3 phase motor. A brake rectifier is used in a motor control circuit to provide a dc voltage to the brake coil when the motor is stopped. Working principle of three phase induction motors. Dc injection braking is a method of braking in which direct. How Does A 3 Phase Motor Brake Work.
From www.youtube.com
How to Make Three Phase Motor With Single Phase Wiring Diagram Motor How Does A 3 Phase Motor Brake Work Dc injection braking is a method of braking in which direct current (dc) is applied to the stationary windings of an ac motor after the ac voltage is removed. A brake rectifier is used in a motor control circuit to provide a dc voltage to the brake coil when the motor is stopped. This magnetic field induces a. The brake. How Does A 3 Phase Motor Brake Work.
From tech-center-eg.com
ThreePhase And ThreePhase Brake Motors Technology Center How Does A 3 Phase Motor Brake Work Dc injection braking is a method of braking in which direct current (dc) is applied to the stationary windings of an ac motor after the ac voltage is removed. This is an efficient and effective method of braking most ac motors. The brake rectifier helps to slow down and stop the motor quickly,. Working principle of three phase induction motors.. How Does A 3 Phase Motor Brake Work.
From circuitlistandy.z21.web.core.windows.net
3 Phase Brake Wiring How Does A 3 Phase Motor Brake Work This magnetic field induces a. A brake rectifier is used in a motor control circuit to provide a dc voltage to the brake coil when the motor is stopped. Working principle of three phase induction motors. This is an efficient and effective method of braking most ac motors. We go over the step by step process to change an electric. How Does A 3 Phase Motor Brake Work.
From www.motovario.com
Threephase and threephase brake motors TS/TH/TP/TBS/TBH/TBP How Does A 3 Phase Motor Brake Work Working principle of three phase induction motors. A brake rectifier is used in a motor control circuit to provide a dc voltage to the brake coil when the motor is stopped. We go over the step by step process to change an electric brake on a 3 phase motor. Dc injection braking is a method of braking in which direct. How Does A 3 Phase Motor Brake Work.
From www.youtube.com
Sew Euro Drive 3 Phase motor Brake Coil Connection YouTube How Does A 3 Phase Motor Brake Work This magnetic field induces a. A brake rectifier is used in a motor control circuit to provide a dc voltage to the brake coil when the motor is stopped. Dc injection braking is a method of braking in which direct current (dc) is applied to the stationary windings of an ac motor after the ac voltage is removed. Working principle. How Does A 3 Phase Motor Brake Work.
From www.motovario.com
Products, Threephase and threephase brake motors TS/TH/TP/TBS/TBH/TBP How Does A 3 Phase Motor Brake Work This is an efficient and effective method of braking most ac motors. A brake rectifier is used in a motor control circuit to provide a dc voltage to the brake coil when the motor is stopped. The brake rectifier helps to slow down and stop the motor quickly,. We go over the step by step process to change an electric. How Does A 3 Phase Motor Brake Work.