Oil Pan Or Timing Cover First . Just got my 350 76 block engine rebuilt, dyno last week. The lower section of the timing chain cover intersects the oil pan, with a rubber seal sandwiched in between cover and pan. I installed the new timing cover gasket and cover. Timing cover first, then oil pan. I am ready to assemble and alldata diy calls for rtv or anerobic gasket sealant to be used for the oil pan an timing chain cover. First, make sure the oil pan rails are good and straight and the pan bolt holes are not crushed in. The thick seal protrudes above the timing cover. Though it’s more work, you’ll get better results dropping the oil pan, installing the timing cover first, and reinstalling the pan with a new gasket. Is the use of the thick vs thin seal determined by the timing cover or the oil pan?. How can i fix this? Small leak between oil pan and timing cover at the dyno. However, there are a few tips along the way. And a bead of good rtv in the seam. In the process of replacing a leaky timing cover gasket and upper oil pan gasket.
from www.dieselplace.com
The thick seal protrudes above the timing cover. In the process of replacing a leaky timing cover gasket and upper oil pan gasket. The lower section of the timing chain cover intersects the oil pan, with a rubber seal sandwiched in between cover and pan. First, make sure the oil pan rails are good and straight and the pan bolt holes are not crushed in. Just got my 350 76 block engine rebuilt, dyno last week. Is the use of the thick vs thin seal determined by the timing cover or the oil pan?. However, there are a few tips along the way. I am ready to assemble and alldata diy calls for rtv or anerobic gasket sealant to be used for the oil pan an timing chain cover. And a bead of good rtv in the seam. How can i fix this?
FOR SALE 6.5 rods and pistons, oil pan, timing cover Diesel Place
Oil Pan Or Timing Cover First Is the use of the thick vs thin seal determined by the timing cover or the oil pan?. First, make sure the oil pan rails are good and straight and the pan bolt holes are not crushed in. Timing cover first, then oil pan. In the process of replacing a leaky timing cover gasket and upper oil pan gasket. And a bead of good rtv in the seam. How can i fix this? However, there are a few tips along the way. I am ready to assemble and alldata diy calls for rtv or anerobic gasket sealant to be used for the oil pan an timing chain cover. Is the use of the thick vs thin seal determined by the timing cover or the oil pan?. Just got my 350 76 block engine rebuilt, dyno last week. Small leak between oil pan and timing cover at the dyno. The thick seal protrudes above the timing cover. I installed the new timing cover gasket and cover. Though it’s more work, you’ll get better results dropping the oil pan, installing the timing cover first, and reinstalling the pan with a new gasket. The lower section of the timing chain cover intersects the oil pan, with a rubber seal sandwiched in between cover and pan.
From www.zoomzoomnationparts.com
Diagram OIL PAN & TIMING COVER for your Mazda Oil Pan Or Timing Cover First I installed the new timing cover gasket and cover. The thick seal protrudes above the timing cover. Just got my 350 76 block engine rebuilt, dyno last week. However, there are a few tips along the way. The lower section of the timing chain cover intersects the oil pan, with a rubber seal sandwiched in between cover and pan. Small. Oil Pan Or Timing Cover First.
From www.dieselplace.com
FOR SALE 6.5 rods and pistons, oil pan, timing cover Diesel Place Oil Pan Or Timing Cover First First, make sure the oil pan rails are good and straight and the pan bolt holes are not crushed in. Though it’s more work, you’ll get better results dropping the oil pan, installing the timing cover first, and reinstalling the pan with a new gasket. How can i fix this? The lower section of the timing chain cover intersects the. Oil Pan Or Timing Cover First.
From www.instructables.com
A Beginner's Guide to Engine Rebuilding 9 Steps (with Pictures Oil Pan Or Timing Cover First I installed the new timing cover gasket and cover. In the process of replacing a leaky timing cover gasket and upper oil pan gasket. And a bead of good rtv in the seam. Just got my 350 76 block engine rebuilt, dyno last week. Though it’s more work, you’ll get better results dropping the oil pan, installing the timing cover. Oil Pan Or Timing Cover First.
From www.instructables.com
A Beginner's Guide to Engine Rebuilding 9 Steps (with Pictures Oil Pan Or Timing Cover First Though it’s more work, you’ll get better results dropping the oil pan, installing the timing cover first, and reinstalling the pan with a new gasket. And a bead of good rtv in the seam. Is the use of the thick vs thin seal determined by the timing cover or the oil pan?. Small leak between oil pan and timing cover. Oil Pan Or Timing Cover First.
From www.youtube.com
Pontiac 455 Oil Pan and Timing Chain cover Install YouTube Oil Pan Or Timing Cover First The thick seal protrudes above the timing cover. However, there are a few tips along the way. Small leak between oil pan and timing cover at the dyno. Timing cover first, then oil pan. I am ready to assemble and alldata diy calls for rtv or anerobic gasket sealant to be used for the oil pan an timing chain cover.. Oil Pan Or Timing Cover First.
From www.amayama.com
Oil pan & timing cover (2500cc) for Mazda Titan Amayama Oil Pan Or Timing Cover First In the process of replacing a leaky timing cover gasket and upper oil pan gasket. I installed the new timing cover gasket and cover. The lower section of the timing chain cover intersects the oil pan, with a rubber seal sandwiched in between cover and pan. Just got my 350 76 block engine rebuilt, dyno last week. However, there are. Oil Pan Or Timing Cover First.
From www.speedwaymotors.com
196590 Big Block Chevy Chrome Oil Pan & Timing Cover Oil Pan Or Timing Cover First I am ready to assemble and alldata diy calls for rtv or anerobic gasket sealant to be used for the oil pan an timing chain cover. First, make sure the oil pan rails are good and straight and the pan bolt holes are not crushed in. Though it’s more work, you’ll get better results dropping the oil pan, installing the. Oil Pan Or Timing Cover First.
From www.offshoreonly.com
Aluminum Valve Covers , Steal Oil pan , timing cover Oil Pan Or Timing Cover First Just got my 350 76 block engine rebuilt, dyno last week. I am ready to assemble and alldata diy calls for rtv or anerobic gasket sealant to be used for the oil pan an timing chain cover. And a bead of good rtv in the seam. How can i fix this? Though it’s more work, you’ll get better results dropping. Oil Pan Or Timing Cover First.
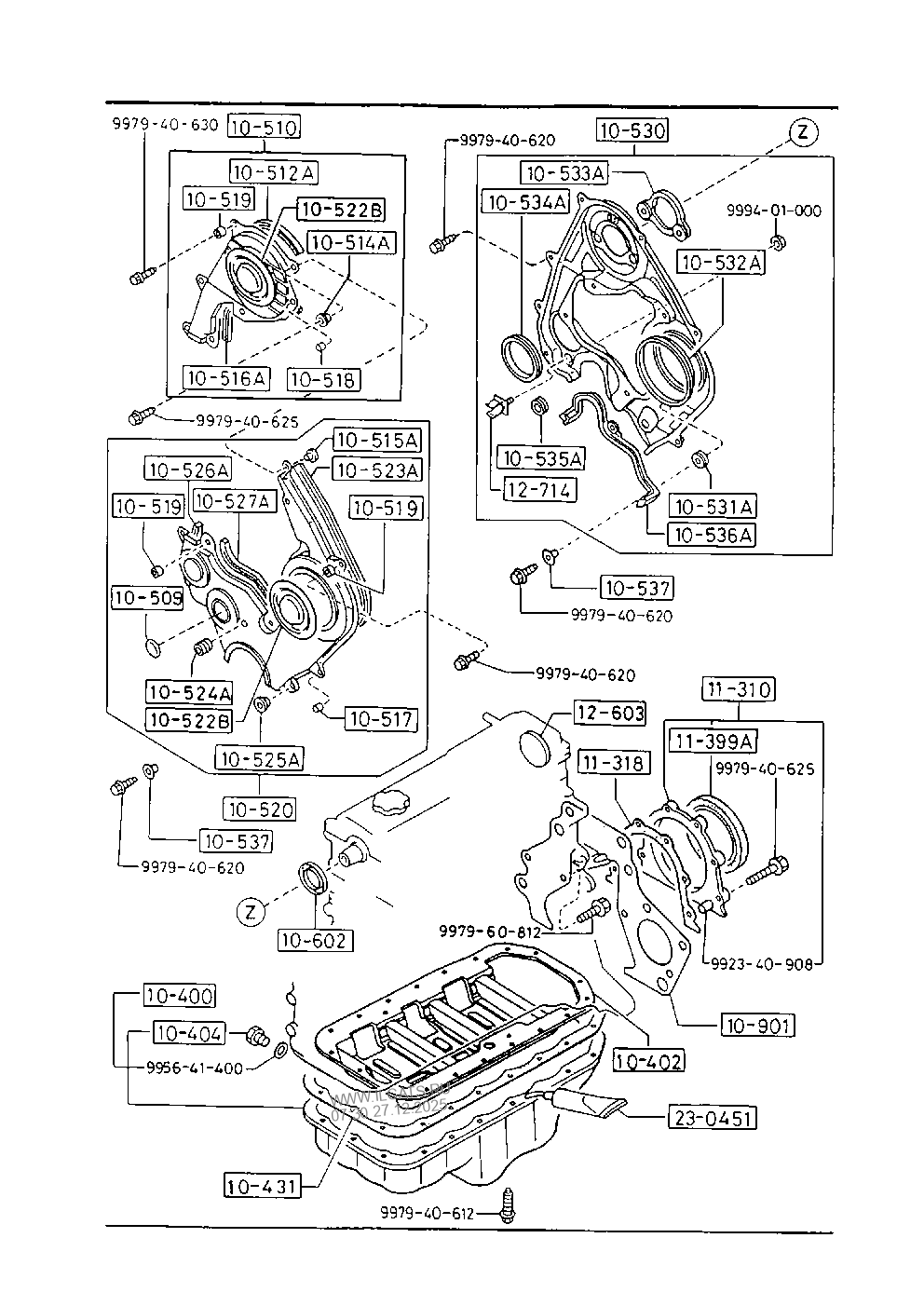
From www.ilcats.ru
OIL PAN & TIMING COVER (DIESEL) MAZDA B1600 Oil Pan Or Timing Cover First I am ready to assemble and alldata diy calls for rtv or anerobic gasket sealant to be used for the oil pan an timing chain cover. Though it’s more work, you’ll get better results dropping the oil pan, installing the timing cover first, and reinstalling the pan with a new gasket. How can i fix this? Is the use of. Oil Pan Or Timing Cover First.
From www.youtube.com
Oil pan, Timing cover, paint and more! Who came up with a 4 piece oil Oil Pan Or Timing Cover First Small leak between oil pan and timing cover at the dyno. However, there are a few tips along the way. I installed the new timing cover gasket and cover. And a bead of good rtv in the seam. Just got my 350 76 block engine rebuilt, dyno last week. In the process of replacing a leaky timing cover gasket and. Oil Pan Or Timing Cover First.
From www.instructables.com
A Beginner's Guide to Engine Rebuilding 9 Steps (with Pictures Oil Pan Or Timing Cover First The lower section of the timing chain cover intersects the oil pan, with a rubber seal sandwiched in between cover and pan. Timing cover first, then oil pan. However, there are a few tips along the way. I installed the new timing cover gasket and cover. Is the use of the thick vs thin seal determined by the timing cover. Oil Pan Or Timing Cover First.
From www.ebay.com
Fel Pro Oil Pan & Timing Cover Gaskets Fits 19571985 sb Chevy 283400 Oil Pan Or Timing Cover First In the process of replacing a leaky timing cover gasket and upper oil pan gasket. Is the use of the thick vs thin seal determined by the timing cover or the oil pan?. And a bead of good rtv in the seam. Small leak between oil pan and timing cover at the dyno. I installed the new timing cover gasket. Oil Pan Or Timing Cover First.
From www.ford-trucks.com
400 timing cover install; lower oil pan? Ford Truck Enthusiasts Forums Oil Pan Or Timing Cover First And a bead of good rtv in the seam. Timing cover first, then oil pan. In the process of replacing a leaky timing cover gasket and upper oil pan gasket. I am ready to assemble and alldata diy calls for rtv or anerobic gasket sealant to be used for the oil pan an timing chain cover. First, make sure the. Oil Pan Or Timing Cover First.
From pioneerautoinc.com
TIMING COVER Oil Pan Or Timing Cover First How can i fix this? Just got my 350 76 block engine rebuilt, dyno last week. I installed the new timing cover gasket and cover. The lower section of the timing chain cover intersects the oil pan, with a rubber seal sandwiched in between cover and pan. However, there are a few tips along the way. Is the use of. Oil Pan Or Timing Cover First.
From www.ilcats.ru
OIL PAN & TIMING COVER MAZDA B2500 Oil Pan Or Timing Cover First I am ready to assemble and alldata diy calls for rtv or anerobic gasket sealant to be used for the oil pan an timing chain cover. Timing cover first, then oil pan. However, there are a few tips along the way. I installed the new timing cover gasket and cover. Is the use of the thick vs thin seal determined. Oil Pan Or Timing Cover First.
From www.corvetteforum.com
FS (For Sale) 1969 original L46 oil pan, timing cover and pump Oil Pan Or Timing Cover First Is the use of the thick vs thin seal determined by the timing cover or the oil pan?. In the process of replacing a leaky timing cover gasket and upper oil pan gasket. How can i fix this? I am ready to assemble and alldata diy calls for rtv or anerobic gasket sealant to be used for the oil pan. Oil Pan Or Timing Cover First.
From www.ilcats.ru
OIL PAN & TIMING COVER (GASOLINE) MAZDA PREMACY Oil Pan Or Timing Cover First The lower section of the timing chain cover intersects the oil pan, with a rubber seal sandwiched in between cover and pan. However, there are a few tips along the way. Is the use of the thick vs thin seal determined by the timing cover or the oil pan?. And a bead of good rtv in the seam. Though it’s. Oil Pan Or Timing Cover First.
From www.zoomzoomnationparts.com
Diagram OIL PAN & TIMING COVER for your Mazda Oil Pan Or Timing Cover First The thick seal protrudes above the timing cover. How can i fix this? Small leak between oil pan and timing cover at the dyno. Is the use of the thick vs thin seal determined by the timing cover or the oil pan?. The lower section of the timing chain cover intersects the oil pan, with a rubber seal sandwiched in. Oil Pan Or Timing Cover First.
From www.youtube.com
Oil Leak Proof 2.0t Lower Timing case cover pan reseal install cleaning Oil Pan Or Timing Cover First The lower section of the timing chain cover intersects the oil pan, with a rubber seal sandwiched in between cover and pan. The thick seal protrudes above the timing cover. Timing cover first, then oil pan. Just got my 350 76 block engine rebuilt, dyno last week. Is the use of the thick vs thin seal determined by the timing. Oil Pan Or Timing Cover First.
From demotoring.com
Finned Polished Aluminum Oil Pan & Timing Chain Cover Kit for SBC Chev Oil Pan Or Timing Cover First And a bead of good rtv in the seam. I am ready to assemble and alldata diy calls for rtv or anerobic gasket sealant to be used for the oil pan an timing chain cover. Just got my 350 76 block engine rebuilt, dyno last week. Timing cover first, then oil pan. First, make sure the oil pan rails are. Oil Pan Or Timing Cover First.
From grassrootsmotorsports.com
Oil Pan & Timing Cover Looking Good Readers' Rides Grassroots Oil Pan Or Timing Cover First The thick seal protrudes above the timing cover. And a bead of good rtv in the seam. Is the use of the thick vs thin seal determined by the timing cover or the oil pan?. How can i fix this? Just got my 350 76 block engine rebuilt, dyno last week. Small leak between oil pan and timing cover at. Oil Pan Or Timing Cover First.
From www.amayama.com
Oil pan & timing cover for Mazda Revue Amayama Oil Pan Or Timing Cover First The thick seal protrudes above the timing cover. The lower section of the timing chain cover intersects the oil pan, with a rubber seal sandwiched in between cover and pan. Timing cover first, then oil pan. Just got my 350 76 block engine rebuilt, dyno last week. Though it’s more work, you’ll get better results dropping the oil pan, installing. Oil Pan Or Timing Cover First.
From www.youtube.com
How to Replace A Broken Timing Chain Pontiac Sunfire 2 2L PT.7 Oil Pan Oil Pan Or Timing Cover First Though it’s more work, you’ll get better results dropping the oil pan, installing the timing cover first, and reinstalling the pan with a new gasket. In the process of replacing a leaky timing cover gasket and upper oil pan gasket. Is the use of the thick vs thin seal determined by the timing cover or the oil pan?. Timing cover. Oil Pan Or Timing Cover First.
From www.instructables.com
A Beginner's Guide to Engine Rebuilding 9 Steps (with Pictures Oil Pan Or Timing Cover First I am ready to assemble and alldata diy calls for rtv or anerobic gasket sealant to be used for the oil pan an timing chain cover. Small leak between oil pan and timing cover at the dyno. And a bead of good rtv in the seam. I installed the new timing cover gasket and cover. Timing cover first, then oil. Oil Pan Or Timing Cover First.
From www.youtube.com
Install Timing Cover with Oil Pan installed, SBC YouTube Oil Pan Or Timing Cover First The thick seal protrudes above the timing cover. Is the use of the thick vs thin seal determined by the timing cover or the oil pan?. And a bead of good rtv in the seam. Just got my 350 76 block engine rebuilt, dyno last week. Small leak between oil pan and timing cover at the dyno. However, there are. Oil Pan Or Timing Cover First.
From kia.7zap.com
OIL PAN & TIMING COVER KIA PRIDE 99 (19992000) [General] Oil Pan Or Timing Cover First The lower section of the timing chain cover intersects the oil pan, with a rubber seal sandwiched in between cover and pan. How can i fix this? However, there are a few tips along the way. And a bead of good rtv in the seam. Though it’s more work, you’ll get better results dropping the oil pan, installing the timing. Oil Pan Or Timing Cover First.
From www.zoomzoomnationparts.com
Diagram OIL PAN & TIMING COVER for your Mazda Oil Pan Or Timing Cover First How can i fix this? And a bead of good rtv in the seam. The lower section of the timing chain cover intersects the oil pan, with a rubber seal sandwiched in between cover and pan. The thick seal protrudes above the timing cover. However, there are a few tips along the way. I am ready to assemble and alldata. Oil Pan Or Timing Cover First.
From www.offshoreonly.com
Aluminum Valve Covers , Steal Oil pan , timing cover Oil Pan Or Timing Cover First I am ready to assemble and alldata diy calls for rtv or anerobic gasket sealant to be used for the oil pan an timing chain cover. Though it’s more work, you’ll get better results dropping the oil pan, installing the timing cover first, and reinstalling the pan with a new gasket. Is the use of the thick vs thin seal. Oil Pan Or Timing Cover First.
From kia.7zap.com
OIL PAN & TIMING COVER KIA GRANBIRD 01 (20002004) [General] Oil Pan Or Timing Cover First The lower section of the timing chain cover intersects the oil pan, with a rubber seal sandwiched in between cover and pan. And a bead of good rtv in the seam. I am ready to assemble and alldata diy calls for rtv or anerobic gasket sealant to be used for the oil pan an timing chain cover. In the process. Oil Pan Or Timing Cover First.
From pioneerautoinc.com
TIMING COVER Oil Pan Or Timing Cover First Though it’s more work, you’ll get better results dropping the oil pan, installing the timing cover first, and reinstalling the pan with a new gasket. First, make sure the oil pan rails are good and straight and the pan bolt holes are not crushed in. Just got my 350 76 block engine rebuilt, dyno last week. I installed the new. Oil Pan Or Timing Cover First.
From www.youtube.com
S10 2.8 Chevy Oil Pan, Timing Cover, & Intake Manifold. How To Change Oil Pan Or Timing Cover First I am ready to assemble and alldata diy calls for rtv or anerobic gasket sealant to be used for the oil pan an timing chain cover. Timing cover first, then oil pan. Just got my 350 76 block engine rebuilt, dyno last week. And a bead of good rtv in the seam. Though it’s more work, you’ll get better results. Oil Pan Or Timing Cover First.
From www.hotrodders.com
oil pan/timing cover/vortec intake install Hot Rod Forum Oil Pan Or Timing Cover First Though it’s more work, you’ll get better results dropping the oil pan, installing the timing cover first, and reinstalling the pan with a new gasket. In the process of replacing a leaky timing cover gasket and upper oil pan gasket. And a bead of good rtv in the seam. The lower section of the timing chain cover intersects the oil. Oil Pan Or Timing Cover First.
From www.moparpartsgiant.com
1992 Dodge Ram 50 Oil Pan & Timing Cover Mopar Parts Giant Oil Pan Or Timing Cover First I am ready to assemble and alldata diy calls for rtv or anerobic gasket sealant to be used for the oil pan an timing chain cover. How can i fix this? In the process of replacing a leaky timing cover gasket and upper oil pan gasket. First, make sure the oil pan rails are good and straight and the pan. Oil Pan Or Timing Cover First.
From pioneerautoinc.com
TIMING COVER Oil Pan Or Timing Cover First The lower section of the timing chain cover intersects the oil pan, with a rubber seal sandwiched in between cover and pan. However, there are a few tips along the way. I am ready to assemble and alldata diy calls for rtv or anerobic gasket sealant to be used for the oil pan an timing chain cover. And a bead. Oil Pan Or Timing Cover First.
From www.amayama.com
Oil pan & timing cover for Mazda Eunos Cosmo JC, 1 generation 03.1990 Oil Pan Or Timing Cover First The lower section of the timing chain cover intersects the oil pan, with a rubber seal sandwiched in between cover and pan. And a bead of good rtv in the seam. The thick seal protrudes above the timing cover. I installed the new timing cover gasket and cover. Just got my 350 76 block engine rebuilt, dyno last week. Timing. Oil Pan Or Timing Cover First.