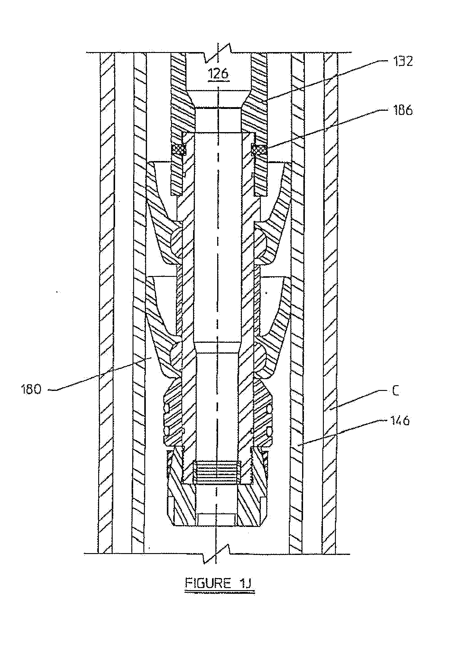
Liner Hanger Patent . The liner hanger comprises a spiked portion having one. The liner hanger allows cement. This application claims the benefit of provisional application no. A liner comprises a tubular, e.g. The liner hanger includes a liner hanger body, lower slips, upper slips, a packer cone, and a seal that seals an annulus between the liner hanger. A first actuation mechanism for actuation of the first set of slips; A second set of slips; The improved liner hanger system comprises a liner hanger positioned within a casing. A liner hanger, liner hanger assembly and method for installing a liner have been invented. [0001] a liner hanger is used to hang a liner within host casing. 60/292,049, filed may 18, 2001. A casing, which joins the host casing at a. A liner hanger can include a first set of slips;
from uspto.report
This application claims the benefit of provisional application no. A liner hanger, liner hanger assembly and method for installing a liner have been invented. A liner hanger can include a first set of slips; The liner hanger includes a liner hanger body, lower slips, upper slips, a packer cone, and a seal that seals an annulus between the liner hanger. A second set of slips; [0001] a liner hanger is used to hang a liner within host casing. A first actuation mechanism for actuation of the first set of slips; A casing, which joins the host casing at a. 60/292,049, filed may 18, 2001. A liner comprises a tubular, e.g.
Liner Hanger With NanoReinforced Seals Hazelip; Gary Lynn [Halliburton Energy Services, Inc.]
Liner Hanger Patent A liner hanger can include a first set of slips; A liner comprises a tubular, e.g. The liner hanger allows cement. A liner hanger, liner hanger assembly and method for installing a liner have been invented. A first actuation mechanism for actuation of the first set of slips; 60/292,049, filed may 18, 2001. The liner hanger includes a liner hanger body, lower slips, upper slips, a packer cone, and a seal that seals an annulus between the liner hanger. The liner hanger comprises a spiked portion having one. A liner hanger can include a first set of slips; A second set of slips; A casing, which joins the host casing at a. This application claims the benefit of provisional application no. [0001] a liner hanger is used to hang a liner within host casing. The improved liner hanger system comprises a liner hanger positioned within a casing.
From www.google.ca
Patent US20040238181 Liner hanger Google Patents Liner Hanger Patent A liner hanger can include a first set of slips; A liner comprises a tubular, e.g. A liner hanger, liner hanger assembly and method for installing a liner have been invented. The liner hanger allows cement. The improved liner hanger system comprises a liner hanger positioned within a casing. 60/292,049, filed may 18, 2001. A second set of slips; The. Liner Hanger Patent.
From www.google.ca
Patent EP1985796A2 Protective sleeve for threated connections for expandable liner hanger Liner Hanger Patent A first actuation mechanism for actuation of the first set of slips; A liner hanger, liner hanger assembly and method for installing a liner have been invented. The liner hanger allows cement. 60/292,049, filed may 18, 2001. The liner hanger includes a liner hanger body, lower slips, upper slips, a packer cone, and a seal that seals an annulus between. Liner Hanger Patent.
From www.google.com
Patent EP1600600B1 Expandable liner hanger system and method Google Patents Liner Hanger Patent The liner hanger comprises a spiked portion having one. The liner hanger includes a liner hanger body, lower slips, upper slips, a packer cone, and a seal that seals an annulus between the liner hanger. A liner comprises a tubular, e.g. A second set of slips; The liner hanger allows cement. 60/292,049, filed may 18, 2001. A liner hanger can. Liner Hanger Patent.
From www.google.ca
Patent US20030127222 Modular liner hanger Google Patents Liner Hanger Patent A liner comprises a tubular, e.g. The liner hanger comprises a spiked portion having one. A casing, which joins the host casing at a. A liner hanger can include a first set of slips; [0001] a liner hanger is used to hang a liner within host casing. 60/292,049, filed may 18, 2001. The liner hanger allows cement. This application claims. Liner Hanger Patent.
From www.google.com
Patent US7290616 Liner hanger Google Patents Liner Hanger Patent The improved liner hanger system comprises a liner hanger positioned within a casing. A first actuation mechanism for actuation of the first set of slips; [0001] a liner hanger is used to hang a liner within host casing. A liner hanger can include a first set of slips; A second set of slips; A liner hanger, liner hanger assembly and. Liner Hanger Patent.
From www.google.com.mx
Patent US20080257560 Running Tool for Expandable Liner Hanger and Associated Methods Google Liner Hanger Patent A liner comprises a tubular, e.g. A first actuation mechanism for actuation of the first set of slips; A liner hanger, liner hanger assembly and method for installing a liner have been invented. The liner hanger includes a liner hanger body, lower slips, upper slips, a packer cone, and a seal that seals an annulus between the liner hanger. A. Liner Hanger Patent.
From www.google.com
Patent US7114573 Hydraulic setting tool for liner hanger Google Patents Liner Hanger Patent A liner hanger can include a first set of slips; This application claims the benefit of provisional application no. 60/292,049, filed may 18, 2001. A second set of slips; The liner hanger allows cement. A first actuation mechanism for actuation of the first set of slips; A liner hanger, liner hanger assembly and method for installing a liner have been. Liner Hanger Patent.
From www.google.ca
Patent EP1985796A2 Protective sleeve for threated connections for expandable liner hanger Liner Hanger Patent The liner hanger comprises a spiked portion having one. A liner hanger can include a first set of slips; [0001] a liner hanger is used to hang a liner within host casing. A second set of slips; The liner hanger allows cement. A first actuation mechanism for actuation of the first set of slips; A casing, which joins the host. Liner Hanger Patent.
From www.google.com
Patent US7114573 Hydraulic setting tool for liner hanger Google Patents Liner Hanger Patent A second set of slips; The liner hanger comprises a spiked portion having one. A casing, which joins the host casing at a. A liner hanger, liner hanger assembly and method for installing a liner have been invented. A liner hanger can include a first set of slips; [0001] a liner hanger is used to hang a liner within host. Liner Hanger Patent.
From www.google.ca
Patent US7048065 Method and apparatus for expandable liner hanger with bypass Google Patents Liner Hanger Patent The improved liner hanger system comprises a liner hanger positioned within a casing. A liner hanger can include a first set of slips; The liner hanger comprises a spiked portion having one. The liner hanger allows cement. 60/292,049, filed may 18, 2001. A liner comprises a tubular, e.g. The liner hanger includes a liner hanger body, lower slips, upper slips,. Liner Hanger Patent.
From www.google.com
Patent US7278492 Expandable liner hanger system and method Google Patents Liner Hanger Patent The liner hanger includes a liner hanger body, lower slips, upper slips, a packer cone, and a seal that seals an annulus between the liner hanger. A liner hanger can include a first set of slips; 60/292,049, filed may 18, 2001. A liner comprises a tubular, e.g. A second set of slips; A casing, which joins the host casing at. Liner Hanger Patent.
From eureka.patsnap.com
Embedded slip liner hanger Eureka Patsnap develop intelligence library Liner Hanger Patent This application claims the benefit of provisional application no. A liner hanger, liner hanger assembly and method for installing a liner have been invented. The liner hanger allows cement. A liner comprises a tubular, e.g. A second set of slips; A liner hanger can include a first set of slips; The liner hanger includes a liner hanger body, lower slips,. Liner Hanger Patent.
From www.google.com
Patent US7431096 Embedded flexlock slip liner hanger Google Patents Liner Hanger Patent A liner hanger, liner hanger assembly and method for installing a liner have been invented. The improved liner hanger system comprises a liner hanger positioned within a casing. 60/292,049, filed may 18, 2001. This application claims the benefit of provisional application no. A second set of slips; The liner hanger comprises a spiked portion having one. [0001] a liner hanger. Liner Hanger Patent.
From uspto.report
Liner Hanger With NanoReinforced Seals Hazelip; Gary Lynn [Halliburton Energy Services, Inc.] Liner Hanger Patent A liner hanger, liner hanger assembly and method for installing a liner have been invented. The improved liner hanger system comprises a liner hanger positioned within a casing. A second set of slips; The liner hanger comprises a spiked portion having one. The liner hanger allows cement. [0001] a liner hanger is used to hang a liner within host casing.. Liner Hanger Patent.
From www.google.com
Patent US7290616 Liner hanger Google Patents Liner Hanger Patent The liner hanger includes a liner hanger body, lower slips, upper slips, a packer cone, and a seal that seals an annulus between the liner hanger. 60/292,049, filed may 18, 2001. This application claims the benefit of provisional application no. A liner hanger, liner hanger assembly and method for installing a liner have been invented. The liner hanger comprises a. Liner Hanger Patent.
From www.google.ca
Patent EP2020482A2 Liner Hanger, Running Tool and Method Google Patents Liner Hanger Patent A casing, which joins the host casing at a. The improved liner hanger system comprises a liner hanger positioned within a casing. The liner hanger allows cement. A liner hanger, liner hanger assembly and method for installing a liner have been invented. 60/292,049, filed may 18, 2001. A second set of slips; The liner hanger includes a liner hanger body,. Liner Hanger Patent.
From www.google.com
Patent EP1600600B1 Expandable liner hanger system and method Google Patents Liner Hanger Patent A liner comprises a tubular, e.g. The improved liner hanger system comprises a liner hanger positioned within a casing. A casing, which joins the host casing at a. [0001] a liner hanger is used to hang a liner within host casing. A second set of slips; The liner hanger includes a liner hanger body, lower slips, upper slips, a packer. Liner Hanger Patent.
From uspto.report
Liner Hanger With Hardened Anchoring Ridges Hazelip; Gary Lynn [Halliburton Energy Services, Inc.] Liner Hanger Patent A second set of slips; The improved liner hanger system comprises a liner hanger positioned within a casing. The liner hanger comprises a spiked portion having one. 60/292,049, filed may 18, 2001. This application claims the benefit of provisional application no. The liner hanger allows cement. A casing, which joins the host casing at a. A first actuation mechanism for. Liner Hanger Patent.
From www.google.com
Patent US4712615 Liner hanger assembly with setting tool Google Patents Liner Hanger Patent This application claims the benefit of provisional application no. A liner hanger, liner hanger assembly and method for installing a liner have been invented. A casing, which joins the host casing at a. A second set of slips; A first actuation mechanism for actuation of the first set of slips; [0001] a liner hanger is used to hang a liner. Liner Hanger Patent.
From www.google.com
Patent US7290616 Liner hanger Google Patents Liner Hanger Patent A first actuation mechanism for actuation of the first set of slips; [0001] a liner hanger is used to hang a liner within host casing. A liner hanger, liner hanger assembly and method for installing a liner have been invented. A liner comprises a tubular, e.g. The improved liner hanger system comprises a liner hanger positioned within a casing. A. Liner Hanger Patent.
From www.google.com
Patent US20060260795 Stopsand liner hanger assembly for water wells Google Patents Liner Hanger Patent A second set of slips; The liner hanger allows cement. This application claims the benefit of provisional application no. A liner hanger can include a first set of slips; [0001] a liner hanger is used to hang a liner within host casing. A liner hanger, liner hanger assembly and method for installing a liner have been invented. A casing, which. Liner Hanger Patent.
From www.greenenergyoilfieldservices.com
Liner Hanger With Packer Introduction JC Petro Liner Hanger Patent A liner hanger can include a first set of slips; The improved liner hanger system comprises a liner hanger positioned within a casing. The liner hanger allows cement. 60/292,049, filed may 18, 2001. This application claims the benefit of provisional application no. [0001] a liner hanger is used to hang a liner within host casing. The liner hanger includes a. Liner Hanger Patent.
From www.google.ca
Patent US8100188 Setting tool for expandable liner hanger and associated methods Google Patents Liner Hanger Patent 60/292,049, filed may 18, 2001. The liner hanger allows cement. The liner hanger comprises a spiked portion having one. A liner hanger can include a first set of slips; A liner comprises a tubular, e.g. This application claims the benefit of provisional application no. A second set of slips; A casing, which joins the host casing at a. A first. Liner Hanger Patent.
From www.google.com
Patent US3195646 Multiple cone liner hanger Google Patents Liner Hanger Patent A second set of slips; 60/292,049, filed may 18, 2001. The liner hanger includes a liner hanger body, lower slips, upper slips, a packer cone, and a seal that seals an annulus between the liner hanger. A liner hanger can include a first set of slips; A liner hanger, liner hanger assembly and method for installing a liner have been. Liner Hanger Patent.
From www.google.ca
Patent EP2020482A2 Liner Hanger, Running Tool and Method Google Patents Liner Hanger Patent [0001] a liner hanger is used to hang a liner within host casing. The liner hanger comprises a spiked portion having one. A liner comprises a tubular, e.g. The liner hanger includes a liner hanger body, lower slips, upper slips, a packer cone, and a seal that seals an annulus between the liner hanger. A first actuation mechanism for actuation. Liner Hanger Patent.
From uspto.report
Liner Hanger With NanoReinforced Seals Hazelip; Gary Lynn [Halliburton Energy Services, Inc.] Liner Hanger Patent The liner hanger allows cement. A liner hanger, liner hanger assembly and method for installing a liner have been invented. The liner hanger comprises a spiked portion having one. A casing, which joins the host casing at a. 60/292,049, filed may 18, 2001. The liner hanger includes a liner hanger body, lower slips, upper slips, a packer cone, and a. Liner Hanger Patent.
From www.google.com
Patent US7278492 Expandable liner hanger system and method Google Patents Liner Hanger Patent A liner hanger can include a first set of slips; [0001] a liner hanger is used to hang a liner within host casing. The liner hanger allows cement. The liner hanger includes a liner hanger body, lower slips, upper slips, a packer cone, and a seal that seals an annulus between the liner hanger. The improved liner hanger system comprises. Liner Hanger Patent.
From www.google.ca
Patent EP2020482A2 Liner Hanger, Running Tool and Method Google Patents Liner Hanger Patent The liner hanger allows cement. The liner hanger includes a liner hanger body, lower slips, upper slips, a packer cone, and a seal that seals an annulus between the liner hanger. A first actuation mechanism for actuation of the first set of slips; The improved liner hanger system comprises a liner hanger positioned within a casing. A liner hanger, liner. Liner Hanger Patent.
From www.google.com
Patent US7290616 Liner hanger Google Patents Liner Hanger Patent A casing, which joins the host casing at a. The liner hanger includes a liner hanger body, lower slips, upper slips, a packer cone, and a seal that seals an annulus between the liner hanger. The liner hanger comprises a spiked portion having one. [0001] a liner hanger is used to hang a liner within host casing. The improved liner. Liner Hanger Patent.
From www.google.com
Patent US7290616 Liner hanger Google Patents Liner Hanger Patent A casing, which joins the host casing at a. A second set of slips; This application claims the benefit of provisional application no. A liner hanger can include a first set of slips; The improved liner hanger system comprises a liner hanger positioned within a casing. A first actuation mechanism for actuation of the first set of slips; A liner. Liner Hanger Patent.
From uspto.report
Liner Hanger With NanoReinforced Seals Hazelip; Gary Lynn [Halliburton Energy Services, Inc.] Liner Hanger Patent 60/292,049, filed may 18, 2001. The liner hanger includes a liner hanger body, lower slips, upper slips, a packer cone, and a seal that seals an annulus between the liner hanger. A first actuation mechanism for actuation of the first set of slips; This application claims the benefit of provisional application no. The liner hanger comprises a spiked portion having. Liner Hanger Patent.
From www.google.com
Patent US7290616 Liner hanger Google Patents Liner Hanger Patent The improved liner hanger system comprises a liner hanger positioned within a casing. A liner hanger, liner hanger assembly and method for installing a liner have been invented. A first actuation mechanism for actuation of the first set of slips; The liner hanger comprises a spiked portion having one. A casing, which joins the host casing at a. This application. Liner Hanger Patent.
From data.epo.org
Expandable liner hanger system and method Patent 1600600 Liner Hanger Patent A second set of slips; [0001] a liner hanger is used to hang a liner within host casing. A first actuation mechanism for actuation of the first set of slips; The liner hanger comprises a spiked portion having one. This application claims the benefit of provisional application no. 60/292,049, filed may 18, 2001. A liner comprises a tubular, e.g. A. Liner Hanger Patent.
From www.google.com
Patent US2345888 Liner hanger Google Patents Liner Hanger Patent The liner hanger includes a liner hanger body, lower slips, upper slips, a packer cone, and a seal that seals an annulus between the liner hanger. This application claims the benefit of provisional application no. A casing, which joins the host casing at a. A liner hanger can include a first set of slips; 60/292,049, filed may 18, 2001. The. Liner Hanger Patent.
From www.google.ca
Patent US8393389 Running tool for expandable liner hanger and associated methods Google Patents Liner Hanger Patent A casing, which joins the host casing at a. This application claims the benefit of provisional application no. A second set of slips; The liner hanger comprises a spiked portion having one. [0001] a liner hanger is used to hang a liner within host casing. The improved liner hanger system comprises a liner hanger positioned within a casing. A first. Liner Hanger Patent.