Soap Dispenser Motor . High quality bosch oem 00166635 dishwasher. Everything about the hanamichi felt easy, from setting it up to the actual act of hand washing. Soap dispenser pump replacement, 4pcs stainless steel soap pump replacement head, reusable metal hand soap dispenser top for. These soap dispensers are sold with various brand names, most commonly secura or svavo. The 0 detergent dispenser actuator is a 110/240v , 50/60hz, 12a actuator motor. Stainless steel, spot clean, no battery required. Motor failure is a problem, so here we. The foam soap dispenser has a sleek design and is.
from interdynesystems.com
The foam soap dispenser has a sleek design and is. Motor failure is a problem, so here we. Soap dispenser pump replacement, 4pcs stainless steel soap pump replacement head, reusable metal hand soap dispenser top for. Everything about the hanamichi felt easy, from setting it up to the actual act of hand washing. These soap dispensers are sold with various brand names, most commonly secura or svavo. The 0 detergent dispenser actuator is a 110/240v , 50/60hz, 12a actuator motor. High quality bosch oem 00166635 dishwasher. Stainless steel, spot clean, no battery required.
Stainless Steel Soap Dispenser Inter Dyne Systems
Soap Dispenser Motor High quality bosch oem 00166635 dishwasher. These soap dispensers are sold with various brand names, most commonly secura or svavo. Stainless steel, spot clean, no battery required. The foam soap dispenser has a sleek design and is. Everything about the hanamichi felt easy, from setting it up to the actual act of hand washing. Motor failure is a problem, so here we. Soap dispenser pump replacement, 4pcs stainless steel soap pump replacement head, reusable metal hand soap dispenser top for. The 0 detergent dispenser actuator is a 110/240v , 50/60hz, 12a actuator motor. High quality bosch oem 00166635 dishwasher.
From www.metrix.co.nz
Soap dispenser Metrix Soap Dispenser Motor The foam soap dispenser has a sleek design and is. Everything about the hanamichi felt easy, from setting it up to the actual act of hand washing. These soap dispensers are sold with various brand names, most commonly secura or svavo. Motor failure is a problem, so here we. The 0 detergent dispenser actuator is a 110/240v , 50/60hz, 12a. Soap Dispenser Motor.
From www.fontanashowers.com
Installation Instructions for Fontana Gold Automatic Soap Dispenser Soap Dispenser Motor The foam soap dispenser has a sleek design and is. The 0 detergent dispenser actuator is a 110/240v , 50/60hz, 12a actuator motor. These soap dispensers are sold with various brand names, most commonly secura or svavo. High quality bosch oem 00166635 dishwasher. Motor failure is a problem, so here we. Everything about the hanamichi felt easy, from setting it. Soap Dispenser Motor.
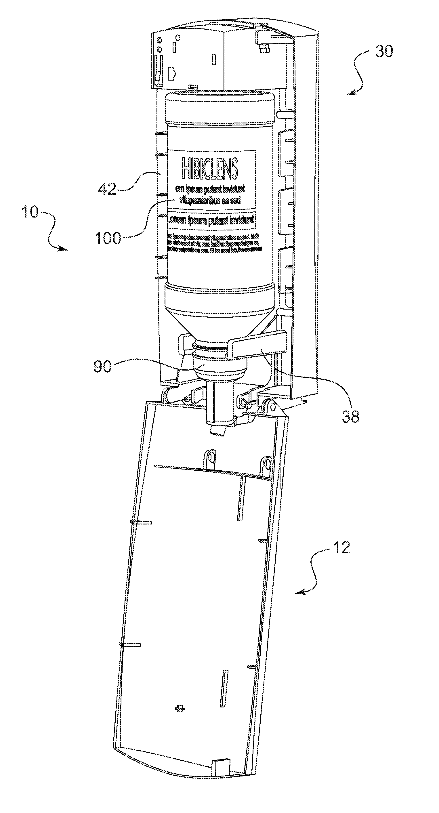
From www.google.com
Patent US8308027 Automatic soap dispenser with topside motor and Soap Dispenser Motor High quality bosch oem 00166635 dishwasher. Everything about the hanamichi felt easy, from setting it up to the actual act of hand washing. Stainless steel, spot clean, no battery required. The foam soap dispenser has a sleek design and is. These soap dispensers are sold with various brand names, most commonly secura or svavo. Motor failure is a problem, so. Soap Dispenser Motor.
From kuishi-storefront.vercel.app
Stainless Steel Soap Dispenser Pump Metal Dispenser Pump Soap Dispenser Motor These soap dispensers are sold with various brand names, most commonly secura or svavo. Stainless steel, spot clean, no battery required. High quality bosch oem 00166635 dishwasher. Soap dispenser pump replacement, 4pcs stainless steel soap pump replacement head, reusable metal hand soap dispenser top for. The 0 detergent dispenser actuator is a 110/240v , 50/60hz, 12a actuator motor. The foam. Soap Dispenser Motor.
From viper.my
Hand Soap Dispenser Superior Janitorial Supplies Sdn. Bhd. Soap Dispenser Motor Everything about the hanamichi felt easy, from setting it up to the actual act of hand washing. These soap dispensers are sold with various brand names, most commonly secura or svavo. Stainless steel, spot clean, no battery required. Soap dispenser pump replacement, 4pcs stainless steel soap pump replacement head, reusable metal hand soap dispenser top for. High quality bosch oem. Soap Dispenser Motor.
From www.fontanashowers.com
Installation Instructions for Fontana Gold Automatic Soap Dispenser Soap Dispenser Motor High quality bosch oem 00166635 dishwasher. Motor failure is a problem, so here we. The 0 detergent dispenser actuator is a 110/240v , 50/60hz, 12a actuator motor. Everything about the hanamichi felt easy, from setting it up to the actual act of hand washing. These soap dispensers are sold with various brand names, most commonly secura or svavo. The foam. Soap Dispenser Motor.
From www.fontanashowers.com
Installation Instructions for Fontana Gold Automatic Soap Dispenser Soap Dispenser Motor High quality bosch oem 00166635 dishwasher. Everything about the hanamichi felt easy, from setting it up to the actual act of hand washing. Motor failure is a problem, so here we. These soap dispensers are sold with various brand names, most commonly secura or svavo. Stainless steel, spot clean, no battery required. The foam soap dispenser has a sleek design. Soap Dispenser Motor.
From www.homeappliancesonline.co.nz
07305 BOSCH DISHWASHER SOAP DETERGENT DISPENSER Wax Motor , Home Soap Dispenser Motor The foam soap dispenser has a sleek design and is. Everything about the hanamichi felt easy, from setting it up to the actual act of hand washing. High quality bosch oem 00166635 dishwasher. The 0 detergent dispenser actuator is a 110/240v , 50/60hz, 12a actuator motor. These soap dispensers are sold with various brand names, most commonly secura or svavo.. Soap Dispenser Motor.
From www.bonanza.com
Sloan ESD2000 EAF 200 Deck mounted Foam Soap Dispenser Soap Dishes Soap Dispenser Motor High quality bosch oem 00166635 dishwasher. Motor failure is a problem, so here we. Stainless steel, spot clean, no battery required. The foam soap dispenser has a sleek design and is. These soap dispensers are sold with various brand names, most commonly secura or svavo. Soap dispenser pump replacement, 4pcs stainless steel soap pump replacement head, reusable metal hand soap. Soap Dispenser Motor.
From www.bobrick.com
Manual Soap Dispenser, Liquid Bobrick Soap Dispenser Motor Everything about the hanamichi felt easy, from setting it up to the actual act of hand washing. Motor failure is a problem, so here we. These soap dispensers are sold with various brand names, most commonly secura or svavo. The 0 detergent dispenser actuator is a 110/240v , 50/60hz, 12a actuator motor. High quality bosch oem 00166635 dishwasher. Stainless steel,. Soap Dispenser Motor.
From www.aliexpress.com
Buy 520ml Automatic Touchless Soap Dispenser Infrared Soap Dispenser Motor Stainless steel, spot clean, no battery required. Motor failure is a problem, so here we. Everything about the hanamichi felt easy, from setting it up to the actual act of hand washing. These soap dispensers are sold with various brand names, most commonly secura or svavo. High quality bosch oem 00166635 dishwasher. The foam soap dispenser has a sleek design. Soap Dispenser Motor.
From sloanrepair.com
Sloan ESD1500CP Deck Mounted Sensor Foam Soap Dispenser sloanrepair Soap Dispenser Motor The 0 detergent dispenser actuator is a 110/240v , 50/60hz, 12a actuator motor. High quality bosch oem 00166635 dishwasher. Stainless steel, spot clean, no battery required. Motor failure is a problem, so here we. The foam soap dispenser has a sleek design and is. Soap dispenser pump replacement, 4pcs stainless steel soap pump replacement head, reusable metal hand soap dispenser. Soap Dispenser Motor.
From www.ebay.com
Touchless 500ml Black Hands Free Sensor Liquid Soap Dispenser Bottle Soap Dispenser Motor These soap dispensers are sold with various brand names, most commonly secura or svavo. Stainless steel, spot clean, no battery required. Motor failure is a problem, so here we. The 0 detergent dispenser actuator is a 110/240v , 50/60hz, 12a actuator motor. High quality bosch oem 00166635 dishwasher. The foam soap dispenser has a sleek design and is. Everything about. Soap Dispenser Motor.
From www.touchfreeconcepts.com
Purell Hand Sanitizer Automatic Dispenser and Refill TouchFree Concepts Soap Dispenser Motor Stainless steel, spot clean, no battery required. The foam soap dispenser has a sleek design and is. High quality bosch oem 00166635 dishwasher. These soap dispensers are sold with various brand names, most commonly secura or svavo. Everything about the hanamichi felt easy, from setting it up to the actual act of hand washing. The 0 detergent dispenser actuator is. Soap Dispenser Motor.
From interdynesystems.com
Stainless Steel Soap Dispenser Inter Dyne Systems Soap Dispenser Motor Everything about the hanamichi felt easy, from setting it up to the actual act of hand washing. The 0 detergent dispenser actuator is a 110/240v , 50/60hz, 12a actuator motor. These soap dispensers are sold with various brand names, most commonly secura or svavo. Stainless steel, spot clean, no battery required. High quality bosch oem 00166635 dishwasher. Soap dispenser pump. Soap Dispenser Motor.
From www.fontanashowers.com
Installation Instructions for Fontana Gold Automatic Soap Dispenser Soap Dispenser Motor Soap dispenser pump replacement, 4pcs stainless steel soap pump replacement head, reusable metal hand soap dispenser top for. These soap dispensers are sold with various brand names, most commonly secura or svavo. Stainless steel, spot clean, no battery required. High quality bosch oem 00166635 dishwasher. Motor failure is a problem, so here we. The foam soap dispenser has a sleek. Soap Dispenser Motor.
From viper.my
Stainless Steel Soap Dispenser (1200ml) Superior Janitorial Supplies Soap Dispenser Motor High quality bosch oem 00166635 dishwasher. Stainless steel, spot clean, no battery required. The 0 detergent dispenser actuator is a 110/240v , 50/60hz, 12a actuator motor. Motor failure is a problem, so here we. The foam soap dispenser has a sleek design and is. Everything about the hanamichi felt easy, from setting it up to the actual act of hand. Soap Dispenser Motor.
From www.ebay.com
Premium Countertop Soap Dispensers 15 Oz Kitchen With Sponge Holder Soap Dispenser Motor The 0 detergent dispenser actuator is a 110/240v , 50/60hz, 12a actuator motor. The foam soap dispenser has a sleek design and is. These soap dispensers are sold with various brand names, most commonly secura or svavo. Soap dispenser pump replacement, 4pcs stainless steel soap pump replacement head, reusable metal hand soap dispenser top for. High quality bosch oem 00166635. Soap Dispenser Motor.
From www.walmart.com
Hand Free Soap Dispenser Electric Automatic Soap Dispenser Touchless Soap Dispenser Motor The foam soap dispenser has a sleek design and is. The 0 detergent dispenser actuator is a 110/240v , 50/60hz, 12a actuator motor. Everything about the hanamichi felt easy, from setting it up to the actual act of hand washing. Soap dispenser pump replacement, 4pcs stainless steel soap pump replacement head, reusable metal hand soap dispenser top for. Stainless steel,. Soap Dispenser Motor.
From www.fontanashowers.com
Installation Instructions for Fontana Milan Commercial Chrome Automatic Soap Dispenser Motor The foam soap dispenser has a sleek design and is. Soap dispenser pump replacement, 4pcs stainless steel soap pump replacement head, reusable metal hand soap dispenser top for. Everything about the hanamichi felt easy, from setting it up to the actual act of hand washing. Motor failure is a problem, so here we. These soap dispensers are sold with various. Soap Dispenser Motor.
From www.ikea.cn
SILVTJÄRN soap dispenser IKEA Soap Dispenser Motor The 0 detergent dispenser actuator is a 110/240v , 50/60hz, 12a actuator motor. Soap dispenser pump replacement, 4pcs stainless steel soap pump replacement head, reusable metal hand soap dispenser top for. Motor failure is a problem, so here we. Everything about the hanamichi felt easy, from setting it up to the actual act of hand washing. High quality bosch oem. Soap Dispenser Motor.
From www.ebay.com
Wall Mounted Commercial Automatic Liquid Soap Dispenser Polished Soap Dispenser Motor High quality bosch oem 00166635 dishwasher. The 0 detergent dispenser actuator is a 110/240v , 50/60hz, 12a actuator motor. These soap dispensers are sold with various brand names, most commonly secura or svavo. Soap dispenser pump replacement, 4pcs stainless steel soap pump replacement head, reusable metal hand soap dispenser top for. Everything about the hanamichi felt easy, from setting it. Soap Dispenser Motor.
From www.walmart.com
simplehuman 8 oz. TouchFree Sensor Liquid Soap Pump Dispenser with Soap Dispenser Motor High quality bosch oem 00166635 dishwasher. The 0 detergent dispenser actuator is a 110/240v , 50/60hz, 12a actuator motor. These soap dispensers are sold with various brand names, most commonly secura or svavo. Soap dispenser pump replacement, 4pcs stainless steel soap pump replacement head, reusable metal hand soap dispenser top for. Everything about the hanamichi felt easy, from setting it. Soap Dispenser Motor.
From pixelrz.com
Baxterrol Dispenser Soap Dispenser Motor The 0 detergent dispenser actuator is a 110/240v , 50/60hz, 12a actuator motor. Everything about the hanamichi felt easy, from setting it up to the actual act of hand washing. Stainless steel, spot clean, no battery required. These soap dispensers are sold with various brand names, most commonly secura or svavo. Soap dispenser pump replacement, 4pcs stainless steel soap pump. Soap Dispenser Motor.
From www.alibaba.com
Hot Selling Low Noise Customized Mini Dc Motor For Liquid Soap Soap Dispenser Motor Motor failure is a problem, so here we. High quality bosch oem 00166635 dishwasher. Soap dispenser pump replacement, 4pcs stainless steel soap pump replacement head, reusable metal hand soap dispenser top for. The 0 detergent dispenser actuator is a 110/240v , 50/60hz, 12a actuator motor. The foam soap dispenser has a sleek design and is. Everything about the hanamichi felt. Soap Dispenser Motor.
From www.desertcart.co.ke
Buy YIKHOM Automatic Liquid Soap Dispenser, 15.37 oz/450mL Soap Soap Dispenser Motor Soap dispenser pump replacement, 4pcs stainless steel soap pump replacement head, reusable metal hand soap dispenser top for. High quality bosch oem 00166635 dishwasher. The foam soap dispenser has a sleek design and is. These soap dispensers are sold with various brand names, most commonly secura or svavo. Motor failure is a problem, so here we. Stainless steel, spot clean,. Soap Dispenser Motor.
From www.walmart.com
2/1pcs Foaming Soap Dispenser, Pump Bottle for Bathroom Vanities or Soap Dispenser Motor Motor failure is a problem, so here we. High quality bosch oem 00166635 dishwasher. These soap dispensers are sold with various brand names, most commonly secura or svavo. Stainless steel, spot clean, no battery required. The 0 detergent dispenser actuator is a 110/240v , 50/60hz, 12a actuator motor. Everything about the hanamichi felt easy, from setting it up to the. Soap Dispenser Motor.
From www.totalrestroom.com
Bradley 6542 Commercial Soap Dispenser, SurfaceMounted, ManualPush Soap Dispenser Motor High quality bosch oem 00166635 dishwasher. These soap dispensers are sold with various brand names, most commonly secura or svavo. The 0 detergent dispenser actuator is a 110/240v , 50/60hz, 12a actuator motor. Stainless steel, spot clean, no battery required. The foam soap dispenser has a sleek design and is. Everything about the hanamichi felt easy, from setting it up. Soap Dispenser Motor.
From www.kaitrum.com.tw
Stainless Steel Auto Soap Dispensers Kaitrum Soap Dispenser Motor The foam soap dispenser has a sleek design and is. Motor failure is a problem, so here we. Soap dispenser pump replacement, 4pcs stainless steel soap pump replacement head, reusable metal hand soap dispenser top for. Everything about the hanamichi felt easy, from setting it up to the actual act of hand washing. These soap dispensers are sold with various. Soap Dispenser Motor.
From www.walmart.com
Dial Professional Liquid Soap Dispenser, Model 22, 800mL, 5 1/4w x 4 1 Soap Dispenser Motor High quality bosch oem 00166635 dishwasher. The 0 detergent dispenser actuator is a 110/240v , 50/60hz, 12a actuator motor. The foam soap dispenser has a sleek design and is. These soap dispensers are sold with various brand names, most commonly secura or svavo. Stainless steel, spot clean, no battery required. Everything about the hanamichi felt easy, from setting it up. Soap Dispenser Motor.
From www.youtube.com
How to fix the Soap dispenser on your washing mach YouTube Soap Dispenser Motor Soap dispenser pump replacement, 4pcs stainless steel soap pump replacement head, reusable metal hand soap dispenser top for. High quality bosch oem 00166635 dishwasher. Motor failure is a problem, so here we. Stainless steel, spot clean, no battery required. These soap dispensers are sold with various brand names, most commonly secura or svavo. Everything about the hanamichi felt easy, from. Soap Dispenser Motor.
From www.vannsoo.com
China Surface PushButton Liquid Soap Dispenser With OEM & ODM Soap Dispenser Motor High quality bosch oem 00166635 dishwasher. These soap dispensers are sold with various brand names, most commonly secura or svavo. Soap dispenser pump replacement, 4pcs stainless steel soap pump replacement head, reusable metal hand soap dispenser top for. Stainless steel, spot clean, no battery required. Everything about the hanamichi felt easy, from setting it up to the actual act of. Soap Dispenser Motor.
From jft-vivi.en.made-in-china.com
6V 6500rpm Micro 500 DC Electric Soap Dispenser Motor CE RoHS Approved Soap Dispenser Motor The 0 detergent dispenser actuator is a 110/240v , 50/60hz, 12a actuator motor. These soap dispensers are sold with various brand names, most commonly secura or svavo. The foam soap dispenser has a sleek design and is. Soap dispenser pump replacement, 4pcs stainless steel soap pump replacement head, reusable metal hand soap dispenser top for. Stainless steel, spot clean, no. Soap Dispenser Motor.
From www.tradees.com
fast delivery 6v dc electric soap dispenser motor 6500rpm, Wholesale DC Soap Dispenser Motor The 0 detergent dispenser actuator is a 110/240v , 50/60hz, 12a actuator motor. Stainless steel, spot clean, no battery required. The foam soap dispenser has a sleek design and is. These soap dispensers are sold with various brand names, most commonly secura or svavo. High quality bosch oem 00166635 dishwasher. Motor failure is a problem, so here we. Everything about. Soap Dispenser Motor.
From www.fontanashowers.com
Installation Instructions for Fontana Gold Automatic Soap Dispenser Soap Dispenser Motor High quality bosch oem 00166635 dishwasher. The 0 detergent dispenser actuator is a 110/240v , 50/60hz, 12a actuator motor. Soap dispenser pump replacement, 4pcs stainless steel soap pump replacement head, reusable metal hand soap dispenser top for. These soap dispensers are sold with various brand names, most commonly secura or svavo. Motor failure is a problem, so here we. Stainless. Soap Dispenser Motor.