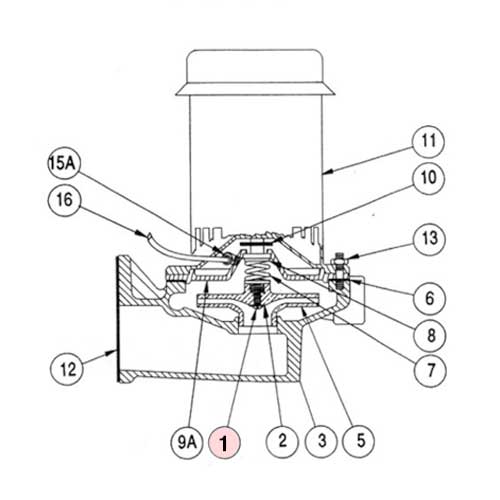
Impeller Lock Nut Direction . An impeller nut should have threads that tighten during normal operation. In the vast majority of turbochargers, the shaft nut thread direction is opposite to the direction of rotation on the shaft. Positive locking of the impeller nut is by direction of rotation (left or right hand thread) and a positive locking system, either grub screw or lock washer or even a tack weld. Streamlined impeller locknut for improved suction performance. Reinstall seal on casing cover rabbet. An impeller/shaft that has correct / bore/ taper / thread and fit plus a locking nut with nut retention that is coming loose would. Impellers are dynamically balanced to api 610. You will reverse the torque to some degree if the motor. Install impeller seal and install and tighten impeller lock nut. Place the impeller onto the shaft over the “d” drive against the shoulder and tighten the impeller lock nut until the impeller is securely.
from www.youtube.com
An impeller nut should have threads that tighten during normal operation. In the vast majority of turbochargers, the shaft nut thread direction is opposite to the direction of rotation on the shaft. You will reverse the torque to some degree if the motor. Impellers are dynamically balanced to api 610. Place the impeller onto the shaft over the “d” drive against the shoulder and tighten the impeller lock nut until the impeller is securely. Streamlined impeller locknut for improved suction performance. Reinstall seal on casing cover rabbet. Install impeller seal and install and tighten impeller lock nut. Positive locking of the impeller nut is by direction of rotation (left or right hand thread) and a positive locking system, either grub screw or lock washer or even a tack weld. An impeller/shaft that has correct / bore/ taper / thread and fit plus a locking nut with nut retention that is coming loose would.
How to tell which way a lock nut goes on YouTube
Impeller Lock Nut Direction Install impeller seal and install and tighten impeller lock nut. Reinstall seal on casing cover rabbet. An impeller/shaft that has correct / bore/ taper / thread and fit plus a locking nut with nut retention that is coming loose would. You will reverse the torque to some degree if the motor. In the vast majority of turbochargers, the shaft nut thread direction is opposite to the direction of rotation on the shaft. An impeller nut should have threads that tighten during normal operation. Place the impeller onto the shaft over the “d” drive against the shoulder and tighten the impeller lock nut until the impeller is securely. Impellers are dynamically balanced to api 610. Streamlined impeller locknut for improved suction performance. Positive locking of the impeller nut is by direction of rotation (left or right hand thread) and a positive locking system, either grub screw or lock washer or even a tack weld. Install impeller seal and install and tighten impeller lock nut.
From www.youtube.com
How to tell which way a lock nut goes on YouTube Impeller Lock Nut Direction An impeller/shaft that has correct / bore/ taper / thread and fit plus a locking nut with nut retention that is coming loose would. Impellers are dynamically balanced to api 610. Streamlined impeller locknut for improved suction performance. You will reverse the torque to some degree if the motor. Reinstall seal on casing cover rabbet. Place the impeller onto the. Impeller Lock Nut Direction.
From accesstruckparts.com
Buy Impeller Lock Nut (CW) online at Access Truck Parts Impeller Lock Nut Direction You will reverse the torque to some degree if the motor. Positive locking of the impeller nut is by direction of rotation (left or right hand thread) and a positive locking system, either grub screw or lock washer or even a tack weld. An impeller/shaft that has correct / bore/ taper / thread and fit plus a locking nut with. Impeller Lock Nut Direction.
From flyoffthetruck.com
Impeller Lock Nut Impeller Lock Nut Direction Reinstall seal on casing cover rabbet. Install impeller seal and install and tighten impeller lock nut. You will reverse the torque to some degree if the motor. Positive locking of the impeller nut is by direction of rotation (left or right hand thread) and a positive locking system, either grub screw or lock washer or even a tack weld. An. Impeller Lock Nut Direction.
From www.pumppartsdirect.com
SELF LOCKING IMPELLER NUT HD35 2020 Impeller Lock Nut Direction An impeller nut should have threads that tighten during normal operation. You will reverse the torque to some degree if the motor. In the vast majority of turbochargers, the shaft nut thread direction is opposite to the direction of rotation on the shaft. Reinstall seal on casing cover rabbet. Streamlined impeller locknut for improved suction performance. Positive locking of the. Impeller Lock Nut Direction.
From www.skf.com
Shaft locking method SKF Impeller Lock Nut Direction An impeller nut should have threads that tighten during normal operation. You will reverse the torque to some degree if the motor. Impellers are dynamically balanced to api 610. Positive locking of the impeller nut is by direction of rotation (left or right hand thread) and a positive locking system, either grub screw or lock washer or even a tack. Impeller Lock Nut Direction.
From garnetmidwest.com
Bell & Gossett P08480 Impeller Nut for Series PD and Series 60 Pumps Impeller Lock Nut Direction Reinstall seal on casing cover rabbet. Streamlined impeller locknut for improved suction performance. Place the impeller onto the shaft over the “d” drive against the shoulder and tighten the impeller lock nut until the impeller is securely. An impeller/shaft that has correct / bore/ taper / thread and fit plus a locking nut with nut retention that is coming loose. Impeller Lock Nut Direction.
From www.indiamart.com
Brass 17mm To 32mm Impeller Lock Nut, Size 3/8 BSP at Rs 750/kg in Impeller Lock Nut Direction Reinstall seal on casing cover rabbet. You will reverse the torque to some degree if the motor. In the vast majority of turbochargers, the shaft nut thread direction is opposite to the direction of rotation on the shaft. Streamlined impeller locknut for improved suction performance. Place the impeller onto the shaft over the “d” drive against the shoulder and tighten. Impeller Lock Nut Direction.
From www.pumppartsdirect.com
SELF LOCKING IMPELLER NUT Impeller Lock Nut Direction Place the impeller onto the shaft over the “d” drive against the shoulder and tighten the impeller lock nut until the impeller is securely. You will reverse the torque to some degree if the motor. Install impeller seal and install and tighten impeller lock nut. In the vast majority of turbochargers, the shaft nut thread direction is opposite to the. Impeller Lock Nut Direction.
From www.indiamart.com
Brass 17mm To 32mm Impeller Lock Nut, Size 3/8 BSP at Rs 750/kg in Impeller Lock Nut Direction Impellers are dynamically balanced to api 610. Reinstall seal on casing cover rabbet. Positive locking of the impeller nut is by direction of rotation (left or right hand thread) and a positive locking system, either grub screw or lock washer or even a tack weld. An impeller/shaft that has correct / bore/ taper / thread and fit plus a locking. Impeller Lock Nut Direction.
From www.pumpsalesdirect.co.uk
Lowara KL41AAG Impeller Kit Lock Nut Pump Sales Direct Impeller Lock Nut Direction Impellers are dynamically balanced to api 610. Positive locking of the impeller nut is by direction of rotation (left or right hand thread) and a positive locking system, either grub screw or lock washer or even a tack weld. Streamlined impeller locknut for improved suction performance. Install impeller seal and install and tighten impeller lock nut. You will reverse the. Impeller Lock Nut Direction.
From dansdiscounttools.com
Godwin 3387300 Impeller Nut Dan's Discount Tools Impeller Lock Nut Direction You will reverse the torque to some degree if the motor. Positive locking of the impeller nut is by direction of rotation (left or right hand thread) and a positive locking system, either grub screw or lock washer or even a tack weld. In the vast majority of turbochargers, the shaft nut thread direction is opposite to the direction of. Impeller Lock Nut Direction.
From www.spanet.com.au
Impeller & Lock Nut to suit XS303P Variable Speed Pump Impeller Lock Nut Direction You will reverse the torque to some degree if the motor. An impeller/shaft that has correct / bore/ taper / thread and fit plus a locking nut with nut retention that is coming loose would. An impeller nut should have threads that tighten during normal operation. Reinstall seal on casing cover rabbet. Place the impeller onto the shaft over the. Impeller Lock Nut Direction.
From www.oceanproperty.co.th
What Is Locknut? Definition, Types How It Works, 43 OFF Impeller Lock Nut Direction Positive locking of the impeller nut is by direction of rotation (left or right hand thread) and a positive locking system, either grub screw or lock washer or even a tack weld. Install impeller seal and install and tighten impeller lock nut. An impeller/shaft that has correct / bore/ taper / thread and fit plus a locking nut with nut. Impeller Lock Nut Direction.
From www.ebay.com
Insinger Impeller Lock Nut D3808 Free Shipping + Geniune OEM eBay Impeller Lock Nut Direction You will reverse the torque to some degree if the motor. Impellers are dynamically balanced to api 610. Streamlined impeller locknut for improved suction performance. Positive locking of the impeller nut is by direction of rotation (left or right hand thread) and a positive locking system, either grub screw or lock washer or even a tack weld. Reinstall seal on. Impeller Lock Nut Direction.
From www.toolstation.com
Nylon Lock Nut M10 Toolstation Impeller Lock Nut Direction An impeller/shaft that has correct / bore/ taper / thread and fit plus a locking nut with nut retention that is coming loose would. Impellers are dynamically balanced to api 610. An impeller nut should have threads that tighten during normal operation. Reinstall seal on casing cover rabbet. You will reverse the torque to some degree if the motor. Positive. Impeller Lock Nut Direction.
From www.researchgate.net
Impeller nut and initial impellers the nut used has the same shape as Impeller Lock Nut Direction Impellers are dynamically balanced to api 610. Positive locking of the impeller nut is by direction of rotation (left or right hand thread) and a positive locking system, either grub screw or lock washer or even a tack weld. Install impeller seal and install and tighten impeller lock nut. Place the impeller onto the shaft over the “d” drive against. Impeller Lock Nut Direction.
From www.spanet.com.au
Impeller & Lock Nut to suit XS303P Variable Speed Pump Impeller Lock Nut Direction In the vast majority of turbochargers, the shaft nut thread direction is opposite to the direction of rotation on the shaft. You will reverse the torque to some degree if the motor. Positive locking of the impeller nut is by direction of rotation (left or right hand thread) and a positive locking system, either grub screw or lock washer or. Impeller Lock Nut Direction.
From www.cooneybrothers.com
Spirax Sarco VPTRS1 Impeller Lock Nut Lockwasher Cooney Brothers Impeller Lock Nut Direction Impellers are dynamically balanced to api 610. Install impeller seal and install and tighten impeller lock nut. In the vast majority of turbochargers, the shaft nut thread direction is opposite to the direction of rotation on the shaft. You will reverse the torque to some degree if the motor. Positive locking of the impeller nut is by direction of rotation. Impeller Lock Nut Direction.
From www.nriparts.com
WORTHINGTON 39008700 PUMP IMPELLER LOCK NUT STAINLESS D488424 Impeller Lock Nut Direction Impellers are dynamically balanced to api 610. An impeller/shaft that has correct / bore/ taper / thread and fit plus a locking nut with nut retention that is coming loose would. An impeller nut should have threads that tighten during normal operation. Streamlined impeller locknut for improved suction performance. Install impeller seal and install and tighten impeller lock nut. Positive. Impeller Lock Nut Direction.
From sgit.com.sg
SKF KMT 18 Precision Lock Nut SINGAPORE INNOVATION TECHNOLOGY PTE. LTD Impeller Lock Nut Direction Impellers are dynamically balanced to api 610. An impeller/shaft that has correct / bore/ taper / thread and fit plus a locking nut with nut retention that is coming loose would. An impeller nut should have threads that tighten during normal operation. In the vast majority of turbochargers, the shaft nut thread direction is opposite to the direction of rotation. Impeller Lock Nut Direction.
From www.grainger.com
DAYTON, Mfr Part PPT03305G, Impeller Nut 46K831PPT03305G Grainger Impeller Lock Nut Direction Place the impeller onto the shaft over the “d” drive against the shoulder and tighten the impeller lock nut until the impeller is securely. Install impeller seal and install and tighten impeller lock nut. Streamlined impeller locknut for improved suction performance. In the vast majority of turbochargers, the shaft nut thread direction is opposite to the direction of rotation on. Impeller Lock Nut Direction.
From flyoffthetruck.com
Impeller Lock Nut Impeller Lock Nut Direction Install impeller seal and install and tighten impeller lock nut. Impellers are dynamically balanced to api 610. Place the impeller onto the shaft over the “d” drive against the shoulder and tighten the impeller lock nut until the impeller is securely. You will reverse the torque to some degree if the motor. An impeller/shaft that has correct / bore/ taper. Impeller Lock Nut Direction.
From accesstruckparts.com
Buy Impeller Lock Nut (CCW B3Z) online at Access Truck Parts Impeller Lock Nut Direction In the vast majority of turbochargers, the shaft nut thread direction is opposite to the direction of rotation on the shaft. Place the impeller onto the shaft over the “d” drive against the shoulder and tighten the impeller lock nut until the impeller is securely. Reinstall seal on casing cover rabbet. An impeller nut should have threads that tighten during. Impeller Lock Nut Direction.
From mentoredengineer.com
How to Select the Right Type of Lock Nut Mentored Engineer Impeller Lock Nut Direction Impellers are dynamically balanced to api 610. Place the impeller onto the shaft over the “d” drive against the shoulder and tighten the impeller lock nut until the impeller is securely. Install impeller seal and install and tighten impeller lock nut. Reinstall seal on casing cover rabbet. Streamlined impeller locknut for improved suction performance. In the vast majority of turbochargers,. Impeller Lock Nut Direction.
From www.pumppartsdirect.com
SELF LOCKING IMPELLER NUT Impeller Lock Nut Direction An impeller/shaft that has correct / bore/ taper / thread and fit plus a locking nut with nut retention that is coming loose would. Streamlined impeller locknut for improved suction performance. Install impeller seal and install and tighten impeller lock nut. Reinstall seal on casing cover rabbet. An impeller nut should have threads that tighten during normal operation. Place the. Impeller Lock Nut Direction.
From www.cpperformance.com
Nyloc Berkeley Impeller Nut CP Performance Impeller Lock Nut Direction Impellers are dynamically balanced to api 610. Install impeller seal and install and tighten impeller lock nut. Streamlined impeller locknut for improved suction performance. Place the impeller onto the shaft over the “d” drive against the shoulder and tighten the impeller lock nut until the impeller is securely. Reinstall seal on casing cover rabbet. In the vast majority of turbochargers,. Impeller Lock Nut Direction.
From www.huyett.com
Lock Nuts What They Are and How They Work G.L. Huyett Impeller Lock Nut Direction Reinstall seal on casing cover rabbet. Streamlined impeller locknut for improved suction performance. Install impeller seal and install and tighten impeller lock nut. You will reverse the torque to some degree if the motor. Positive locking of the impeller nut is by direction of rotation (left or right hand thread) and a positive locking system, either grub screw or lock. Impeller Lock Nut Direction.
From www.youtube.com
How To Making Lock I Motor Impeller Lock kaise Banaye YouTube Impeller Lock Nut Direction An impeller nut should have threads that tighten during normal operation. Place the impeller onto the shaft over the “d” drive against the shoulder and tighten the impeller lock nut until the impeller is securely. Install impeller seal and install and tighten impeller lock nut. Streamlined impeller locknut for improved suction performance. An impeller/shaft that has correct / bore/ taper. Impeller Lock Nut Direction.
From www.engineeringchoice.com
What Is Locknut? Definition, Types & How it works Engineering Choice Impeller Lock Nut Direction Streamlined impeller locknut for improved suction performance. An impeller nut should have threads that tighten during normal operation. You will reverse the torque to some degree if the motor. In the vast majority of turbochargers, the shaft nut thread direction is opposite to the direction of rotation on the shaft. Impellers are dynamically balanced to api 610. Install impeller seal. Impeller Lock Nut Direction.
From www.researchgate.net
Impeller nut and initial impellers the nut used has the same shape as Impeller Lock Nut Direction Impellers are dynamically balanced to api 610. You will reverse the torque to some degree if the motor. Streamlined impeller locknut for improved suction performance. An impeller nut should have threads that tighten during normal operation. Place the impeller onto the shaft over the “d” drive against the shoulder and tighten the impeller lock nut until the impeller is securely.. Impeller Lock Nut Direction.
From www.webstaurantstore.com
Insinger D3808 Impeller Lock Nut Impeller Lock Nut Direction An impeller/shaft that has correct / bore/ taper / thread and fit plus a locking nut with nut retention that is coming loose would. Place the impeller onto the shaft over the “d” drive against the shoulder and tighten the impeller lock nut until the impeller is securely. In the vast majority of turbochargers, the shaft nut thread direction is. Impeller Lock Nut Direction.
From www.dandfmarine.com
Outboard Jets Small and Medium Impeller Nut Retainer Lock Washer 805 Impeller Lock Nut Direction An impeller nut should have threads that tighten during normal operation. Reinstall seal on casing cover rabbet. Streamlined impeller locknut for improved suction performance. Impellers are dynamically balanced to api 610. In the vast majority of turbochargers, the shaft nut thread direction is opposite to the direction of rotation on the shaft. An impeller/shaft that has correct / bore/ taper. Impeller Lock Nut Direction.
From maraindustrial.com
Fristam 1409 Impeller Nut Set FPX732 Mara Industrial Impeller Lock Nut Direction An impeller nut should have threads that tighten during normal operation. Impellers are dynamically balanced to api 610. Reinstall seal on casing cover rabbet. Place the impeller onto the shaft over the “d” drive against the shoulder and tighten the impeller lock nut until the impeller is securely. Positive locking of the impeller nut is by direction of rotation (left. Impeller Lock Nut Direction.
From flyoffthetruck.com
Impeller Lock Nut Impeller Lock Nut Direction Install impeller seal and install and tighten impeller lock nut. Impellers are dynamically balanced to api 610. An impeller/shaft that has correct / bore/ taper / thread and fit plus a locking nut with nut retention that is coming loose would. Place the impeller onto the shaft over the “d” drive against the shoulder and tighten the impeller lock nut. Impeller Lock Nut Direction.
From eureka.patsnap.com
Impeller locking nut Eureka Patsnap Impeller Lock Nut Direction You will reverse the torque to some degree if the motor. An impeller/shaft that has correct / bore/ taper / thread and fit plus a locking nut with nut retention that is coming loose would. Place the impeller onto the shaft over the “d” drive against the shoulder and tighten the impeller lock nut until the impeller is securely. Reinstall. Impeller Lock Nut Direction.