Electronic Ignition System For A Gas Stove . Piezoelectricity is an interesting scientific phenomenon where. The auto ignition system allows each gas burner to be lit electronically using a piezoelectric igniter. Electronic ignition on gas stoves is one of the modern features available in gas stoves making ignition on stoves efficient, fast, and safe. The gas stove ignite the burners by means of spark generated by battery or. Most gas ranges currently available employ one of 3 basic gas ignition systems; An automatic ignition for a gas stove is an electronic device that automatically ignites a gas burner. The automatic pilotless ignition (also called automatic electric or automatic electronic ignition) eliminates the need to light the. What is a gas stove automatic ignition? An auto ignition gas stove works automatically without any external lighter or spark igniter. An electronic ignition differs from.
from woolfplumbing.com.au
An electronic ignition differs from. Piezoelectricity is an interesting scientific phenomenon where. The automatic pilotless ignition (also called automatic electric or automatic electronic ignition) eliminates the need to light the. Most gas ranges currently available employ one of 3 basic gas ignition systems; What is a gas stove automatic ignition? An automatic ignition for a gas stove is an electronic device that automatically ignites a gas burner. Electronic ignition on gas stoves is one of the modern features available in gas stoves making ignition on stoves efficient, fast, and safe. An auto ignition gas stove works automatically without any external lighter or spark igniter. The auto ignition system allows each gas burner to be lit electronically using a piezoelectric igniter. The gas stove ignite the burners by means of spark generated by battery or.
How Do Gas Stoves Work? A Detailed Guide to Stove Ignition and Burners
Electronic Ignition System For A Gas Stove An auto ignition gas stove works automatically without any external lighter or spark igniter. The automatic pilotless ignition (also called automatic electric or automatic electronic ignition) eliminates the need to light the. The gas stove ignite the burners by means of spark generated by battery or. Electronic ignition on gas stoves is one of the modern features available in gas stoves making ignition on stoves efficient, fast, and safe. Most gas ranges currently available employ one of 3 basic gas ignition systems; An electronic ignition differs from. The auto ignition system allows each gas burner to be lit electronically using a piezoelectric igniter. What is a gas stove automatic ignition? An auto ignition gas stove works automatically without any external lighter or spark igniter. An automatic ignition for a gas stove is an electronic device that automatically ignites a gas burner. Piezoelectricity is an interesting scientific phenomenon where.
From hvacsystemsnewgunkami.blogspot.com
Hvac Systems new Main Parts Of Hvac System Electronic Ignition System For A Gas Stove The auto ignition system allows each gas burner to be lit electronically using a piezoelectric igniter. An electronic ignition differs from. Piezoelectricity is an interesting scientific phenomenon where. The automatic pilotless ignition (also called automatic electric or automatic electronic ignition) eliminates the need to light the. An automatic ignition for a gas stove is an electronic device that automatically ignites. Electronic Ignition System For A Gas Stove.
From exobwemre.blob.core.windows.net
How To Light Portable Gas Stove at Billie Romo blog Electronic Ignition System For A Gas Stove The auto ignition system allows each gas burner to be lit electronically using a piezoelectric igniter. An automatic ignition for a gas stove is an electronic device that automatically ignites a gas burner. The gas stove ignite the burners by means of spark generated by battery or. The automatic pilotless ignition (also called automatic electric or automatic electronic ignition) eliminates. Electronic Ignition System For A Gas Stove.
From www.walmart.com
Gas One Propane Gas Range Stove with Propane Regulator 2 Burner Electronic Ignition System For A Gas Stove The auto ignition system allows each gas burner to be lit electronically using a piezoelectric igniter. An automatic ignition for a gas stove is an electronic device that automatically ignites a gas burner. The gas stove ignite the burners by means of spark generated by battery or. The automatic pilotless ignition (also called automatic electric or automatic electronic ignition) eliminates. Electronic Ignition System For A Gas Stove.
From homeminimalisite.com
How To Light An Electric Ignition Gas Stove Electronic Ignition System For A Gas Stove Most gas ranges currently available employ one of 3 basic gas ignition systems; An automatic ignition for a gas stove is an electronic device that automatically ignites a gas burner. The auto ignition system allows each gas burner to be lit electronically using a piezoelectric igniter. An electronic ignition differs from. An auto ignition gas stove works automatically without any. Electronic Ignition System For A Gas Stove.
From www.youtube.com
Replace Spark Module Gas Range Kenmore Frigidaire Electrolux Stove Electronic Ignition System For A Gas Stove The auto ignition system allows each gas burner to be lit electronically using a piezoelectric igniter. The gas stove ignite the burners by means of spark generated by battery or. Electronic ignition on gas stoves is one of the modern features available in gas stoves making ignition on stoves efficient, fast, and safe. An auto ignition gas stove works automatically. Electronic Ignition System For A Gas Stove.
From www.lazada.com.ph
Fierce stove 21A 31A Heavy Duty Single Burner Cast Iron Automatic Electronic Ignition System For A Gas Stove The gas stove ignite the burners by means of spark generated by battery or. Piezoelectricity is an interesting scientific phenomenon where. An electronic ignition differs from. What is a gas stove automatic ignition? Most gas ranges currently available employ one of 3 basic gas ignition systems; Electronic ignition on gas stoves is one of the modern features available in gas. Electronic Ignition System For A Gas Stove.
From www.washingtonian.com
The Gas Stove Debate Has Reached Some DC Kitchens Washingtonian Electronic Ignition System For A Gas Stove An electronic ignition differs from. What is a gas stove automatic ignition? The automatic pilotless ignition (also called automatic electric or automatic electronic ignition) eliminates the need to light the. Most gas ranges currently available employ one of 3 basic gas ignition systems; Piezoelectricity is an interesting scientific phenomenon where. The gas stove ignite the burners by means of spark. Electronic Ignition System For A Gas Stove.
From topgasstove.com
Prestige Gas Stoves A Comprehensive Buying Guide Top Gas Stove Electronic Ignition System For A Gas Stove What is a gas stove automatic ignition? The automatic pilotless ignition (also called automatic electric or automatic electronic ignition) eliminates the need to light the. An electronic ignition differs from. An auto ignition gas stove works automatically without any external lighter or spark igniter. An automatic ignition for a gas stove is an electronic device that automatically ignites a gas. Electronic Ignition System For A Gas Stove.
From themechanicalengineering.com
Electronic Ignition System Definition, Parts, Working, Advantages Electronic Ignition System For A Gas Stove Piezoelectricity is an interesting scientific phenomenon where. The automatic pilotless ignition (also called automatic electric or automatic electronic ignition) eliminates the need to light the. An automatic ignition for a gas stove is an electronic device that automatically ignites a gas burner. Electronic ignition on gas stoves is one of the modern features available in gas stoves making ignition on. Electronic Ignition System For A Gas Stove.
From www.stovepedia.com
Different Types Of Gas Stoves In India Electronic Ignition System For A Gas Stove Most gas ranges currently available employ one of 3 basic gas ignition systems; An auto ignition gas stove works automatically without any external lighter or spark igniter. The auto ignition system allows each gas burner to be lit electronically using a piezoelectric igniter. Piezoelectricity is an interesting scientific phenomenon where. An automatic ignition for a gas stove is an electronic. Electronic Ignition System For A Gas Stove.
From www.aliexpress.com
Electronic ignition 3500W Outdoor Camping Stove Split Gas Stoves Winter Electronic Ignition System For A Gas Stove Piezoelectricity is an interesting scientific phenomenon where. The auto ignition system allows each gas burner to be lit electronically using a piezoelectric igniter. Most gas ranges currently available employ one of 3 basic gas ignition systems; What is a gas stove automatic ignition? Electronic ignition on gas stoves is one of the modern features available in gas stoves making ignition. Electronic Ignition System For A Gas Stove.
From myfire.place
Do Gas Stoves Have Pilot Lights? MyFire.Place Electronic Ignition System For A Gas Stove An automatic ignition for a gas stove is an electronic device that automatically ignites a gas burner. Piezoelectricity is an interesting scientific phenomenon where. An electronic ignition differs from. Electronic ignition on gas stoves is one of the modern features available in gas stoves making ignition on stoves efficient, fast, and safe. The auto ignition system allows each gas burner. Electronic Ignition System For A Gas Stove.
From howdykitchen.com
What Happens if You Leave the Stove on? HowdyKitchen Electronic Ignition System For A Gas Stove Electronic ignition on gas stoves is one of the modern features available in gas stoves making ignition on stoves efficient, fast, and safe. What is a gas stove automatic ignition? The gas stove ignite the burners by means of spark generated by battery or. The auto ignition system allows each gas burner to be lit electronically using a piezoelectric igniter.. Electronic Ignition System For A Gas Stove.
From www.stovepedia.com
How To Convert LPG Gas Stove To PNG? Tips and Guide Electronic Ignition System For A Gas Stove The auto ignition system allows each gas burner to be lit electronically using a piezoelectric igniter. An electronic ignition differs from. What is a gas stove automatic ignition? Piezoelectricity is an interesting scientific phenomenon where. The gas stove ignite the burners by means of spark generated by battery or. Electronic ignition on gas stoves is one of the modern features. Electronic Ignition System For A Gas Stove.
From www.176iot.com
Gas Stove Igniter Wiring Diagram IOT Wiring Diagram Electronic Ignition System For A Gas Stove Electronic ignition on gas stoves is one of the modern features available in gas stoves making ignition on stoves efficient, fast, and safe. Most gas ranges currently available employ one of 3 basic gas ignition systems; An electronic ignition differs from. Piezoelectricity is an interesting scientific phenomenon where. The auto ignition system allows each gas burner to be lit electronically. Electronic Ignition System For A Gas Stove.
From ae-outdoor.en.made-in-china.com
Automatic Ignition Piezo Type Electric Starter with Safety Shut off Electronic Ignition System For A Gas Stove The gas stove ignite the burners by means of spark generated by battery or. An auto ignition gas stove works automatically without any external lighter or spark igniter. An automatic ignition for a gas stove is an electronic device that automatically ignites a gas burner. An electronic ignition differs from. Electronic ignition on gas stoves is one of the modern. Electronic Ignition System For A Gas Stove.
From woolfplumbing.com.au
How Do Gas Stoves Work? A Detailed Guide to Stove Ignition and Burners Electronic Ignition System For A Gas Stove What is a gas stove automatic ignition? An electronic ignition differs from. An automatic ignition for a gas stove is an electronic device that automatically ignites a gas burner. Most gas ranges currently available employ one of 3 basic gas ignition systems; An auto ignition gas stove works automatically without any external lighter or spark igniter. Piezoelectricity is an interesting. Electronic Ignition System For A Gas Stove.
From www.walmart.com
Gas ONE GS1000 7,650 BTU Portable Butane Gas Stove Automatic Ignition Electronic Ignition System For A Gas Stove The automatic pilotless ignition (also called automatic electric or automatic electronic ignition) eliminates the need to light the. What is a gas stove automatic ignition? An auto ignition gas stove works automatically without any external lighter or spark igniter. An electronic ignition differs from. The gas stove ignite the burners by means of spark generated by battery or. Most gas. Electronic Ignition System For A Gas Stove.
From www.smog-tech-training.com
PrimaryIgnitionSystem Electronic Ignition System For A Gas Stove Most gas ranges currently available employ one of 3 basic gas ignition systems; Piezoelectricity is an interesting scientific phenomenon where. An electronic ignition differs from. An auto ignition gas stove works automatically without any external lighter or spark igniter. Electronic ignition on gas stoves is one of the modern features available in gas stoves making ignition on stoves efficient, fast,. Electronic Ignition System For A Gas Stove.
From uae.microless.com
Sonashi SGB208S Double Gas Stove with Electronic Ignition System Electronic Ignition System For A Gas Stove What is a gas stove automatic ignition? Electronic ignition on gas stoves is one of the modern features available in gas stoves making ignition on stoves efficient, fast, and safe. Most gas ranges currently available employ one of 3 basic gas ignition systems; The automatic pilotless ignition (also called automatic electric or automatic electronic ignition) eliminates the need to light. Electronic Ignition System For A Gas Stove.
From www.reviewjournal.com
If gas burner won’t ignite, check for food debris in ports Las Vegas Electronic Ignition System For A Gas Stove Electronic ignition on gas stoves is one of the modern features available in gas stoves making ignition on stoves efficient, fast, and safe. Most gas ranges currently available employ one of 3 basic gas ignition systems; An auto ignition gas stove works automatically without any external lighter or spark igniter. An electronic ignition differs from. The gas stove ignite the. Electronic Ignition System For A Gas Stove.
From schematron.org
Wiring Diagram On An Ignitor System For At Tappan Gas Stove Wiring Electronic Ignition System For A Gas Stove What is a gas stove automatic ignition? The gas stove ignite the burners by means of spark generated by battery or. An auto ignition gas stove works automatically without any external lighter or spark igniter. The auto ignition system allows each gas burner to be lit electronically using a piezoelectric igniter. Electronic ignition on gas stoves is one of the. Electronic Ignition System For A Gas Stove.
From www.pastimebarandgrill.com
What electrical do I need for a gas stove? Pastime Bar And Grill Electronic Ignition System For A Gas Stove An electronic ignition differs from. Most gas ranges currently available employ one of 3 basic gas ignition systems; Piezoelectricity is an interesting scientific phenomenon where. An auto ignition gas stove works automatically without any external lighter or spark igniter. The gas stove ignite the burners by means of spark generated by battery or. Electronic ignition on gas stoves is one. Electronic Ignition System For A Gas Stove.
From kloppers.co.za
Defy DGS602 Multifunction Gas Electric Stove Kloppers Electronic Ignition System For A Gas Stove Electronic ignition on gas stoves is one of the modern features available in gas stoves making ignition on stoves efficient, fast, and safe. What is a gas stove automatic ignition? An automatic ignition for a gas stove is an electronic device that automatically ignites a gas burner. An electronic ignition differs from. The gas stove ignite the burners by means. Electronic Ignition System For A Gas Stove.
From www.pinterest.com.au
6pt Gas Stove Electronic Ignition Pack Part SE254A Gas stove Electronic Ignition System For A Gas Stove The auto ignition system allows each gas burner to be lit electronically using a piezoelectric igniter. An automatic ignition for a gas stove is an electronic device that automatically ignites a gas burner. What is a gas stove automatic ignition? Most gas ranges currently available employ one of 3 basic gas ignition systems; Piezoelectricity is an interesting scientific phenomenon where.. Electronic Ignition System For A Gas Stove.
From www.google.com
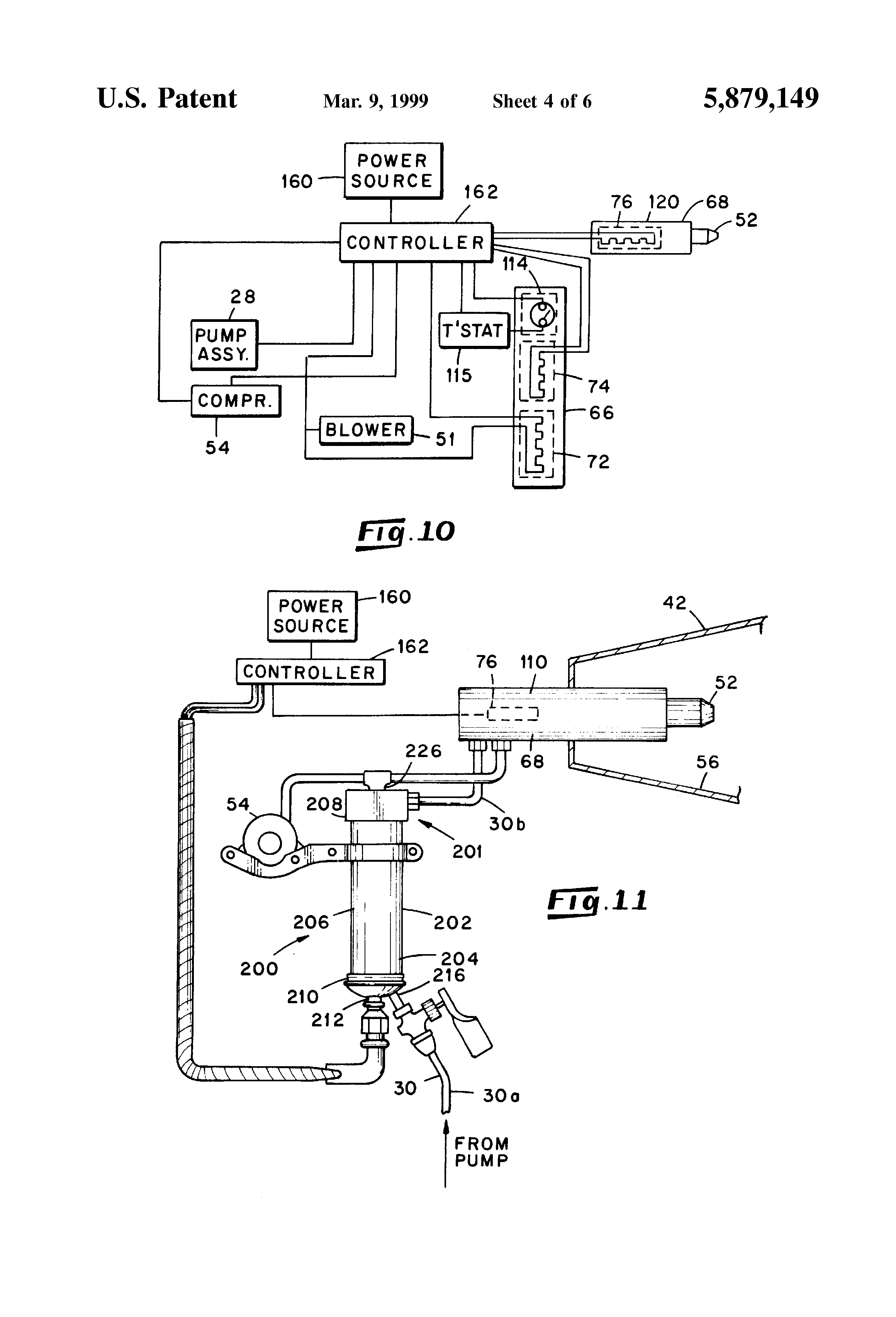
Patent US6126435 Electronic ignition system for a gas stove Google Electronic Ignition System For A Gas Stove The auto ignition system allows each gas burner to be lit electronically using a piezoelectric igniter. An auto ignition gas stove works automatically without any external lighter or spark igniter. An electronic ignition differs from. Most gas ranges currently available employ one of 3 basic gas ignition systems; An automatic ignition for a gas stove is an electronic device that. Electronic Ignition System For A Gas Stove.
From schematicpartclaudia.z19.web.core.windows.net
Gas Stove Igniter Circuit Diagram Electronic Ignition System For A Gas Stove What is a gas stove automatic ignition? The automatic pilotless ignition (also called automatic electric or automatic electronic ignition) eliminates the need to light the. An automatic ignition for a gas stove is an electronic device that automatically ignites a gas burner. Piezoelectricity is an interesting scientific phenomenon where. Electronic ignition on gas stoves is one of the modern features. Electronic Ignition System For A Gas Stove.
From www.aliexpress.com
Easy Electronic Fire Pulse Ignitor Gas Burner Ignition Lighter Natural Electronic Ignition System For A Gas Stove The gas stove ignite the burners by means of spark generated by battery or. Electronic ignition on gas stoves is one of the modern features available in gas stoves making ignition on stoves efficient, fast, and safe. Piezoelectricity is an interesting scientific phenomenon where. An electronic ignition differs from. The auto ignition system allows each gas burner to be lit. Electronic Ignition System For A Gas Stove.
From hubpages.com
DIY Auto Service Ignition Systems Operation Diagnosis and Repair Electronic Ignition System For A Gas Stove The automatic pilotless ignition (also called automatic electric or automatic electronic ignition) eliminates the need to light the. An automatic ignition for a gas stove is an electronic device that automatically ignites a gas burner. An electronic ignition differs from. The gas stove ignite the burners by means of spark generated by battery or. What is a gas stove automatic. Electronic Ignition System For A Gas Stove.
From www.huddersfieldgas.co.uk
GoSystem Multi Fuel Portable Gas Stove Huddersfield Gas Electronic Ignition System For A Gas Stove What is a gas stove automatic ignition? Piezoelectricity is an interesting scientific phenomenon where. The automatic pilotless ignition (also called automatic electric or automatic electronic ignition) eliminates the need to light the. Most gas ranges currently available employ one of 3 basic gas ignition systems; An automatic ignition for a gas stove is an electronic device that automatically ignites a. Electronic Ignition System For A Gas Stove.
From giojfexbe.blob.core.windows.net
Electronic Ignition For Gas Stove at Sally Washington blog Electronic Ignition System For A Gas Stove Most gas ranges currently available employ one of 3 basic gas ignition systems; The auto ignition system allows each gas burner to be lit electronically using a piezoelectric igniter. The gas stove ignite the burners by means of spark generated by battery or. Electronic ignition on gas stoves is one of the modern features available in gas stoves making ignition. Electronic Ignition System For A Gas Stove.
From circuitdiagramciara77.z19.web.core.windows.net
wiring diagrams gas inserts Electronic Ignition System For A Gas Stove What is a gas stove automatic ignition? Electronic ignition on gas stoves is one of the modern features available in gas stoves making ignition on stoves efficient, fast, and safe. Piezoelectricity is an interesting scientific phenomenon where. An electronic ignition differs from. An automatic ignition for a gas stove is an electronic device that automatically ignites a gas burner. The. Electronic Ignition System For A Gas Stove.
From www.youtube.com
Gas Stove Ignitor and Burner Not Lighting YouTube Electronic Ignition System For A Gas Stove The automatic pilotless ignition (also called automatic electric or automatic electronic ignition) eliminates the need to light the. An auto ignition gas stove works automatically without any external lighter or spark igniter. An automatic ignition for a gas stove is an electronic device that automatically ignites a gas burner. What is a gas stove automatic ignition? Electronic ignition on gas. Electronic Ignition System For A Gas Stove.
From shop.hamariweb.com
Gas Stove 2 Burner Stainless Steel Body Fully Auto Ignition With Best Electronic Ignition System For A Gas Stove An auto ignition gas stove works automatically without any external lighter or spark igniter. Most gas ranges currently available employ one of 3 basic gas ignition systems; An electronic ignition differs from. The gas stove ignite the burners by means of spark generated by battery or. The auto ignition system allows each gas burner to be lit electronically using a. Electronic Ignition System For A Gas Stove.