Fuel System For Truck . • fuel is delivered from the fuel tank to the fuel injectors via a fuel pump and fuel lines. technical paper describing basic components of diesel fuel injection systems, including fuel pumps, filters, fuel injectors and fuel injector. The pump is normally positioned close to the fuel tank or within the tank itself. generally, fuel systems work in the following ways: The fuel injection system in sinotruk trucks is a crucial component responsible for delivering the precise amount of fuel to the engine’s combustion chambers for efficient. Use the right fuel type. Fuel flows through the components in the fuel system as follows: The transfer or lift pump draws fuel from the fuel tank. Every component must function properly in order to achieve the expected vehicle performance and reliability. the fuel system consists of the fuel tank, pump, filter, and injection nozzles or carburetor and is responsible for supplying fuel to the engine as needed. An essential first step to maintaining your diesel truck’s fuel is to ensure that you’re always using the.
from jbpowerconversions.com
the fuel system consists of the fuel tank, pump, filter, and injection nozzles or carburetor and is responsible for supplying fuel to the engine as needed. The pump is normally positioned close to the fuel tank or within the tank itself. generally, fuel systems work in the following ways: An essential first step to maintaining your diesel truck’s fuel is to ensure that you’re always using the. The fuel injection system in sinotruk trucks is a crucial component responsible for delivering the precise amount of fuel to the engine’s combustion chambers for efficient. Fuel flows through the components in the fuel system as follows: The transfer or lift pump draws fuel from the fuel tank. • fuel is delivered from the fuel tank to the fuel injectors via a fuel pump and fuel lines. Use the right fuel type. technical paper describing basic components of diesel fuel injection systems, including fuel pumps, filters, fuel injectors and fuel injector.
Liquified Petroleum Gas fuel system components JB Power Conversions
Fuel System For Truck Use the right fuel type. The transfer or lift pump draws fuel from the fuel tank. the fuel system consists of the fuel tank, pump, filter, and injection nozzles or carburetor and is responsible for supplying fuel to the engine as needed. The fuel injection system in sinotruk trucks is a crucial component responsible for delivering the precise amount of fuel to the engine’s combustion chambers for efficient. Every component must function properly in order to achieve the expected vehicle performance and reliability. • fuel is delivered from the fuel tank to the fuel injectors via a fuel pump and fuel lines. The pump is normally positioned close to the fuel tank or within the tank itself. Use the right fuel type. An essential first step to maintaining your diesel truck’s fuel is to ensure that you’re always using the. Fuel flows through the components in the fuel system as follows: generally, fuel systems work in the following ways: technical paper describing basic components of diesel fuel injection systems, including fuel pumps, filters, fuel injectors and fuel injector.
From www.dieselworldmag.com
A Basic Guide To Upgrading Your Diesel’s Fuel System Fuel System For Truck • fuel is delivered from the fuel tank to the fuel injectors via a fuel pump and fuel lines. Every component must function properly in order to achieve the expected vehicle performance and reliability. An essential first step to maintaining your diesel truck’s fuel is to ensure that you’re always using the. The transfer or lift pump draws fuel from. Fuel System For Truck.
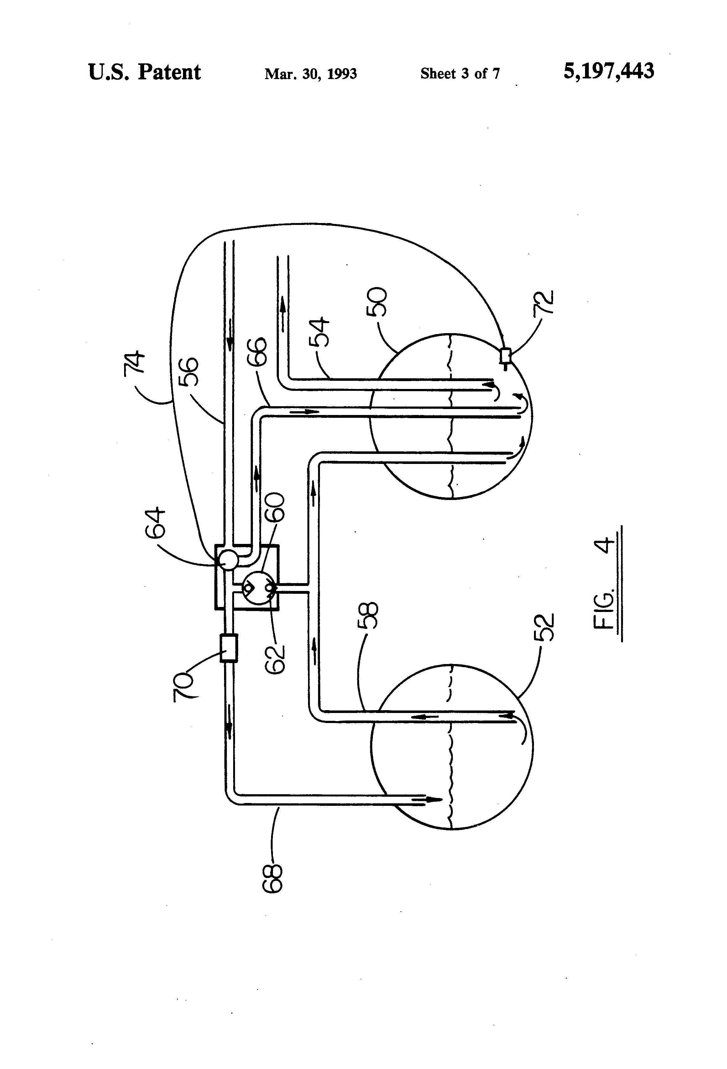
From www.google.com
Patent US5197443 Fuel system for diesel truck Google Patents Fuel System For Truck An essential first step to maintaining your diesel truck’s fuel is to ensure that you’re always using the. • fuel is delivered from the fuel tank to the fuel injectors via a fuel pump and fuel lines. The pump is normally positioned close to the fuel tank or within the tank itself. the fuel system consists of the fuel. Fuel System For Truck.
From www.carid.com
Performance Diesel Fuel Systems Injectors, Pumps Fuel System For Truck the fuel system consists of the fuel tank, pump, filter, and injection nozzles or carburetor and is responsible for supplying fuel to the engine as needed. • fuel is delivered from the fuel tank to the fuel injectors via a fuel pump and fuel lines. The fuel injection system in sinotruk trucks is a crucial component responsible for delivering. Fuel System For Truck.
From www.toledoblade.com
Buses, trucks drive demand for natural gaspowered vehicles The Blade Fuel System For Truck • fuel is delivered from the fuel tank to the fuel injectors via a fuel pump and fuel lines. Fuel flows through the components in the fuel system as follows: An essential first step to maintaining your diesel truck’s fuel is to ensure that you’re always using the. generally, fuel systems work in the following ways: the fuel. Fuel System For Truck.
From repair-car-diy.blogspot.com
Volvo Truck Fuel System, Design and Function InstructionDIY Car Fuel System For Truck The transfer or lift pump draws fuel from the fuel tank. generally, fuel systems work in the following ways: Fuel flows through the components in the fuel system as follows: Use the right fuel type. The pump is normally positioned close to the fuel tank or within the tank itself. An essential first step to maintaining your diesel truck’s. Fuel System For Truck.
From www.ford-trucks.com
2015 fuel system Page 2 Ford Truck Enthusiasts Forums Fuel System For Truck generally, fuel systems work in the following ways: Use the right fuel type. An essential first step to maintaining your diesel truck’s fuel is to ensure that you’re always using the. Every component must function properly in order to achieve the expected vehicle performance and reliability. • fuel is delivered from the fuel tank to the fuel injectors via. Fuel System For Truck.
From jv-technoton.com
Fuel tank monitoring Fuel System For Truck Every component must function properly in order to achieve the expected vehicle performance and reliability. technical paper describing basic components of diesel fuel injection systems, including fuel pumps, filters, fuel injectors and fuel injector. Fuel flows through the components in the fuel system as follows: The pump is normally positioned close to the fuel tank or within the tank. Fuel System For Truck.
From www.researchgate.net
Schematic diagram of a typical automotive fuel system Download Fuel System For Truck The fuel injection system in sinotruk trucks is a crucial component responsible for delivering the precise amount of fuel to the engine’s combustion chambers for efficient. generally, fuel systems work in the following ways: technical paper describing basic components of diesel fuel injection systems, including fuel pumps, filters, fuel injectors and fuel injector. An essential first step to. Fuel System For Truck.
From fleet.ie
Daimler Truck & Volvo Group fuelcell HGV joint venture ‘cellcentric Fuel System For Truck The fuel injection system in sinotruk trucks is a crucial component responsible for delivering the precise amount of fuel to the engine’s combustion chambers for efficient. the fuel system consists of the fuel tank, pump, filter, and injection nozzles or carburetor and is responsible for supplying fuel to the engine as needed. Fuel flows through the components in the. Fuel System For Truck.
From studylib.net
FUEL SYSTEM Fuel System For Truck generally, fuel systems work in the following ways: • fuel is delivered from the fuel tank to the fuel injectors via a fuel pump and fuel lines. Use the right fuel type. The fuel injection system in sinotruk trucks is a crucial component responsible for delivering the precise amount of fuel to the engine’s combustion chambers for efficient. An. Fuel System For Truck.
From projektapps.blogspot.com
Fuel Management System Motorcycle Vance & Hines Fuelpak FP3 Fuel Fuel System For Truck • fuel is delivered from the fuel tank to the fuel injectors via a fuel pump and fuel lines. The pump is normally positioned close to the fuel tank or within the tank itself. The transfer or lift pump draws fuel from the fuel tank. Fuel flows through the components in the fuel system as follows: technical paper describing. Fuel System For Truck.
From www.ford-trucks.com
fuel system help please Ford Truck Enthusiasts Forums Fuel System For Truck Every component must function properly in order to achieve the expected vehicle performance and reliability. The fuel injection system in sinotruk trucks is a crucial component responsible for delivering the precise amount of fuel to the engine’s combustion chambers for efficient. the fuel system consists of the fuel tank, pump, filter, and injection nozzles or carburetor and is responsible. Fuel System For Truck.
From chuck-kowalski.blogspot.com
27+ Gas Leaking From Bottom Of Car UK Chuck K. Kowalski Fuel System For Truck The fuel injection system in sinotruk trucks is a crucial component responsible for delivering the precise amount of fuel to the engine’s combustion chambers for efficient. generally, fuel systems work in the following ways: Fuel flows through the components in the fuel system as follows: the fuel system consists of the fuel tank, pump, filter, and injection nozzles. Fuel System For Truck.
From www.af.mil
New fuel system enhances Bagram's refueling capabilities > U.S. Air Fuel System For Truck Fuel flows through the components in the fuel system as follows: The fuel injection system in sinotruk trucks is a crucial component responsible for delivering the precise amount of fuel to the engine’s combustion chambers for efficient. • fuel is delivered from the fuel tank to the fuel injectors via a fuel pump and fuel lines. The transfer or lift. Fuel System For Truck.
From www.autoaccessoriesgarage.com
Titan Travel Trekker InBed Auxiliary Fuel Tank System Ships Free Fuel System For Truck An essential first step to maintaining your diesel truck’s fuel is to ensure that you’re always using the. The transfer or lift pump draws fuel from the fuel tank. the fuel system consists of the fuel tank, pump, filter, and injection nozzles or carburetor and is responsible for supplying fuel to the engine as needed. • fuel is delivered. Fuel System For Truck.
From jbpowerconversions.com
Liquified Petroleum Gas fuel system components JB Power Conversions Fuel System For Truck Fuel flows through the components in the fuel system as follows: Use the right fuel type. Every component must function properly in order to achieve the expected vehicle performance and reliability. the fuel system consists of the fuel tank, pump, filter, and injection nozzles or carburetor and is responsible for supplying fuel to the engine as needed. The pump. Fuel System For Truck.
From blog.dixonvalve.com
An Overview of Petroleum Tank Truck BottomLoading Fuel System For Truck • fuel is delivered from the fuel tank to the fuel injectors via a fuel pump and fuel lines. technical paper describing basic components of diesel fuel injection systems, including fuel pumps, filters, fuel injectors and fuel injector. The fuel injection system in sinotruk trucks is a crucial component responsible for delivering the precise amount of fuel to the. Fuel System For Truck.
From lorensauto.com
Fuel System Services Lorens Auto and Truck Repair Fuel System For Truck Use the right fuel type. • fuel is delivered from the fuel tank to the fuel injectors via a fuel pump and fuel lines. The transfer or lift pump draws fuel from the fuel tank. generally, fuel systems work in the following ways: Every component must function properly in order to achieve the expected vehicle performance and reliability. An. Fuel System For Truck.
From blog.dixonvalve.com
Vapor Recovery and Overfill Protection in the Tank Truck Market Fuel System For Truck generally, fuel systems work in the following ways: the fuel system consists of the fuel tank, pump, filter, and injection nozzles or carburetor and is responsible for supplying fuel to the engine as needed. Every component must function properly in order to achieve the expected vehicle performance and reliability. The transfer or lift pump draws fuel from the. Fuel System For Truck.
From www.heavytrucksolutions.com
How Can You Ensure That Your Fuel System Is Properly Maintained Fuel System For Truck • fuel is delivered from the fuel tank to the fuel injectors via a fuel pump and fuel lines. Use the right fuel type. technical paper describing basic components of diesel fuel injection systems, including fuel pumps, filters, fuel injectors and fuel injector. Fuel flows through the components in the fuel system as follows: The transfer or lift pump. Fuel System For Truck.
From vetus.com
Fuel systems VETUS Fuel System For Truck generally, fuel systems work in the following ways: Use the right fuel type. An essential first step to maintaining your diesel truck’s fuel is to ensure that you’re always using the. The fuel injection system in sinotruk trucks is a crucial component responsible for delivering the precise amount of fuel to the engine’s combustion chambers for efficient. the. Fuel System For Truck.
From casstrucking.com
Hydrogen Trucks Promise Zero Emissions Commercial Trucks For Sale Fuel System For Truck The pump is normally positioned close to the fuel tank or within the tank itself. Every component must function properly in order to achieve the expected vehicle performance and reliability. • fuel is delivered from the fuel tank to the fuel injectors via a fuel pump and fuel lines. Use the right fuel type. An essential first step to maintaining. Fuel System For Truck.
From mydiagram.online
[DIAGRAM] 2005 Chevy Truck Fuel System Diagram Fuel System For Truck The pump is normally positioned close to the fuel tank or within the tank itself. The transfer or lift pump draws fuel from the fuel tank. • fuel is delivered from the fuel tank to the fuel injectors via a fuel pump and fuel lines. the fuel system consists of the fuel tank, pump, filter, and injection nozzles or. Fuel System For Truck.
From enginewiringking101.z13.web.core.windows.net
cng truck fuel system diagram Fuel System For Truck • fuel is delivered from the fuel tank to the fuel injectors via a fuel pump and fuel lines. The pump is normally positioned close to the fuel tank or within the tank itself. Every component must function properly in order to achieve the expected vehicle performance and reliability. generally, fuel systems work in the following ways: Use the. Fuel System For Truck.
From www.e-motec.net
Fuel Cells for HeavyDuty Trucks EMotec Fuel System For Truck Fuel flows through the components in the fuel system as follows: An essential first step to maintaining your diesel truck’s fuel is to ensure that you’re always using the. The pump is normally positioned close to the fuel tank or within the tank itself. generally, fuel systems work in the following ways: the fuel system consists of the. Fuel System For Truck.
From www.forconstructionpros.com
General Motors Agrees to Supply Hydrotec Hydrogen Fuel Cell Systems for Fuel System For Truck The fuel injection system in sinotruk trucks is a crucial component responsible for delivering the precise amount of fuel to the engine’s combustion chambers for efficient. An essential first step to maintaining your diesel truck’s fuel is to ensure that you’re always using the. Every component must function properly in order to achieve the expected vehicle performance and reliability. The. Fuel System For Truck.
From allmods.net
The Compressed Natural Gas (CNG) Trailer 1.38 Fuel System For Truck generally, fuel systems work in the following ways: technical paper describing basic components of diesel fuel injection systems, including fuel pumps, filters, fuel injectors and fuel injector. The fuel injection system in sinotruk trucks is a crucial component responsible for delivering the precise amount of fuel to the engine’s combustion chambers for efficient. The pump is normally positioned. Fuel System For Truck.
From www.howacarworks.com
Servicing the fuel supply system How a Car Works Fuel System For Truck technical paper describing basic components of diesel fuel injection systems, including fuel pumps, filters, fuel injectors and fuel injector. • fuel is delivered from the fuel tank to the fuel injectors via a fuel pump and fuel lines. The fuel injection system in sinotruk trucks is a crucial component responsible for delivering the precise amount of fuel to the. Fuel System For Truck.
From www.topmarkfunding.com
A man fueling a gas tank of a truck TopMark Funding Fuel System For Truck The fuel injection system in sinotruk trucks is a crucial component responsible for delivering the precise amount of fuel to the engine’s combustion chambers for efficient. technical paper describing basic components of diesel fuel injection systems, including fuel pumps, filters, fuel injectors and fuel injector. generally, fuel systems work in the following ways: Fuel flows through the components. Fuel System For Truck.
From www.tranbc.ca
B.C. Transportation Players Fuelling Natural Gas Trucks TranBC Fuel System For Truck The pump is normally positioned close to the fuel tank or within the tank itself. The fuel injection system in sinotruk trucks is a crucial component responsible for delivering the precise amount of fuel to the engine’s combustion chambers for efficient. Fuel flows through the components in the fuel system as follows: the fuel system consists of the fuel. Fuel System For Truck.
From news.mit.edu
MITEI researchers build a supply chain model to support the hydrogen Fuel System For Truck An essential first step to maintaining your diesel truck’s fuel is to ensure that you’re always using the. Fuel flows through the components in the fuel system as follows: Use the right fuel type. The transfer or lift pump draws fuel from the fuel tank. Every component must function properly in order to achieve the expected vehicle performance and reliability.. Fuel System For Truck.
From www.classictrucks.com
LMC Truck Fuel System Install Hot Rod Network Fuel System For Truck The pump is normally positioned close to the fuel tank or within the tank itself. The transfer or lift pump draws fuel from the fuel tank. the fuel system consists of the fuel tank, pump, filter, and injection nozzles or carburetor and is responsible for supplying fuel to the engine as needed. technical paper describing basic components of. Fuel System For Truck.
From winsajo.blogspot.com
Mbe 900 Fuel System Diagram WINSAJO Fuel System For Truck Every component must function properly in order to achieve the expected vehicle performance and reliability. An essential first step to maintaining your diesel truck’s fuel is to ensure that you’re always using the. The pump is normally positioned close to the fuel tank or within the tank itself. the fuel system consists of the fuel tank, pump, filter, and. Fuel System For Truck.
From www.catengine.info
3100 HEUI Diesel Truck Engine Fuel System Caterpillar Engines Fuel System For Truck The pump is normally positioned close to the fuel tank or within the tank itself. Fuel flows through the components in the fuel system as follows: the fuel system consists of the fuel tank, pump, filter, and injection nozzles or carburetor and is responsible for supplying fuel to the engine as needed. The transfer or lift pump draws fuel. Fuel System For Truck.
From www.tankercontrol.com
Fuel Tanker Monitoring. Fuel Cargo Tanks and Fuel Cargo Compartments Fuel System For Truck An essential first step to maintaining your diesel truck’s fuel is to ensure that you’re always using the. The transfer or lift pump draws fuel from the fuel tank. • fuel is delivered from the fuel tank to the fuel injectors via a fuel pump and fuel lines. technical paper describing basic components of diesel fuel injection systems, including. Fuel System For Truck.