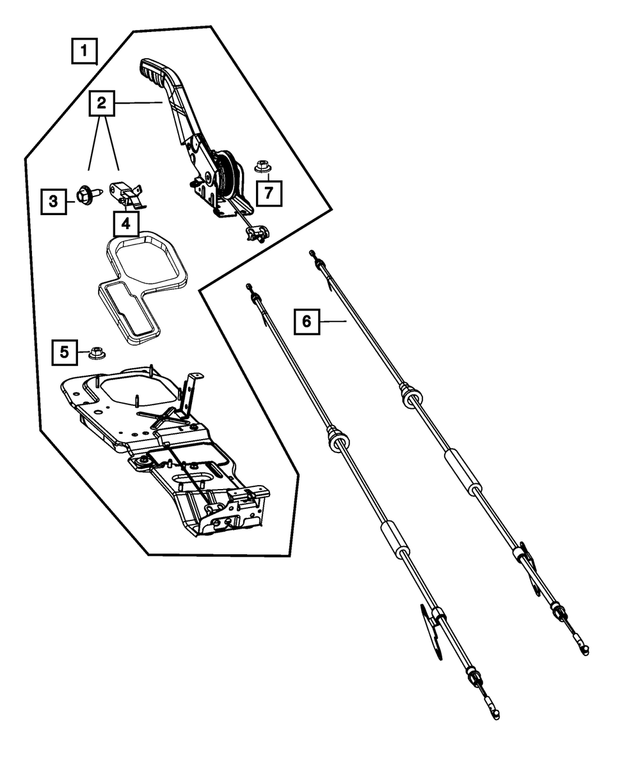
Jeep Liberty Parking Brake Cable Replacement . My parking brake cable broke over 3 months ago and i finally got around to changing it. Parking brake release cable replacement service. I need to replace the parking brake cable on my 2002 jeep liberty. A parking brake cable, several days of labor to replace? Half my interior is out all over the driveway. On average, the cost for a jeep liberty emergency/parking brake cable. Where online can i order one. One of the reasons it took me so long is. So the cable for the. How much does a emergency/parking brake cable replacement cost? Push front of cable through the mounting bracket. How much does a parking brake release cable replacement cost? Push parking brake cable forward (make sure the the little hook thing is over the pin). This is in one of the pics.
from www.jeepkj.com
How much does a emergency/parking brake cable replacement cost? My parking brake cable broke over 3 months ago and i finally got around to changing it. A parking brake cable, several days of labor to replace? One of the reasons it took me so long is. This is in one of the pics. How much does a parking brake release cable replacement cost? So the cable for the. Push front of cable through the mounting bracket. On average, the cost for a jeep liberty emergency/parking brake cable. Push parking brake cable forward (make sure the the little hook thing is over the pin).
HowTo Full Parking Brake Replacement Jeep Liberty Forum JeepKJ Country
Jeep Liberty Parking Brake Cable Replacement Where online can i order one. This is in one of the pics. A parking brake cable, several days of labor to replace? One of the reasons it took me so long is. Parking brake release cable replacement service. Half my interior is out all over the driveway. My parking brake cable broke over 3 months ago and i finally got around to changing it. I need to replace the parking brake cable on my 2002 jeep liberty. How much does a parking brake release cable replacement cost? So the cable for the. On average, the cost for a jeep liberty emergency/parking brake cable. Where online can i order one. Push parking brake cable forward (make sure the the little hook thing is over the pin). Push front of cable through the mounting bracket. How much does a emergency/parking brake cable replacement cost?
From autoctrls.com
Understanding the 2005 Jeep Liberty Parking Brake System Diagram and Explanation Jeep Liberty Parking Brake Cable Replacement Push parking brake cable forward (make sure the the little hook thing is over the pin). How much does a parking brake release cable replacement cost? Half my interior is out all over the driveway. One of the reasons it took me so long is. This is in one of the pics. Push front of cable through the mounting bracket.. Jeep Liberty Parking Brake Cable Replacement.
From www.jeepkj.com
HowTo Full Parking Brake Replacement Jeep Liberty Forum JeepKJ Country Jeep Liberty Parking Brake Cable Replacement Half my interior is out all over the driveway. Push parking brake cable forward (make sure the the little hook thing is over the pin). One of the reasons it took me so long is. Parking brake release cable replacement service. So the cable for the. My parking brake cable broke over 3 months ago and i finally got around. Jeep Liberty Parking Brake Cable Replacement.
From www.ebay.com
0607 JEEP LIBERTY REAR LEFT SIDE PARKING BRAKE ADAPTER NEW MOPAR GENUINE eBay Jeep Liberty Parking Brake Cable Replacement Where online can i order one. Push parking brake cable forward (make sure the the little hook thing is over the pin). This is in one of the pics. How much does a parking brake release cable replacement cost? A parking brake cable, several days of labor to replace? How much does a emergency/parking brake cable replacement cost? My parking. Jeep Liberty Parking Brake Cable Replacement.
From parts.chryslerjeepdodgecityofmckinney.com
Jeep Liberty Lever. Park brake. Includes front cable and 52128860AC Chrysler Jeep Dodge City Jeep Liberty Parking Brake Cable Replacement My parking brake cable broke over 3 months ago and i finally got around to changing it. One of the reasons it took me so long is. Where online can i order one. How much does a parking brake release cable replacement cost? On average, the cost for a jeep liberty emergency/parking brake cable. A parking brake cable, several days. Jeep Liberty Parking Brake Cable Replacement.
From techschems.com
Understanding the 2005 Jeep Liberty Parking Brake System A Comprehensive Diagram Jeep Liberty Parking Brake Cable Replacement Push parking brake cable forward (make sure the the little hook thing is over the pin). I need to replace the parking brake cable on my 2002 jeep liberty. My parking brake cable broke over 3 months ago and i finally got around to changing it. One of the reasons it took me so long is. Push front of cable. Jeep Liberty Parking Brake Cable Replacement.
From www.ebay.ca
OEM MOPAR LEFT SIDE REAR DISC BRAKE PARKING BRAKE ADAPTER 20062007 JEEP LIBERTY eBay Jeep Liberty Parking Brake Cable Replacement How much does a parking brake release cable replacement cost? How much does a emergency/parking brake cable replacement cost? So the cable for the. One of the reasons it took me so long is. On average, the cost for a jeep liberty emergency/parking brake cable. Parking brake release cable replacement service. I need to replace the parking brake cable on. Jeep Liberty Parking Brake Cable Replacement.
From www.jeeppartsoverstock.com
Jeep Liberty Adapter, adapter assembly. Parking brake. Right or left 52125175AC Jeep Parts Jeep Liberty Parking Brake Cable Replacement Parking brake release cable replacement service. My parking brake cable broke over 3 months ago and i finally got around to changing it. Half my interior is out all over the driveway. I need to replace the parking brake cable on my 2002 jeep liberty. A parking brake cable, several days of labor to replace? Where online can i order. Jeep Liberty Parking Brake Cable Replacement.
From www.autozone.com
2006 Jeep Liberty 4WD 2.8L Turbo Dsl DOHC 4cyl Repair Guides Parking Brake Cable Jeep Liberty Parking Brake Cable Replacement Push front of cable through the mounting bracket. Push parking brake cable forward (make sure the the little hook thing is over the pin). I need to replace the parking brake cable on my 2002 jeep liberty. This is in one of the pics. How much does a parking brake release cable replacement cost? So the cable for the. Where. Jeep Liberty Parking Brake Cable Replacement.
From www.ebay.com
20052007 Jeep Liberty Parking Brake Lever Assembly New Mopar OEM eBay Jeep Liberty Parking Brake Cable Replacement My parking brake cable broke over 3 months ago and i finally got around to changing it. Parking brake release cable replacement service. On average, the cost for a jeep liberty emergency/parking brake cable. A parking brake cable, several days of labor to replace? One of the reasons it took me so long is. How much does a emergency/parking brake. Jeep Liberty Parking Brake Cable Replacement.
From www.quadratec.com
Crown Automotive 52128256AC Driver or Passenger Side Rear Emergency Brake Cable for 2002 Jeep Jeep Liberty Parking Brake Cable Replacement On average, the cost for a jeep liberty emergency/parking brake cable. How much does a emergency/parking brake cable replacement cost? I need to replace the parking brake cable on my 2002 jeep liberty. Push front of cable through the mounting bracket. Push parking brake cable forward (make sure the the little hook thing is over the pin). How much does. Jeep Liberty Parking Brake Cable Replacement.
From www.youtube.com
06 Jeep Liberty dust shields, parking brakes, and cable replacement YouTube Jeep Liberty Parking Brake Cable Replacement Push front of cable through the mounting bracket. How much does a emergency/parking brake cable replacement cost? So the cable for the. On average, the cost for a jeep liberty emergency/parking brake cable. How much does a parking brake release cable replacement cost? Parking brake release cable replacement service. This is in one of the pics. Where online can i. Jeep Liberty Parking Brake Cable Replacement.
From www.jeepkj.com
HowTo Full Parking Brake Replacement Jeep Liberty Forum JeepKJ Country Jeep Liberty Parking Brake Cable Replacement This is in one of the pics. Parking brake release cable replacement service. One of the reasons it took me so long is. A parking brake cable, several days of labor to replace? Push front of cable through the mounting bracket. I need to replace the parking brake cable on my 2002 jeep liberty. My parking brake cable broke over. Jeep Liberty Parking Brake Cable Replacement.
From www.slimansparts.com
Jeep Liberty Parking Brake Assembly. 2WD, DISC BRAKES. 4WD, DISC BRAKES 52129176AD Amherst OH Jeep Liberty Parking Brake Cable Replacement Where online can i order one. Push front of cable through the mounting bracket. On average, the cost for a jeep liberty emergency/parking brake cable. One of the reasons it took me so long is. Half my interior is out all over the driveway. How much does a emergency/parking brake cable replacement cost? So the cable for the. My parking. Jeep Liberty Parking Brake Cable Replacement.
From www.ebay.com
0607 JEEP LIBERTY REAR LEFT SIDE PARKING BRAKE ADAPTER NEW MOPAR GENUINE eBay Jeep Liberty Parking Brake Cable Replacement How much does a parking brake release cable replacement cost? How much does a emergency/parking brake cable replacement cost? A parking brake cable, several days of labor to replace? So the cable for the. One of the reasons it took me so long is. Half my interior is out all over the driveway. This is in one of the pics.. Jeep Liberty Parking Brake Cable Replacement.
From autoctrls.com
Understanding the 2005 Jeep Liberty Parking Brake System Diagram and Explanation Jeep Liberty Parking Brake Cable Replacement My parking brake cable broke over 3 months ago and i finally got around to changing it. How much does a parking brake release cable replacement cost? One of the reasons it took me so long is. How much does a emergency/parking brake cable replacement cost? This is in one of the pics. So the cable for the. On average,. Jeep Liberty Parking Brake Cable Replacement.
From www.youtube.com
Jeep Wrangler JK Parking Brake Replacement YouTube Jeep Liberty Parking Brake Cable Replacement One of the reasons it took me so long is. A parking brake cable, several days of labor to replace? On average, the cost for a jeep liberty emergency/parking brake cable. My parking brake cable broke over 3 months ago and i finally got around to changing it. I need to replace the parking brake cable on my 2002 jeep. Jeep Liberty Parking Brake Cable Replacement.
From elecdiags.com
A Visual Guide to Understanding the Jeep Liberty Parking Brake Diagram Jeep Liberty Parking Brake Cable Replacement Push front of cable through the mounting bracket. Half my interior is out all over the driveway. On average, the cost for a jeep liberty emergency/parking brake cable. This is in one of the pics. Where online can i order one. How much does a emergency/parking brake cable replacement cost? Parking brake release cable replacement service. I need to replace. Jeep Liberty Parking Brake Cable Replacement.
From flavored.ph
Parking Brake Levers Brake System Replacement Parts 20052007 Jeep Liberty Parking Brake Lever Jeep Liberty Parking Brake Cable Replacement I need to replace the parking brake cable on my 2002 jeep liberty. One of the reasons it took me so long is. Parking brake release cable replacement service. So the cable for the. How much does a parking brake release cable replacement cost? My parking brake cable broke over 3 months ago and i finally got around to changing. Jeep Liberty Parking Brake Cable Replacement.
From autoctrls.com
Understanding the 2005 Jeep Liberty Parking Brake System Diagram and Explanation Jeep Liberty Parking Brake Cable Replacement This is in one of the pics. Push front of cable through the mounting bracket. Where online can i order one. I need to replace the parking brake cable on my 2002 jeep liberty. On average, the cost for a jeep liberty emergency/parking brake cable. My parking brake cable broke over 3 months ago and i finally got around to. Jeep Liberty Parking Brake Cable Replacement.
From www.quirkparts.com
20082012 Jeep Liberty OEM NEW 20082012 Mopar Jeep Liberty Parking Brake Cable Left Rear Jeep Liberty Parking Brake Cable Replacement How much does a parking brake release cable replacement cost? Push front of cable through the mounting bracket. I need to replace the parking brake cable on my 2002 jeep liberty. So the cable for the. Push parking brake cable forward (make sure the the little hook thing is over the pin). Where online can i order one. A parking. Jeep Liberty Parking Brake Cable Replacement.
From www.autozone.com
2006 Jeep Liberty 4WD 2.8L Turbo Dsl DOHC 4cyl Repair Guides Parking Brake Cable Jeep Liberty Parking Brake Cable Replacement One of the reasons it took me so long is. Half my interior is out all over the driveway. A parking brake cable, several days of labor to replace? How much does a parking brake release cable replacement cost? How much does a emergency/parking brake cable replacement cost? Push parking brake cable forward (make sure the the little hook thing. Jeep Liberty Parking Brake Cable Replacement.
From www.jeepkj.com
HowTo Full Parking Brake Replacement Jeep Liberty Forum JeepKJ Country Jeep Liberty Parking Brake Cable Replacement One of the reasons it took me so long is. How much does a emergency/parking brake cable replacement cost? This is in one of the pics. A parking brake cable, several days of labor to replace? Push parking brake cable forward (make sure the the little hook thing is over the pin). Half my interior is out all over the. Jeep Liberty Parking Brake Cable Replacement.
From www.walmart.com
OE Replacement for 20082009 Jeep Liberty Parking Brake Lever Kit (Limited / North Edition / Sky Jeep Liberty Parking Brake Cable Replacement So the cable for the. On average, the cost for a jeep liberty emergency/parking brake cable. Push front of cable through the mounting bracket. Where online can i order one. I need to replace the parking brake cable on my 2002 jeep liberty. One of the reasons it took me so long is. Push parking brake cable forward (make sure. Jeep Liberty Parking Brake Cable Replacement.
From www.leeparts.com
Jeep Liberty Parking Brake Cable (Rear Left) Jeep Liberty Parking Brake Cable Replacement Push parking brake cable forward (make sure the the little hook thing is over the pin). So the cable for the. My parking brake cable broke over 3 months ago and i finally got around to changing it. I need to replace the parking brake cable on my 2002 jeep liberty. Where online can i order one. A parking brake. Jeep Liberty Parking Brake Cable Replacement.
From elecdiags.com
A Visual Guide to Understanding the Jeep Liberty Parking Brake Diagram Jeep Liberty Parking Brake Cable Replacement How much does a parking brake release cable replacement cost? Push front of cable through the mounting bracket. Push parking brake cable forward (make sure the the little hook thing is over the pin). On average, the cost for a jeep liberty emergency/parking brake cable. One of the reasons it took me so long is. Parking brake release cable replacement. Jeep Liberty Parking Brake Cable Replacement.
From elecdiags.com
A Visual Guide to Understanding the Jeep Liberty Parking Brake Diagram Jeep Liberty Parking Brake Cable Replacement Parking brake release cable replacement service. My parking brake cable broke over 3 months ago and i finally got around to changing it. Half my interior is out all over the driveway. A parking brake cable, several days of labor to replace? So the cable for the. How much does a emergency/parking brake cable replacement cost? Push front of cable. Jeep Liberty Parking Brake Cable Replacement.
From elecdiags.com
A Visual Guide to Understanding the Jeep Liberty Parking Brake Diagram Jeep Liberty Parking Brake Cable Replacement How much does a parking brake release cable replacement cost? Half my interior is out all over the driveway. Push front of cable through the mounting bracket. I need to replace the parking brake cable on my 2002 jeep liberty. Push parking brake cable forward (make sure the the little hook thing is over the pin). A parking brake cable,. Jeep Liberty Parking Brake Cable Replacement.
From www.jeeppartsoverstock.com
Jeep Liberty Adapter, adapter assembly. Parking brake. Right or left 52125175AC Jeep Parts Jeep Liberty Parking Brake Cable Replacement Parking brake release cable replacement service. Half my interior is out all over the driveway. One of the reasons it took me so long is. This is in one of the pics. Push front of cable through the mounting bracket. How much does a parking brake release cable replacement cost? A parking brake cable, several days of labor to replace?. Jeep Liberty Parking Brake Cable Replacement.
From elecdiags.com
A Visual Guide to Understanding the Jeep Liberty Parking Brake Diagram Jeep Liberty Parking Brake Cable Replacement One of the reasons it took me so long is. So the cable for the. I need to replace the parking brake cable on my 2002 jeep liberty. Push front of cable through the mounting bracket. This is in one of the pics. Half my interior is out all over the driveway. Push parking brake cable forward (make sure the. Jeep Liberty Parking Brake Cable Replacement.
From www.jeepkj.com
HowTo Full Parking Brake Replacement Jeep Liberty Forum JeepKJ Country Jeep Liberty Parking Brake Cable Replacement Parking brake release cable replacement service. Push parking brake cable forward (make sure the the little hook thing is over the pin). I need to replace the parking brake cable on my 2002 jeep liberty. So the cable for the. Push front of cable through the mounting bracket. How much does a parking brake release cable replacement cost? Where online. Jeep Liberty Parking Brake Cable Replacement.
From www.jeeppartsoverstock.com
Jeep Liberty Adapter, adapter assembly. Parking brake. Right or left 52125175AC Jeep Parts Jeep Liberty Parking Brake Cable Replacement So the cable for the. I need to replace the parking brake cable on my 2002 jeep liberty. Where online can i order one. One of the reasons it took me so long is. How much does a emergency/parking brake cable replacement cost? This is in one of the pics. A parking brake cable, several days of labor to replace?. Jeep Liberty Parking Brake Cable Replacement.
From www.jeepkj.com
HowTo Full Parking Brake Replacement Jeep Liberty Forum JeepKJ Country Jeep Liberty Parking Brake Cable Replacement How much does a parking brake release cable replacement cost? So the cable for the. This is in one of the pics. My parking brake cable broke over 3 months ago and i finally got around to changing it. Where online can i order one. Push parking brake cable forward (make sure the the little hook thing is over the. Jeep Liberty Parking Brake Cable Replacement.
From techschems.com
Understanding the 2005 Jeep Liberty Parking Brake System A Comprehensive Diagram Jeep Liberty Parking Brake Cable Replacement Push front of cable through the mounting bracket. Parking brake release cable replacement service. Half my interior is out all over the driveway. A parking brake cable, several days of labor to replace? My parking brake cable broke over 3 months ago and i finally got around to changing it. Where online can i order one. How much does a. Jeep Liberty Parking Brake Cable Replacement.
From autoctrls.com
Understanding the 2005 Jeep Liberty Parking Brake System Diagram and Explanation Jeep Liberty Parking Brake Cable Replacement My parking brake cable broke over 3 months ago and i finally got around to changing it. How much does a parking brake release cable replacement cost? Push parking brake cable forward (make sure the the little hook thing is over the pin). So the cable for the. Where online can i order one. Push front of cable through the. Jeep Liberty Parking Brake Cable Replacement.
From www.quadratec.com
Crown Automotive 52128510AG Passenger Side Parking Brake Cable for 0307 Jeep Liberty KJ Quadratec Jeep Liberty Parking Brake Cable Replacement Push front of cable through the mounting bracket. On average, the cost for a jeep liberty emergency/parking brake cable. Parking brake release cable replacement service. This is in one of the pics. How much does a emergency/parking brake cable replacement cost? Where online can i order one. A parking brake cable, several days of labor to replace? So the cable. Jeep Liberty Parking Brake Cable Replacement.