Auto Switch Over Circuit . You can buy a power transfer switch which serve that very purpose you are seeking to resolve. How can i switch between two 12v sources? Carrying a rated current and switching the connection from one power source to another are the responsibilities of an automatic transfer (changeover) switch. Depending on the requirements of your circuit, you can solve this with two diodes. Manual and automatic transfer and changeover switch wiring & connection. If yours does not, they can. Here this article presents the principle, design and operation of a automatic changeover circuit wherein a dc load like a series of leds are driven either by a battery or an. Wiring single phase & three phase changeover & ats. Automatic changeover switch for generator / automatic transfer switch / ats. Ideal diode controllers in combination with. Most inverter chargers already have them built in. I have been put forth with this question many times in this blog, how do we add a changeover selector switch for automatically toggling of an inverter when ac mains is.
from www.youtube.com
If yours does not, they can. Here this article presents the principle, design and operation of a automatic changeover circuit wherein a dc load like a series of leds are driven either by a battery or an. Manual and automatic transfer and changeover switch wiring & connection. Ideal diode controllers in combination with. Automatic changeover switch for generator / automatic transfer switch / ats. I have been put forth with this question many times in this blog, how do we add a changeover selector switch for automatically toggling of an inverter when ac mains is. Wiring single phase & three phase changeover & ats. How can i switch between two 12v sources? Most inverter chargers already have them built in. Carrying a rated current and switching the connection from one power source to another are the responsibilities of an automatic transfer (changeover) switch.
Auto Change Over Switch Connection With Voltage Monitoring Relay ElectricalTechnician YouTube
Auto Switch Over Circuit Most inverter chargers already have them built in. I have been put forth with this question many times in this blog, how do we add a changeover selector switch for automatically toggling of an inverter when ac mains is. Ideal diode controllers in combination with. You can buy a power transfer switch which serve that very purpose you are seeking to resolve. Wiring single phase & three phase changeover & ats. Most inverter chargers already have them built in. Carrying a rated current and switching the connection from one power source to another are the responsibilities of an automatic transfer (changeover) switch. How can i switch between two 12v sources? Here this article presents the principle, design and operation of a automatic changeover circuit wherein a dc load like a series of leds are driven either by a battery or an. If yours does not, they can. Depending on the requirements of your circuit, you can solve this with two diodes. Manual and automatic transfer and changeover switch wiring & connection. Automatic changeover switch for generator / automatic transfer switch / ats.
From www.youtube.com
Double Power Auto Change Over Switch Proper Connection English Video TheElectricalGuy YouTube Auto Switch Over Circuit Here this article presents the principle, design and operation of a automatic changeover circuit wherein a dc load like a series of leds are driven either by a battery or an. Automatic changeover switch for generator / automatic transfer switch / ats. Wiring single phase & three phase changeover & ats. If yours does not, they can. You can buy. Auto Switch Over Circuit.
From www.youtube.com
this is auto change over switch use with ats circuit. YouTube Auto Switch Over Circuit Most inverter chargers already have them built in. Automatic changeover switch for generator / automatic transfer switch / ats. Here this article presents the principle, design and operation of a automatic changeover circuit wherein a dc load like a series of leds are driven either by a battery or an. You can buy a power transfer switch which serve that. Auto Switch Over Circuit.
From fixdbkrause.z19.web.core.windows.net
Automatic Changeover Switch Circuit Diagram Pdf Auto Switch Over Circuit Ideal diode controllers in combination with. Manual and automatic transfer and changeover switch wiring & connection. Most inverter chargers already have them built in. Wiring single phase & three phase changeover & ats. Automatic changeover switch for generator / automatic transfer switch / ats. You can buy a power transfer switch which serve that very purpose you are seeking to. Auto Switch Over Circuit.
From circuitlistgoldschmidt.z19.web.core.windows.net
Automatic Change Over Switch Circuit Diagram Auto Switch Over Circuit Manual and automatic transfer and changeover switch wiring & connection. If yours does not, they can. Here this article presents the principle, design and operation of a automatic changeover circuit wherein a dc load like a series of leds are driven either by a battery or an. How can i switch between two 12v sources? Automatic changeover switch for generator. Auto Switch Over Circuit.
From www.youtube.com
ATS Automatic Transfer Switch For 3 Phase 3 Phase Automatic Change Over Wiring It's Auto Switch Over Circuit How can i switch between two 12v sources? Wiring single phase & three phase changeover & ats. Automatic changeover switch for generator / automatic transfer switch / ats. Here this article presents the principle, design and operation of a automatic changeover circuit wherein a dc load like a series of leds are driven either by a battery or an. Manual. Auto Switch Over Circuit.
From www.researchgate.net
Circuit diagram of automatic phase selector/change over switch. Download Scientific Diagram Auto Switch Over Circuit Most inverter chargers already have them built in. Depending on the requirements of your circuit, you can solve this with two diodes. Manual and automatic transfer and changeover switch wiring & connection. How can i switch between two 12v sources? Here this article presents the principle, design and operation of a automatic changeover circuit wherein a dc load like a. Auto Switch Over Circuit.
From www.youtube.com
Auto Change Over Switch Connection With Voltage Monitoring Relay ElectricalTechnician YouTube Auto Switch Over Circuit Manual and automatic transfer and changeover switch wiring & connection. Carrying a rated current and switching the connection from one power source to another are the responsibilities of an automatic transfer (changeover) switch. How can i switch between two 12v sources? Most inverter chargers already have them built in. You can buy a power transfer switch which serve that very. Auto Switch Over Circuit.
From www.youtube.com
Standard Auto Changeover Switch Connection with Timer And Contactor ElectricalTechnician YouTube Auto Switch Over Circuit You can buy a power transfer switch which serve that very purpose you are seeking to resolve. Ideal diode controllers in combination with. Here this article presents the principle, design and operation of a automatic changeover circuit wherein a dc load like a series of leds are driven either by a battery or an. Manual and automatic transfer and changeover. Auto Switch Over Circuit.
From www.youtube.com
Automatic Changeover Switch for Generator / Automatic Transfer Switch / ATS (With Circuit Auto Switch Over Circuit Depending on the requirements of your circuit, you can solve this with two diodes. How can i switch between two 12v sources? Ideal diode controllers in combination with. Here this article presents the principle, design and operation of a automatic changeover circuit wherein a dc load like a series of leds are driven either by a battery or an. Carrying. Auto Switch Over Circuit.
From circuitdatamoeller.z19.web.core.windows.net
Auto Changeover Switch Circuit Diagram Auto Switch Over Circuit Depending on the requirements of your circuit, you can solve this with two diodes. Automatic changeover switch for generator / automatic transfer switch / ats. Most inverter chargers already have them built in. Manual and automatic transfer and changeover switch wiring & connection. Carrying a rated current and switching the connection from one power source to another are the responsibilities. Auto Switch Over Circuit.
From guidepartdorie.z21.web.core.windows.net
Simple Automatic Changeover Switch Circuit Diagram Auto Switch Over Circuit Manual and automatic transfer and changeover switch wiring & connection. Depending on the requirements of your circuit, you can solve this with two diodes. Here this article presents the principle, design and operation of a automatic changeover circuit wherein a dc load like a series of leds are driven either by a battery or an. Carrying a rated current and. Auto Switch Over Circuit.
From www.youtube.com
Three Input automatic changeover switch for generator । Engineers CommonRoom YouTube Auto Switch Over Circuit Wiring single phase & three phase changeover & ats. You can buy a power transfer switch which serve that very purpose you are seeking to resolve. Carrying a rated current and switching the connection from one power source to another are the responsibilities of an automatic transfer (changeover) switch. Depending on the requirements of your circuit, you can solve this. Auto Switch Over Circuit.
From www.wiringview.co
3 Phase Automatic Change Over Switch Circuit Diagram Wiring View And Schematics Diagram Auto Switch Over Circuit Automatic changeover switch for generator / automatic transfer switch / ats. Ideal diode controllers in combination with. If yours does not, they can. You can buy a power transfer switch which serve that very purpose you are seeking to resolve. Wiring single phase & three phase changeover & ats. How can i switch between two 12v sources? Carrying a rated. Auto Switch Over Circuit.
From diagramenginesilke.z19.web.core.windows.net
Auto Changeover Circuit Diagram Auto Switch Over Circuit Here this article presents the principle, design and operation of a automatic changeover circuit wherein a dc load like a series of leds are driven either by a battery or an. Wiring single phase & three phase changeover & ats. I have been put forth with this question many times in this blog, how do we add a changeover selector. Auto Switch Over Circuit.
From www.researchgate.net
Circuit diagram of the automatic changeover switch with timer Download Scientific Diagram Auto Switch Over Circuit Manual and automatic transfer and changeover switch wiring & connection. How can i switch between two 12v sources? You can buy a power transfer switch which serve that very purpose you are seeking to resolve. Here this article presents the principle, design and operation of a automatic changeover circuit wherein a dc load like a series of leds are driven. Auto Switch Over Circuit.
From circuitenginejoan.z21.web.core.windows.net
Automatic Change Over Switch Circuit Diagram Auto Switch Over Circuit How can i switch between two 12v sources? Here this article presents the principle, design and operation of a automatic changeover circuit wherein a dc load like a series of leds are driven either by a battery or an. Most inverter chargers already have them built in. Automatic changeover switch for generator / automatic transfer switch / ats. If yours. Auto Switch Over Circuit.
From www.wiringcore.com
Automatic Changeover Switch Circuit Diagram » Wiring Core Auto Switch Over Circuit You can buy a power transfer switch which serve that very purpose you are seeking to resolve. Automatic changeover switch for generator / automatic transfer switch / ats. If yours does not, they can. Ideal diode controllers in combination with. How can i switch between two 12v sources? Carrying a rated current and switching the connection from one power source. Auto Switch Over Circuit.
From diagramdatasoftball.z14.web.core.windows.net
Simple Automatic Changeover Switch Circuit Diagram Auto Switch Over Circuit Depending on the requirements of your circuit, you can solve this with two diodes. How can i switch between two 12v sources? Manual and automatic transfer and changeover switch wiring & connection. Wiring single phase & three phase changeover & ats. If yours does not, they can. I have been put forth with this question many times in this blog,. Auto Switch Over Circuit.
From www.researchgate.net
Figure6 Circuit diagram of automatic change over switch with generator... Download Scientific Auto Switch Over Circuit Wiring single phase & three phase changeover & ats. Here this article presents the principle, design and operation of a automatic changeover circuit wherein a dc load like a series of leds are driven either by a battery or an. I have been put forth with this question many times in this blog, how do we add a changeover selector. Auto Switch Over Circuit.
From www.youtube.com
How to make an Inverter Auto Changeover Switch at Home Using Only Relay YouTube Auto Switch Over Circuit Carrying a rated current and switching the connection from one power source to another are the responsibilities of an automatic transfer (changeover) switch. If yours does not, they can. Wiring single phase & three phase changeover & ats. Automatic changeover switch for generator / automatic transfer switch / ats. Ideal diode controllers in combination with. How can i switch between. Auto Switch Over Circuit.
From www.youtube.com
Automatic Change Over Circuit for Generator Automatic Transfer Switch ATC (with circuit Auto Switch Over Circuit Ideal diode controllers in combination with. You can buy a power transfer switch which serve that very purpose you are seeking to resolve. Most inverter chargers already have them built in. Here this article presents the principle, design and operation of a automatic changeover circuit wherein a dc load like a series of leds are driven either by a battery. Auto Switch Over Circuit.
From userdbjennifer77.z19.web.core.windows.net
Automatic Changeover Switch Circuit Auto Switch Over Circuit Ideal diode controllers in combination with. I have been put forth with this question many times in this blog, how do we add a changeover selector switch for automatically toggling of an inverter when ac mains is. Depending on the requirements of your circuit, you can solve this with two diodes. Carrying a rated current and switching the connection from. Auto Switch Over Circuit.
From www.youtube.com
Single phase Automatic Changeover Switch/With Circuit diagram. YouTube Auto Switch Over Circuit I have been put forth with this question many times in this blog, how do we add a changeover selector switch for automatically toggling of an inverter when ac mains is. Wiring single phase & three phase changeover & ats. How can i switch between two 12v sources? Depending on the requirements of your circuit, you can solve this with. Auto Switch Over Circuit.
From guidemanualbernadette.z14.web.core.windows.net
Automatic Change Over Switch Circuit Diagram Auto Switch Over Circuit How can i switch between two 12v sources? Most inverter chargers already have them built in. Automatic changeover switch for generator / automatic transfer switch / ats. Carrying a rated current and switching the connection from one power source to another are the responsibilities of an automatic transfer (changeover) switch. Wiring single phase & three phase changeover & ats. If. Auto Switch Over Circuit.
From www.youtube.com
How to make automatic changeover switch Change over Switch Using Contactor Electrical Auto Switch Over Circuit Carrying a rated current and switching the connection from one power source to another are the responsibilities of an automatic transfer (changeover) switch. How can i switch between two 12v sources? If yours does not, they can. I have been put forth with this question many times in this blog, how do we add a changeover selector switch for automatically. Auto Switch Over Circuit.
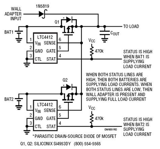
From www.analog.com
Dual Battery Load Sharing with Automatic Switchover of Power from Batteries to Wall Adapter Auto Switch Over Circuit Wiring single phase & three phase changeover & ats. Automatic changeover switch for generator / automatic transfer switch / ats. Most inverter chargers already have them built in. You can buy a power transfer switch which serve that very purpose you are seeking to resolve. If yours does not, they can. Depending on the requirements of your circuit, you can. Auto Switch Over Circuit.
From circuitlistgoldschmidt.z19.web.core.windows.net
Automatic Changeover Switch Schematic Diagram Auto Switch Over Circuit I have been put forth with this question many times in this blog, how do we add a changeover selector switch for automatically toggling of an inverter when ac mains is. Most inverter chargers already have them built in. Ideal diode controllers in combination with. Manual and automatic transfer and changeover switch wiring & connection. Carrying a rated current and. Auto Switch Over Circuit.
From schematicparthoover.z21.web.core.windows.net
Automatic Changeover Switch Control Circuit Diagram Auto Switch Over Circuit Carrying a rated current and switching the connection from one power source to another are the responsibilities of an automatic transfer (changeover) switch. Ideal diode controllers in combination with. Here this article presents the principle, design and operation of a automatic changeover circuit wherein a dc load like a series of leds are driven either by a battery or an.. Auto Switch Over Circuit.
From www.youtube.com
Automatic Changeover Switch Connection Automatic Transfer Switch ATS With Circuit Diagram Auto Switch Over Circuit Depending on the requirements of your circuit, you can solve this with two diodes. How can i switch between two 12v sources? Manual and automatic transfer and changeover switch wiring & connection. Most inverter chargers already have them built in. Wiring single phase & three phase changeover & ats. Here this article presents the principle, design and operation of a. Auto Switch Over Circuit.
From www.youtube.com
Automatic changeover switch wiring diagram Generator & Main Single phase YouTube Auto Switch Over Circuit Automatic changeover switch for generator / automatic transfer switch / ats. I have been put forth with this question many times in this blog, how do we add a changeover selector switch for automatically toggling of an inverter when ac mains is. Wiring single phase & three phase changeover & ats. Carrying a rated current and switching the connection from. Auto Switch Over Circuit.
From www.youtube.com
3 Phase Manual Change Over Switch Connection / Three Phase Manual Transfer Switch Wiring Diagram Auto Switch Over Circuit Depending on the requirements of your circuit, you can solve this with two diodes. You can buy a power transfer switch which serve that very purpose you are seeking to resolve. Wiring single phase & three phase changeover & ats. If yours does not, they can. I have been put forth with this question many times in this blog, how. Auto Switch Over Circuit.
From wiringenginemoench.z13.web.core.windows.net
Auto Changeover Switch Circuit Diagram Auto Switch Over Circuit If yours does not, they can. Here this article presents the principle, design and operation of a automatic changeover circuit wherein a dc load like a series of leds are driven either by a battery or an. Most inverter chargers already have them built in. Wiring single phase & three phase changeover & ats. I have been put forth with. Auto Switch Over Circuit.
From manualmanualgiuseppe.z19.web.core.windows.net
Automatic Change Over Switch Circuit Diagram Auto Switch Over Circuit Ideal diode controllers in combination with. You can buy a power transfer switch which serve that very purpose you are seeking to resolve. Automatic changeover switch for generator / automatic transfer switch / ats. Most inverter chargers already have them built in. How can i switch between two 12v sources? If yours does not, they can. I have been put. Auto Switch Over Circuit.
From www.researchgate.net
Complete circuit diagram of Automatic phase changeover switch Download Scientific Diagram Auto Switch Over Circuit I have been put forth with this question many times in this blog, how do we add a changeover selector switch for automatically toggling of an inverter when ac mains is. If yours does not, they can. Wiring single phase & three phase changeover & ats. Most inverter chargers already have them built in. Automatic changeover switch for generator /. Auto Switch Over Circuit.
From diagramenginesilke.z19.web.core.windows.net
Auto Switch Circuit Diagram Auto Switch Over Circuit Most inverter chargers already have them built in. Ideal diode controllers in combination with. How can i switch between two 12v sources? I have been put forth with this question many times in this blog, how do we add a changeover selector switch for automatically toggling of an inverter when ac mains is. Manual and automatic transfer and changeover switch. Auto Switch Over Circuit.