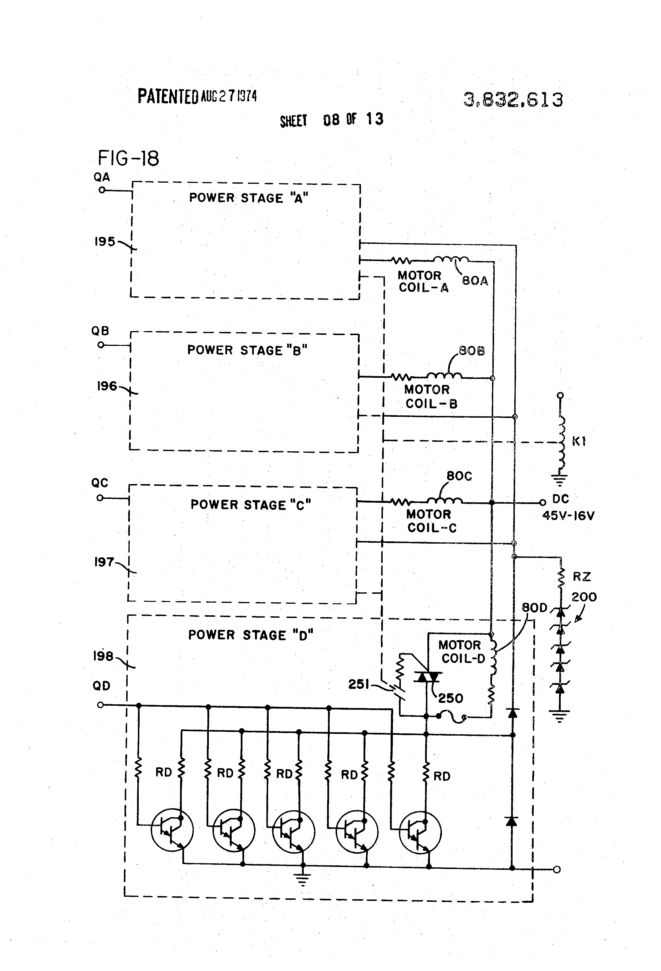
Sewing Machine Wiring Diagram . Learn how to correctly wire your sewing machine motor to ensure. 66 series sewing machine pdf manual download. It shows how the different parts of the machine. A sewing machine wiring diagram is a visual representation of the electrical connections and components of a sewing machine. View and download singer 66 series service manual online. In this article, we will discuss what components make up a wiring diagram for a sewing machine foot pedal, how to correctly wire them together, and some tips and tricks to.
from schempro.com
It shows how the different parts of the machine. A sewing machine wiring diagram is a visual representation of the electrical connections and components of a sewing machine. View and download singer 66 series service manual online. Learn how to correctly wire your sewing machine motor to ensure. 66 series sewing machine pdf manual download. In this article, we will discuss what components make up a wiring diagram for a sewing machine foot pedal, how to correctly wire them together, and some tips and tricks to.
Understanding the Wiring Diagram of a Sewing Machine
Sewing Machine Wiring Diagram A sewing machine wiring diagram is a visual representation of the electrical connections and components of a sewing machine. It shows how the different parts of the machine. 66 series sewing machine pdf manual download. A sewing machine wiring diagram is a visual representation of the electrical connections and components of a sewing machine. In this article, we will discuss what components make up a wiring diagram for a sewing machine foot pedal, how to correctly wire them together, and some tips and tricks to. Learn how to correctly wire your sewing machine motor to ensure. View and download singer 66 series service manual online.
From www.scribd.com
Sewing Machine Wiring Diagrams Cableado PDF Sewing Machine Wiring Diagram Learn how to correctly wire your sewing machine motor to ensure. It shows how the different parts of the machine. View and download singer 66 series service manual online. A sewing machine wiring diagram is a visual representation of the electrical connections and components of a sewing machine. In this article, we will discuss what components make up a wiring. Sewing Machine Wiring Diagram.
From schempro.com
Understanding the Wiring Diagram of a Sewing Machine Sewing Machine Wiring Diagram 66 series sewing machine pdf manual download. Learn how to correctly wire your sewing machine motor to ensure. View and download singer 66 series service manual online. It shows how the different parts of the machine. In this article, we will discuss what components make up a wiring diagram for a sewing machine foot pedal, how to correctly wire them. Sewing Machine Wiring Diagram.
From techschems.com
How to Wire a Vintage Singer Sewing Machine Plug StepbyStep Guide Sewing Machine Wiring Diagram View and download singer 66 series service manual online. A sewing machine wiring diagram is a visual representation of the electrical connections and components of a sewing machine. In this article, we will discuss what components make up a wiring diagram for a sewing machine foot pedal, how to correctly wire them together, and some tips and tricks to. Learn. Sewing Machine Wiring Diagram.
From wiring.hpricorpcom.com
singer sewing machine wiring diagram Wiring Diagram and Schematic Sewing Machine Wiring Diagram A sewing machine wiring diagram is a visual representation of the electrical connections and components of a sewing machine. Learn how to correctly wire your sewing machine motor to ensure. In this article, we will discuss what components make up a wiring diagram for a sewing machine foot pedal, how to correctly wire them together, and some tips and tricks. Sewing Machine Wiring Diagram.
From designschemer.com
Efficient Wiring Diagram for Singer Sewing Machine Sewing Machine Wiring Diagram It shows how the different parts of the machine. Learn how to correctly wire your sewing machine motor to ensure. In this article, we will discuss what components make up a wiring diagram for a sewing machine foot pedal, how to correctly wire them together, and some tips and tricks to. View and download singer 66 series service manual online.. Sewing Machine Wiring Diagram.
From devynejidew42.blogspot.com
37 singer sewing machine parts diagram Wiring Diagrams Explained Sewing Machine Wiring Diagram View and download singer 66 series service manual online. Learn how to correctly wire your sewing machine motor to ensure. In this article, we will discuss what components make up a wiring diagram for a sewing machine foot pedal, how to correctly wire them together, and some tips and tricks to. 66 series sewing machine pdf manual download. It shows. Sewing Machine Wiring Diagram.
From polevietnam.weebly.com
Elna supermatic sewing machine wiring diagram polevietnam Sewing Machine Wiring Diagram In this article, we will discuss what components make up a wiring diagram for a sewing machine foot pedal, how to correctly wire them together, and some tips and tricks to. View and download singer 66 series service manual online. Learn how to correctly wire your sewing machine motor to ensure. A sewing machine wiring diagram is a visual representation. Sewing Machine Wiring Diagram.
From kdi-ppi.com
How to Read and Interpret a Singer Sewing Machine Wiring Diagram Sewing Machine Wiring Diagram In this article, we will discuss what components make up a wiring diagram for a sewing machine foot pedal, how to correctly wire them together, and some tips and tricks to. It shows how the different parts of the machine. 66 series sewing machine pdf manual download. Learn how to correctly wire your sewing machine motor to ensure. A sewing. Sewing Machine Wiring Diagram.
From www.pinterest.com
singer_sewing_machine_ basic motor wiring diagram Singer Sewing Machine Wiring Diagram View and download singer 66 series service manual online. 66 series sewing machine pdf manual download. Learn how to correctly wire your sewing machine motor to ensure. In this article, we will discuss what components make up a wiring diagram for a sewing machine foot pedal, how to correctly wire them together, and some tips and tricks to. A sewing. Sewing Machine Wiring Diagram.
From schematron.org
Singer Sewing Machine Threading Diagram Wiring Diagram Pictures Sewing Machine Wiring Diagram In this article, we will discuss what components make up a wiring diagram for a sewing machine foot pedal, how to correctly wire them together, and some tips and tricks to. It shows how the different parts of the machine. View and download singer 66 series service manual online. A sewing machine wiring diagram is a visual representation of the. Sewing Machine Wiring Diagram.
From manuallibroger55.z19.web.core.windows.net
Sew Wiring Diagram Sewing Machine Wiring Diagram View and download singer 66 series service manual online. In this article, we will discuss what components make up a wiring diagram for a sewing machine foot pedal, how to correctly wire them together, and some tips and tricks to. 66 series sewing machine pdf manual download. It shows how the different parts of the machine. Learn how to correctly. Sewing Machine Wiring Diagram.
From guidelibwarren.z13.web.core.windows.net
Circuit Diagram For Sewing Machine Sewing Machine Wiring Diagram In this article, we will discuss what components make up a wiring diagram for a sewing machine foot pedal, how to correctly wire them together, and some tips and tricks to. It shows how the different parts of the machine. View and download singer 66 series service manual online. 66 series sewing machine pdf manual download. Learn how to correctly. Sewing Machine Wiring Diagram.
From zen-knit.blogspot.com
Sewing Machine Wiring Diagram Zen Knit Sewing Machine Wiring Diagram A sewing machine wiring diagram is a visual representation of the electrical connections and components of a sewing machine. View and download singer 66 series service manual online. It shows how the different parts of the machine. Learn how to correctly wire your sewing machine motor to ensure. In this article, we will discuss what components make up a wiring. Sewing Machine Wiring Diagram.
From schematicwiringbowles.z5.web.core.windows.net
Singer Sewing Machine Wiring Diagram Sewing Machine Wiring Diagram View and download singer 66 series service manual online. It shows how the different parts of the machine. 66 series sewing machine pdf manual download. Learn how to correctly wire your sewing machine motor to ensure. A sewing machine wiring diagram is a visual representation of the electrical connections and components of a sewing machine. In this article, we will. Sewing Machine Wiring Diagram.
From allwiringsketch.com
Exploring the Pfaff 130 Sewing Machine A Comprehensive Parts Diagram Sewing Machine Wiring Diagram A sewing machine wiring diagram is a visual representation of the electrical connections and components of a sewing machine. View and download singer 66 series service manual online. 66 series sewing machine pdf manual download. In this article, we will discuss what components make up a wiring diagram for a sewing machine foot pedal, how to correctly wire them together,. Sewing Machine Wiring Diagram.
From scotjimland.blogspot.com
Vintage Singer Sewing Machines and Sewing Projects. by James C Allan Sewing Machine Wiring Diagram It shows how the different parts of the machine. View and download singer 66 series service manual online. 66 series sewing machine pdf manual download. Learn how to correctly wire your sewing machine motor to ensure. In this article, we will discuss what components make up a wiring diagram for a sewing machine foot pedal, how to correctly wire them. Sewing Machine Wiring Diagram.
From wiring.hpricorpcom.com
singer sewing machine wiring diagram Wiring Diagram and Schematic Sewing Machine Wiring Diagram View and download singer 66 series service manual online. In this article, we will discuss what components make up a wiring diagram for a sewing machine foot pedal, how to correctly wire them together, and some tips and tricks to. It shows how the different parts of the machine. A sewing machine wiring diagram is a visual representation of the. Sewing Machine Wiring Diagram.
From designschemer.com
Efficient Wiring Diagram for Singer Sewing Machine Sewing Machine Wiring Diagram It shows how the different parts of the machine. View and download singer 66 series service manual online. Learn how to correctly wire your sewing machine motor to ensure. 66 series sewing machine pdf manual download. A sewing machine wiring diagram is a visual representation of the electrical connections and components of a sewing machine. In this article, we will. Sewing Machine Wiring Diagram.
From schempro.com
Understanding the Wiring Diagram of a Sewing Machine Sewing Machine Wiring Diagram A sewing machine wiring diagram is a visual representation of the electrical connections and components of a sewing machine. View and download singer 66 series service manual online. In this article, we will discuss what components make up a wiring diagram for a sewing machine foot pedal, how to correctly wire them together, and some tips and tricks to. 66. Sewing Machine Wiring Diagram.
From bestjload642.weebly.com
Elna Supermatic Sewing Machine Wiring Diagram bestjload Sewing Machine Wiring Diagram A sewing machine wiring diagram is a visual representation of the electrical connections and components of a sewing machine. View and download singer 66 series service manual online. 66 series sewing machine pdf manual download. Learn how to correctly wire your sewing machine motor to ensure. In this article, we will discuss what components make up a wiring diagram for. Sewing Machine Wiring Diagram.
From jumpstarterdiscount.blogspot.com
Elna Sewing Machine Parts Diagram Wiring Diagram Sewing Machine Wiring Diagram It shows how the different parts of the machine. 66 series sewing machine pdf manual download. Learn how to correctly wire your sewing machine motor to ensure. In this article, we will discuss what components make up a wiring diagram for a sewing machine foot pedal, how to correctly wire them together, and some tips and tricks to. View and. Sewing Machine Wiring Diagram.
From circuitbogodufu.z4.web.core.windows.net
Sewing Machine Motor Wiring Diagram Sewing Machine Wiring Diagram 66 series sewing machine pdf manual download. It shows how the different parts of the machine. View and download singer 66 series service manual online. A sewing machine wiring diagram is a visual representation of the electrical connections and components of a sewing machine. Learn how to correctly wire your sewing machine motor to ensure. In this article, we will. Sewing Machine Wiring Diagram.
From www.vrogue.co
37 Singer Sewing Machine Parts Diagram Wiring Diagram vrogue.co Sewing Machine Wiring Diagram View and download singer 66 series service manual online. In this article, we will discuss what components make up a wiring diagram for a sewing machine foot pedal, how to correctly wire them together, and some tips and tricks to. Learn how to correctly wire your sewing machine motor to ensure. 66 series sewing machine pdf manual download. A sewing. Sewing Machine Wiring Diagram.
From fasrraw735.weebly.com
Elna Supermatic Sewing Machine Wiring Diagram fasrraw Sewing Machine Wiring Diagram 66 series sewing machine pdf manual download. In this article, we will discuss what components make up a wiring diagram for a sewing machine foot pedal, how to correctly wire them together, and some tips and tricks to. A sewing machine wiring diagram is a visual representation of the electrical connections and components of a sewing machine. It shows how. Sewing Machine Wiring Diagram.
From wiredataverda.z22.web.core.windows.net
Sewing Machine Wiring Diagram Sewing Machine Wiring Diagram A sewing machine wiring diagram is a visual representation of the electrical connections and components of a sewing machine. 66 series sewing machine pdf manual download. In this article, we will discuss what components make up a wiring diagram for a sewing machine foot pedal, how to correctly wire them together, and some tips and tricks to. It shows how. Sewing Machine Wiring Diagram.
From zen-knit.blogspot.com
Sewing Machine Wiring Diagram Zen Knit Sewing Machine Wiring Diagram It shows how the different parts of the machine. View and download singer 66 series service manual online. Learn how to correctly wire your sewing machine motor to ensure. A sewing machine wiring diagram is a visual representation of the electrical connections and components of a sewing machine. In this article, we will discuss what components make up a wiring. Sewing Machine Wiring Diagram.
From zen-knit.blogspot.com
Sewing Machine Wiring Diagram Zen Knit Sewing Machine Wiring Diagram Learn how to correctly wire your sewing machine motor to ensure. A sewing machine wiring diagram is a visual representation of the electrical connections and components of a sewing machine. View and download singer 66 series service manual online. In this article, we will discuss what components make up a wiring diagram for a sewing machine foot pedal, how to. Sewing Machine Wiring Diagram.
From laxendatabase.weebly.com
Elna Supermatic Sewing Machine Wiring Diagram laxendatabase Sewing Machine Wiring Diagram It shows how the different parts of the machine. View and download singer 66 series service manual online. Learn how to correctly wire your sewing machine motor to ensure. In this article, we will discuss what components make up a wiring diagram for a sewing machine foot pedal, how to correctly wire them together, and some tips and tricks to.. Sewing Machine Wiring Diagram.
From www.pinterest.com
Sewing Machine Wiring Diagrams sewingmachinewiringdiagrams.pdf Sewing Machine Wiring Diagram In this article, we will discuss what components make up a wiring diagram for a sewing machine foot pedal, how to correctly wire them together, and some tips and tricks to. A sewing machine wiring diagram is a visual representation of the electrical connections and components of a sewing machine. View and download singer 66 series service manual online. Learn. Sewing Machine Wiring Diagram.
From jawersage.weebly.com
Elna Supermatic Sewing Machine Wiring Diagram jawersage Sewing Machine Wiring Diagram In this article, we will discuss what components make up a wiring diagram for a sewing machine foot pedal, how to correctly wire them together, and some tips and tricks to. 66 series sewing machine pdf manual download. Learn how to correctly wire your sewing machine motor to ensure. View and download singer 66 series service manual online. A sewing. Sewing Machine Wiring Diagram.
From schematicsestet.z13.web.core.windows.net
Circuit Diagram For Sewing Machine Sewing Machine Wiring Diagram A sewing machine wiring diagram is a visual representation of the electrical connections and components of a sewing machine. Learn how to correctly wire your sewing machine motor to ensure. It shows how the different parts of the machine. View and download singer 66 series service manual online. In this article, we will discuss what components make up a wiring. Sewing Machine Wiring Diagram.
From fixmanualschmid.z19.web.core.windows.net
Kenmore Sewing Machine Wiring Diagram Sewing Machine Wiring Diagram A sewing machine wiring diagram is a visual representation of the electrical connections and components of a sewing machine. 66 series sewing machine pdf manual download. View and download singer 66 series service manual online. It shows how the different parts of the machine. Learn how to correctly wire your sewing machine motor to ensure. In this article, we will. Sewing Machine Wiring Diagram.
From wiringschema.com
[DIAGRAM] Wiring Diagram Sewing Machine Motor Sewing Machine Wiring Diagram 66 series sewing machine pdf manual download. Learn how to correctly wire your sewing machine motor to ensure. In this article, we will discuss what components make up a wiring diagram for a sewing machine foot pedal, how to correctly wire them together, and some tips and tricks to. View and download singer 66 series service manual online. It shows. Sewing Machine Wiring Diagram.
From schematicfixchristian.s3-website-us-east-1.amazonaws.com
Kenmore Sewing Machine Wiring Diagram Sewing Machine Wiring Diagram Learn how to correctly wire your sewing machine motor to ensure. View and download singer 66 series service manual online. It shows how the different parts of the machine. 66 series sewing machine pdf manual download. In this article, we will discuss what components make up a wiring diagram for a sewing machine foot pedal, how to correctly wire them. Sewing Machine Wiring Diagram.
From enginelibsequined.z22.web.core.windows.net
Sewing Machine Wiring Diagram Sewing Machine Wiring Diagram A sewing machine wiring diagram is a visual representation of the electrical connections and components of a sewing machine. View and download singer 66 series service manual online. 66 series sewing machine pdf manual download. Learn how to correctly wire your sewing machine motor to ensure. It shows how the different parts of the machine. In this article, we will. Sewing Machine Wiring Diagram.