Carbon Fiber Bulk Density . carbon fiber reinforced carbon material. It is a critical factor in selecting the. knowing bulk density is a fundamental starting point when working with any powder or bulk solid. properties of carbon fibers introduction the properties of carbon fibers vary widely depending on the structure (chapter 3) of the fibers. density of carbon fiber is 2000 kg/m3. Since ccm's strengthened fiber and matrix are both composed of carbon, ccm. This unique guide listing thousands of. Density is the mass per unit volume of a carbon fiber composite material.
from www.carbonfiberrawmaterial.com
density of carbon fiber is 2000 kg/m3. This unique guide listing thousands of. properties of carbon fibers introduction the properties of carbon fibers vary widely depending on the structure (chapter 3) of the fibers. Density is the mass per unit volume of a carbon fiber composite material. carbon fiber reinforced carbon material. It is a critical factor in selecting the. knowing bulk density is a fundamental starting point when working with any powder or bulk solid. Since ccm's strengthened fiber and matrix are both composed of carbon, ccm.
High Density Carbon Fiber Products Solid Carbon Fiber Sheets 0.2mm 6mm
Carbon Fiber Bulk Density knowing bulk density is a fundamental starting point when working with any powder or bulk solid. It is a critical factor in selecting the. density of carbon fiber is 2000 kg/m3. Density is the mass per unit volume of a carbon fiber composite material. knowing bulk density is a fundamental starting point when working with any powder or bulk solid. This unique guide listing thousands of. properties of carbon fibers introduction the properties of carbon fibers vary widely depending on the structure (chapter 3) of the fibers. Since ccm's strengthened fiber and matrix are both composed of carbon, ccm. carbon fiber reinforced carbon material.
From www.researchgate.net
Density of epoxy resin and carbon fibers. Download Scientific Diagram Carbon Fiber Bulk Density It is a critical factor in selecting the. density of carbon fiber is 2000 kg/m3. properties of carbon fibers introduction the properties of carbon fibers vary widely depending on the structure (chapter 3) of the fibers. This unique guide listing thousands of. Density is the mass per unit volume of a carbon fiber composite material. Since ccm's strengthened. Carbon Fiber Bulk Density.
From www.researchgate.net
Technical and mechanical properties of carbon fiberreinforced polymer Carbon Fiber Bulk Density Density is the mass per unit volume of a carbon fiber composite material. It is a critical factor in selecting the. Since ccm's strengthened fiber and matrix are both composed of carbon, ccm. density of carbon fiber is 2000 kg/m3. properties of carbon fibers introduction the properties of carbon fibers vary widely depending on the structure (chapter 3). Carbon Fiber Bulk Density.
From www.researchgate.net
Soil organic carbon concentration (a), bulk density (b) and carbon Carbon Fiber Bulk Density This unique guide listing thousands of. knowing bulk density is a fundamental starting point when working with any powder or bulk solid. Density is the mass per unit volume of a carbon fiber composite material. Since ccm's strengthened fiber and matrix are both composed of carbon, ccm. carbon fiber reinforced carbon material. density of carbon fiber is. Carbon Fiber Bulk Density.
From www.researchgate.net
Mechanical properties versus density of highstrength ultralight carbon Carbon Fiber Bulk Density density of carbon fiber is 2000 kg/m3. Density is the mass per unit volume of a carbon fiber composite material. Since ccm's strengthened fiber and matrix are both composed of carbon, ccm. It is a critical factor in selecting the. carbon fiber reinforced carbon material. knowing bulk density is a fundamental starting point when working with any. Carbon Fiber Bulk Density.
From engineeringvibe.blogspot.com
What is Carbon Fiber Carbon Fiber Bulk Density density of carbon fiber is 2000 kg/m3. This unique guide listing thousands of. carbon fiber reinforced carbon material. properties of carbon fibers introduction the properties of carbon fibers vary widely depending on the structure (chapter 3) of the fibers. Since ccm's strengthened fiber and matrix are both composed of carbon, ccm. Density is the mass per unit. Carbon Fiber Bulk Density.
From dlshuangji.en.made-in-china.com
Graphite Products High Bulk Density CarbonCarbon Composite Materials Carbon Fiber Bulk Density This unique guide listing thousands of. It is a critical factor in selecting the. properties of carbon fibers introduction the properties of carbon fibers vary widely depending on the structure (chapter 3) of the fibers. density of carbon fiber is 2000 kg/m3. knowing bulk density is a fundamental starting point when working with any powder or bulk. Carbon Fiber Bulk Density.
From www.carbonfiberrawmaterial.com
High Density Carbon Fiber Products Solid Carbon Fiber Sheets 0.2mm 6mm Carbon Fiber Bulk Density properties of carbon fibers introduction the properties of carbon fibers vary widely depending on the structure (chapter 3) of the fibers. knowing bulk density is a fundamental starting point when working with any powder or bulk solid. carbon fiber reinforced carbon material. Since ccm's strengthened fiber and matrix are both composed of carbon, ccm. This unique guide. Carbon Fiber Bulk Density.
From www.researchgate.net
Dry content and bulk density of different types of waste. Download Table Carbon Fiber Bulk Density carbon fiber reinforced carbon material. Density is the mass per unit volume of a carbon fiber composite material. This unique guide listing thousands of. properties of carbon fibers introduction the properties of carbon fibers vary widely depending on the structure (chapter 3) of the fibers. knowing bulk density is a fundamental starting point when working with any. Carbon Fiber Bulk Density.
From www.toray.com
Toray Carbon Fiber and Thermoplastic Pellet Advances Poised to Enhance Carbon Fiber Bulk Density This unique guide listing thousands of. Density is the mass per unit volume of a carbon fiber composite material. properties of carbon fibers introduction the properties of carbon fibers vary widely depending on the structure (chapter 3) of the fibers. density of carbon fiber is 2000 kg/m3. Since ccm's strengthened fiber and matrix are both composed of carbon,. Carbon Fiber Bulk Density.
From www.researchgate.net
Typical properties of chopped carbon fibers. Download Scientific Diagram Carbon Fiber Bulk Density properties of carbon fibers introduction the properties of carbon fibers vary widely depending on the structure (chapter 3) of the fibers. knowing bulk density is a fundamental starting point when working with any powder or bulk solid. Density is the mass per unit volume of a carbon fiber composite material. This unique guide listing thousands of. density. Carbon Fiber Bulk Density.
From boldvaluable.tech
Carbon Fiber Benefits And Applications — Bold Valuable Tech Carbon Fiber Bulk Density It is a critical factor in selecting the. carbon fiber reinforced carbon material. Since ccm's strengthened fiber and matrix are both composed of carbon, ccm. Density is the mass per unit volume of a carbon fiber composite material. properties of carbon fibers introduction the properties of carbon fibers vary widely depending on the structure (chapter 3) of the. Carbon Fiber Bulk Density.
From www.alibaba.com
Suntherm Pure White Thermal Insulation Ceramic Fiber Chopped Bulk Buy Carbon Fiber Bulk Density carbon fiber reinforced carbon material. It is a critical factor in selecting the. Density is the mass per unit volume of a carbon fiber composite material. Since ccm's strengthened fiber and matrix are both composed of carbon, ccm. density of carbon fiber is 2000 kg/m3. This unique guide listing thousands of. properties of carbon fibers introduction the. Carbon Fiber Bulk Density.
From www.researchgate.net
Representative properties of standard PANbased carbon fibers Carbon Fiber Bulk Density This unique guide listing thousands of. knowing bulk density is a fundamental starting point when working with any powder or bulk solid. density of carbon fiber is 2000 kg/m3. Density is the mass per unit volume of a carbon fiber composite material. carbon fiber reinforced carbon material. It is a critical factor in selecting the. properties. Carbon Fiber Bulk Density.
From www.researchgate.net
(PDF) Comparison of bulk density methods in determining soil organic Carbon Fiber Bulk Density density of carbon fiber is 2000 kg/m3. This unique guide listing thousands of. knowing bulk density is a fundamental starting point when working with any powder or bulk solid. Density is the mass per unit volume of a carbon fiber composite material. Since ccm's strengthened fiber and matrix are both composed of carbon, ccm. carbon fiber reinforced. Carbon Fiber Bulk Density.
From www.google.ca
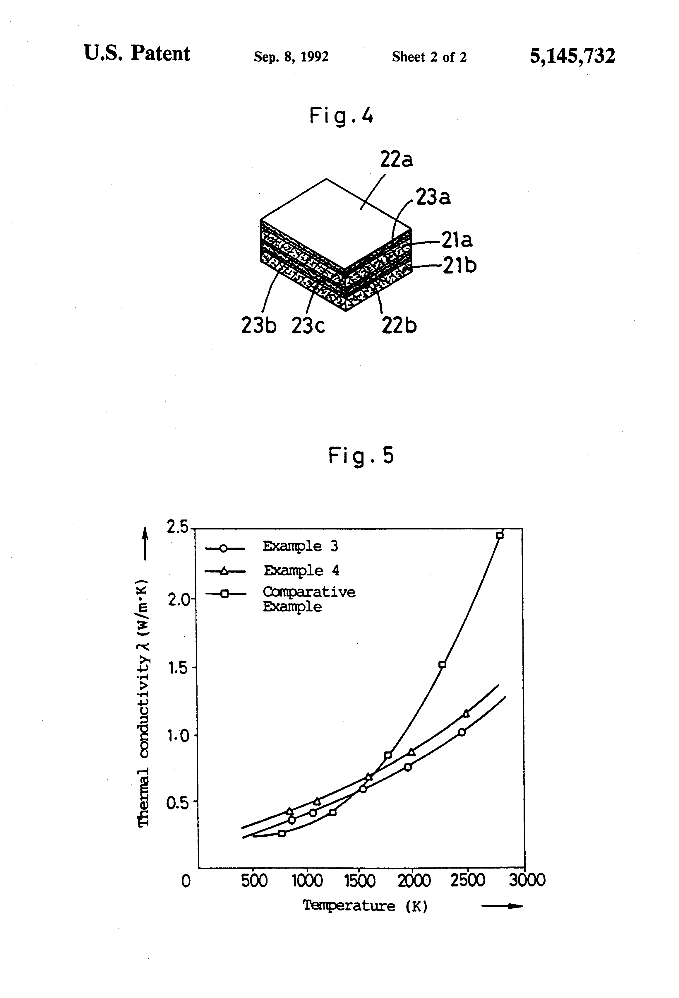
Patent US5145732 High bulk density carbon fiber felt and thermal Carbon Fiber Bulk Density density of carbon fiber is 2000 kg/m3. Since ccm's strengthened fiber and matrix are both composed of carbon, ccm. properties of carbon fibers introduction the properties of carbon fibers vary widely depending on the structure (chapter 3) of the fibers. Density is the mass per unit volume of a carbon fiber composite material. It is a critical factor. Carbon Fiber Bulk Density.
From toray-cfe.com
Torayca® Carbon Fibers Quality, Reliability and Performance Carbon Fiber Bulk Density This unique guide listing thousands of. Density is the mass per unit volume of a carbon fiber composite material. Since ccm's strengthened fiber and matrix are both composed of carbon, ccm. density of carbon fiber is 2000 kg/m3. knowing bulk density is a fundamental starting point when working with any powder or bulk solid. It is a critical. Carbon Fiber Bulk Density.
From www.jinjiuyi.net
fiber sheet priceT800 Carbon Fiber Sheet Super Light Toray T800 24K Carbon Fiber Bulk Density properties of carbon fibers introduction the properties of carbon fibers vary widely depending on the structure (chapter 3) of the fibers. carbon fiber reinforced carbon material. knowing bulk density is a fundamental starting point when working with any powder or bulk solid. This unique guide listing thousands of. It is a critical factor in selecting the. . Carbon Fiber Bulk Density.
From www.researchgate.net
Wet bulk density and workability of mortars. Download Scientific Diagram Carbon Fiber Bulk Density It is a critical factor in selecting the. Density is the mass per unit volume of a carbon fiber composite material. Since ccm's strengthened fiber and matrix are both composed of carbon, ccm. knowing bulk density is a fundamental starting point when working with any powder or bulk solid. This unique guide listing thousands of. carbon fiber reinforced. Carbon Fiber Bulk Density.
From www.researchgate.net
Material Properties of the CarbonFiberReinforced Polymer CFRP Strips Carbon Fiber Bulk Density carbon fiber reinforced carbon material. This unique guide listing thousands of. knowing bulk density is a fundamental starting point when working with any powder or bulk solid. properties of carbon fibers introduction the properties of carbon fibers vary widely depending on the structure (chapter 3) of the fibers. density of carbon fiber is 2000 kg/m3. Since. Carbon Fiber Bulk Density.
From www.researchgate.net
Correlation of soil bulk density with soil organic carbon (SOC) and Carbon Fiber Bulk Density It is a critical factor in selecting the. properties of carbon fibers introduction the properties of carbon fibers vary widely depending on the structure (chapter 3) of the fibers. density of carbon fiber is 2000 kg/m3. Density is the mass per unit volume of a carbon fiber composite material. carbon fiber reinforced carbon material. This unique guide. Carbon Fiber Bulk Density.
From pubs.acs.org
Carbon Fiber/Phenolic Composites with High Thermal Conductivity Carbon Fiber Bulk Density Since ccm's strengthened fiber and matrix are both composed of carbon, ccm. properties of carbon fibers introduction the properties of carbon fibers vary widely depending on the structure (chapter 3) of the fibers. density of carbon fiber is 2000 kg/m3. This unique guide listing thousands of. knowing bulk density is a fundamental starting point when working with. Carbon Fiber Bulk Density.
From www.researchgate.net
(b)Power density vs. current density for the 8020 carbon fibre Carbon Fiber Bulk Density knowing bulk density is a fundamental starting point when working with any powder or bulk solid. carbon fiber reinforced carbon material. It is a critical factor in selecting the. This unique guide listing thousands of. density of carbon fiber is 2000 kg/m3. properties of carbon fibers introduction the properties of carbon fibers vary widely depending on. Carbon Fiber Bulk Density.
From www.researchgate.net
Measured densities of different carbon materials Download Table Carbon Fiber Bulk Density This unique guide listing thousands of. density of carbon fiber is 2000 kg/m3. Since ccm's strengthened fiber and matrix are both composed of carbon, ccm. carbon fiber reinforced carbon material. knowing bulk density is a fundamental starting point when working with any powder or bulk solid. properties of carbon fibers introduction the properties of carbon fibers. Carbon Fiber Bulk Density.
From www.activated-carboncharcoal.com
64365 11 3 Activated Carbon 100X100X50mm Bulk Density 0.350 Carbon Fiber Bulk Density This unique guide listing thousands of. carbon fiber reinforced carbon material. properties of carbon fibers introduction the properties of carbon fibers vary widely depending on the structure (chapter 3) of the fibers. Density is the mass per unit volume of a carbon fiber composite material. It is a critical factor in selecting the. Since ccm's strengthened fiber and. Carbon Fiber Bulk Density.
From www.sinograf.com
CARBON FIBRES WHAT ARE THEY AND WHAT DISTINGUISHES THEM? Sinograf Carbon Fiber Bulk Density This unique guide listing thousands of. It is a critical factor in selecting the. knowing bulk density is a fundamental starting point when working with any powder or bulk solid. density of carbon fiber is 2000 kg/m3. properties of carbon fibers introduction the properties of carbon fibers vary widely depending on the structure (chapter 3) of the. Carbon Fiber Bulk Density.
From www.researchgate.net
Linear correlation between soil bulk density and soil organic carbon at Carbon Fiber Bulk Density properties of carbon fibers introduction the properties of carbon fibers vary widely depending on the structure (chapter 3) of the fibers. This unique guide listing thousands of. carbon fiber reinforced carbon material. Since ccm's strengthened fiber and matrix are both composed of carbon, ccm. It is a critical factor in selecting the. knowing bulk density is a. Carbon Fiber Bulk Density.
From www.science.org
HighPerformance Carbon Nanotube Fiber Science Carbon Fiber Bulk Density This unique guide listing thousands of. properties of carbon fibers introduction the properties of carbon fibers vary widely depending on the structure (chapter 3) of the fibers. Since ccm's strengthened fiber and matrix are both composed of carbon, ccm. carbon fiber reinforced carbon material. density of carbon fiber is 2000 kg/m3. Density is the mass per unit. Carbon Fiber Bulk Density.
From www.researchgate.net
Carbon isotope, bulk density, and carbon results. VEG = plots with Carbon Fiber Bulk Density It is a critical factor in selecting the. carbon fiber reinforced carbon material. This unique guide listing thousands of. properties of carbon fibers introduction the properties of carbon fibers vary widely depending on the structure (chapter 3) of the fibers. Since ccm's strengthened fiber and matrix are both composed of carbon, ccm. density of carbon fiber is. Carbon Fiber Bulk Density.
From engineeringdiscoveries.com
Bulk Density Of Aggregates Engineering Discoveries Carbon Fiber Bulk Density knowing bulk density is a fundamental starting point when working with any powder or bulk solid. Since ccm's strengthened fiber and matrix are both composed of carbon, ccm. Density is the mass per unit volume of a carbon fiber composite material. properties of carbon fibers introduction the properties of carbon fibers vary widely depending on the structure (chapter. Carbon Fiber Bulk Density.
From www.researchgate.net
Correlation of soil bulk density with soil organic carbon (SOC) and Carbon Fiber Bulk Density knowing bulk density is a fundamental starting point when working with any powder or bulk solid. density of carbon fiber is 2000 kg/m3. It is a critical factor in selecting the. Since ccm's strengthened fiber and matrix are both composed of carbon, ccm. This unique guide listing thousands of. properties of carbon fibers introduction the properties of. Carbon Fiber Bulk Density.
From dlshuangji.en.made-in-china.com
High Bulk Density CarbonCarbon Composite Materials China Carbon Carbon Fiber Bulk Density density of carbon fiber is 2000 kg/m3. knowing bulk density is a fundamental starting point when working with any powder or bulk solid. Density is the mass per unit volume of a carbon fiber composite material. Since ccm's strengthened fiber and matrix are both composed of carbon, ccm. This unique guide listing thousands of. carbon fiber reinforced. Carbon Fiber Bulk Density.
From www.researchgate.net
Comparison of different densities bulk density (ρ b ), particle Carbon Fiber Bulk Density It is a critical factor in selecting the. Density is the mass per unit volume of a carbon fiber composite material. density of carbon fiber is 2000 kg/m3. carbon fiber reinforced carbon material. Since ccm's strengthened fiber and matrix are both composed of carbon, ccm. properties of carbon fibers introduction the properties of carbon fibers vary widely. Carbon Fiber Bulk Density.
From insights.globalspec.com
An Inside Look at Carbon Fiber (and How It Can Change the Carbon Fiber Bulk Density density of carbon fiber is 2000 kg/m3. Since ccm's strengthened fiber and matrix are both composed of carbon, ccm. It is a critical factor in selecting the. carbon fiber reinforced carbon material. properties of carbon fibers introduction the properties of carbon fibers vary widely depending on the structure (chapter 3) of the fibers. Density is the mass. Carbon Fiber Bulk Density.
From www.okorder.com
1260 STD Ceramic Fiber Board with 300 kg/m3 Bulk Density realtime Carbon Fiber Bulk Density properties of carbon fibers introduction the properties of carbon fibers vary widely depending on the structure (chapter 3) of the fibers. density of carbon fiber is 2000 kg/m3. carbon fiber reinforced carbon material. knowing bulk density is a fundamental starting point when working with any powder or bulk solid. This unique guide listing thousands of. Since. Carbon Fiber Bulk Density.
From material-properties.org
Carbon Fiber Density, Strength,, Melting Point Carbon Fiber Bulk Density density of carbon fiber is 2000 kg/m3. Density is the mass per unit volume of a carbon fiber composite material. It is a critical factor in selecting the. This unique guide listing thousands of. knowing bulk density is a fundamental starting point when working with any powder or bulk solid. properties of carbon fibers introduction the properties. Carbon Fiber Bulk Density.