Tube Settler Drawing . Experimental studies on tube settler show that both theory of discreet particle settling and flocculent settling are applicable for the treatment of filter back wash water. Discover how lamella clarifier tube settlers enhance sedimentation efficiency in water treatment systems. This paper presents the results of tube settling tests on a wide range of cross sectional shapes, cross sectional sizes, tube lengths and angles. Made of lightweight pvc, tube settlers can be easily supported with minimal structures that often incorporate the effluent trough supports. What is tube settling tank, design and calculations? Tube settlers capture the settleable fine floc that escapes the clarification zone beneath the tube settlers and allows the. 3 minute water and waste water video tutorials by aetfor more information or comments. The design goal of the sludge zone is to collect all settled particles and to prevent that settled. To facilitate the settling of suspended particles and biomass, tube settler. They are available in a variety of module sizes and.
from www.youtube.com
What is tube settling tank, design and calculations? They are available in a variety of module sizes and. Made of lightweight pvc, tube settlers can be easily supported with minimal structures that often incorporate the effluent trough supports. 3 minute water and waste water video tutorials by aetfor more information or comments. Experimental studies on tube settler show that both theory of discreet particle settling and flocculent settling are applicable for the treatment of filter back wash water. Discover how lamella clarifier tube settlers enhance sedimentation efficiency in water treatment systems. The design goal of the sludge zone is to collect all settled particles and to prevent that settled. This paper presents the results of tube settling tests on a wide range of cross sectional shapes, cross sectional sizes, tube lengths and angles. Tube settlers capture the settleable fine floc that escapes the clarification zone beneath the tube settlers and allows the. To facilitate the settling of suspended particles and biomass, tube settler.
Plate and Tube settlers Process YouTube
Tube Settler Drawing Tube settlers capture the settleable fine floc that escapes the clarification zone beneath the tube settlers and allows the. Experimental studies on tube settler show that both theory of discreet particle settling and flocculent settling are applicable for the treatment of filter back wash water. What is tube settling tank, design and calculations? Made of lightweight pvc, tube settlers can be easily supported with minimal structures that often incorporate the effluent trough supports. They are available in a variety of module sizes and. Discover how lamella clarifier tube settlers enhance sedimentation efficiency in water treatment systems. Tube settlers capture the settleable fine floc that escapes the clarification zone beneath the tube settlers and allows the. The design goal of the sludge zone is to collect all settled particles and to prevent that settled. To facilitate the settling of suspended particles and biomass, tube settler. This paper presents the results of tube settling tests on a wide range of cross sectional shapes, cross sectional sizes, tube lengths and angles. 3 minute water and waste water video tutorials by aetfor more information or comments.
From medium.com
Tube Settler Lamella. Tube Settler Tube Settler Lamella,Tube… by Tube Settler Drawing 3 minute water and waste water video tutorials by aetfor more information or comments. Tube settlers capture the settleable fine floc that escapes the clarification zone beneath the tube settlers and allows the. To facilitate the settling of suspended particles and biomass, tube settler. Made of lightweight pvc, tube settlers can be easily supported with minimal structures that often incorporate. Tube Settler Drawing.
From medium.com
Tube Settler Design adhani Hefram Medium Tube Settler Drawing To facilitate the settling of suspended particles and biomass, tube settler. Tube settlers capture the settleable fine floc that escapes the clarification zone beneath the tube settlers and allows the. The design goal of the sludge zone is to collect all settled particles and to prevent that settled. They are available in a variety of module sizes and. Discover how. Tube Settler Drawing.
From ntvenvi.com
tube settler design Plate good quality Brentwood Industries 40 Tube Settler Drawing 3 minute water and waste water video tutorials by aetfor more information or comments. Tube settlers capture the settleable fine floc that escapes the clarification zone beneath the tube settlers and allows the. Experimental studies on tube settler show that both theory of discreet particle settling and flocculent settling are applicable for the treatment of filter back wash water. This. Tube Settler Drawing.
From sst.co.th
Tube Settler Tube Settler Drawing 3 minute water and waste water video tutorials by aetfor more information or comments. What is tube settling tank, design and calculations? Discover how lamella clarifier tube settlers enhance sedimentation efficiency in water treatment systems. Experimental studies on tube settler show that both theory of discreet particle settling and flocculent settling are applicable for the treatment of filter back wash. Tube Settler Drawing.
From tubesettlerclarifier.com
Tube Settler Clarifier Water Treatment Equipment Specialist Tube Settler Drawing Experimental studies on tube settler show that both theory of discreet particle settling and flocculent settling are applicable for the treatment of filter back wash water. 3 minute water and waste water video tutorials by aetfor more information or comments. Tube settlers capture the settleable fine floc that escapes the clarification zone beneath the tube settlers and allows the. What. Tube Settler Drawing.
From www.youtube.com
Plate and Tube settlers Process YouTube Tube Settler Drawing They are available in a variety of module sizes and. Discover how lamella clarifier tube settlers enhance sedimentation efficiency in water treatment systems. Tube settlers capture the settleable fine floc that escapes the clarification zone beneath the tube settlers and allows the. To facilitate the settling of suspended particles and biomass, tube settler. What is tube settling tank, design and. Tube Settler Drawing.
From www.chinambbr.com
China Tube Settler Design Suppliers, Manufacturers, Factory Free Tube Settler Drawing They are available in a variety of module sizes and. This paper presents the results of tube settling tests on a wide range of cross sectional shapes, cross sectional sizes, tube lengths and angles. Experimental studies on tube settler show that both theory of discreet particle settling and flocculent settling are applicable for the treatment of filter back wash water.. Tube Settler Drawing.
From a2v.co.za
6.0x2.5m Tube Settler with 50mm Modules A2V Tube Settler Drawing 3 minute water and waste water video tutorials by aetfor more information or comments. To facilitate the settling of suspended particles and biomass, tube settler. Made of lightweight pvc, tube settlers can be easily supported with minimal structures that often incorporate the effluent trough supports. They are available in a variety of module sizes and. What is tube settling tank,. Tube Settler Drawing.
From www.researchgate.net
Properties of a tube settler module Download Scientific Diagram Tube Settler Drawing Made of lightweight pvc, tube settlers can be easily supported with minimal structures that often incorporate the effluent trough supports. They are available in a variety of module sizes and. 3 minute water and waste water video tutorials by aetfor more information or comments. The design goal of the sludge zone is to collect all settled particles and to prevent. Tube Settler Drawing.
From medium.com
Tube Settler Function/Tube Settler Heframid by adhani Hefram Medium Tube Settler Drawing To facilitate the settling of suspended particles and biomass, tube settler. Discover how lamella clarifier tube settlers enhance sedimentation efficiency in water treatment systems. Experimental studies on tube settler show that both theory of discreet particle settling and flocculent settling are applicable for the treatment of filter back wash water. Made of lightweight pvc, tube settlers can be easily supported. Tube Settler Drawing.
From id.scribd.com
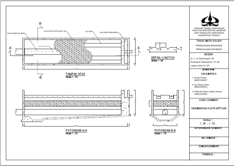
Sedimentasi Tube Settler PDF Tube Settler Drawing The design goal of the sludge zone is to collect all settled particles and to prevent that settled. To facilitate the settling of suspended particles and biomass, tube settler. What is tube settling tank, design and calculations? They are available in a variety of module sizes and. This paper presents the results of tube settling tests on a wide range. Tube Settler Drawing.
From www.sdenviro.com
Tube Settler Systems Tube Settler Tanks Manufacturer India Tube Settler Drawing Experimental studies on tube settler show that both theory of discreet particle settling and flocculent settling are applicable for the treatment of filter back wash water. 3 minute water and waste water video tutorials by aetfor more information or comments. Discover how lamella clarifier tube settlers enhance sedimentation efficiency in water treatment systems. What is tube settling tank, design and. Tube Settler Drawing.
From www.meurerresearch.com
MRI Tube Settler System Most Durable Tube Settler System Available Tube Settler Drawing What is tube settling tank, design and calculations? Discover how lamella clarifier tube settlers enhance sedimentation efficiency in water treatment systems. Experimental studies on tube settler show that both theory of discreet particle settling and flocculent settling are applicable for the treatment of filter back wash water. 3 minute water and waste water video tutorials by aetfor more information or. Tube Settler Drawing.
From a2v.co.za
Tube Settler Modules A2V Tube Settler Drawing They are available in a variety of module sizes and. Experimental studies on tube settler show that both theory of discreet particle settling and flocculent settling are applicable for the treatment of filter back wash water. This paper presents the results of tube settling tests on a wide range of cross sectional shapes, cross sectional sizes, tube lengths and angles.. Tube Settler Drawing.
From www.researchgate.net
Designed scheme of a) tube settler b) sand filter c) overall Tube Settler Drawing Experimental studies on tube settler show that both theory of discreet particle settling and flocculent settling are applicable for the treatment of filter back wash water. 3 minute water and waste water video tutorials by aetfor more information or comments. Discover how lamella clarifier tube settlers enhance sedimentation efficiency in water treatment systems. Made of lightweight pvc, tube settlers can. Tube Settler Drawing.
From www.youtube.com
Design of Tube Settlers YouTube Tube Settler Drawing The design goal of the sludge zone is to collect all settled particles and to prevent that settled. What is tube settling tank, design and calculations? Made of lightweight pvc, tube settlers can be easily supported with minimal structures that often incorporate the effluent trough supports. Tube settlers capture the settleable fine floc that escapes the clarification zone beneath the. Tube Settler Drawing.
From www.researchgate.net
(PDF) of suspended solids removal in tube settler Tube Settler Drawing Experimental studies on tube settler show that both theory of discreet particle settling and flocculent settling are applicable for the treatment of filter back wash water. This paper presents the results of tube settling tests on a wide range of cross sectional shapes, cross sectional sizes, tube lengths and angles. Tube settlers capture the settleable fine floc that escapes the. Tube Settler Drawing.
From www.alibaba.com
Filter Media 50mm Aperture Lamella Plate Inclined Tube Settler Media Tube Settler Drawing What is tube settling tank, design and calculations? This paper presents the results of tube settling tests on a wide range of cross sectional shapes, cross sectional sizes, tube lengths and angles. 3 minute water and waste water video tutorials by aetfor more information or comments. Discover how lamella clarifier tube settlers enhance sedimentation efficiency in water treatment systems. They. Tube Settler Drawing.
From www.vrogue.co
Drinking Water Animation Tube Settler Guideline Lamel vrogue.co Tube Settler Drawing They are available in a variety of module sizes and. 3 minute water and waste water video tutorials by aetfor more information or comments. This paper presents the results of tube settling tests on a wide range of cross sectional shapes, cross sectional sizes, tube lengths and angles. Experimental studies on tube settler show that both theory of discreet particle. Tube Settler Drawing.
From www.youtube.com
Tube settler turnkey system drawing YouTube Tube Settler Drawing Made of lightweight pvc, tube settlers can be easily supported with minimal structures that often incorporate the effluent trough supports. This paper presents the results of tube settling tests on a wide range of cross sectional shapes, cross sectional sizes, tube lengths and angles. Experimental studies on tube settler show that both theory of discreet particle settling and flocculent settling. Tube Settler Drawing.
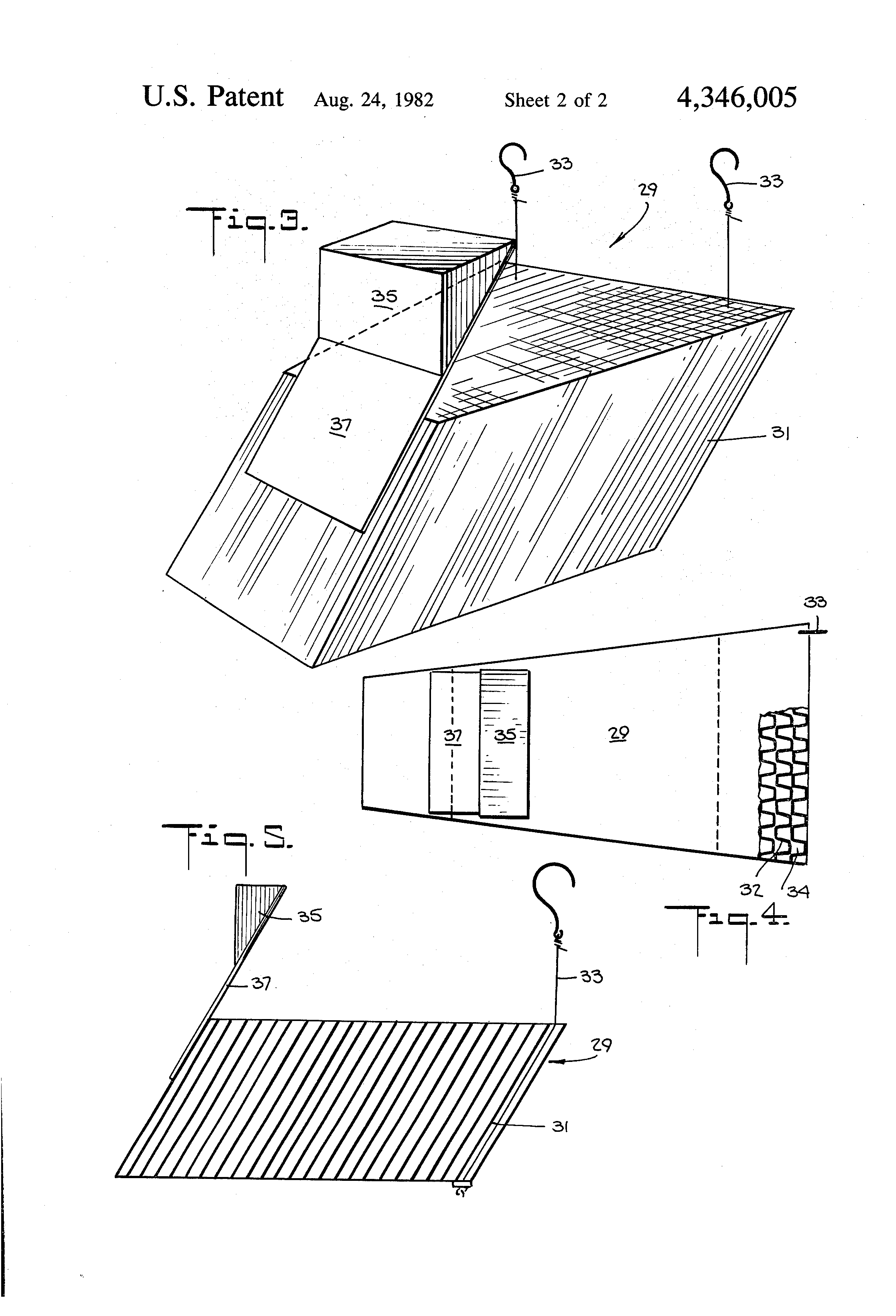
From www.google.com
Patent US4346005 Tube settler module Google Patents Tube Settler Drawing This paper presents the results of tube settling tests on a wide range of cross sectional shapes, cross sectional sizes, tube lengths and angles. Made of lightweight pvc, tube settlers can be easily supported with minimal structures that often incorporate the effluent trough supports. They are available in a variety of module sizes and. What is tube settling tank, design. Tube Settler Drawing.
From medium.com
Tube Settler adhani Hefram Medium Tube Settler Drawing Experimental studies on tube settler show that both theory of discreet particle settling and flocculent settling are applicable for the treatment of filter back wash water. 3 minute water and waste water video tutorials by aetfor more information or comments. They are available in a variety of module sizes and. This paper presents the results of tube settling tests on. Tube Settler Drawing.
From www.google.com
Patent US4346005 Tube settler module Google Patents Tube Settler Drawing 3 minute water and waste water video tutorials by aetfor more information or comments. Discover how lamella clarifier tube settlers enhance sedimentation efficiency in water treatment systems. Tube settlers capture the settleable fine floc that escapes the clarification zone beneath the tube settlers and allows the. This paper presents the results of tube settling tests on a wide range of. Tube Settler Drawing.
From www.coolingtowerinfill.com
Tube Settler work principle Tube Settler Drawing Experimental studies on tube settler show that both theory of discreet particle settling and flocculent settling are applicable for the treatment of filter back wash water. To facilitate the settling of suspended particles and biomass, tube settler. Tube settlers capture the settleable fine floc that escapes the clarification zone beneath the tube settlers and allows the. What is tube settling. Tube Settler Drawing.
From aqua-equip.com
Tube Settler/Lamella Clarifier Packs Aqua Equip Technologies, LLC Tube Settler Drawing The design goal of the sludge zone is to collect all settled particles and to prevent that settled. 3 minute water and waste water video tutorials by aetfor more information or comments. Experimental studies on tube settler show that both theory of discreet particle settling and flocculent settling are applicable for the treatment of filter back wash water. They are. Tube Settler Drawing.
From www.indiamart.com
Tube Settlers, Tube Settler, टयूब सेटलर सिस्टम, टयूब सेटलर की प्रणाली Tube Settler Drawing Tube settlers capture the settleable fine floc that escapes the clarification zone beneath the tube settlers and allows the. To facilitate the settling of suspended particles and biomass, tube settler. The design goal of the sludge zone is to collect all settled particles and to prevent that settled. This paper presents the results of tube settling tests on a wide. Tube Settler Drawing.
From www.gngep.com
Tube Settler Media Tube Settler Drawing Experimental studies on tube settler show that both theory of discreet particle settling and flocculent settling are applicable for the treatment of filter back wash water. The design goal of the sludge zone is to collect all settled particles and to prevent that settled. Made of lightweight pvc, tube settlers can be easily supported with minimal structures that often incorporate. Tube Settler Drawing.
From www.scribd.com
Tube Settler Drawing PDF Tube Settler Drawing Experimental studies on tube settler show that both theory of discreet particle settling and flocculent settling are applicable for the treatment of filter back wash water. Tube settlers capture the settleable fine floc that escapes the clarification zone beneath the tube settlers and allows the. What is tube settling tank, design and calculations? Discover how lamella clarifier tube settlers enhance. Tube Settler Drawing.
From www.researchgate.net
Schematic diagram of tube settler Download Scientific Diagram Tube Settler Drawing What is tube settling tank, design and calculations? To facilitate the settling of suspended particles and biomass, tube settler. Made of lightweight pvc, tube settlers can be easily supported with minimal structures that often incorporate the effluent trough supports. This paper presents the results of tube settling tests on a wide range of cross sectional shapes, cross sectional sizes, tube. Tube Settler Drawing.
From www.coolingtowerinfill.com
Tube settler sheet VS tube settler modules Tube Settler Drawing 3 minute water and waste water video tutorials by aetfor more information or comments. What is tube settling tank, design and calculations? Experimental studies on tube settler show that both theory of discreet particle settling and flocculent settling are applicable for the treatment of filter back wash water. To facilitate the settling of suspended particles and biomass, tube settler. They. Tube Settler Drawing.
From www.researchgate.net
Designed scheme of a) tube settler b) sand filter c) overall Tube Settler Drawing To facilitate the settling of suspended particles and biomass, tube settler. Experimental studies on tube settler show that both theory of discreet particle settling and flocculent settling are applicable for the treatment of filter back wash water. What is tube settling tank, design and calculations? Discover how lamella clarifier tube settlers enhance sedimentation efficiency in water treatment systems. Made of. Tube Settler Drawing.
From www.melcoindia.in
MELCO INDIA PVT. LTD Tube Settler Drawing Made of lightweight pvc, tube settlers can be easily supported with minimal structures that often incorporate the effluent trough supports. 3 minute water and waste water video tutorials by aetfor more information or comments. What is tube settling tank, design and calculations? This paper presents the results of tube settling tests on a wide range of cross sectional shapes, cross. Tube Settler Drawing.
From www.youtube.com
How do tube settler work plate settler, lamella clarifier tutorial Tube Settler Drawing 3 minute water and waste water video tutorials by aetfor more information or comments. Experimental studies on tube settler show that both theory of discreet particle settling and flocculent settling are applicable for the treatment of filter back wash water. Tube settlers capture the settleable fine floc that escapes the clarification zone beneath the tube settlers and allows the. Discover. Tube Settler Drawing.
From marie-dinwiddie.blogspot.com
lamella settler design calculation mariedinwiddie Tube Settler Drawing Experimental studies on tube settler show that both theory of discreet particle settling and flocculent settling are applicable for the treatment of filter back wash water. They are available in a variety of module sizes and. Made of lightweight pvc, tube settlers can be easily supported with minimal structures that often incorporate the effluent trough supports. The design goal of. Tube Settler Drawing.
From www.toyaarta.com
Tube Settler Design Clarifier Terbaik Toya Water System Tube Settler Drawing Made of lightweight pvc, tube settlers can be easily supported with minimal structures that often incorporate the effluent trough supports. What is tube settling tank, design and calculations? Tube settlers capture the settleable fine floc that escapes the clarification zone beneath the tube settlers and allows the. To facilitate the settling of suspended particles and biomass, tube settler. Discover how. Tube Settler Drawing.