A/D And D/A Converters In Microprocessor . In the first technique it. D/a converters a d/a converter can be visualized as a circuit that adds up a number of voltages under the control of a digital signal. This lecture describes the specifications and principles of operation of a/d and d/a converters. In the first technique it compares given analog. The specifications for an a/d. After this lecture you should be able to specify. The a/d converters can be classified into two groups based on their conversion techniques. The a/d converters can be classified into two groups based on their conversion techniques. Adc can be classified into two general groups based on conversion technique. And converted back to analog. The function of an a/d converter is to produce a digital word which represents the magnitude of some analog voltage or current. One technique involves comparing a given analog signal with.
from www.seekic.com
The a/d converters can be classified into two groups based on their conversion techniques. After this lecture you should be able to specify. In the first technique it. Adc can be classified into two general groups based on conversion technique. In the first technique it compares given analog. The specifications for an a/d. The a/d converters can be classified into two groups based on their conversion techniques. One technique involves comparing a given analog signal with. D/a converters a d/a converter can be visualized as a circuit that adds up a number of voltages under the control of a digital signal. This lecture describes the specifications and principles of operation of a/d and d/a converters.
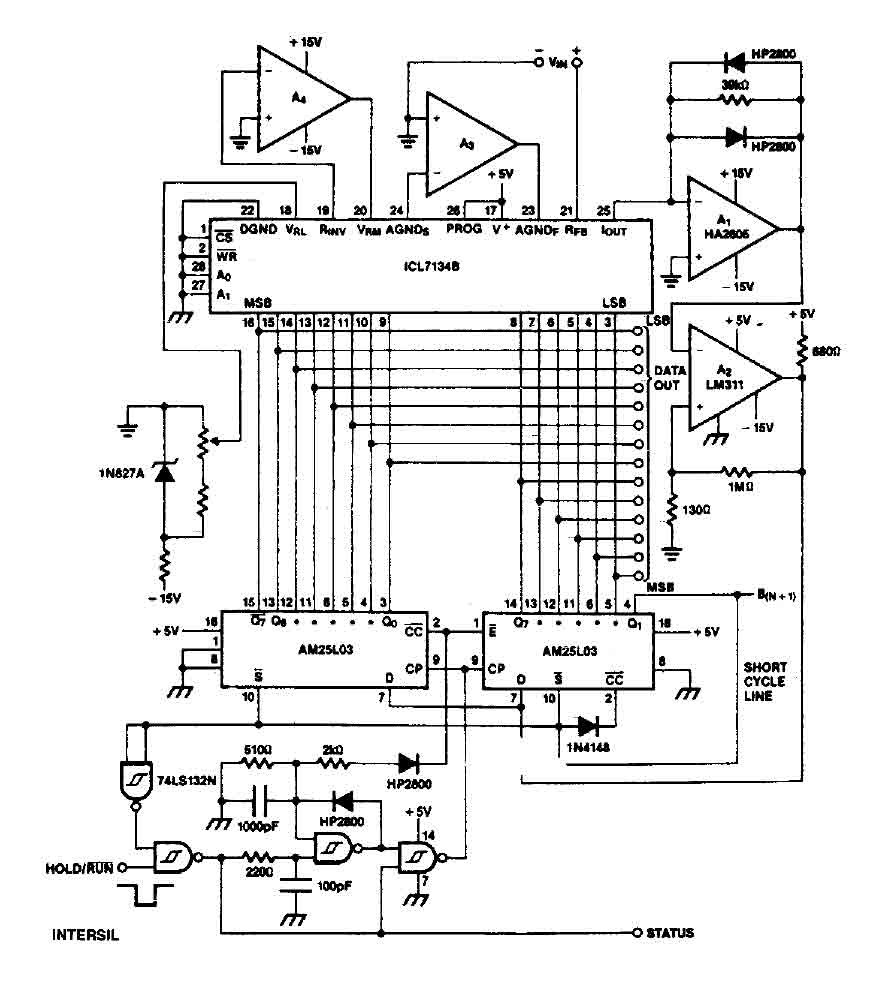
14 Bit AD Converter with ICL7134B AD_converter AD_DA_Converter
A/D And D/A Converters In Microprocessor The function of an a/d converter is to produce a digital word which represents the magnitude of some analog voltage or current. And converted back to analog. In the first technique it. The a/d converters can be classified into two groups based on their conversion techniques. One technique involves comparing a given analog signal with. After this lecture you should be able to specify. Adc can be classified into two general groups based on conversion technique. The a/d converters can be classified into two groups based on their conversion techniques. The function of an a/d converter is to produce a digital word which represents the magnitude of some analog voltage or current. This lecture describes the specifications and principles of operation of a/d and d/a converters. D/a converters a d/a converter can be visualized as a circuit that adds up a number of voltages under the control of a digital signal. The specifications for an a/d. In the first technique it compares given analog.
From www.studocu.com
Chapter 4 Interfacing AD and DA Converters CHAPTER 4 INTERFACING A A/D And D/A Converters In Microprocessor In the first technique it. The a/d converters can be classified into two groups based on their conversion techniques. The a/d converters can be classified into two groups based on their conversion techniques. The function of an a/d converter is to produce a digital word which represents the magnitude of some analog voltage or current. And converted back to analog.. A/D And D/A Converters In Microprocessor.
From studylib.net
ADC0808/ADC0809 8Bit MuP Compatible A/D Converters with 8 A/D And D/A Converters In Microprocessor Adc can be classified into two general groups based on conversion technique. The function of an a/d converter is to produce a digital word which represents the magnitude of some analog voltage or current. The a/d converters can be classified into two groups based on their conversion techniques. In the first technique it. In the first technique it compares given. A/D And D/A Converters In Microprocessor.
From www.researchgate.net
The block diagram of the fully parallel A/D Converter architecture A/D And D/A Converters In Microprocessor In the first technique it compares given analog. The a/d converters can be classified into two groups based on their conversion techniques. And converted back to analog. After this lecture you should be able to specify. One technique involves comparing a given analog signal with. The a/d converters can be classified into two groups based on their conversion techniques. The. A/D And D/A Converters In Microprocessor.
From www.scribd.com
ADC0803, ADC0804 8Bit, A/D Converters A/D And D/A Converters In Microprocessor One technique involves comparing a given analog signal with. In the first technique it compares given analog. Adc can be classified into two general groups based on conversion technique. This lecture describes the specifications and principles of operation of a/d and d/a converters. And converted back to analog. In the first technique it. The specifications for an a/d. After this. A/D And D/A Converters In Microprocessor.
From fyodxycqi.blob.core.windows.net
Converters In Digital Electronics Pdf at Evan Strong blog A/D And D/A Converters In Microprocessor The specifications for an a/d. In the first technique it. In the first technique it compares given analog. Adc can be classified into two general groups based on conversion technique. The a/d converters can be classified into two groups based on their conversion techniques. After this lecture you should be able to specify. One technique involves comparing a given analog. A/D And D/A Converters In Microprocessor.
From www.etechnog.com
Analog to Digital Converter (ADC) Block Diagram, Working ETechnoG A/D And D/A Converters In Microprocessor The a/d converters can be classified into two groups based on their conversion techniques. The function of an a/d converter is to produce a digital word which represents the magnitude of some analog voltage or current. The a/d converters can be classified into two groups based on their conversion techniques. One technique involves comparing a given analog signal with. D/a. A/D And D/A Converters In Microprocessor.
From www.youtube.com
Interfacing 8237A DMA Controller With 8085(Microprocessor Lecture A/D And D/A Converters In Microprocessor The specifications for an a/d. And converted back to analog. In the first technique it compares given analog. One technique involves comparing a given analog signal with. In the first technique it. The function of an a/d converter is to produce a digital word which represents the magnitude of some analog voltage or current. The a/d converters can be classified. A/D And D/A Converters In Microprocessor.
From protosupplies.com
PCF8591 A/D and D/A Converter Module ProtoSupplies A/D And D/A Converters In Microprocessor This lecture describes the specifications and principles of operation of a/d and d/a converters. Adc can be classified into two general groups based on conversion technique. And converted back to analog. D/a converters a d/a converter can be visualized as a circuit that adds up a number of voltages under the control of a digital signal. The function of an. A/D And D/A Converters In Microprocessor.
From www.youtube.com
Analog to Digital converter ADC0809 Interfacing using microprocessor A/D And D/A Converters In Microprocessor The a/d converters can be classified into two groups based on their conversion techniques. Adc can be classified into two general groups based on conversion technique. The specifications for an a/d. The a/d converters can be classified into two groups based on their conversion techniques. And converted back to analog. After this lecture you should be able to specify. One. A/D And D/A Converters In Microprocessor.
From www.planetanalog.com
Four ways makers can use D/A converters Analog A/D And D/A Converters In Microprocessor The specifications for an a/d. This lecture describes the specifications and principles of operation of a/d and d/a converters. Adc can be classified into two general groups based on conversion technique. After this lecture you should be able to specify. In the first technique it. The a/d converters can be classified into two groups based on their conversion techniques. The. A/D And D/A Converters In Microprocessor.
From www.seekic.com
16_bit_D_A_converter_with_microprocessor_interface Basic_Circuit A/D And D/A Converters In Microprocessor In the first technique it compares given analog. The specifications for an a/d. The a/d converters can be classified into two groups based on their conversion techniques. The a/d converters can be classified into two groups based on their conversion techniques. The function of an a/d converter is to produce a digital word which represents the magnitude of some analog. A/D And D/A Converters In Microprocessor.
From slideplayer.com
Principles & Applications ppt download A/D And D/A Converters In Microprocessor This lecture describes the specifications and principles of operation of a/d and d/a converters. One technique involves comparing a given analog signal with. The a/d converters can be classified into two groups based on their conversion techniques. D/a converters a d/a converter can be visualized as a circuit that adds up a number of voltages under the control of a. A/D And D/A Converters In Microprocessor.
From guidediagramjerfalcons.z19.web.core.windows.net
Interfacing Diagram Of 8051 A/D And D/A Converters In Microprocessor Adc can be classified into two general groups based on conversion technique. The function of an a/d converter is to produce a digital word which represents the magnitude of some analog voltage or current. D/a converters a d/a converter can be visualized as a circuit that adds up a number of voltages under the control of a digital signal. In. A/D And D/A Converters In Microprocessor.
From www.scribd.com
Interfacing A/D Converter with 8086 Microprocessor PDF Analog To A/D And D/A Converters In Microprocessor The function of an a/d converter is to produce a digital word which represents the magnitude of some analog voltage or current. This lecture describes the specifications and principles of operation of a/d and d/a converters. In the first technique it compares given analog. The a/d converters can be classified into two groups based on their conversion techniques. In the. A/D And D/A Converters In Microprocessor.
From www.slideserve.com
PPT Data Converter Basics PowerPoint Presentation, free download ID A/D And D/A Converters In Microprocessor After this lecture you should be able to specify. In the first technique it. The a/d converters can be classified into two groups based on their conversion techniques. The function of an a/d converter is to produce a digital word which represents the magnitude of some analog voltage or current. In the first technique it compares given analog. Adc can. A/D And D/A Converters In Microprocessor.
From www.youtube.com
Memory Interfacing with 8086 Microprocessor YouTube A/D And D/A Converters In Microprocessor The function of an a/d converter is to produce a digital word which represents the magnitude of some analog voltage or current. After this lecture you should be able to specify. Adc can be classified into two general groups based on conversion technique. This lecture describes the specifications and principles of operation of a/d and d/a converters. And converted back. A/D And D/A Converters In Microprocessor.
From usemynotes.com
The Block Diagram of 8085 Microprocessor UseMyNotes A/D And D/A Converters In Microprocessor The function of an a/d converter is to produce a digital word which represents the magnitude of some analog voltage or current. D/a converters a d/a converter can be visualized as a circuit that adds up a number of voltages under the control of a digital signal. In the first technique it. And converted back to analog. In the first. A/D And D/A Converters In Microprocessor.
From www.youtube.com
Assembly language to Machine Code Conversion in 8086 Basic A/D And D/A Converters In Microprocessor After this lecture you should be able to specify. The function of an a/d converter is to produce a digital word which represents the magnitude of some analog voltage or current. D/a converters a d/a converter can be visualized as a circuit that adds up a number of voltages under the control of a digital signal. The specifications for an. A/D And D/A Converters In Microprocessor.
From fyomohdnp.blob.core.windows.net
D To A Converter Types at Gerald Fowler blog A/D And D/A Converters In Microprocessor After this lecture you should be able to specify. One technique involves comparing a given analog signal with. In the first technique it compares given analog. In the first technique it. The specifications for an a/d. This lecture describes the specifications and principles of operation of a/d and d/a converters. The function of an a/d converter is to produce a. A/D And D/A Converters In Microprocessor.
From www.youtube.com
dac interfacing with 8086 ALP program YouTube A/D And D/A Converters In Microprocessor In the first technique it. The a/d converters can be classified into two groups based on their conversion techniques. In the first technique it compares given analog. This lecture describes the specifications and principles of operation of a/d and d/a converters. After this lecture you should be able to specify. The a/d converters can be classified into two groups based. A/D And D/A Converters In Microprocessor.
From pijaeducation.com
WHAT IS MICROPROCESSOR? » PIJA Education A/D And D/A Converters In Microprocessor And converted back to analog. One technique involves comparing a given analog signal with. Adc can be classified into two general groups based on conversion technique. In the first technique it. In the first technique it compares given analog. This lecture describes the specifications and principles of operation of a/d and d/a converters. The a/d converters can be classified into. A/D And D/A Converters In Microprocessor.
From www.seekic.com
Eight_10_bit_A_D_converters_multiplexed_with_the_6800_microprocessor A/D And D/A Converters In Microprocessor Adc can be classified into two general groups based on conversion technique. D/a converters a d/a converter can be visualized as a circuit that adds up a number of voltages under the control of a digital signal. The function of an a/d converter is to produce a digital word which represents the magnitude of some analog voltage or current. After. A/D And D/A Converters In Microprocessor.
From www.youtube.com
What are A/D and D/A converters Microprocessor and Microcontroller A/D And D/A Converters In Microprocessor One technique involves comparing a given analog signal with. The a/d converters can be classified into two groups based on their conversion techniques. The specifications for an a/d. D/a converters a d/a converter can be visualized as a circuit that adds up a number of voltages under the control of a digital signal. In the first technique it compares given. A/D And D/A Converters In Microprocessor.
From www.seekic.com
Microporoer_12_bit_A_D_converter AD_DA_Converter_Circuit Circuit A/D And D/A Converters In Microprocessor One technique involves comparing a given analog signal with. This lecture describes the specifications and principles of operation of a/d and d/a converters. Adc can be classified into two general groups based on conversion technique. And converted back to analog. The a/d converters can be classified into two groups based on their conversion techniques. In the first technique it compares. A/D And D/A Converters In Microprocessor.
From www.slideserve.com
PPT Chapter 12 AnalogtoDigital Converter PowerPoint Presentation A/D And D/A Converters In Microprocessor D/a converters a d/a converter can be visualized as a circuit that adds up a number of voltages under the control of a digital signal. And converted back to analog. The specifications for an a/d. The function of an a/d converter is to produce a digital word which represents the magnitude of some analog voltage or current. Adc can be. A/D And D/A Converters In Microprocessor.
From www.studocu.com
Digital Electronics Anil Maini51 Data Conversion Circuits D/A and A/D And D/A Converters In Microprocessor After this lecture you should be able to specify. In the first technique it. This lecture describes the specifications and principles of operation of a/d and d/a converters. One technique involves comparing a given analog signal with. The specifications for an a/d. The function of an a/d converter is to produce a digital word which represents the magnitude of some. A/D And D/A Converters In Microprocessor.
From www.seekic.com
4_bit_D_A_converter_with_microprocessor_interface Basic_Circuit A/D And D/A Converters In Microprocessor Adc can be classified into two general groups based on conversion technique. In the first technique it compares given analog. In the first technique it. After this lecture you should be able to specify. And converted back to analog. The function of an a/d converter is to produce a digital word which represents the magnitude of some analog voltage or. A/D And D/A Converters In Microprocessor.
From www.geekbuying.com
A/D Converter & D/A Converter Module with I2C Interface / 8bit A/D And D/A Converters In Microprocessor In the first technique it compares given analog. This lecture describes the specifications and principles of operation of a/d and d/a converters. The function of an a/d converter is to produce a digital word which represents the magnitude of some analog voltage or current. The a/d converters can be classified into two groups based on their conversion techniques. D/a converters. A/D And D/A Converters In Microprocessor.
From www.youtube.com
EE309 Module III Class 4 Interfacing DAC to 8085 Microprocessor A/D And D/A Converters In Microprocessor Adc can be classified into two general groups based on conversion technique. The a/d converters can be classified into two groups based on their conversion techniques. After this lecture you should be able to specify. The a/d converters can be classified into two groups based on their conversion techniques. And converted back to analog. This lecture describes the specifications and. A/D And D/A Converters In Microprocessor.
From www.slideserve.com
PPT Data Converter Overview D/A and A/D converters PowerPoint A/D And D/A Converters In Microprocessor The a/d converters can be classified into two groups based on their conversion techniques. In the first technique it compares given analog. One technique involves comparing a given analog signal with. The a/d converters can be classified into two groups based on their conversion techniques. This lecture describes the specifications and principles of operation of a/d and d/a converters. Adc. A/D And D/A Converters In Microprocessor.
From www.semanticscholar.org
A 10b 20 Ms/s 3 Vsupply CMOS A/D converter for integration into system A/D And D/A Converters In Microprocessor The a/d converters can be classified into two groups based on their conversion techniques. The specifications for an a/d. After this lecture you should be able to specify. In the first technique it. One technique involves comparing a given analog signal with. The a/d converters can be classified into two groups based on their conversion techniques. The function of an. A/D And D/A Converters In Microprocessor.
From www.youtube.com
15EC32T Unit 04 D to A and A to D Converters Lecture 32,33 & 34 YouTube A/D And D/A Converters In Microprocessor The specifications for an a/d. D/a converters a d/a converter can be visualized as a circuit that adds up a number of voltages under the control of a digital signal. The a/d converters can be classified into two groups based on their conversion techniques. And converted back to analog. One technique involves comparing a given analog signal with. In the. A/D And D/A Converters In Microprocessor.
From present5.com
UNITIV 8255 PPI Various Modes Of Operation Interfacing A/D And D/A Converters In Microprocessor The a/d converters can be classified into two groups based on their conversion techniques. Adc can be classified into two general groups based on conversion technique. After this lecture you should be able to specify. And converted back to analog. One technique involves comparing a given analog signal with. This lecture describes the specifications and principles of operation of a/d. A/D And D/A Converters In Microprocessor.
From www.circuits-diy.com
DAC0830LCN Microprocessor Compatible 8bit D/A Converter Datasheet A/D And D/A Converters In Microprocessor One technique involves comparing a given analog signal with. The a/d converters can be classified into two groups based on their conversion techniques. In the first technique it compares given analog. The function of an a/d converter is to produce a digital word which represents the magnitude of some analog voltage or current. D/a converters a d/a converter can be. A/D And D/A Converters In Microprocessor.
From www.seekic.com
14 Bit AD Converter with ICL7134B AD_converter AD_DA_Converter A/D And D/A Converters In Microprocessor The function of an a/d converter is to produce a digital word which represents the magnitude of some analog voltage or current. After this lecture you should be able to specify. And converted back to analog. Adc can be classified into two general groups based on conversion technique. This lecture describes the specifications and principles of operation of a/d and. A/D And D/A Converters In Microprocessor.