Auto Cut Off Switch Granville T Woods . Woods was a prominent inventor and electrical engineer who developed inventions that were awarded 27 patents by the u.s. Known as black edison, granville woods was an african american inventor who made key contributions to the development of the telephone, streetcar and more. Patent office between 1884 and 1903. Be it known that i, granville t. Woods' inventions, for an automatic air brake, was patented in 1902. Woods, a citizen of the united states, residing at cincinnati, in the county of hamilton and state of ohio, have. Woods patented (308, 817) in 1884 operated under the same physical principles as the telephone transmitters of today.
from www.industrialestores.com
Woods, a citizen of the united states, residing at cincinnati, in the county of hamilton and state of ohio, have. Patent office between 1884 and 1903. Be it known that i, granville t. Woods patented (308, 817) in 1884 operated under the same physical principles as the telephone transmitters of today. Woods' inventions, for an automatic air brake, was patented in 1902. Woods was a prominent inventor and electrical engineer who developed inventions that were awarded 27 patents by the u.s. Known as black edison, granville woods was an african american inventor who made key contributions to the development of the telephone, streetcar and more.
Alfa Pressure Switch 715 Bar PRV15X, Auto CutOff Switch for Air
Auto Cut Off Switch Granville T Woods Woods' inventions, for an automatic air brake, was patented in 1902. Known as black edison, granville woods was an african american inventor who made key contributions to the development of the telephone, streetcar and more. Woods, a citizen of the united states, residing at cincinnati, in the county of hamilton and state of ohio, have. Be it known that i, granville t. Woods was a prominent inventor and electrical engineer who developed inventions that were awarded 27 patents by the u.s. Patent office between 1884 and 1903. Woods' inventions, for an automatic air brake, was patented in 1902. Woods patented (308, 817) in 1884 operated under the same physical principles as the telephone transmitters of today.
From www.pinterest.com
Biography of Granville T. Woods, American Inventor Walker county Auto Cut Off Switch Granville T Woods Be it known that i, granville t. Known as black edison, granville woods was an african american inventor who made key contributions to the development of the telephone, streetcar and more. Patent office between 1884 and 1903. Woods patented (308, 817) in 1884 operated under the same physical principles as the telephone transmitters of today. Woods was a prominent inventor. Auto Cut Off Switch Granville T Woods.
From www.thecompliancecenter.com
Pioneering Inventor Granville T. Woods Help Center ICC Auto Cut Off Switch Granville T Woods Be it known that i, granville t. Woods patented (308, 817) in 1884 operated under the same physical principles as the telephone transmitters of today. Woods' inventions, for an automatic air brake, was patented in 1902. Known as black edison, granville woods was an african american inventor who made key contributions to the development of the telephone, streetcar and more.. Auto Cut Off Switch Granville T Woods.
From www.mrpositive.co.nz
Automotive Cut Off Kill Switch with Removable Key Mr Positive NZ Auto Cut Off Switch Granville T Woods Woods was a prominent inventor and electrical engineer who developed inventions that were awarded 27 patents by the u.s. Woods' inventions, for an automatic air brake, was patented in 1902. Patent office between 1884 and 1903. Be it known that i, granville t. Woods, a citizen of the united states, residing at cincinnati, in the county of hamilton and state. Auto Cut Off Switch Granville T Woods.
From americacomesalive.com
Granville Woods, Electrical Expert & Inventor America Comes Alive Auto Cut Off Switch Granville T Woods Be it known that i, granville t. Woods' inventions, for an automatic air brake, was patented in 1902. Woods, a citizen of the united states, residing at cincinnati, in the county of hamilton and state of ohio, have. Patent office between 1884 and 1903. Woods patented (308, 817) in 1884 operated under the same physical principles as the telephone transmitters. Auto Cut Off Switch Granville T Woods.
From walnuthillsstories.org
Granville T. Woods, Electrical Engineer Walnut Hills Historical Society Auto Cut Off Switch Granville T Woods Woods' inventions, for an automatic air brake, was patented in 1902. Patent office between 1884 and 1903. Known as black edison, granville woods was an african american inventor who made key contributions to the development of the telephone, streetcar and more. Be it known that i, granville t. Woods, a citizen of the united states, residing at cincinnati, in the. Auto Cut Off Switch Granville T Woods.
From ny1.com
Granville T. Woods Revolutionized New York Transportation Auto Cut Off Switch Granville T Woods Woods' inventions, for an automatic air brake, was patented in 1902. Woods was a prominent inventor and electrical engineer who developed inventions that were awarded 27 patents by the u.s. Woods patented (308, 817) in 1884 operated under the same physical principles as the telephone transmitters of today. Known as black edison, granville woods was an african american inventor who. Auto Cut Off Switch Granville T Woods.
From www.nytransitmuseum.org
Transit Innovator Granville T. Woods New York Transit Museum Auto Cut Off Switch Granville T Woods Woods, a citizen of the united states, residing at cincinnati, in the county of hamilton and state of ohio, have. Woods was a prominent inventor and electrical engineer who developed inventions that were awarded 27 patents by the u.s. Woods patented (308, 817) in 1884 operated under the same physical principles as the telephone transmitters of today. Woods' inventions, for. Auto Cut Off Switch Granville T Woods.
From www.amazon.in
AIRPRO™ PRV15X Professional Pressure AUTO CutOff Switch for AIR Auto Cut Off Switch Granville T Woods Known as black edison, granville woods was an african american inventor who made key contributions to the development of the telephone, streetcar and more. Woods was a prominent inventor and electrical engineer who developed inventions that were awarded 27 patents by the u.s. Woods patented (308, 817) in 1884 operated under the same physical principles as the telephone transmitters of. Auto Cut Off Switch Granville T Woods.
From www.industrialestores.com
Alfa Pressure Switch 715 Bar PRV15X, Auto CutOff Switch for Air Auto Cut Off Switch Granville T Woods Woods was a prominent inventor and electrical engineer who developed inventions that were awarded 27 patents by the u.s. Woods patented (308, 817) in 1884 operated under the same physical principles as the telephone transmitters of today. Known as black edison, granville woods was an african american inventor who made key contributions to the development of the telephone, streetcar and. Auto Cut Off Switch Granville T Woods.
From mstinky.blogspot.com
Granville T Woods Biography Of Granville T Woods American Inventor Auto Cut Off Switch Granville T Woods Known as black edison, granville woods was an african american inventor who made key contributions to the development of the telephone, streetcar and more. Patent office between 1884 and 1903. Be it known that i, granville t. Woods' inventions, for an automatic air brake, was patented in 1902. Woods, a citizen of the united states, residing at cincinnati, in the. Auto Cut Off Switch Granville T Woods.
From circuitdbditheism.z13.web.core.windows.net
Electrical Cut Off Switch Auto Cut Off Switch Granville T Woods Be it known that i, granville t. Known as black edison, granville woods was an african american inventor who made key contributions to the development of the telephone, streetcar and more. Woods patented (308, 817) in 1884 operated under the same physical principles as the telephone transmitters of today. Woods' inventions, for an automatic air brake, was patented in 1902.. Auto Cut Off Switch Granville T Woods.
From www.amazon.co.uk
cutoff switch with 3 positions Amazon.co.uk Car & Motorbike Auto Cut Off Switch Granville T Woods Woods' inventions, for an automatic air brake, was patented in 1902. Known as black edison, granville woods was an african american inventor who made key contributions to the development of the telephone, streetcar and more. Be it known that i, granville t. Woods, a citizen of the united states, residing at cincinnati, in the county of hamilton and state of. Auto Cut Off Switch Granville T Woods.
From bermuda.desertcart.com
Buy IONIX float switch for water tank, auto cutoff switch for water Auto Cut Off Switch Granville T Woods Patent office between 1884 and 1903. Known as black edison, granville woods was an african american inventor who made key contributions to the development of the telephone, streetcar and more. Woods was a prominent inventor and electrical engineer who developed inventions that were awarded 27 patents by the u.s. Woods' inventions, for an automatic air brake, was patented in 1902.. Auto Cut Off Switch Granville T Woods.
From www.thoughtco.com
Biography of Granville T. Woods, American Inventor Auto Cut Off Switch Granville T Woods Woods' inventions, for an automatic air brake, was patented in 1902. Woods was a prominent inventor and electrical engineer who developed inventions that were awarded 27 patents by the u.s. Known as black edison, granville woods was an african american inventor who made key contributions to the development of the telephone, streetcar and more. Woods, a citizen of the united. Auto Cut Off Switch Granville T Woods.
From www.industrialestores.com
Alfa Pressure Switch 715 Bar PRV15X, Auto CutOff Switch for Air Auto Cut Off Switch Granville T Woods Woods patented (308, 817) in 1884 operated under the same physical principles as the telephone transmitters of today. Woods, a citizen of the united states, residing at cincinnati, in the county of hamilton and state of ohio, have. Known as black edison, granville woods was an african american inventor who made key contributions to the development of the telephone, streetcar. Auto Cut Off Switch Granville T Woods.
From www.indiamart.com
Alfa Pressure Switch 715 Bar PR15, Auto CutOff Switch for Air Auto Cut Off Switch Granville T Woods Woods was a prominent inventor and electrical engineer who developed inventions that were awarded 27 patents by the u.s. Patent office between 1884 and 1903. Woods patented (308, 817) in 1884 operated under the same physical principles as the telephone transmitters of today. Be it known that i, granville t. Woods, a citizen of the united states, residing at cincinnati,. Auto Cut Off Switch Granville T Woods.
From operatools.in
AKARI High Quality Washer/Pressure Washer AUTO CUT OFF SWITCH OPERA TOOLS Auto Cut Off Switch Granville T Woods Woods was a prominent inventor and electrical engineer who developed inventions that were awarded 27 patents by the u.s. Known as black edison, granville woods was an african american inventor who made key contributions to the development of the telephone, streetcar and more. Be it known that i, granville t. Patent office between 1884 and 1903. Woods, a citizen of. Auto Cut Off Switch Granville T Woods.
From www.thoughtco.com
Biography of Granville T. Woods, American Inventor Auto Cut Off Switch Granville T Woods Known as black edison, granville woods was an african american inventor who made key contributions to the development of the telephone, streetcar and more. Woods' inventions, for an automatic air brake, was patented in 1902. Woods, a citizen of the united states, residing at cincinnati, in the county of hamilton and state of ohio, have. Be it known that i,. Auto Cut Off Switch Granville T Woods.
From www.indiamart.com
Mild Steel Compressor Auto Cut Off Switch, For Industrial, 700 G at Rs Auto Cut Off Switch Granville T Woods Be it known that i, granville t. Woods patented (308, 817) in 1884 operated under the same physical principles as the telephone transmitters of today. Woods, a citizen of the united states, residing at cincinnati, in the county of hamilton and state of ohio, have. Woods was a prominent inventor and electrical engineer who developed inventions that were awarded 27. Auto Cut Off Switch Granville T Woods.
From blackdoctor.org
Facebook Twitter Email Print Auto Cut Off Switch Granville T Woods Woods was a prominent inventor and electrical engineer who developed inventions that were awarded 27 patents by the u.s. Known as black edison, granville woods was an african american inventor who made key contributions to the development of the telephone, streetcar and more. Be it known that i, granville t. Woods' inventions, for an automatic air brake, was patented in. Auto Cut Off Switch Granville T Woods.
From www.industrialestores.com
Alfa Pressure Switch 715 Bar PRV15X, Auto CutOff Switch for Air Auto Cut Off Switch Granville T Woods Woods patented (308, 817) in 1884 operated under the same physical principles as the telephone transmitters of today. Woods, a citizen of the united states, residing at cincinnati, in the county of hamilton and state of ohio, have. Patent office between 1884 and 1903. Known as black edison, granville woods was an african american inventor who made key contributions to. Auto Cut Off Switch Granville T Woods.
From www.biography.com
Granville T. Woods Biography, Inventor, Induction Telegraph Auto Cut Off Switch Granville T Woods Known as black edison, granville woods was an african american inventor who made key contributions to the development of the telephone, streetcar and more. Woods was a prominent inventor and electrical engineer who developed inventions that were awarded 27 patents by the u.s. Woods patented (308, 817) in 1884 operated under the same physical principles as the telephone transmitters of. Auto Cut Off Switch Granville T Woods.
From www.indiamart.com
Plastic And Aluminum Auto Cut Off Switch, For Stabilizer, 15g at Rs 15 Auto Cut Off Switch Granville T Woods Patent office between 1884 and 1903. Known as black edison, granville woods was an african american inventor who made key contributions to the development of the telephone, streetcar and more. Be it known that i, granville t. Woods was a prominent inventor and electrical engineer who developed inventions that were awarded 27 patents by the u.s. Woods patented (308, 817). Auto Cut Off Switch Granville T Woods.
From www.indiamart.com
Mild Steel Compressor Auto Cut Off Switch, 450g at Rs 300/piece in Auto Cut Off Switch Granville T Woods Woods was a prominent inventor and electrical engineer who developed inventions that were awarded 27 patents by the u.s. Woods' inventions, for an automatic air brake, was patented in 1902. Woods patented (308, 817) in 1884 operated under the same physical principles as the telephone transmitters of today. Be it known that i, granville t. Patent office between 1884 and. Auto Cut Off Switch Granville T Woods.
From www.industrialestores.com
Alfa Pressure Switch 2.59.5 Bar PRV9X, Auto CutOff Switch for Air Auto Cut Off Switch Granville T Woods Known as black edison, granville woods was an african american inventor who made key contributions to the development of the telephone, streetcar and more. Be it known that i, granville t. Woods, a citizen of the united states, residing at cincinnati, in the county of hamilton and state of ohio, have. Woods patented (308, 817) in 1884 operated under the. Auto Cut Off Switch Granville T Woods.
From www.tradeindia.com
Metal Auto Cut Off Switch For Compressor at Best Price in Pune Total Auto Cut Off Switch Granville T Woods Patent office between 1884 and 1903. Be it known that i, granville t. Woods was a prominent inventor and electrical engineer who developed inventions that were awarded 27 patents by the u.s. Woods' inventions, for an automatic air brake, was patented in 1902. Woods, a citizen of the united states, residing at cincinnati, in the county of hamilton and state. Auto Cut Off Switch Granville T Woods.
From www.indiamart.com
Agriculture Sprayer Pump Auto Cutoff Switch, Automatic at Rs 22/piece Auto Cut Off Switch Granville T Woods Woods' inventions, for an automatic air brake, was patented in 1902. Patent office between 1884 and 1903. Known as black edison, granville woods was an african american inventor who made key contributions to the development of the telephone, streetcar and more. Woods was a prominent inventor and electrical engineer who developed inventions that were awarded 27 patents by the u.s.. Auto Cut Off Switch Granville T Woods.
From www.alamy.com
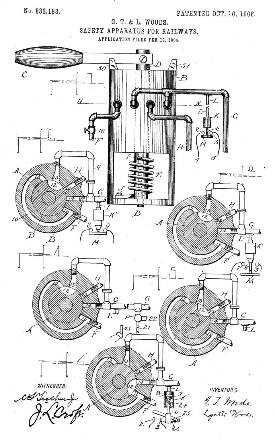
GRANVILLE T. WOODS /n(18561910). American inventor. Wood's patent Auto Cut Off Switch Granville T Woods Woods, a citizen of the united states, residing at cincinnati, in the county of hamilton and state of ohio, have. Woods patented (308, 817) in 1884 operated under the same physical principles as the telephone transmitters of today. Woods was a prominent inventor and electrical engineer who developed inventions that were awarded 27 patents by the u.s. Woods' inventions, for. Auto Cut Off Switch Granville T Woods.
From www.mrpositive.co.nz
Automotive Cut Off Kill Switch with Removable Key Mr Positive NZ Auto Cut Off Switch Granville T Woods Woods, a citizen of the united states, residing at cincinnati, in the county of hamilton and state of ohio, have. Woods was a prominent inventor and electrical engineer who developed inventions that were awarded 27 patents by the u.s. Patent office between 1884 and 1903. Be it known that i, granville t. Woods' inventions, for an automatic air brake, was. Auto Cut Off Switch Granville T Woods.
From www.heartlandscience.org
Granville Woods — Heartland Science Auto Cut Off Switch Granville T Woods Woods' inventions, for an automatic air brake, was patented in 1902. Woods patented (308, 817) in 1884 operated under the same physical principles as the telephone transmitters of today. Patent office between 1884 and 1903. Known as black edison, granville woods was an african american inventor who made key contributions to the development of the telephone, streetcar and more. Be. Auto Cut Off Switch Granville T Woods.
From shopee.com.my
Automatic CutOff Switch NO FUSE BREAKER Model NF630CW 3P Shopee Auto Cut Off Switch Granville T Woods Be it known that i, granville t. Woods was a prominent inventor and electrical engineer who developed inventions that were awarded 27 patents by the u.s. Woods patented (308, 817) in 1884 operated under the same physical principles as the telephone transmitters of today. Patent office between 1884 and 1903. Woods' inventions, for an automatic air brake, was patented in. Auto Cut Off Switch Granville T Woods.
From blackdoctor.org
Granville T. Woods The Inventor's Inventor Where Auto Cut Off Switch Granville T Woods Woods was a prominent inventor and electrical engineer who developed inventions that were awarded 27 patents by the u.s. Woods' inventions, for an automatic air brake, was patented in 1902. Patent office between 1884 and 1903. Be it known that i, granville t. Woods patented (308, 817) in 1884 operated under the same physical principles as the telephone transmitters of. Auto Cut Off Switch Granville T Woods.
From www.amazon.in
Alpha Auto Cutoff Switch for Air Compressor Amazon.in Car & Motorbike Auto Cut Off Switch Granville T Woods Known as black edison, granville woods was an african american inventor who made key contributions to the development of the telephone, streetcar and more. Woods patented (308, 817) in 1884 operated under the same physical principles as the telephone transmitters of today. Woods' inventions, for an automatic air brake, was patented in 1902. Woods, a citizen of the united states,. Auto Cut Off Switch Granville T Woods.
From blackandeducation.org
Granville T. Woods — BLACK and Education Auto Cut Off Switch Granville T Woods Woods' inventions, for an automatic air brake, was patented in 1902. Be it known that i, granville t. Woods was a prominent inventor and electrical engineer who developed inventions that were awarded 27 patents by the u.s. Known as black edison, granville woods was an african american inventor who made key contributions to the development of the telephone, streetcar and. Auto Cut Off Switch Granville T Woods.
From operatools.in
AKARI High Quality Washer/Pressure Washer AUTO CUT OFF SWITCH OPERA TOOLS Auto Cut Off Switch Granville T Woods Known as black edison, granville woods was an african american inventor who made key contributions to the development of the telephone, streetcar and more. Woods' inventions, for an automatic air brake, was patented in 1902. Woods, a citizen of the united states, residing at cincinnati, in the county of hamilton and state of ohio, have. Be it known that i,. Auto Cut Off Switch Granville T Woods.